|
(21), (22) Заявка: 2007130309/28, 08.08.2007
(24) Дата начала отсчета срока действия патента:
08.08.2007
(46) Опубликовано: 10.02.2009
(56) Список документов, цитированных в отчете о поиске:
RU 2309384 C2, 27.10.2007. RU 2098764 C1, 10.12.1997. RU 2100821 C1, 27.12.1997. RU 2272995 C1, 27.03.2006.
Адрес для переписки:
117570, Москва, ул. Красного Маяка, 13, корп.4, кв.125, В.А. Беленькому
|
(72) Автор(ы):
Беленький Владимир Аронович (RU)
(73) Патентообладатель(и):
Беленький Владимир Аронович (RU)
|
(54) СПОСОБ ВЫРАБОТКИ НАВИГАЦИОННЫХ ПАРАМЕТРОВ
(57) Реферат:
Изобретение относится к обеспечению навигацией движущихся объектов. Целью изобретения является повышение точностных характеристик вырабатываемых навигационных параметров. Технический эффект достигается тем, что автономно вырабатывают обобщенные координаты системы путем сравнения одноименной информации, вырабатываемой инерциальной системой с линейной коррекцией, и, используя автономно выработанные обобщенные координаты, находят оценки погрешностей выходных параметров, в частности, курса объекта. 2 ил.
Изобретение относится к гироскопическому приборостроению и может быть использовано для обеспечения навигации морских, воздушных и наземных объектов.
Известен способ выработки навигационных параметров и вертикали места, включающий измерение составляющих кажущегося ускорения при помощи акселерометров, оси чувствительности которых связаны с гироплатформой, формирование сигналов управления гироплатформой, отработку сформированных сигналов при помощи гироскопа или датчиков абсолютной угловой скорости [1] или включающий измерение составляющих кажущегося ускорения при помощи акселерометров, измерение сигналов гироскопов или датчиков абсолютной угловой скорости, оси чувствительности которых направлены по осям приборного трехгранника, аналитическое решение задачи ориентации путем моделирования работы инерциальной системы [2], выработку навигационных параметров.
Недостатком известных способов являются ограниченные возможности точностных характеристик.
Целью изобретения является повышение точностных характеристик способа.
Технический эффект достигается тем, что автономно вырабатывают обобщенные координаты системы путем сравнения одноименной информации, вырабатываемой инерциальной системой с линейной коррекцией и, используя автономно выработанные обобщенные координаты, находят оценки погрешностей выходных параметров, в частности, курса объекта.
В качестве примера рассмотрим инерциальную систему с линейной коррекцией с двумя идентичными гироплатформами в карданных подвесах, у которых скоростная девиация связана со значением горизонтальной составляющей абсолютной угловой скорости для одной гироплатформы зависимостью а для другой гироплатформы зависимостью 
где n1; n2 – параметры системы;
0 – частота Шулера.
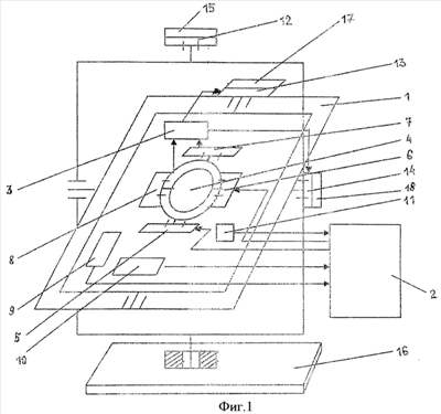
На фиг.1 представлена структурная схема системы с одной гироплатформой, где приняты следующие обозначения:
1 – гироплатформа в карданном подвесе, наружная ось которого перпендикулярна плоскости основания;
2 – блок управления гироплатформой и выработки навигационных параметров;
3 – блок управления двигателями стабилизации;
4 – трехстепенной гироскоп;
5, 6 – датчики момента гироскопа;
7, 8 – датчики углов гироскопа;
9, 10, 11 – акселерометры;
12, 13, 14 – двигатели стабилизации;
15 – датчик курса объекта;
16 – стабилизированная в плоскости горизонта платформа инерциальной системы, например, с интегральной коррекцией (ИС);
17, 18 – датчики углов карданного подвеса.
Система содержит гироплатформу 1, блок управления гироплатформой и выработки навигационных параметров 2, на гироплатформе 1 расположен трехстепенной гироскоп 4 с датчиками моментов 5, 6 и датчиками углов 7, 8, акселерометры 9, 10 и 11, оси чувствительности которых ортогональны, выходы акселерометров 9, 10, 11 соединены с блоком управления гироплатформой и выработки выходных параметров 2, выходы которого соединены с датчиками момента гироскопа 5, 6, входы блока управления двигателями стабилизации 3 соединены с выходами датчиков углов 7, 8 гироскопа 4, выходы блока управления двигателями стабилизации 3 соединены с соответствующими двигателями стабилизации.
Гироскопическая навигационная система функционирует следующим образом. Гироплатформа 1 с помощью двигателей стабилизации по сигналам рассогласования датчиков углов гироскопа 7, 8 все время удерживается в одной плоскости с кожухом гироскопа 4. Кожух гироскопа 4 вместе с гироплатформой 1 приводится в положение, наклоненное по отношению к плоскости горизонта на заданный угол скоростной девиации, и удерживается в этом положении с помощью моментов, накладываемых через датчики момента гироскопа 5, 6 по сигналам, специально вырабатываемые в блоке управления гироплатформой 2. Двигатель 12 может работать как следящий двигатель по соответствующим сигналам, вырабатываемым самой инерциальной системой с линейной коррекцией или по сигналу инерциальной системы с интегральной коррекцией 16 или по сигналу от внешних курсоуказателей.
За исходную систему координат примем сопровождающий трехгранник Дарбу E0N0 0 (фиг.2). Ось ON0 направлена по компасному меридиану на север. Ось О 0 – по вертикали вверх. Тогда проекции абсолютной угловой скорости трехгранника E0N0 0 на его оси будут 0; ; r. К Проекции ускорения вершины трехгранника E0N0 0 на его оси суть – ; -rV; g, где g – ускорение силы тяжести.
С гироплатформами свяжем правые системы координат E1N1 1 и E2N2 2.
Системы координат Е1N1 1 и Е2N2 2 получим из системы координат E0N0 0 последовательными поворотами:
1) вокруг оси ОЕ0 на углы 1 и 2 соответственно,
2) вокруг осей ON1 и ON2 на углы 1 и 2 соответственно,
3) дополнительно системы координат E1N1 1 и E2N2 2 поворачиваются вокруг осей O 1 и O 2 соответственно на углы K1cos 1 и K2cos 2.
Проекции абсолютной угловой скорости трехгранников E1N1 1 и E2N2 2 на их оси будут:




где p1; р2; q1; q2 – дрейфы гироскопов.
Проекции кажущегося ускорения вершины трехгранников E1N1 1 и Е2N2 2 на их оси будут:
WE1=- -(rVsin 1-gcos 1) 1+ WE1
WN1=-(rVcos 1-gsin 1)+ WN1
W 1=-gcos 1+rVsin 1+ W 1

WN2=-(rVcos 2-gsin 2)+ WN2
W 2=-gcos 2+rVsin 2+ W 2
где WE1; WN1; W 1; WE2; WN2; W 2 – погрешности соответствующих акселерометров. Полагаем n1=-n2=n, тогда:
и .
Выражения для управляющих сигналов гироскопов 1 и 2 определим следующие:




где
; 
Тогда уравнения движения (функционирования) двух гиромаятников будут:
QE1= E1упр; – E2= Е2упр;
N1= N1упр; – N2= N2упр.
Введем обозначения



где ; ; ; – обобщенные координаты системы;
характеризует погрешность выработки ;
характеризует погрешность выработки гироплатформами плоскости горизонта;
характеризует ошибку выработки компасного курса для любого заданного параметра “n”,

– наблюдаемая обобщенная координата.
В бесплатформенном варианте ИНС при аналитическом решении задачи ориентации замер ( 2– 1), также как и замер ( 2– 1), обеспечивается путем оценки отклонения приборной вертикали каждой модели гироплатформы инерциальной системы с линейной коррекцией от направления геоцентрической вертикали инерциальной системы с интегральной коррекцией 16 в виде углов и .
Можно показать, что по оценкам углов 2– ис и 1– ис, а также по показаниям акселерометров WE1, WE2 и WEuc возможно обеспечить замер наблюдаемых обобщенных координат и ис, где ис – ошибка стабилизации гирогоризонта инерциальной системы с интегральной коррекцией, WЕис – показание соответствующего акселерометра инерциальной системы с интегральной коррекцией.
Источники информации
1. В.А.Беленький – Патент РФ №2000544.
2. А.В.Репников, Г.П.Сачков, А.И.Черноморский – «Гироскопические системы».
Формула изобретения
Способ выработки навигационных параметров, включающий измерение составляющих кажущегося ускорения при помощи акселерометров, оси чувствительности которых связаны с гироплатформой, формирование сигналов управления гироплатформой, отработку сформированных сигналов при помощи гироскопа или датчиков абсолютной угловой скорости, или включающий измерение составляющих кажущегося ускорения при помощи акселерометров, измерение сигналов гироскопов или датчиков абсолютной угловой скорости, оси чувствительности которых направлены по осям приборного трехгранника, аналитическое решение задачи ориентации путем моделирования работы инерциальной системы, выработку навигационных параметров, отличающийся тем, что сравнивают одноименные сигналы, вырабатываемые инерциальной системой с линейной коррекцией с двумя идентичными гироплатформами или сравнивают одноименные сигналы, вырабатываемые инерциальной системой с линейной коррекцией и другой инерциальной системой, например, инерциальной системой с интегральной коррекцией, на основании указанных сравнений автономно определяют обобщенные координаты системы, используя которые находят оценки погрешностей выходных параметров, в частности курса объекта.
РИСУНКИ
|