|
|
(21), (22) Заявка: 2007120719/02, 05.06.2007
(24) Дата начала отсчета срока действия патента:
05.06.2007
(46) Опубликовано: 10.02.2009
(56) Список документов, цитированных в отчете о поиске:
RU 2244248 С1, 10.01.2005. RU 2175432 С1, 27.10.2001. RU 2262653 С1, 20.10.2005. RU 2081389 С1, 10.06.1997. DE 4010757 С1, 01.08.1991. US 1492905 А, 06.05.1924.
Адрес для переписки:
300600, г.Тула, пр-кт Ленина, 92, патентно-лицензионный сектор (ТулГУ)
|
(72) Автор(ы):
Воротилин Михаил Сергеевич (RU), Горбунов Вадим Валерьевич (RU), Петров Валерий Леонидович (RU), Сазонов Дмитрий Юрьевич (RU), Сладков Валерий Юрьевич (RU), Чуков Александр Николаевич (RU), Чукова Ольга Владимировна (RU)
(73) Патентообладатель(и):
Государственное образовательное учреждение высшего профессионального образования Тульский государственный университет (ТулГУ) (RU)
|
(54) СПОСОБ РАССНАРЯЖЕНИЯ БОЕПРИПАСОВ
(57) Реферат:
Изобретение относится к области утилизации боеприпасов. В способе взрывчатое вещество (ВВ) вымывают струей жидкости при магистральном давлении 15÷50 МПа с одновременным высверливанием слоев ВВ перкой при вращении боеприпаса или штанги, за счет чего повышается производительность очистки корпусов боеприпасов любой конфигурации и больших диаметров от ВВ при обеспечении безопасности, непрерывности и экологичности процесса расснаряжения. 1 ил.
Изобретение относится к области утилизации боеприпасов обычного снаряжения, в частности к способам извлечения взрывчатого вещества (ВВ) из корпусов боеприпасов.
Аналогом в качестве примера реализации извлечения ВВ из корпуса боеприпаса может служить способ расснаряжения [Патент ФРГ №4010757, F42D 5/04. Способ удаления ВВ из корпуса 1992], предусматривающий удаление ВВ из корпуса с помощью воды, подаваемой под высоким давлением. Вода направляется на ВВ из вращающихся сопел или боеприпас вращается относительно стационарных сопел. Жидкость подается через насадок с соплом, ось которого наклонена к оси головки штанги, которой задают вращение вокруг собственной оси и осевую подачу.
Удаление ВВ из корпуса боеприпаса в указанном способе происходит без максимального использования рациональных параметров процесса вымывания, а описанная в аналоге организация подачи вымывающей жидкости не позволяет полностью извлечь заряд из изделия сложной внутренней конфигурации и большими габаритами.
Прототипом изобретения является [Патент RU №2175432, МПК7 F42В 33/06, Бюл. №30, 2001 г.]. Изобретение относится к обработке поверхностей изделий струей жидкости.
Поставленная задача решается тем, что в способе расснаряжения боеприпасов путем вымывания ВВ из корпуса струей жидкости высокого давления, подаваемой на открытую поверхность ВВ через насадок с соплом, ось которого наклонена к оси головки штанги, которой задают вращение вокруг собственной оси и осевую подачу, согласно изобретению вымывание ведут послойно, причем в каждом слое ВВ вымывают кольцами, соосными оси боеприпаса, задавая штанге два вращательных движения: относительное вращение вокруг собственной оси с частотой n1 и переносное вокруг оси боеприпаса с частотой n2.
Недостатком прототипа является невозможность применения его для удаления ВВ из различных видов боеприпасов и вследствие этого невозможность обеспечить более высокий уровень производительности процесса расснаряжения.
Задачей предложенного способа является существенное повышение производительности очистки корпусов боеприпасов любой конфигурации и больших диаметров от ВВ при обеспечении безопасности, непрерывности и экологичности процесса расснаряжения.
Поставленная задача решается тем, что в способе расснаряжения боеприпасов путем вымывания взрывчатого вещества из корпуса боеприпаса струей жидкости высокого давления, включающем подачу на открытую поверхность взрывчатого вещества через насадок с соплом, ось которого наклонена к оси головки штанги, которой задают осевую подачу, с одновременным высверливанием слоев взрывчатого вещества, согласно изобретению высверливание осуществляют перкой при магистральном давлении струи жидкости в диапазоне 15÷150 МПа при вращении боеприпаса или штанги.
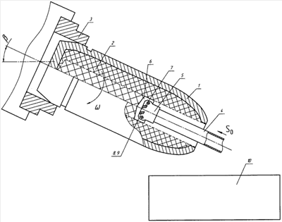
На чертеже представлена схема извлечения ВВ из корпуса БП.
Сущность изобретения поясняется чертежом, где представлена схема расснаряжения боеприпаса, включающая корпус боеприпаса 1, содержащий ВВ 2, который устанавливается в зажимном устройстве 3, процесс извлечения ВВ производится при помощи штанги 4, на которой жестко закреплена головка 5. В головке жестко закреплена перка 6, в перке установлены сопла: центральное сопло 7 и боковые сопла 8, 9, через которые подается поток воды под высоким давлением. Эмульсия представляет собой смесь ВВ и воды, попадает в контейнер для сбора эмульсии 10. Для облегчения вытекания эмульсии из боеприпаса ось инструмента, так же, как и ось боеприпаса, расположена под углом =15-35° к горизонту.
Способ осуществляется следующим образом. Перка 6 с использованием резьбового соединения закреплена на штанге 4, которая соединяется с механизмом продольной подачи станка. Через отверстие в штанге в головку 5 подается рабочая жидкость под давлением из диапазона 15÷150 МПа, которое через центральное сопло 7 и боковые сопла 8, 9 истекает в рабочую зону. Перка 6 внедряется в ВВ 2 боеприпаса 1 или штанги 4, совершающих вращательное движение, при этом осуществляется механическое извлечение (высверливание) центральных слоев ВВ. Через боковые сопла 8, 9 осуществляется вымывание периферийных слоев ВВ. Центральное сопло 7 предназначено для удаления центральных слоев ВВ в придонной области боеприпаса. Пример реализации.
Снаряд осколочно-фугасный ОФ-32, калибра 100 мм, с диаметром очка под переходную втулку d=48 мм, снаряженный ВВ – A-IX-2 с плотностью 1630 кг/м3, вскрыли со стороны головной части путем отвинчивания переходной втулки.
Диаметр перки 42 мм, диаметр перемычки 6 мм, передний угол резца – 9°, угол 2 =120°, где – угол поперечного лезвия 60°, задний угол перки – 9°, материал изготовления перки – сталь инструментальная Р18. В процессе расснаряжения использовалось магистральное давление Р0=22 МПа.
При обработке боеприпас совершает вращательное движение: скорость вращения n=60 об/мин. Штанга совершает поступательное движение: скорость подачи штанги S0=4 мм/об, длина хода L=400 мм, технологическое время .
При менее 15 МПа вымывание ВВ не возможно, при более 150 МПа необходимо очень сложное оборудование, что является нецелесообразным.
В результате процесс расснаряжения боеприпаса осуществлялся за время, равное 3,3 мин.
Преимущество описанного способа заключается в снижении стоимости операции расснаряжения боеприпаса за счет снижения магистрального давления и соблюдения рациональных параметров процесса разрушения при максимальном использовании длины эффективного участка проникновения перки с целью разрушения самых плотных слоев ВВ, с последующим домыванием струями высокого давления.
Формула изобретения
Способ расснаряжения боеприпасов путем вымывания взрывчатого вещества из корпуса боеприпаса струей жидкости высокого давления, включающий подачу на открытую поверхность взрывчатого вещества через насадок с соплом, ось которого наклонена к оси головки штанги, которой задают осевую подачу, с одновременным высверливанием слоев взрывчатого вещества, отличающийся тем, что высверливание осуществляют перкой при магистральном давлении струи жидкости в диапазоне 15÷150 МПа при вращении боеприпаса или штанги.
РИСУНКИ
|
|