|
(21), (22) Заявка: 2006123386/02, 03.07.2006
(24) Дата начала отсчета срока действия патента:
03.07.2006
(43) Дата публикации заявки: 20.01.2008
(46) Опубликовано: 10.02.2009
(56) Список документов, цитированных в отчете о поиске:
RU 2158408 С1, 27.10.2000. RU 2237231 C1, 27.09.2004. DE 19524726 A1, 15.02.1996. RU 2079099 C1, 10.05.1997. GB 190904978 A, 09.09.1909.
Адрес для переписки:
105005, Москва, Госпитальный пер., 10, ГОУ ВПО “МГТУ имени Н.Э.Баумана”, ректору И.Б.Федорову
|
(72) Автор(ы):
Одинцов Владимир Алексеевич (RU)
(73) Патентообладатель(и):
Государственное образовательное учреждение высшего профессионального образования “Московский государственный технический университет имени Н.Э.Баумана” (ГОУ ВПО “МГТУ им. Н.Э.Баумана”) (RU)
|
(54) ОСКОЛОЧНО-ПУЧКОВЫЙ СНАРЯД “ТВЕРИЧ”
(57) Реферат:
Изобретение относится к боеприпасам с одновременно осевым и круговым полями поражения. Снаряд содержит корпус с зарядом взрывчатого вещества и детонатором, соединенный с головной частью, содержащей головной колпак с контактно-траекторным взрывателем и осколочным блоком с готовыми поражающими элементами, и пиротехническое устройство отделения головной части. Внутри головного колпака между взрывателем и осколочным блоком размещен пороховой вышибной заряд. Пиротехническое устройство отделения головной части и пороховой вышибной заряд осколочного блока снабжены замедлителями. Увеличивается поражающее действие снаряда. 3 з.п. ф-лы, 3 ил.
Изобретение относится к осколочно-фугасным боеприпасам, имеющим одновременно осевое и круговое поля поражения. Известны снаряды, содержащие корпус с зарядом взрывчатого вещества (ВВ), осколочным блоком, расположенным впереди заряда ВВ, и головной взрыватель траекторно-контактного типа (пат. РФ №2237231). Основным недостатком снаряда является большая величина угла разлета элементов (угол полураствора до 45°), что связано с большим давлением детонации и высокой радиальной скоростью ГПЭ, приобретаемой при разгрузке блока (поперечным «растеканием» блока).
Этот недостаток может быть устранен за счет применения способа, описанного в патенте РФ №2158408, в котором выброс блока ГПЭ производят отдельно от подрыва осколочно-фугасной боевой части. Выброс блока ГПЭ осуществляется при подходе боеприпаса к цели посредством пиротехнического устройства разделения, а подрыв осколочно-фугасной боевой части производят при падении боеприпаса на грунт или в момент пролета мимо цели. При разделении ГПЭ получают незначительную дополнительную скорость, но резко уменьшается угол разлета, что благотворно сказывается на эффективности снаряда.
Недостатками конструкции, описанной в патенте (фиг.12) является нерациональное использование внутреннего объема снаряда, как следствие, уменьшение массы заряда ВВ и снижение фугасного и кругового осколочного действия снаряда.
Настоящее изобретение направлено на устранение указанного недостатка.
Технический результат изобретения заключается в увеличении поражающего действия снаряда за счет задействования в образовании осколков передней части корпуса, а также использования под ГПЭ свободного объема колпака.
Техническое решение состоит в том, что осколочно-пучковый снаряд содержит корпус с зарядом взрывчатого вещества и детонатором, соединенный с головной частью, содержащей головной колпак с взрывателем и осколочный блок с готовыми поражающими элементами, и пиротехническое устройство отделения головной части. Осколочный блок размещен в головном колпаке, при этом внутри головного колпака между взрывателем и осколочным блоком размещен пороховой вышибной заряд. Взрыватель выполнен контактно-траекторным. Пиротехническое устройство отделения головной части и пороховой вышибной заряд осколочного блока снабжены замедлителями.
Пиротехническое устройство отделения головной части может быть размещено в одном блоке с детонатором.
Контактно-траекторный взрыватель может быть выполнен временного, неконтактного или командного типа.
Снаряд может быть выполнен подкалиберным и снабжен отделяющимся поддоном.
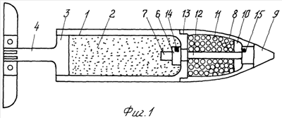
Изобретение иллюстрируется чертежами: фиг.1 – вариант исполнения снаряда для гладкоствольной танковой пушки; фиг.2 – исполнение снаряда в подкалиберном варианте; фиг.3 – схема действия снаряда.
Снаряд по схеме фиг.1 содержит корпус 1, размещенный в корпусе заряд ВВ 2, ввинтное дно 3 с присоединенным к нему стабилизатором 4, головную часть 5, пиротехническое устройство отделения головной части 6, размещенное в одном блоке с детонатором 7. Головная часть включает в себя головной колпак 8, расположенные в нем контактно-траекторный взрыватель 9, пороховой вышибной заряд 10, осколочный блок 11. Взрыватель соединен трубкой 12 с устройством отделения 6. Головная часть соединена резьбой 13 с корпусом. Устройство 6 и заряд 10 снабжены замедлителями 14 и 15.
На фиг.2 представлен снаряд той же конструкции в подкалиберном исполнении. Снаряд размещается в поддоне 16, состоящем из двух секторов.
Снаряд является многофункциональным и позволяет реализовать 8 видов действия:
А. С отделением головной части
1) траекторный разрыв через установленное время после отделения головной части;
2) ударный наземный разрыв с установкой на мгновенное (осколочное) действие;
3) ударный наземный разрыв с установкой на инерционное (осколочно-фугасное) действие;
4) ударный наземный разрыв с установкой на замедленное (проникающе-фугасное) действие;
Б. Без отделения головной части
1) траекторный разрыв через установленное время после отделения головной части;
2) ударный наземный разрыв с установкой на мгновенное (осколочное) действие;
3) ударный наземный разрыв с установкой на инерционное (осколочно-фугасное) действие;
4) ударный наземный разрыв с установкой на замедленное (проникающе-фугасное) действие.
Схема действия снаряда по фиг.1 с отделением головной части показана на фиг.2.
Ввод во взрыватель установки на вид действия и временной установки производится перед выстрелом, например, с помощью кодированных электрических сигналов, подаваемых контактным или неконтактным способом во взрыватель на тракте заряжания. При выстреле переднее дно, выполненное заодно с корпусом, обеспечивает безопасность заряда ВВ от инерционного воздействия тяжелого осколочного блока.
При подлете в расчетную точку перед целью контактно-траекторный взрыватель временного, неконтактного или командного типа выдает команду на отделение головной части. Происходит воспламенение заряда пиротехнического устройства 6 и отстрел головной части со срезанием резьбы 13 (фиг.3б).Одновременно включаются замедлители 14 и 15. После удаления головной части от снаряда на расстояние, определяемой временем срабатывания замедлителя 15, происходит воспламенение порохового вышибного заряда 10 и выброс осколочного блока из головного колпака (фиг.3в). При этом формируется конический пучок ГПЭ с малым углом полураствора (по данным учебника Г.М.Третьякова «Боеприпасы артиллерии», Воениздат, 1947, стр.161 =5…8°).
Корпус с зарядом ВВ пролетает дальше и в зависимости от установки его подрыв происходит или на траектории в районе цели (фиг.3г), или при ударе в грунт. Таким образом осуществляется комбинированное воздействие на цель осевого потока ГПЭ и кругового поля осколков естественного дробления корпуса. В отличие от осколочно-пучкового снаряда обычной схемы вся масса снаряда «Тверич» продуктивно используется для поражения цели. Подробное описание видов действия и преимуществ снаряда приведено в пат. РФ №2158408.
Осевое действие снаряда может быть значительно усилено за счет применения подкалиберной схемы фиг.2, в которой ведение снаряда по каналу ствола осуществляется с помощью калиберного отделяющегося поддона 16. При этом дульная скорость снаряда может быть поднята до 1400 м/с. Помимо увеличения осевого действия потока ГПЭ использование подкалиберной схемы имеет следствием уменьшение полетного времени и, следовательно, увеличение точности стрельбы.
Траекторный подрыв без отделения головной части существенно повышает скорость осевого потока ГПЭ, но одновременно приводит к его расширению. Наличие в снаряде двух видов траекторного подрыва придает ему возможность адаптации к условиям боевого применения.
Формула изобретения
1. Осколочно-пучковый снаряд, содержащий корпус с зарядом взрывчатого вещества и детонатором, соединенный с головной частью, содержащей головной колпак с взрывателем и осколочный блок с готовыми поражающими элементами, и пиротехническое устройство отделения головной части, отличающийся тем, что осколочный блок размещен в головном колпаке, при этом внутри головного колпака между взрывателем и осколочным блоком размещен пороховой вышибной заряд, взрыватель выполнен контактно-траекторным, а пиротехническое устройство отделения головной части и пороховой вышибной заряд осколочного блока снабжены замедлителями.
2. Снаряд по п.1, отличающийся тем, что пиротехническое устройство отделения головной части размещено в одном блоке с детонатором.
3. Снаряд по п.1, отличающийся тем, что контактно-траекторный взрыватель выполнен временного, неконтактного или командного типа.
4. Снаряд по п.1, отличающийся тем, что он выполнен подкалиберным и снабжен отделяющимся поддоном.
РИСУНКИ
|