|
|
(21), (22) Заявка: 2006134167/02, 25.09.2006
(24) Дата начала отсчета срока действия патента:
25.09.2006
(43) Дата публикации заявки: 10.04.2008
(45) Опубликовано: 10.02.2009
(56) Список документов, цитированных в отчете о поиске:
RU 2083947 C1, 10.07.1997. RU 2075034 С1, 10.03.1997. RU 2066834 С1, 20.09.1996. US 5423497 А, 13.06.1995. DE 2833079 C1, 10.12.1992.
Адрес для переписки:
141070, Московская обл., г. Королев, ул. Ленина, 4а, ОАО “РКК “Энергия” им. С.П. Королева”, отдел промышленной собственности и инноватики
|
(72) Автор(ы):
Белоногов Олег Борисович (RU), Чеканов Владислав Витальевич (RU)
(73) Патентообладатель(и):
Открытое акционерное общество “Ракетно-космическая корпорация “Энергия” имени С.П. Королева” (RU)
|
(54) РУЛЕВАЯ МАШИНА
(57) Реферат:
Изобретение относится к ракетной технике, в частности к устройствам управления. Рулевая машина содержит трехшестеренный насос, реле и качалку с двумя плунжерами. Полые ведомые шестерни насоса снабжены радиальными отверстиями, гидравлически связанными с силовым механизмом. Каждый плунжер состоит из соединенных проволочной тягой золотника, размещенного в полой оси ведомой шестерни насоса, и стержня, установленного в отверстии качалки и снабженного наружной резьбой с первым фиксатором. В отверстиях качалки установлены подшипники с фиксацией их положения в осевом направлении. Каждый стержень размещен в отверстии подшипника и снабжен вторым фиксатором, установленным на стержне со стороны подшипника, противоположной первому фиксатору. Размещение стержня плунжера в подшипнике обеспечивает возможность осевого вращения плунжера, но с меньшей скоростью, чем ось ведомой шестерни насоса, за счет наличия сил трения в подшипнике, гидродинамических сил, действующих на плунжер, и радиальной составляющей усилия от изгиба проволочной тяги. При этом сохраняется чувствительность рулевой машины за счет снижения сухого трения, но увеличивается демпфирование качалки с плунжерами относительно ведомых шестерен насоса при сохранении значений гидродинамических сил, действующих на плунжеры. 1 ил.
Изобретение относится к ракетной технике, в частности к устройствам управления.
Известна рулевая машина (РМ), включающая трехшестеренный насос, реле, качалку и золотники, прикрепленные к качалке на упругом подвесе, выполненном в виде проволочной тяги, и размещенные в полых осях трехшестеренного насоса [1].
Недостатком данной РМ является малая надежность и трудность регулировки скорости РМ.
Наиболее близким к предложенному решению – прототипом – является РМ [2], содержащая трехшестеренный насос, полые ведомые шестерни которого снабжены радиальными отверстиями, гидравлически связанными с силовым механизмом, реле, качалку с двумя плунжерами, при этом каждый плунжер состоит из соединенных проволочной тягой золотника, размещенного в полой оси ведомой шестерни трехшестеренного насоса, и стержня, установленного в отверстии качалки и снабженного наружной резьбой с первым фиксатором. Недостатком указанной конструкции является возможность возникновения автоколебаний в замкнутом контуре управления РМ, т.к. размещение золотников в полых осях ведомых шестерен насоса, с одной стороны, уменьшает действующие на золотник гидродинамические силы из-за увеличения углов истечения потоков в радиальных отверстиях осей ведомых шестерен трехшестеренного насоса [3], а с другой стороны, замещает сухое трение между золотником и вращающейся осью – вязким, что существенно уменьшает демпфирование качалки с золотниками [4] и может привести к автоколебаниям.
Техническим результатом изобретения является предохранение РМ от автоколебаний путем увеличения демпфирования качалки с плунжерами относительно ведомых шестерен трехшестеренного насоса при сохранении значений гидродинамических сил, действующих на плунжеры.
Технический результат достигается тем, что в РМ, содержащей трехшестеренный насос, полые ведомые шестерни которого снабжены радиальными отверстиями, гидравлически связанными с силовым механизмом, реле, качалку с двумя плунжерами, при этом каждый плунжер состоит из соединенных проволочной тягой золотника, размещенного в полой оси ведомой шестерни трехшестеренного насоса, и стержня, установленного в отверстии качалки и снабженного наружной резьбой с первым фиксатором, в отличие от прототипа в отверстиях качалки установлены подшипники с фиксацией их положения в осевом направлении, каждый стержень размещен в отверстии подшипника и снабжен вторым фиксатором, установленным на стержне со стороны подшипника, противоположной первому фиксатору.
Указанные отличия позволяют предохранить РМ от автоколебаний за счет увеличения демпфирования качалки с плунжерами относительно ведомых шестерен трехшестеренного насоса при сохранении значений гидродинамических сил, действующих на плунжеры. Повышение демпфирования качалки с плунжерами относительно ведомых шестерен трехшестеренного насоса путем уменьшения зазора между золотниками и осями ведомых шестерен трехшестеренного насоса неприемлемо по соображениям безопасности функционирования РМ из-за возможности заклинивания золотников.
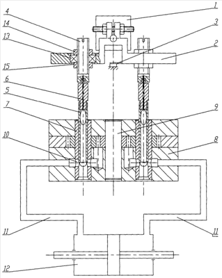
На чертеже представлена конструктивная схема РМ.
РМ содержит золотниковое распределительное устройство, включающее реле 1, на выходном валу которого жестко закреплена качалка 2, например, посредством цангового зажима, нагруженная плоской пружиной 3. Плунжеры золотникового распределительного устройства состоят из двух частей: стержня 4 и золотника 5, соединенных проволочной тягой 6. Золотники 5 размещены в полых осях 7 ведомых шестерен трехшестеренного насоса 8, находящихся в зацеплении с ведущей шестерней 9. В осях 7 выполнены радиальные отверстия 10, связанные гидравлическими магистралями 11 с силовым механизмом 12. Стержни 4 снабжены наружной резьбой и установлены в отверстиях подшипников 13, закрепленных на качалке 2, например посредством завальцовки, перемещение стержня 4 относительно качалки 2 ограничивается фиксаторами: первым 14 и вторым 15, выполненными в виде контргаек. Контргайки установлены на стержне 4 с обеих сторон подшипника и поджаты вплотную к его внутренней обойме. Перекрытие золотниками 5 радиальных отверстий 10 обеспечивает дросселирование в золотниковом распределительном устройстве. Необходимо применение в конструкции РМ подшипников радиально-упорного типа, т.к. плунжеры испытывают осевое воздействие гидродинамических сил.
РМ функционирует следующим образом. При подаче управляющего тока на обмотку реле 1 его выходной вал поворачивается на определенный угол, качалка 2, жестко закрепленная на валу реле 1, поворачивается на тот же угол. Позиционная нагрузка на валу реле в зависимости от управляющего тока создается плоской пружиной 3. Стержни 4, установленные на качалке 2, вместе с ней отклоняются от вертикали, а золотники 5 сохраняют вертикальное положение за счет изгиба проволочной тяги 6. При этом один золотник движется вверх, а другой – вниз внутри полых осей 7 ведомых шестерен трехшестеренного насоса 8, приводимого в движение ведущей шестерней 9, причем золотники 5 определенным образом перекрывают радиальные отверстия 10, связанные гидравлическими магистралями 11 с силовым механизмом 12. Стержень 4 установлен в отверстии подшипника 13, зафиксированного на качалке 2. За счет перемещения стержня 4 относительно качалки 2 обеспечивается регулирование перекрытия радиальных отверстий 10 золотником 5, т.е. обеспечивается регулировка скорости перемещения штока силового механизма 12. Контргайки 14 и 15 фиксируют положение стержня 4 относительно внутренней обоймы подшипника 13 и соответственно качалки 2 после регулировки скорости, но позволяют ему вращаться вокруг своей оси.
Размещение стержня 4 плунжера в подшипнике обеспечивает возможность осевого вращения плунжера, но с меньшей скоростью, чем ось 7 ведомой шестерни трехшестеренного насоса 8, за счет наличия сил трения в подшипнике, гидродинамических сил, действующих на плунжер, и радиальной составляющей усилия от изгиба проволочной тяги 6. При этом сохраняется чувствительность РМ за счет снижения сухого трения, но увеличивается демпфирование качалки с плунжерами относительно ведомых шестерен трехшестеренного насоса при сохранении значений гидродинамических сил, действующих на плунжеры.
Литература
1. Феодосьев В.И., Синярев Г.Б. Введение в ракетную технику. М.: Оборонгиз, 1960, с.403, фиг.9, 21.
2. Патент RU №2083947, F42В 10/00, 15/00, 1994 г.
Формула изобретения
Рулевая машина, содержащая трехшестеренный насос, в полых ведомых шестернях которого выполнены радиальные отверстия, гидравлически связанные с силовым механизмом, реле, качалку с двумя плунжерами, каждый из которых состоит из соединенных проволочной тягой золотника, размещенного в полой оси ведомой шестерни трехшестеренного насоса, и стержня, установленного в отверстии качалки и снабженного наружной резьбой с первым фиксатором, отличающаяся тем, что в отверстиях качалки установлены подшипники, зафиксированные в осевом направлении, а каждый стержень размещен в отверстии подшипника и снабжен вторым фиксатором, установленным на стержне со стороны подшипника, противоположной первому фиксатору.
РИСУНКИ
|
|