|
|
(21), (22) Заявка: 2007139185/06, 22.10.2007
(24) Дата начала отсчета срока действия патента:
22.10.2007
(46) Опубликовано: 10.02.2009
(56) Список документов, цитированных в отчете о поиске:
RU 2131101 C1 27.05.1999. SU 1790727 A3 23.01.1993. RU 2131102 C1 27.05.1999. RU 2032132 C1 27.03.1995. FR 1529527 A 21.06.1968.
Адрес для переписки:
394000, г.Воронеж, пр-кт Революции, 19, ГОУВПО Воронежская государственная технологическая академия (ВГТА), отдел СМП
|
(72) Автор(ы):
Антипов Сергей Тихонович (RU), Игнатов Валерий Ефимович (RU), Воронин Алексей Анатольевич (RU)
(73) Патентообладатель(и):
Государственное образовательное учреждение высшего профессионального образования “Воронежская государственная технологическая академия” (RU)
|
(54) УСТРОЙСТВО ДЛЯ РАСПЫЛЕНИЯ ЖИДКОГО ПРОДУКТА В ВАКУУМ-СУБЛИМАЦИОННОЙ СУШИЛКЕ
(57) Реферат:
Предлагаемое изобретение относится к технике сушки жидких термолобильных продуктов и может быть использовано в пищевой, микробиологической и фармацевтической промышленности. В устройстве для распыления жидкого продукта в вакуум-сублимационной сушилке, содержащем испарительную камеру, выполненную в виде циклона, нижняя часть которой соединена с напорной емкостью переходным каналом, снабженным диафрагмой с регулируемым сечением, и капилляр, выполненный в виде сопла и снабженный в конфузорной части кольцевым каналом, диафрагма выполнена из эластичного материала и окружена кольцевой камерой, сопло снабжено внешней паровой камерой, а его поверхность ниже кольцевого канала выполнена в виде кольцевых жалюзи с продольными щелями, направленными по касательной в направлении, совпадающем с направлением вращения продукта в испарительной камере, а трубопровод подвода пара из испарительной камеры к соплу снабжен патрубком подачи инертного газа. Техническим результатом изобретения является придание устройству возможности распыления продукта в вакуум-сублимационной сушилке и повышения надежности его работы в период пуска в работу и прекращения подачи продукта. 3 ил.
Предлагаемое изобретение относится к технике сушки жидких термолобильных продуктов и может быть использовано в пищевой, микробиологической и фармацевтической промышленности.
Наиболее близким по технической сущности и достигаемому эффекту является устройство для ввода жидкого продукта в вакуум-сублимационную сушилку (патент РФ 2131101, кл. F26В 5/06, опубл. 27.05.99. Бюл. №15), содержащее испарительную камеру, выполненную в виде циклона, напорную емкость и капилляр, при этом нижняя часть испарительной камеры соединена с напорной емкостью переходным каналом, снабженным диафрагмой с регулируемым сечением, а конфузорная часть капилляра снабжена регулируемым каналом, соединенным трубопроводом с патрубком отвода паровой фазы из испарительной камеры.
Недостатками известного устройства является невозможность диспергирования жидкого продукта, так как при переходе через переходной канал с диафрагмой прямоугольного сечения скорость его вращения уменьшается практически до нуля и продукт поступает в камеру в виде струи; ненадежность работы в период пуска и остановки вследствие недостаточного количества пара для образования «налипшего» слоя.
Технической задачей изобретения является создание устройства с возможностью распыления жидкого продукта в вакуум-сублимационной сушилке и повышения с высокой степенью его надежности работы в период пуска в работу и прекращения подачи продукта.
Поставленная задача достигается тем, что в устройстве для распыления жидкого продукта в вакуум-сублимационной сушилке, содержащем испарительную камеру, выполненную в виде циклона, нижняя часть которой соединена с напорной емкостью переходным каналом, снабженным диафрагмой с регулируемым сечением, и капилляр, выполненный в виде сопла и снабженный в конфузорной части кольцевым каналом, новым является то, что диафрагма выполнена из эластичного материала и окружена кольцевой камерой с регулируемым давлением, сопло снабжено внешней паровой камерой, а его поверхность ниже кольцевого канала выполнена в виде кольцевых жалюзи с продольными щелями, направленными по касательной в направлении, совпадающем с направлением вращения продукта в испарительной камере, а трубопровод подвода пара из испарительной камеры к соплу снабжен патрубком подачи инертного газа.
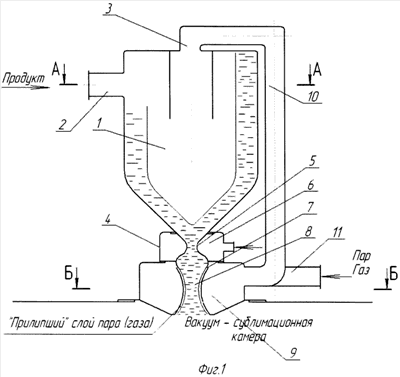
На фиг.1 изображена схема устройства для распыления жидкого продукта в вакуум-сублимационной сушилке, на фиг.2 – разрез А-А на фиг.1; на фиг.3 – разрез Б-Б на фиг.1.
Устройство для распыления жидкого продукта в вакуум-сублимационной сушилке состоит из испарительной камеры 1 (фиг.1), выполненной в виде циклона, с установленным по касательной патрубком 2 для ввода жидкого продукта. По центру камеры имеется патрубок отвода пара 3. Переходным каналом 4 испарительная камера соединена с соплом устройства для распыления жидкого продукта. Переходной канал снабжен эластичной диафрагмой 5, являющейся внутренней стенкой кольцевой камеры 6 подвода газа (жидкости). Конфузорная часть сопла 8 снабжена регулируемым кольцевым каналом 7 подвода пара (газа), направленным по касательной к образующей сопла. Поверхность сопла 8 ниже кольцевого канала 7 выполнена в виде жалюзи из пластин, установленных по образующей сопла (фиг.3). Щели жалюзи установлены по касательной в направлении вращения продукта в испарительной камере. Сопло снабжено внешней паровой камерой 9, соединенной трубопроводом 10 с патрубком отвода пара 3 из испарительной камеры 1. Трубопровод 10 снабжен патрубком 11 подвода инертного газа.
Устройство для распыления жидкого продукта в вакуум-сублимационной сушилке работает следующим образом.
Жидкий продукт по патрубку 2 по касательной вводится в испарительную камеру 1, где поддерживается давление выше тройной точки. В испарительной камере продукт приобретает вращательное движение и интенсивно испаряется, пар удаляется через патрубок 3. Затем вращающийся продукт проходит по переходному каналу 4 в сопло. Сечение кольцевого канала регулируется эластичной диафрагмой 5 путем изменения давления газа (жидкости) в кольцевой камере 6. Вследствие потери напора в переходном канале давление жидкости на входе в сопло меньше, чем в испарительной камере. Пар из испарительной камеры по трубопроводу 10 поступает в кольцевую камеру 9, а затем через кольцевой канал 7 – в конфузорную часть сопла по касательной к образующей. Кольцевой канал 7 разделяет зоны с давлениями выше тройной точки в конфузорной части сопла и ниже.
Пар образует «прилипший» слой, толщина которого зависит от разницы статических давлений пара в кольцевой камере 9 и во вращающемся потоке жидкости. « Прилипший» паровой слой определяет сечение струи, выходящей через сопло жидкости, и изолирует продукт от контакта со стенками сопла. Таким образом, изменяя сечение кольцевого канала и давления внутри камеры 6, можно в широких пределах регулировать производительность устройства по жидкому продукту с незначительным уменьшением линейной скорости. Пар из щелей между пластинами жалюзи поверхности сопла 8 выходит по касательной, образуя вращающийся поток. Пар отдает кинетическую энергию жидкому продукту, увеличивая его скорость вращения, частично с ним смешивается и вспенивает продукт. Выходящая из сопла вращающаяся вспененная струя жидкого продукта интенсивно распыляется в камере вакуум-сублимационной сушилки.
В периоды пуска устройства в работу и прекращения подачи продукта пара, образующегося в результате испарения части воды из продукта в испарительной камере, не хватает для образования «прилипшего» слоя. Тогда по патрубку 11 в кольцевую камеру 9 подается инертный газ – азот, воздух. По выходу устройства на рабочий режим или завершения подачи продукта и промывки водой подачу газа прекращают.
Предлагаемое устройство для непосредственного ввода жидкого продукта в сублимационную камеру имеет следующие преимущества:
– при изменении площади переходного канала он сохраняет круглое сечение и вследствие этого линейная скорость частиц вращающегося продукта уменьшается незначительно;
– подача пара (газа) через отверстия жалюзи во внутренней поверхности сопла обеспечивает увеличенную скорость вращения и вспенивания продукта, что обеспечивает его эффективное диспергирование в камере вакуум-сублимационной сушилки;
– подача инертного газа обеспечивает надежную работу устройства в периоды пуска устройства в работу и прекращении подачи продукта.
Формула изобретения
Устройство для распыления жидкого продукта в вакуум-сублимационной сушилке, содержащее испарительную камеру, выполненную в виде циклона, нижняя часть которой соединена с напорной емкостью переходным каналом, снабженным диафрагмой с регулируемым сечением, и капилляр, выполненный в виде сопла и снабженный в конфузорной части кольцевым каналом, отличающееся тем, что диафрагма выполнена из эластичного материала и окружена кольцевой камерой с регулируемым давлением, сопло снабжено внешней паровой камерой, а его поверхность ниже кольцевого канала выполнена в виде кольцевых жалюзи с продольными щелями, направленными по касательной в направлении, совпадающем с направлением вращения продукта в испарительной камере, а трубопровод подвода пара из испарительной камеры к соплу снабжен патрубком подачи инертного газа.
РИСУНКИ
|
|