Изобретение относится к аппаратам пищевой промышленности, а именно к оборудованию для концентрирования жидких и получения сухих пищевых продуктов путем их выпаривания и сушки в вакууме, и может быть применено в условиях малых предприятий, лишенных пароснабжения. Устройство для удаления влаги в вакууме включает камеру испарителя, установленную в ячейку, выполненную с возможностью поворота вокруг горизонтальной оси и вращения вокруг оси симметрии, конденсатор, сборник конденсата и насос, причем между сборником конденсата и насосом установлена ловушка для жидкой фазы с рабочим объемом, превышающим объем залитого в насос масла. Технический результат изобретения заключается в повышении эффективности устройства за счет защиты насоса от попадания капельной фазы выпариваемой жидкости и сборника конденсата от возможного выброса масла из насоса. 1 ил.
Изобретение относится к аппаратам пищевой промышленности, а именно к оборудованию для концентрирования жидких и получения сухих пищевых продуктов путем их выпаривания и сушки в вакууме, и может быть применено в условиях малых предприятий, лишенных пароснабжения.
Известно устройство для концентрирования жидких пищевых продуктов путем их выпаривания в вакууме [1]. Оно включает камеру испарителя с водяной рубашкой, электронагревателем и терморегулятором, конденсатор, сборник конденсата и насос. Однако данное устройство, использует водоструйный насос и не позволяет достигать высокой производительности по выпариваемой влаге.
Наиболее близким техническим решением, выбранным в качестве прототипа, является устройство для удаления влаги в вакууме, включающее камеру испарителя с водяной рубашкой, электронагревателем и терморегулятором, установленную в ячейку, выполненную с возможностью поворота вокруг горизонтальной оси и вращения вокруг оси симметрии, конденсатор, сборник конденсата и насос [2].
Однако это устройство не предусматривает защиты форвакуумного насоса от капельной фазы, поступающей из сборника конденсата. Появление жидкости в результате накопления капельной фазы ухудшает работу масляного насоса и может привести к выбросу масла в сборник конденсата.
Задача, на решение которой направлено изобретение, состоит в повышении эффективности устройства за счет использования защиты насоса от попадания в него капельной фазы, поступающей из сборника конденсата, и защиты сборника конденсата от возможного выброса масла из насоса.
Это достигается тем, что в известном устройстве для удаления влаги в вакууме, включающем камеру испарителя, установленную в ячейку, выполненную с возможностью поворота вокруг горизонтальной оси и вращения вокруг оси симметрии, конденсатор, сборник конденсата и насос, между сборником конденсата и насосом установлена ловушка для жидкой фазы с рабочим объемом, превышающим объем залитого в насос масла.
Установка ловушки между сборником конденсата и насосом обеспечивает защиту насоса от попадания в него капельной фракции выпариваемого продукта и повышает эффективность его работы. Накопление в насосе выпариваемой жидкости ухудшает его работу и может привести к выбросу масла в вакуумную систему. Применение ловушки, рабочий объем которой превышает объем масла, залитого в насос, обеспечивает защиту сборника конденсата от попадания в него масла из насоса.
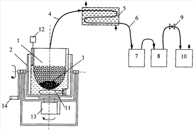
На чертеже изображена схема устройства для удаления влаги в вакууме, подготовленного к работе, где 1 – камера испарителя; 2 – ячейка с двумя осями вращения; 3 – рабочие тела; 4 – паропровод; 5 – конденсатор; 6 – трубопровод; 7 – сборник конденсата; 8 – ловушка; 9 – вентиль; 10 – вакуумный насос; 11 – электронагреватель; 12 – терморегулятор; 13 – привод колебательного движения; 14 – рукоятка.
Устройство работает следующим образом.
Камеру испарителя 1, помещенную в ячейку 2, загружают рабочими телами 3 и высушиваемым материалом и соединяют паропроводом 4 с конденсатором 5. Конденсатор подсоединяют трубопроводом 6 к сборнику конденсата 7. Сборник конденсата соединяют с ловушкой 8. Ловушку подключают через вентиль 9 к насосу 10 и создают разрежение в системе порядка 1-10 Па. Электронагревателем 11 поддерживают температуру в камере испарителя на уровне 30-50°С с помощью терморегулятора 12. Через конденсатор пропускают охлаждающую жидкость. По мере удаления влаги из высушиваемого продукта ось испарителя наклоняют с помощью рукоятки 14 до горизонтального положения, затем испаритель приводят в колебательное движение вокруг оси симметрии с помощью привода 13.
Испытания проведены при перегонке спирта-сырца и выпаривании натурального сока черной смородины. Между сборником конденсата и вакуумным насосом установлена ловушка. Рабочий объем ловушки составлял 3 л и в 2 раза превышал объем залитого в насос вакуумного масла (1,5 л). Разрежение в системе 5-10 Па создавалось с помощью форвакуумного масляного механического насоса. В камеру испарителя объемом 40 л загружено 30 л спирта-сырца. Мощность, подведенная к испарителю, составляла 6,6 кВт. Температура охлаждающей воды в конденсаторе составляла 14°С. В результате перегонки объем жидкой фазы в ловушке составил 0,2% от объема конденсата. При выпаривании сока черной смородины имел место выброс масла из насоса. Все масло оказалось в ловушке и не попало в сборник конденсата. Таким образом, установка ловушки между сборником конденсата и насосом позволяет предохранять насос от капельной фазы и сборник конденсата от выброса масла из насоса.
Данное устройство повышает эффективность работы известного устройства за счет защиты насоса от попадания капельной фазы выпариваемой жидкости и сборника конденсата от возможного выброса масла из насоса.
Устройство для удаления влаги в вакууме, включающее камеру испарителя, установленную в ячейку, выполненную с возможностью поворота вокруг горизонтальной оси и вращения вокруг оси симметрии, конденсатор, сборник конденсата и насос, отличающееся тем, что между сборником конденсата и насосом установлена ловушка для жидкой фазы с рабочим объемом, превышающим объем залитого в насос масла.