|
|
(21), (22) Заявка: 2007106719/12, 19.07.2005
(24) Дата начала отсчета срока действия патента:
19.07.2005
(30) Конвенционный приоритет:
22.07.2004 TR 2004/01789
(43) Дата публикации заявки: 27.08.2008
(46) Опубликовано: 10.02.2009
(56) Список документов, цитированных в отчете о поиске:
ЕР 1329679 A1, 23.07.2003. US 6079216 A, 27.06.2000. JP 2003-269853 A, 25.09.2003. JP 2003-185331 A, 03.07.2003. US 6055823 A, 02.05.2000. SU 966456 A, 15.10.1982.
(85) Дата перевода заявки PCT на национальную фазу:
22.02.2007
(86) Заявка PCT:
IB 2005/052395 (19.07.2005)
(87) Публикация PCT:
WO 2006/011116 (02.02.2006)
Адрес для переписки:
129090, Москва, ул. Б.Спасская, 25, стр. 3, ООО “Юридическая фирма Городисский и Партнеры”, пат.пов. А.В.Миц
|
(72) Автор(ы):
ЧЕЛИК Ридван Кадир (TR), АРИСОЙ Эмре (TR)
(73) Патентообладатель(и):
АРЧЕЛЫК АНОНИМ ШИРКЕТИ (TR)
|
(54) ОХЛАЖДАЮЩЕЕ УСТРОЙСТВО
(57) Реферат:
Охлаждающее устройство содержит корпус; внутренний объем охлаждающего устройства внутри корпуса содержит одну или более полок внутреннего отделения, на которые помещают продукты питания; дверь, которая обеспечивает пользователю возможность закрывать корпус и получать доступ к продуктам, размещенным внутри корпуса, и проем на двери, который имеет форму, которая обеспечивает пользователю возможность доступа к внутреннему объему охлаждающего устройства без открывания двери. Устройство содержит дополнительную дверцу, которая закрывает проем при ее закрывании перемещением вокруг горизонтальной или вертикальной оси вращения, которая соединяет противоположные края проема, при этом дополнительная дверца расположена таким образом, что ось вращения расположена приблизительно посередине противоположных сторон проема, не совмещаясь ни с одним краем, и в открытом состоянии обеспечивает возможность доступа во внутренний объем охлаждающего устройства через проем, который расположен на двери таким образом, что теплопередача между внешней средой и внутренним объемом охлаждающего устройства минимальна. Использование данного изобретения обеспечивает средство сокращения продолжительности работы компрессора и, соответственно, сводится к минимуму энергопотребление. 12 з.п. ф-лы, 6 ил.
Данное изобретение относится к охлаждающему устройству, которое содержит на двери дополнительную дверцу.
В охлаждающих устройствах дверь используется, чтобы обеспечить пользователю возможность доступа к загруженным туда продуктам. В существующем уровне техники к поверхности двери прикрепляется прокладка, которая контактирует с корпусом охлаждающего устройства, окружая всю периферию, и посредством этой прокладки может быть получено уплотнение, затрудняя теплопередачу между внутренним объемом охлаждающего устройства и внешней средой, в которой размещается охлаждающее устройство, при закрытии двери.
При открывании двери внутренний объем охлаждающего устройства, который более холодный, чем внешняя среда, начинает нагреваться, влияя на продолжительность работы компрессора относительно частоты открывания и закрывания двери охлаждающего устройства и времени, в течение которого дверь держат открытой. Например, чтобы взять бутылку с напитком, дверь открывают для извлечения бутылки, и, таким образом, ненужное повышение температуры всего внутреннего объема охлаждающего устройства приводит к увеличению продолжительности работы компрессора и, соответственно, потреблению энергии охлаждающим устройством. Чтобы решить эту проблему, в существующем уровне техники доступны несколько решений, в которых пользователь имеет возможность доступа внутрь охлаждающего устройства без необходимости открывания двери охлаждающего устройства.
Согласно уровню техники, в патенте США 5209082 представлено описание второй дверцы, установленной в двери охлаждающего устройства, посредством чего обеспечивается возможность доступа в отделение, выполненное во внутреннем объеме охлаждающего устройства, снаружи, без открывания двери охлаждающего устройства.
Согласно уровню техники, в международной патентной публикации WO 9901704 представлено описание мини-дверцы, расположенной в двери охлаждающего отделения, имеющей конструкцию, которая обеспечивает извлечение продуктов и напитков из охлаждающего устройства при полном ее открывании.
Согласно уровню техники, в заявке ЕР 1329679 представлено описание дверцы, расположенной в двери.
Задачей настоящего изобретения является осуществление охлаждающего устройства, содержащего дополнительную дверцу, которая обеспечивает возможность извлечения загруженных в охлаждающее устройство продуктов из охлаждающего устройства без открывания двери охлаждающего устройства с минимальной теплопередачей между внешней средой и внутренним объемом холодильника.
Поставленная задача решается в охлаждающем устройстве, содержащем корпус; внутренний объем охлаждающего устройства внутри корпуса, содержащий одну или более полок внутреннего отделения, на которые помещают продукты питания; дверь, которая обеспечивает пользователю возможность закрывать корпус и получать доступ к продуктам, размещенным внутри корпуса, и проем на двери, который имеет форму, обеспечивающую пользователю возможность доступа к внутреннему объему охлаждающего устройства без открывания двери, при этом устройство содержит дополнительную дверцу, закрывающую проем при ее закрывании перемещением вокруг горизонтальной или вертикальной оси вращения, которая соединяет противоположные края проема, при этом дополнительная дверца расположена таким образом, что ось вращения расположена приблизительно посередине противоположных сторон проема, не совмещаясь ни с одним краем, и в открытом состоянии обеспечивает возможность доступа во внутренний объем охлаждающего устройства через проем, расположенный на двери таким образом, что теплопередача между внешней средой и внутренним объемом охлаждающего устройства минимальна.
Предпочтительно, дополнительная дверца открывается и закрывается вращением на 360° вокруг оси вращения по часовой стрелке, или против часовой стрелки, или под разными углами в обоих направлениях.
Дополнительная дверца приводится в открытое положение поворотом вокруг оси вращения так, чтобы предотвращать воздухообмен между внутренним объемом охлаждающего устройства и внешней средой, при этом достигается полное уплотнение.
Дополнительная дверца при повороте на 180° полностью закрывает проем таким образом, что препятствует воздухообмену между внутренним объемом охлаждающего устройства и внешней средой, обеспечивая полное уплотнение и обеспечивая пользователю возможность доступа к охлажденным продуктам на полке.
Охлаждающее устройство может содержать один или более штырей, образующих ось вращения дополнительной дверцы, и одно или более гнезд, в которые входят штыри, а дополнительная дверца может содержать полку, на которую помещают продукты.
Устройство предпочтительно содержит уплотнительный элемент, при помощи которого достигается уплотнение между внешней средой и внутренним объемом охлаждающего устройства, когда дополнительная дверца закрыта, и ограничитель, к которому прилегает уплотнительный элемент после того, как дополнительная дверца закрывается, чтобы препятствовать ее дальнейшему перемещению.
Предпочтительно, ограничитель выполнен по меньшей мере на одной из сторон проема, которая параллельна оси вращения, и выполнен в виде выемки или выступа.
Ограничитель может быть расположен с противоположных сторон проема, симметрично относительно средней точки проема, где его горизонтальная и вертикальная оси сходятся, или может быть расположен с противоположных сторон дополнительной дверцы, симметрично относительно средней точки дополнительной дверцы, где ее горизонтальная и вертикальная оси сходятся.
Кроме того, охлаждающее устройство может содержать внутреннюю полку во внутреннем объеме охлаждающего устройства, край которой имеет форму линии, повторяемой сторонами дополнительной двери, таким образом, чтобы не препятствовать перемещению дополнительной дверцы.
Охлаждающее устройство, предназначенное для достижения задач изобретения, проиллюстрировано в приложенных чертежах.
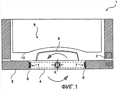
Фиг.1 – схематичный вид охлаждающего устройства с закрытой дополнительной дверцей.
Фиг.2 – схематичный вид охлаждающего устройства с открытой дополнительной дверцей.
Фиг.3 – вид в перспективе охлаждающего устройства во время открывания дополнительной дверцы.
Фиг.4 – схематичный вид охлаждающего устройства с закрытой дополнительной дверцей, согласно альтернативному варианту осуществления настоящего изобретения.
Фиг.5 – схематичный вид охлаждающего устройства с открытой дополнительной дверцей, согласно альтернативному варианту осуществления настоящего изобретения.
Фиг.6 – вид в перспективе охлаждающего устройства во время открывания дополнительной дверцы, согласно альтернативному варианту осуществления настоящего изобретения.
Элементы, показанные на чертежах, обозначены следующим образом.
1. Охлаждающее устройство.
2. Корпус
3. Дверь
4. Дополнительная дверца
5. Проем
6. Уплотнительный элемент
7. Ограничитель
8. Внутренний объем охлаждающего устройства
9. Полка
10. Ручка
11. Штырь
12. Гнездо
13. Полка внутреннего отделения
Охлаждающее устройство (1), являющееся предметом настоящего изобретения, содержит корпус (2), внутренний объем (8) охлаждающего устройства внутри корпуса (2), содержащий одну или более полок (13) внутреннего отделения, на которые помещают продукты, дверь (3), которая обеспечивает возможность пользователю закрывать корпус (2) и получать доступ к продуктам, помещенным внутри корпуса (2), проем (5) на двери (3), который имеет форму, обеспечивающую пользователю доступ во внутренний объем (8) охлаждающего устройства без открывания двери (3), и дополнительную дверцу (4), закрывающую проем (5), когда ее закрывают перемещением вокруг горизонтальной или вертикальной оси (X) вращения, которая соединяет противоположные стороны проема (5), не совмещаясь ни с одной стороной, а при открывании обеспечивающую возможность доступа во внутренний объем (8) охлаждающего устройства через проем (5), расположенный на двери (3) таким образом, чтобы теплопередача между внешней средой и внутренним объемом (8) охлаждающего устройства была минимальной.
Проем (5) на двери (3), предпочтительно четырехугольной формы, имеет форму рамки с промежутком посередине, содержащей верхнюю сторону, нижнюю сторону и боковые стороны, соединяющие верхнюю и нижнюю стороны.
Охлаждающее устройство (1) содержит один или более штырей (11), образующих ось (X) вращения дополнительной дверцы (4), и одно или более гнезд (12), в которые входят эти штыри (11).
Посредством штырей (11) и гнезд (12) дополнительная дверца (4) вращается вокруг оси (X) вращения.
Дополнительная дверца (4) предпочтительно имеет четырехугольную форму и содержит ручку (10), посредством которой пользователь открывает и закрывает ее, захватывая ручку, и полку (9), на которую помещают продукты.
Охлаждающее устройство (1) также содержит уплотнительный элемент (6), при помощи которого достигается уплотнение между внешней средой и внутренним объемом (8) охлаждающего устройства при закрытой дополнительной дверце (4). Хотя уплотнительный элемент (6) может быть расположен в проеме (5), он также может быть расположен на дополнительной дверце (4). В качестве уплотнительного элемента (6) предпочтительно используется прокладка.
Охлаждающее устройство (1) также содержит ограничитель (7), к которому прилегает уплотнительный элемент (6), чтобы препятствовать дальнейшему прохождению дополнительной дверцы (4) после того, как ее закрыли. Если уплотнительный элемент (6) расположен в проеме (5), то ограничитель (7) размещают на дополнительной дверце (4). Хотя ограничитель (7) может быть выемкой такой формы, которая не позволяет уплотнительному элементу (6) выйти из зацепления, пока не будет приложено усилие к дополнительной дверце (4), он также может быть изготовлен в виде выступа, выполненного, по меньшей мере, на одной стороне дополнительной дверцы (4), к которому прилегает уплотнительный элемент (6) и который препятствует дальнейшему перемещению дополнительной дверцы (4), контактируя с ней в ее закрытом состоянии, и предпочтительно расположен параллельно вращательной оси проема (5). Ограничители (7) в виде выступов предпочтительно расположены на противоположных сторонах проема (5), симметрично средней точке проема (5), где его горизонтальная и вертикальная оси сходятся, и, кроме того, обеспечены также ограничители (7), которые расположены на противоположных сторонах дополнительной дверцы (4), симметрично средней точке дополнительной дверцы (4), где сходятся ее горизонтальная и вертикальная оси, и должны контактировать с ограничителями (7) в проеме (5). На ограничителях (7), которые расположены на дополнительной дверце (4) и/или в проеме (5), могут быть расположены уплотнительные элементы (6). Если желательно закрыть дополнительную дверцу (4), то дополнительная дверца (4) перемещается при приложении пользователем усилия, и уплотнительный элемент (6) на дополнительной дверце (4) прилегает к ограничителю (7) на сторонах проема (5), когда стороны проема (5) и стороны дополнительной дверцы (4) занимают параллельное положение друг против друга. В этом случае дополнительная дверца (4) закрывается таким образом, что достигается уплотнение между внутренним объемом (8) охлаждающего устройства и внешней средой.
В предпочтительном варианте осуществления настоящего изобретения дополнительная дверца (4) расположена так, что ось (X) вращения находится приблизительно посередине противоположных сторон проема (5). Таким образом, дополнительную дверцу (4) можно открывать и закрывать вращением на 360° вокруг оси вращения (X), по часовой стрелке или против часовой стрелки; другими словами, ее можно открывать и закрывать, поворачивая также на разные углы в обоих направлениях. При приложении к дополнительной дверце (4), находящейся в закрытом положении, усилия, достаточного для вывода уплотнительного элемента (6), который прилегает к ограничителю (7), из зацепления с ограничителем (7), дополнительная дверца (4) начинает открываться в проеме (5), поворачиваясь вокруг оси (X) вращения таким образом, что теплопередача между внешней средой и внутренним объемом (8) охлаждающего устройства будет минимальной. При приведении дополнительной дверцы (4) в положение, приблизительно соответствующее 180°, полка (9), которая в закрытом положении находится во внутреннем объеме (8) охлаждающего устройства, полностью выходит во внешнюю среду, в этом случае дополнительная дверца (4) оказывается в открытом положении, когда уплотнительный элемент (6) снова прилегает к ограничителю (7). В этом случае проем (5) полностью закрыт дополнительной дверцей (4), при этом теплопередача между внешней средой и внутренним объемом (8) охлаждающего устройства полностью прекращается, достигается полное уплотнение, и пользователь получает доступ к охлажденным продуктам на полке (9). Когда к дополнительной дверце (4) снова прикладывают усилие, уплотнительный элемент (6) выходит из зацепления с ограничителем (7), и дополнительная дверца (4) перемещается на 180°, полка (9), находящаяся во внешней среде, возвращается во внутренний объем (8), и уплотнительный элемент (6) прилегает к ограничителю (7), достигая закрытого положения (Фиг.1, 2 и 3).
В вышеупомянутом варианте осуществления, если пользователь желает получить доступ к продуктам во внутреннем объеме (8), а не на полке (9) дополнительной дверцы (4), то дополнительную дверцу (4) предпочтительно устанавливают в положение 90°. В этом случае дополнительная дверца (4) открывается и обеспечивает возможность максимального объема передачи воздуха через проем (5). Пользователь может получить доступ во внутренний объем, просунув свою руку внутрь сквозь проем (5), и может, таким образом, извлекать продукты, находящиеся во внутреннем объеме (8), из охлаждающего устройства (1).
В другом варианте осуществления настоящего изобретения дополнительная дверца (4) расположена так, что ось (X) вращения находится ближе к одной из сторон проема (5). В упомянутом варианте осуществления дополнительную дверцу (4) можно открывать и закрывать перемещением в одном направлении. Следовательно, дополнительная дверца (4) открывается, только если приложить усилие к стороне дополнительной дверцы (4), которая отстоит дальше от оси вращения (X). Если к дополнительной дверце (4) в закрытом положении приложить усилие, достаточное для вывода уплотнительного элемента (6), который прилегает к ограничителю (7), из зацепления с ограничителем (7), то дополнительная дверца (4) начинает вращательное движение вокруг оси (X) вращения. Дополнительная дверца (4) продолжает перемещаться, пока одна из поверхностей не войдет в контакт с одним из краев проема (5), и, таким образом, перемещение прекращается, когда происходит вышеупомянутый контакт. Пользователь может получить доступ к внутреннему объему (8), просунув свою руку внутрь сквозь проем (5), и может извлекать продукты, находящиеся во внутреннем объеме (8) или на полке (9), из охлаждающего устройства (1).
Когда к дополнительной дверце (4) снова прикладывают усилие, но в направлении, противоположном усилию, прикладываемому, чтобы открыть ее, дополнительная дверца (4) начинает перемещаться в направлении, противоположном движению открывания. Это перемещение продолжается, пока дополнительная дверца (4) не войдет в контакт с ограничителем (7), результатом чего является закрытие дополнительной дверцы (4) с уплотнением, где уплотнительный элемент (6) прилегает к ограничителю (7), при контакте дополнительной дверцы (4) с ограничителем (7) (Фиг.4, 5 и 6).
Края внутренних полок (13) во внутреннем объеме (8) охлаждающего устройства имеют форму линии, повторяемой сторонами дополнительной дверцы (4), предпочтительно параллельными упомянутой линии таким образом, чтобы не препятствовать перемещению дополнительной дверцы (4) (Фиг.1, 2, 4 и 5).
Охлаждающее устройство (1) также содержит запирающий механизм, чтобы обеспечить возможность закрывать и запирать дополнительную дверцу (4). Посредством запирающего механизма дополнительная дверца (4) может оставаться в запертом положении.
Посредством дополнительной дверцы (4), содержащейся в охлаждающем устройстве (1), которое является предметом настоящего изобретения, достигается сведение энергопотребления к минимуму путем предоставления возможности извлечения загруженных внутрь охлаждающего устройства (1) продуктов из охлаждающего устройства (1), не открывая дверь (3).
Формула изобретения
1. Охлаждающее устройство (1), содержащее корпус (2); внутренний объем (8) охлаждающего устройства внутри корпуса (2), содержащий одну или более полок (13) внутреннего отделения, на которые помещают продукты питания; дверь (3), которая обеспечивает пользователю возможность закрывать корпус (2) и получать доступ к продуктам, размещенным внутри корпуса (2), и проем (5) на двери (3), который имеет форму, обеспечивающую пользователю возможность доступа к внутреннему объему (8) охлаждающего устройства без открывания двери (3), отличающееся тем, что содержит дополнительную дверцу (4), закрывающую проем (5) при ее закрывании перемещением вокруг горизонтальной или вертикальной оси (X) вращения, которая соединяет противоположные края проема (5), при этом дополнительная дверца (4) расположена таким образом, что ось (X) вращения расположена приблизительно посередине противоположных сторон проема (5), не совмещаясь ни с одним краем, и в открытом состоянии обеспечивает возможность доступа во внутренний объем (8) охлаждающего устройства через проем (5), расположенный на двери (3) таким образом, что теплопередача между внешней средой и внутренним объемом (8) охлаждающего устройства минимальна.
2. Охлаждающее устройство (1) по п.1, отличающееся тем, что дополнительная дверца открывается и закрывается вращением на 360° вокруг оси (X) вращения, по часовой стрелке или против часовой стрелки, или под разными углами в обоих направлениях.
3. Охлаждающее устройство (1) по п.2, отличающееся тем, что дополнительная дверца (4) приводится в открытое положение поворотом вокруг оси (X) вращения так, чтобы предотвращать воздухообмен между внутренним объемом (8) охлаждающего устройства и внешней средой, при этом достигается полное уплотнение.
4. Охлаждающее устройство (1) по п.2 или 3, отличающееся тем, что дополнительная дверца (4) при повороте на 180° полностью закрывает проем (5) таким образом, что препятствует воздухообмену между внутренним объемом (8) охлаждающего устройства и внешней средой, обеспечивая полное уплотнение и обеспечивая пользователю возможность доступа к охлажденным продуктам на полке (9).
5. Охлаждающее устройство (1) по п.1, отличающееся тем, что содержит один или более штырей (11), образующих ось (X) вращения дополнительной дверцы (4), и одно или более гнезд (12), в которые входят штыри (11).
6. Охлаждающее устройство (1) по п.1, отличающееся тем, что дополнительная дверца (4) содержит полку (9), на которую помещают продукты.
7. Охлаждающее устройство (1) по п.1, отличающееся тем, что содержит уплотнительный элемент (6), при помощи которого достигается уплотнение между внешней средой и внутренним объемом (8) охлаждающего устройства, когда дополнительная дверца (4) закрыта, и ограничитель (7), к которому прилегает уплотнительный элемент (6) после того, как дополнительная дверца (4) закрывается, чтобы препятствовать ее дальнейшему перемещению.
8. Охлаждающее устройство (1) по п.1, отличающееся тем, что ограничитель (7) выполнен, по меньшей мере, на одной из сторон проема (5), которая параллельна оси (X) вращения.
9. Охлаждающее устройство (1) по п.7 или 8, отличающееся тем, что ограничитель (7) выполнен в виде выемки.
10. Охлаждающее устройство (1) по п.7 или 8, отличающееся тем, что ограничитель (7) выполнен в виде выступа.
11. Охлаждающее устройство (1) по п.7, отличающееся тем, что ограничитель (7) расположен с противоположных сторон проема (5) симметрично относительно средней точки проема (5), где его горизонтальная и вертикальная оси сходятся.
12. Охлаждающее устройство (1) по п.11, отличающееся тем, что ограничитель (7) расположен с противоположных сторон дополнительной дверцы (4) симметрично относительно средней точки дополнительной дверцы (4), где ее горизонтальная и вертикальная оси сходятся.
13. Охлаждающее устройство (1) по п.1, отличающееся тем, что содержит внутреннюю полку (13) во внутреннем объеме (8) охлаждающего устройства, край которой имеет форму линии, повторяемой сторонами дополнительной двери (4), таким образом, чтобы не препятствовать перемещению дополнительной дверцы (4).
РИСУНКИ
|
|