|
|
(21), (22) Заявка: 2006145348/06, 20.12.2006
(24) Дата начала отсчета срока действия патента:
20.12.2006
(30) Конвенционный приоритет:
16.08.2006 UA a 200609105
(43) Дата публикации заявки: 27.06.2008
(46) Опубликовано: 10.02.2009
(56) Список документов, цитированных в отчете о поиске:
UA 74301 С2, 15.11.2005. RU 2053457 C1, 27.01.1996. RU 2218525 С2, 10.12.2003. RU 2147106 C1, 27.03.2000. SU 1800242 A1, 07.03.1993. US 3565406 A, 23.02.1971.
Адрес для переписки:
03127, Украина, г. Киев, ул. Дубинина, 1, кв.13, Л.В.Янишевскому
|
(72) Автор(ы):
Макаров Анатолий Стефанович (UA), Сенчук Михаил Петрович (UA), Ходос Андрей Иванович (UA), Марочко Иван Александрович (UA), Кириенко Михаил Александрович (UA)
(73) Патентообладатель(и):
Научно-техническое общество “БИРЮЗА-4” (UA)
|
(54) ВОЗДУХОНАГРЕВАТЕЛЬ
(57) Реферат:
Изобретение относится к промышленной теплотехнике и может быть использовано для подогревания воздуха, в сушильных процессах и в системах воздушного отопления. Воздухонагреватель содержит воздушный короб, имеющий входную и выходную воздушные камеры, в котором размещены газоходы, в которые включены топка в виде жаровой трубы, по меньшей мере, два поворотных газохода, по меньшей мере, два конвекционных пакета в виде пучка дымогарных труб, причем жаровая труба и первый поворотный газоход окружены воздушными каналами с промежуточными теплопоглощающими экранами, при этом вход первого конвекционного пакета дополнительно содержит отделенный пучок из коротких дымогарных труб и отдельный канал для подачи воздуха к этому пучку, кроме того, в воздушном коробе установлены дымоход и по отношению к продольной оси воздухонагревателя поперечная трубная доска, на которую опираются жаровая труба, поворотная камера и первый пучок дымогарных труб, причем нижняя кромка поперечной трубной доски установлена на опоре, промежуточные теплопоглощающие экраны установлены на фиксированных расстояниях без соприкосновения с ними, причем упомянутые экраны соединены дополнительно установленными фиксирующими скобами со стенками воздушных коробов жаровой трубы и поворотной камеры. Между патрубком горелки и жаровой трубой установлена гибкая мембрана, а поперечная трубная доска выполнена с компенсатором тепловых удлинений, в котором установлены внутреннее ребро, внешняя перегородка и уплотняющие накладки. Внутреннее ребро приварено к поверхностям нагрева, а внешняя перегородка установлена с зазором по отношению к внутреннему ребру, воздушные каналы между поверхностями нагрева жаровой трубы и поворотной камеры из жаровой трубы в конвекционный пакет и промежуточными теплопоглощающими экранами выполнены увеличенными, по меньшей мере, в 1,5 раза сравнительно с воздушными каналами между промежуточными теплопоглощающими экранами и стенками воздушного короба. 2 з.п.ф-лы, 3 ил.
Изобретение относится к теплотехнике и может быть использовано для подогрева воздуха, который используют в технологических сушильных процессах (установках сушения молока, казеина, сельскохозяйственных продуктов), в системах воздушного отопления и т.п.
Воздухонагреватели для технологических процессов характеризуются высокими мощностями, значительными количествами воздуха и большими габаритами.
Нагревание воздуха до высоких температур (около 200°С) требует соответственно требованиям технологических процессов дополнительных мер для обеспечения экономичности и снижения температуры металла теплонагруженных стенок воздухонагревателя до допустимых величин, а также компенсации тепловых расширений высокотемпературных и низкотемпературных частей.
Известен воздухонагреватель, который содержит топку, конвекционный пакет в виде плоских панелей, в которых выштампованы отдельные каналы для прохождения газов и воздуха, корпус (кожух). Топка расположена над конвекционным пакетом, воздух на нагревание подается вентилятором с параллельным прохождением через воздушный тракт жаровой трубы и конвекционного пакета (“Обогреватели THERMOBILE”, Каталог с информацией об изделиях сезона 2000-2001 г., г.Бреда, Голландия, 2001 г.).
Недостатками этого аналога являются повышенная неравномерность нагрева воздуха, низкие скорости его движения и невысокая возможность нагрева воздуха до высоких температур, необходимых в технологических сушильных процессах, что также обуславливает недостаточную экономичность.
В качестве прототипа выбран воздухонагреватель, который содержит воздушный короб с входной и выходной воздушными камерами, в котором размещены газоходы, в которые включены топка в виде жаровой трубы с патрубком для горелки, по меньшей мере два поворотных газохода, по меньшей мере два конвекционных пакета, каждый в виде пучка дымогарных труб, причем жаровая труба и первый поворотный газоход окружены воздушными каналами с промежуточными теплопоглощающими экранами, при этом вход первого конвекционного пакета дополнительно содержит отделенный пучок из коротких дымогарных труб и отдельный канал для подачи воздуха к этому пучку, кроме того, в воздушном коробе установлены дымоход и по отношению к продольной оси воздухонагревателя поперечная трубная доска, на которую опираются жаровая труба, поворотная камера и первый пучок дымогарных труб (Патент Украины №74301, бюл. №11/2005).
Такая конструкция позволяет эффективно осуществлять нагрев воздуха по смешанной схеме движения воздуха и продуктов сгорания до температуры воздуха, близкой к 200°С. Такая схема обеспечивает при подогреве до повышенной температуры глубокое охлаждение дымовых газов, эффективное охлаждение высоконапряженных поверхностей нагрева до допустимого уровня температур для материала и предотвращает конденсацию водного пара в продуктах сгорания.
Вместе с тем, соединение в сплошную конструкцию частей теплогенератора: жаровой трубы, экранов и внешнего воздушного короба, каждая из которых характеризуется существенно разными температурами, приводит к разным тепловым удлинениям, и, как следствие, к значительным термическим напряжениям и сокращению срока службы теплогенератора.
Выполнение внутренних воздушных каналов между поверхностями нагрева и экранами, а также внешних каналов между экранами и воздушными коробами равной ширины приводит к неравномерному нагреву воздуха в каналах и к повышению температуры радиационных поверхностей нагрева. Это обуславливает недостаточную надежность воздухонагревателя, уменьшает его долговечность, которая приводит к уменьшению экономической эффективности, что является недостатком прототипа.
В основу изобретения поставлена задача повысить экономическую эффективность воздухонагревателя, создать воздухонагреватель с высокой температурой нагрева воздуха, в котором путем введения новых элементов и организации системы свободных взаимных тепловых удлинений повышается равномерный нагрев воздуха в воздушных каналах. Это приводит к повышению надежности и долговечности воздухонагревателя и, в целом, к повышению его экономичности.
Поставленная задача решается тем, что в воздухонагревателе-прототипе, который содержит воздушный короб с входной и выходной воздушными камерами, в котором размещены газоходы, в которые включены топка в виде жаровой трубы, которая соединена с патрубком горелки, по меньшей мере, два поворотных газохода, по меньшей мере, два конвекционных пакета, каждый из которых в виде пучка дымогарных труб, причем жаровая труба и первый поворотный газоход окружены воздушными каналами с промежуточными теплопоглощающими экранами, при этом вход первого конвекционного пакета дополнительно содержит отделенный пучок из коротких дымогарных труб и отдельный канал для подачи воздуха к этому пучку, кроме того, в воздушном коробе установлены дымоход и по отношению к продольной оси воздухонагревателя поперечная трубная доска, на которую опираются жаровая труба, поворотная камера и первый пучок дымогарных труб, в соответствии с изобретением нижняя кромка поперечной трубной доски установлена на опоре, промежуточные теплопоглощающие экраны установлены на фиксированных расстояниях, по меньшей мере, 20 мм от поверхностей нагрева без соприкосновения с ними, и упомянутые экраны соединены дополнительно установленными фиксирующими скобами со стенками воздушных коробов жаровой трубы и поворотной камеры, кроме того, между патрубком горелки и жаровой трубой установлена гибкая мембрана.
Кроме того, поставленная задача достигается тем, что в заявленном воздухонагревателе поперечная трубная доска выполнена с компенсатором тепловых удлинений, в котором установлены внутреннее ребро, внешняя перегородка и уплотняющие накладки, при этом внутреннее ребро приварено к поверхностям нагрева, а внешняя перегородка установлена с зазором по отношению к внутреннему ребру.
Также поставленная задача достигается тем, что в заявленном воздухонагревателе воздушные каналы между поверхностями нагрева и промежуточными теплопоглощающими экранами выполнены увеличенными, по меньшей мере, в 1,5 раза по сравнению с воздушными каналами между промежуточными теплопоглощающими экранами и стенками воздушного короба.
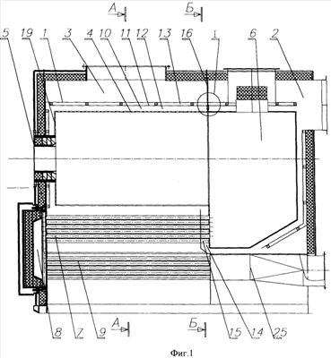
Сущность изобретения поясняется чертежами, где на фиг.1 приведен продольный разрез воздухонагревателя; на фиг.2 приведены сечения по А и по Б на фиг.1; на фиг.3 приведен компенсатор удлинений трубной доски.
Воздухонагреватель содержит воздушный короб 1, входную воздушную камеру 2, выходную воздушную камеру 3, топку – жаровую трубу 4, патрубок для горелки 5, поворотную камеру 6 из жаровой трубы 4 для продуктов сгорания между жаровой трубой 4 и первым конвекционным пакетом 7, поворотную камеру 8 для продуктов сгорания между первым 7 и вторым 9 конвекционными пакетами, воздушный канал 10, разделенный промежуточными теплопоглощающими экранами 11 на внутреннюю часть воздушного канала 12 и внешнюю часть воздушного канала 13, отделенный пучок 14 из коротких дымогарных труб на входе первого конвекционного пакета 7, отдельный канал для подачи воздуха 15, поперечную трубную доску 16, которая опирается на опору 17. Также воздухонагреватель содержит фиксирующие скобы 18, гибкую мембрану 19, компенсатор удлинений трубной доски (I) 20, который состоит из внутреннего ребра 21, приваренного к нагретым поверхностям внешней перегородки 22, установленной с зазором для свободного расширения 23 внутреннего ребра 21 по отношению к внешней перегородке 22 и уплотняющих накладок 23. Жарова труба 4 соединяется с патрубком горелки 5 гибкой мембраной 19. Внутренняя часть воздушного канала 12 между поверхностями нагрева жаровой трубы 4 и поворотной камеры 6 и промежуточными теплопоглощающими экранами 11 выполнена увеличенной, по меньшей мере, в 1,5 раза по сравнению с внешней частью воздушного канала 13 между промежуточными теплопоглощающими экранами 11 и стенками воздушного короба 1.
Вентилятор (не показан) для подачи воздуха на нагревание присоединен к входной воздушной камере 2.
Воздухонагреватель работает следующим образом.
Включают вентилятор, устанавливают необходимые затраты воздуха, который подают в воздушную входную камеру 2, включают горелку. Газы, образовавшиеся в процессе сжигания топлива в топке – жаровой трубе 4, проходят в поворотную камеру 6 между жаровой трубой 4 и первым конвекционным пакетом 7, дальше в трубы отделенного пучка 14, трубы первого конвекционного пакета 7, в поворотную камеру 8 между первым 7 и вторым 9 конвекционными пакетами, затем в трубы второго конвекционного пакета 9 и в выходной дымоход 25, откуда они попадают в дымовую трубу (не показана).
Наиболее нагретые части воздухонагревателя – жаровая труба 4, поворотная камера 6 из жаровой трубы 4 и первый конвекционный пакет 7 – опираются через поперечную трубную доску 16 на специальную опору 17, на которой они зафиксированы от продольных смещений. Компенсатор тепловых удлинений трубной доски 20, выполненный по контуру поперечной трубной доски 16, обеспечивает свободное расширение нагретых поверхностей по отношению к внешним более холодным частям. Это обуславливает возможность такого расширения в поперечном направлении как по горизонтали, так и по вертикали. Свободное расширение боковой поверхности жаровой трубы 4 и поворотной камеры 6 из жаровой трубы 4 обеспечено тем, что внешние стенки коробов жаровой трубы 4 и поворотной камеры 6 из жаровой трубы 4 и промежуточные теплопоглощающие экраны 11 соединены в жесткие конструкции и установлены на фиксированных расстояниях от поверхностей нагрева без соприкосновенья с ними. Продольное расширение жаровой трубы 4, которая опирается на патрубок горелки 5, обеспечено благодаря наличию гибкой мембраны 19.
Воздух, который проходит через внутреннюю часть воздушного канала 12, получает на нагрев 2/3 от количества тепла, поступающего через стенку жаровой трубы 4 или стенку воздушного канала 13. Это обеспечивается благодаря тому, что внутренняя часть воздушного канала 12 имеет, по крайней мере, в 1,5 раза большее сечение, чем внешняя часть воздушного канала 13.
Изобретение обеспечивает повышение надежности конструкции за счет того, что жаровая труба 4, поворотная камера 6 из жаровой трубы и первый конвекционный пакет 7 опираются по отношению к продольной оси воздухонагревателя на поперечную трубную доску 16, которая зафиксирована от продольных смещений на опоре с возможностью расширения в поперечном направлении, а внешние стенки коробов жаровой трубы 4 и поворотной камеры 5 из жаровой трубы 4 и промежуточные теплопоглощающие экраны 11 соединены в жесткую конструкцию, которая установлена на фиксированных расстояниях от поверхностей нагрева без соприкосновения с ними, поперечная трубная доска 16 выполнена с компенсатором тепловых удлинений 20 поперечной трубной доски 16, состоящей из внутреннего ребра 21, приваренного к нагретым поверхностям внешней перегородки 22, установленной с зазором для свободного расширения 23 по отношению к внутреннему ребру 21, а также из уплотняющих накладок 24.
Эффективность новых технических решений подтверждена результатами приемочных испытаний воздухонагревателей ТГ-0,95-200 и ТГ-1,9-200 мощностью соответственно 0,95 и 1,9 МВт и температурой нагретого воздуха до 200°С, конструкция которых выполнена согласно вышеприведенному изобретению.
Достигнута высокая экономичность (с 91 до 93%) и надежность работы: при температуре нагретого воздуха 200°С температура наиболее нагретых частей равнялась 600°С, а температура внешних воздушных коробов – 20 – 200°С, и при этом осуществлялось свободное взаимное удлинение нагретых частей по отношению к более холодным. Температурные циклические напряжения не превышали допустимую величину 100 МПа, надежная работа теплогенераторов подтверждена эксплуатационными испытаниями на протяжении 1,5 лет в режиме ежедневного пуска и остановки. В сравнении с воздухонагревателем-прототипом, рассчитанным на постоянный режим работы с ограниченным количеством пусков и остановок, заявляемая конструкция обеспечивает надежную работу в режиме ежедневного пуска и остановки.
Формула изобретения
1. Воздухонагреватель, который содержит воздушный короб, имеющий входную и выходную воздушные камеры, в котором размещены газоходы, в которые включены топка в виде жаровой трубы, которая присоединена к патрубку горелки, по меньшей мере, два поворотных газохода, по меньшей мере два конвекционных пакета в виде пучка дымогарных труб, причем жаровая труба и первый поворотный газоход окружены воздушными каналами с промежуточными теплопоглощающими экранами, при этом вход первого конвекционного пакета дополнительно содержит отделенный пучок из коротких дымогарных труб и отдельный канал для подачи воздуха к этому пучку, кроме того, в воздушном коробе установлены дымоход и по отношению к продольной оси воздухонагревателя поперечная трубная доска, на которую опираются жаровая труба, поворотная камера и первый пучок дымогарных труб, который отличается тем, что нижняя кромка поперечной трубной доски установлена на опоре, промежуточные теплопоглощающие экраны установлены на фиксированных расстояниях, по меньшей мере, 20 мм от поверхностей нагрева без соприкосновения с ними и упомянутые экраны соединены дополнительно установленными фиксирующими скобами со стенками воздушных коробов жаровой трубы и поворотной камеры, кроме того, между патрубком горелки и жаровой трубой установлена гибкая мембрана.
2. Воздухонагреватель по п.1, отличающийся тем, что поперечная трубная доска выполнена с компенсатором тепловых удлинений, в котором установлены внутреннее ребро, внешняя перегородка и уплотняющие накладки, при этом внутреннее ребро приварено к поверхностям нагрева, а внешняя перегородка установлена с зазором по отношению к внутреннему ребру.
3. Воздухонагреватель по п.1, отличающийся тем, что воздушные каналы между поверхностями нагрева жаровой трубы и поворотной камеры из жаровой трубы в конвекционный пакет и промежуточными теплопоглощающими экранами выполнены увеличенными, по меньшей мере, в 1,5 раза сравнительно с воздушными каналами между промежуточными теплопоглощающими экранами и стенками воздушного короба.
РИСУНКИ
|
|