|
(21), (22) Заявка: 2007141855/06, 12.11.2007
(24) Дата начала отсчета срока действия патента:
12.11.2007
(46) Опубликовано: 10.02.2009
(56) Список документов, цитированных в отчете о поиске:
SU 1733867 А1, 15.05.1992. RU 2080522 С1, 27.01.1997. RU 2280819 С1, 27.07.2006. SU 30138 А, 30.04.1933. RU 2267715 С1, 10.01.2006. RU 2293929 С1, 20.02.2007. RU 12723 U1, 27.01.2000. RU 2089363 С1, 10.09.1997.
Адрес для переписки:
238750, Калининградская обл., г. Советск, ул. Невского, 9-4, В.Н. Капитонову
|
(72) Автор(ы):
Капитонов Владимир Николаевич (RU)
(73) Патентообладатель(и):
Капитонов Владимир Николаевич (RU)
|
(54) ВОДОГРЕЙНЫЙ КОТЕЛ И СПОСОБ ЕГО ИЗГОТОВЛЕНИЯ
(57) Реферат:
Изобретения предназначены для нагрева воды и могут быть использованы для отопления. Водогрейный котел содержит корпус в виде внутренней водяной рубашки, внутренняя стенка которой соединена с полыми водяными перегородками, образующими зигзагообразный газовый канал, каждая из которых соединена с водяной рубашкой котла с трех сторон. Корпус котла снабжен внешней водяной рубашкой с наружной стенкой в форме цилиндра, усеченного по хорде с лицевой стороны, и с внутренней стенкой в форме параллелепипеда, выполняющей одновременно роль внешней стенки внутренней водяной рубашки. Между стенками внешней водяной рубашки котла закреплены металлические перегородки. Во внешней водяной рубашке расстояние между внутренней стенкой и перегородкой равно толщине внутренней водяной рубашки, а расстояние между верхней стенкой внутренней водяной рубашки и общей крышкой котла больше ее не менее чем в 2 раза. Полые водяные перегородки выполнены с горизонтальной нижней стенкой и с верхней стенкой, расположенной под углом не менее 3° к горизонтали, и имеют длину, которая больше не менее чем в 3,5 раза расстояния между полой водяной перегородкой и внутренней стенкой внутренней водяной рубашки котла. Зигзагообразный газовый канал котла соединен с дымоходом через конфузор. Способ изготовления водогрейного котла заключается в заготовке деталей, блоков и затем сборке котла. Заготавливают плоские детали из стальных листов расчетной толщины для изготовления всего котла, на плоских деталях вырезают посадочные места и отверстия, затем собирают полые водяные перегородки, которые являются основой для сборки всего котла. К водяным перегородкам затем присоединяют и жестко закрепляют постепенно все остальные детали до получения полной конструкции котла. Соединение плоских деталей выполняют путем сварки в горизонтальном положении. Изобретения предназначены для повышения производительности, экономии топлива, улучшения удобства и простоты обслуживания, увеличения межремонтного и общего срока работы водогрейного котла, а также упрощения изготовления, повышения технологичности и уменьшения материалоемкости. 2 н. и 5 з.п. ф-лы, 6 ил.
Группа изобретений «Водогрейный котел и способ его изготовления» относится к теплоэнергетике, а именно к водогрейным котлам малой и средней мощности от 22 до 250 кВт для сжигания как твердого, так и других видов топлива. Водогрейный котел предназначен для отопления и горячего водоснабжения жилых, производственных и административных зданий.
Известны технические решения водогрейных котлов, имеющих корпус в виде водяной рубашки, внутри которой расположены полые перегородки, соединенные с водяной рубашкой.
Известно устройство «Котел» (см. авт. св. №1733867 А1, МПК5 F24H 1/40, дата публикации 15.05.92, заявка №4823623/06 от 07.05.90).
Котел содержит корпус в виде водяной рубашки, состоящий из передней, задней, нижней и боковых стенок, внутри корпуса образована топка, в нижней части находится колосниковая решетка, в передней стенке корпуса и топки имеются проемы с дверями, в нижней части зольник. Внутри топки в поперечном направлении к передней и задней стенкам имеются полые перегородки, соединенные через боковые поверхности топки с водяным контуром котла и поочередно с задней и передней поверхностями топки. Зигзагообразный газовый канал в газоходе образован полыми перегородками, каждая из которых соединена с водяной рубашкой котла с трех сторон.
Недостатками котла являются следующие.
Лабиринтный газовый канал котла не обеспечивает интенсивную теплоотдачу от движущихся вверх продуктов горения топлива поверхностям полых перегородок, заполненных теплоносителем, так как зигзагообразный канал имеет неодинаковые расстояния для движения газов, а именно большое расстояние от торца контура до водяной рубашки в одном случае, маленькое – между полыми перегородками. В первом случае создается вакуум, во втором случае создается застой газов.
Расположение нижней полой перегородки создает мертвую зону для прохождения газов, что нарушает интенсивность теплообмена.
В котле нет системы регулирования разрежения (создания тяги) в топке котла.
Не обеспечено предотвращение деформации стенок водяной рубашки и полых водяных перегородок под давлением воды и жесткости всей конструкции.
При увеличении мощности котла увеличивается расчетный объем воды в водяной рубашке, которую нужно разогреть, что ведет к увеличению расхода топлива и уменьшению производительности котла.
Известны технические решения изобретения «Отопительный котел» (см. патент на изобретение №2263851 С2, МПК7 F24H 1/40, дата публикации 10.11.2005, заявка №2003111105/06 от 17.04.2003).
Котел содержит корпус в виде водяной рубашки с введенными во внутренний объем полыми теплообменными элементами, установленными горизонтально и образующими с полостью водяной рубашки замкнутый контур теплоносительной среды.
Центральные элементы установлены на разновысотных уровнях симметрично вдоль продольной оси поперечного внутреннего сечения котла горизонтально и параллельно друг другу, а их торцевые стороны соединены с противоположными сторонами обрамляющей рубашки.
Два других элемента установлены между ними на одном уровне диаметрально противоположно так, что боковая сторона каждого элемента, прилегающая к внутренней боковой стенке котла, и их торцевые стороны соединены с обрамляющей рубашкой.
Недостатками отопительного котла являются следующие.
Расположение центральных полых теплообменных элементов, вваренных в противоположные стенки водяной рубашки напротив друг друга, ухудшает циркуляцию теплоносителя и может вызвать парообразование.
Центральные полые теплообменные элементы вварены в водяную рубашку с одной стороны, что приводит к ухудшению циркуляции теплоносителя и уменьшает теплообмен.
При движении газов сжигания топлива по образованному таким расположением полых элементов газоходному каналу образуются мертвые зоны, вследствие чего не происходит равномерного прогревания и циркуляции теплоносителя.
Неравномерное расстояние между полыми элементами и стенками водяной рубашки и между полыми элементами создают также мертвые зоны, снижая таким образом производительность котла.
В котле нет регулирования системы разрежения в топке.
Не обеспечено предотвращение деформации стенок водяной рубашки под давлением воды.
При увеличении мощности котла увеличивается расчетный объем воды в водяной рубашке, которую нужно разогреть, что ведет к увеличению расхода топлива и уменьшению производительности котла.
Известно устройство «Отопительный котел» (см. патент №2122688 С1, дата публикации 27.11.1998, МПК 6 F24H 1/00, заявка №96113930/06 от 05.07.1996).
Котел содержит корпус в виде водяной рубашки, обрамляющей топку и газоход, снабженный полыми перегородками, сообщенными с полостью рубашки и образующими в газоходе лабиринтный газовый канал, внизу установлена полость, образующая с теплоносительным контуром замкнутый объемный контур теплоносительной среды.
Перегородки – поверхности нагрева выполнены в виде плоских полых теплообменных элементов в количестве 2-4, установленных горизонтально и диаметрально противоположно на разновысотных уровнях с перекрытием друг друга в топочном пространстве, и соединены с контуром теплоносительной среды.
Водяная рубашки корпуса может быть выполнена в виде цилиндра, а теплообменные элементы в виде сегментов с продольными каналами и в виде прямоугольного параллелепипеда, а нагреваемые теплообменные элементы – прямоугольной формы с продольными каналами.
Патрубок входа воды в котел расположен внизу котла, патрубок выхода – вверху котла.
Недостатками этого отопительного котла являются следующие.
Большой объем воды в системе, который определяется расстоянием между стенками водяной рубашки (толщина водяной рубашки). Это затрудняет разогрев системы и понижает производительность котла.
Образуются мертвые зоны при движении вверх газов горения топлива из-за большого расстояния от полых перегородок до стенок водяной рубашки.
Форма поверхностей нагрева в виде плоских полых элементов не позволяет повышать скорость движения газов сгорания топлива в лабиринтном газовом канале.
При нечетном количестве нагревательных элементов появляются мертвые зоны на противоположной стенке котла, что понижает кпд котла, а газы в верхней точке отходят свободно в дымоход.
В котле нет регулирования разрежения в топке.
Не обеспечено предотвращение деформации стенок водяной рубашки под давлением воды.
Известно устройство «Водогрейный чугунный универсальный котел» (см. патент №2149320 С1, дата публикации 20.05.2000, МПК 7 F24H 1/08, заявка №98106201/06 от 31.03.1998).
Котел может работать на твердом топливе и на газе, для чего предусмотрены прямоугольные отверстия с дверками для установки соответствующих устройств.
Котел содержит топку круглого сечения с переходом в верхней части на квадратную водогрейную секцию с двойными стенками, установленную на квадратной поверхности топки, при этом над ней и под ней размещены соответственно нижняя и верхняя секции с двойными стенками, имеющие квадратное сечение. Двойные стенки нижней секции соединены с водяным каналом топки.
В каждой секции выполнены по две пустотелые перегородки в двух противоположных направлениях с пространствами между теплообменными поверхностями перегородок и смещениями в противоположные стороны между собой, причем освободившиеся пространства от смещения перегородок образуют зигзагообразный проход для газов.
Секции снабжены люками для чистки поверхностей перегородок, а нижняя верхняя и верхняя водогрейные секции снабжены патрубками с дроссельными заслонками для соединения с дымоходом.
Материалом, из которого изготовлен котел, является чугун.
Недостатками водогрейного чугунного универсального котла являются следующие.
Водогрейный чугунный универсальный котел изготовлен из отдельных чугунных секций, что осложняет сборку, ремонт.
Работа котла строится на ступенчатом разогревании секций, начиная с нижней секции.
Форма поверхностей нагрева в виде плоских полых элементов не позволяет повышать скорость движения газов сгорания топлива в зигзагообразном газовом канале.
Сложное управление созданием тяги в котле благодаря наличию нескольких заслонок для соединения с дымоходом, которые регулируются вручную.
Чугун – материал, из которого изготовлен котел, имеет теплоотдачу в несколько раз меньше стали, что увеличивает расход топлива. Чугун разрушается при резких перепадах температур.
При обнаружении течи в чугунных секциях нужно их полностью заменять, так как нельзя использовать сварку.
Известно устройство «Отопительный котел» (см. патент на изобретение №2285208 С1, МПК F24H 1/00, дата публикации 10.10.2006, заявка №2005113412/06 от 03.05.2005).
Отопительный котел относится к комбинированным отопительным котлам для сжигания твердого, жидкого и газообразного топлива.
Отопительный котел содержит корпус в виде водяной рубашки с теплоносителем, обрамляющей топку с колосниками, и лабиринтный дымоход, в корпусе выполнены загрузочные, разгрузочные окна и зольник.
Котел снабжен системой поддержания разрежения в топливном тракте, содержащей устройство измерения разрежения в топке, связанное с исполнительным механизмом, взаимодействующим через систему рычагов с заслонкой, установленной в дымоходе.
Система наддува выполнена в виде вентилятора, связанного с боковой стенкой зольника.
Для удобства обслуживания окна выполнены на передней стенке котла в местах перегиба дымоходов.
Недостатками «Отопительного котла» являются следующие.
Сложная для изготовления конструкция отопительного котла, общий лабиринтный дымоход которого выполнен с перегородкой, разделяющей по теплоносителю котел и экономайзер.
Система водяной рубашки котла заполнена большим объемом воды, что затрудняет быстрое прогревание системы.
Не обеспечено предотвращение деформации стенок водяной рубашки под давлением воды.
Дымоход, выполненный в виде плоской трубы с зигзагообразным ходом, всегда направленным по восходящей, имеет неравномерно распределенные неодинаковые размеры трубы для движения продуктов сгорания топлива.
Полые перегородки, образующие зигзагообразный ход, имеют в сечении форму треугольника, что уменьшает поверхность нагрева, снижается производительность котла, а также происходит неравномерность прогрева, способствующая парообразованию в выступающих частях.
Полые перегородки соединены с водяной рубашкой только с одной стороны, что не позволяет циркулировать теплоносителю, происходит его застаивание.
Системы поддержания разрежения отопительного котла и наддува имеют сложное, громоздкое устройство, работают отдельно, снабжены дополнительным оборудованием.
Не обеспечено предотвращение деформации стенок водяной рубашки под давлением воды.
Наиболее близким аналогом, принятым за прототип, является техническое решение, описанное в патенте SU №1733867, F24H 1/40, 15.05.1992, в котором описан водогрейный котел, содержащий топку, зольник, обрамляющий их корпус в виде водяной рубашки, внутренняя стенка которой соединена с полыми водяными перегородками, образующими зигзагообразный газовый канал, систему создания разрежения в топке котла, подвод сетевой воды внизу, вывод горячей воды вверху, в корпусе выполнены окна, причем каждая из перегородок соединена с водяной рубашкой котла с трех сторон.
Задачами, на которые направлено изобретение, являются следующие.
Повышение производительности водогрейного котла, экономия топлива, улучшение удобства и простоты обслуживания, увеличение межремонтного срока и общего срока работы котла.
Предложен водогрейный котел, содержащий топку, зольник, обрамляющий их корпус в виде водяной рубашки, внутренняя стенка которой соединена с полыми водяными перегородками, образующими зигзагообразный газовый канал, систему создания разрежения в топке котла, подвод сетевой воды внизу, вывод горячей воды вверху, в корпусе выполнены окна, причем каждая из перегородок соединена с водяной рубашкой с трех сторон,
отличающийся тем, что
корпус котла снабжен внешней водяной рубашкой, стенками которой являются наружная, выполненная в форме цилиндра, усеченного по хорде с лицевой стороны, и внутренняя, выполненная в форме параллелепипеда, одновременно внешняя стенка внутренней водяной рубашки,
между стенками внешней водяной рубашки котла на боковых стенках внутренней водяной рубашки на одинаковом расстоянии закреплены металлические перегородки, которые расположены с двух сторон на определенном расстоянии от днища котла, не менее 30 мм, образуя щель,
отсеченное перегородками пространство котла закрыто сверху металлическими листами, через которые в центре подведены нагнетательные металлические трубки для горячей воды от патрубка с помощью насоса, установленного на верхней крышке котла,
нагнетательные металлические трубки для подвода горячей воды опускаются не менее чем на 2/3 высоты перегородки (Н- высота перегородки),
полые водяные перегородки расположены на одинаковом расстоянии между полыми водяными перегородками и внутренней стенкой водяной рубашки, а также между полыми водяными перегородками,
внутренняя водяная рубашка котла и полые водяные перегородки выполнены с одинаковыми расстояниями между стенками для заполнения водой, т.е. внутренняя водяная рубашка котла и полые водяные перегородки имеют одинаковую толщину,
во внешней водяной рубашке расстояние между внутренней стенкой и перегородкой равно толщине внутренней водяной рубашки, а расстояние между верхней стенкой внутренней водяной рубашки и общей крышкой котла больше ее не менее чем в два раза,
водяные контуры имеют длину, которая не менее чем в 3,5 раза больше расстояния между полой водяной перегородкой и водяной рубашкой котла, ее внутренней стенкой,
полые водяные перегородки выполнены с горизонтальной нижней стенкой и верхней стенкой, расположенной под углом не менее 3° к горизонтали,
система создания разрежения в топке котла выполнена с помощью терморегулятора, соединенного через рычаг и, например, цепочку с воздушной заслонкой на дверке топки, которые в соответствии с заданной температурой в переделах от 40 до 115°С автоматически регулируют тягу в топке котла, открывая воздушную заслонку,
зигзагообразный газовый канал котла (газоход) соединен с дымоходом через установленный на задней стенке котла конфузор, который большей стороной присоединен к котлу, а меньшей – к дымоходу, при этом угол сужения составляет не менее 15°,
на верхней крышке котла равномерно установлены стяжки.
Предлагаемое изобретение позволяет повысить производительность водогрейного котла, удобство и простоту обслуживания, увеличить межремонтный срок и общий срок работы котла, достичь экономии топлива.
Поставленные задачи достигнуты по нескольким направлениям.
Повышение производительности котла достигается
оптимальным количеством теплоносителя в водяной рубашке и контурах котла для экономичной работы котла,
наличие внешней водяной рубашки позволяет повысить производительность котла благодаря использованию горячей воды, поступающей через образованную металлическими перегородками щель для разогрева внутренней водяной рубашки, что экономит также топливо,
увеличение теплообмена на поверхностях полых водяных перегородок благодаря их расположению, при котором отсутствуют застойные зоны, равномерно прогревается теплоноситель, исключено парообразование,
равномерное распределение теплоносителя в системе водяной рубашки и полых водяных перегородок, имеющих везде одинаковое расстояние между стенками, а также между перегородкой и внутренней стенкой водяной рубашки, что позволяет быстро и равномерно прогревать всю систему котла,
выполнение многоходового зигзагообразного канала таким образом, чтобы горячие газы от сгоревшего топлива равномерно обтекали водяные контуры, не образуя застойных зон,
размеры и форма полых водяных перегородок, в том числе выполнение верхней стенки перегородки под углом, обеспечивает равномерное нагревание теплоносителя, исключающее парообразование.
Экономия топлива достигается благодаря системе создания разрежения в топке котла с помощью терморегулятора, соединенного с помощью рычага и, например, цепочки с воздушной заслонкой, которые в соответствии с заданной температурой в переделах от 40 до 115°С автоматически регулирует тягу в топке котла, открывая воздушную заслонку, а также использованием конфузора, соединяющего котел и дымоход, для увеличения тяги.
Удобство и простота обслуживания достигаются использованием терморегулятора для создания заданного разрежения в топке котла, возможности работы котла по 10-12 часов без дополнительного обслуживания после загрузки топлива.
Использование плоских составных частей в котле позволяет через окна легко очищать поверхности контуров от нагара, сажи.
Увеличение межремонтного срока и общего срока работы котла благодаря системе создания разрежения в топке котла, которая работает автоматически,
цилиндрическая форма наружной стенки внешней водяной рубашки позволяет избежать деформации стенки от давления воды,
расположение, форма полых водяных перегородок, образующих зигзагообразный газоход,
установленные равномерно стяжки стенок водяной рубашки на верхней крышке котла позволяют избежать деформации от давления воды.
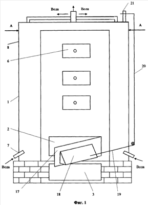
Для пояснения описываемого объекта «Водогрейный котел» приведены чертежи.
Фиг.1 – общий вид водогрейного котла (вид спереди).
Фиг.2 – вид сверху водогрейного котла.
Фиг.3 – вид спереди водогрейного котла, разрез А-А по внешней водяной рубашке.
Фиг.4 – вид сверху водогрейного котла, разрез Б-Б по внешней водяной рубашке.
Фиг.5 – разрез В-В по внутренней водяной рубашке (вид спереди).
Фиг.6 – разрез Г-Г по внутренней водяной рубашке (вид сбоку).
Предложенное устройство «Водогрейный котел» осуществляется следующим образом.
Водогрейный котел 1 содержит топку 2, зольник 3, корпус, выполненный с внешней водяной рубашкой 4 и внутренней водяной рубашкой 5, окна 6, патрубки для подвода теплоносителя (воды) 7.
Внешняя водяная рубашка 4 расположена вокруг внутренней водяной рубашки 5, обрамляющей топку 2 и газоход. Наружная стенка 8 внешней водяной рубашки 4 имеет форму цилиндра, усеченного по хорде с передней стороны, а внутренней стенкой 9 является внешняя стенка внутренней водяной рубашки 5, которая выполнена в форме параллелепипеда.
Между наружной 8 и внутренней 9 стенками внешней водяной рубашки 4 котла на одинаковом расстоянии от боковых стенок внутренней водяной рубашки 5 закреплены металлические перегородки 10, которые расположены на определенном расстоянии от днища котла, образуя с двух сторон щель высотой (h) не менее 30 мм.
Отсеченное перегородками 10 (хордами) пространство внешней водяной рубашки котла закрыто сверху металлическими листами (сегментами) 11, через которые в центре подведены нагнетательные металлические трубки 12 для подвода горячей воды от патрубка горячей воды с помощью насоса 13, установленного на общей верхней крышке котла 14. Нагнетательные металлические трубки для подвода горячей воды 12 опускаются не менее чем на 2/3 высоты перегородки (H- высота перегородки).
Внутренние стенки 15 внутренней водяной рубашки 5 соединены с полыми водяными перегородками 16, заполненными водой и расположенными таким образом, что они образуют зигзагообразный канал для прохождения газов сгорания топлива (газоход).
Внутренняя водяная рубашка 5 котла выполнена таким образом, что теплоноситель заполняет одинаковые расстояния m между внешней 9 и внутренней 15 стенками со всех сторон в соответствии с оптимальным количеством воды в котле, которое определяют для данного типа котла по его мощности.
Полые водяные перегородки 16 вмонтированы параллельно колосникам в ступенчатом порядке с противоположных сторон котла, образуя зигзагообразный газовый канал для движения горячих газов от сгоревшего топлива. Зигзагообразный газовый канал уменьшает потерю тепла с уходящими газами.
Полые водяные перегородки 16, заполненные водой, соединены с внутренней стенкой водяной рубашки 5 с трех сторон.
Полые водяные перегородки 16 выполнены с нижней пластиной, расположенной горизонтально основанию котла, и верхней пластиной, имеющей угол наклона к горизонтали, который составляет не менее >3°. Это обеспечивает быструю циркуляцию воды и исключает парообразование в контуре, что позволяет также равномерно нагревать полые водяные перегородки.
Расстояние m между внешней 9 и внутренней 15 стенками внутренней водяной рубашки котла 5 равно m1, расстоянию между верхней и нижней поверхностями полых водяных перегородок 16, то есть m=m1, а именно внутренняя водяная рубашка котла и полые водяные перегородки имеют одинаковую толщину.
Полые водяные перегородки 16 расположены таким образом, что обеспечивается равномерное прохождение нагретых газов от сгоревшего топлива по зигзагообразному газовому каналу.
Расстояние n между полыми водяными перегородками 16 одинаковое с расстоянием 1 (n=1) между внутренней стенкой 15 внутренней водяной рубашки 5 и полыми водяными перегородками 16, причем, если L – это общая длина контура, соотношение L/I составляет не менее 3,5.
Система создания разрежения в топке котла с помощью терморегулятора позволяет обеспечить регулирование сгорания топлива, что дает возможность экономить топливо и обеспечивать его более полное сгорание, а также поддерживать температуру теплоносителя в заданном режиме.
Топка 2 закрывается дверкой 17, снабженной устройством регулирования подачи воздуха, включающим воздушную заслонку 18 с рычагом 19 с закрепленной неподвижно цепочкой 20, соединенной с терморегулятором 21, для осуществления автоматического управления подачей воздуха в котел.
Терморегулятор 21 соединен, например, цепочкой 20 с рычагом 19 воздушной заслонки 18. В соответствии с заданной температурой в переделах от 40 до 115°С терморегулятор 21 посредством рычага 19 и цепочки 20 открывает воздушную заслонку 18, автоматически регулируя таким образом тягу в котле.
Для отвода газов сгоревшего топлива, увеличения тяги в котле и обеспечения полного выхода отработанных газов зигзагообразный газовый канал соединен с дымоходом через установленный на задней стенке котла конфузор 22, который большей стороной присоединен к котлу, а меньшей к дымоходу, при этом угол сужения составляет не менее 15°.
Для избежания деформации от давления воды на верхней крышке котла равномерно установлены стяжки 23 и жестко закреплены, например, сваркой.
Подвод сетевой воды внизу осуществляется через патрубки 7, отвод горячей воды – через патрубок 24 в верхней части котла, что обеспечивает интенсивную циркуляцию при обычной работе и при использовании принудительной циркуляции с помощью насоса.
Предложенный водогрейный котел работает следующим образом.
В водогрейном котле 1 топливные газы, которые образуются при сгорании твердого топлива в топке 2 на колосниковой решетке, движутся вверх по зигзагообразному газовому каналу, образованному полыми водяными перегородками 16.
Топливо сгорает на колосниковой решетке. Топку 2 закрывают при горении дверкой 17, снабженной воздушной заслонкой 18 и рычагом 19.
Подача воздуха автоматически регулируется терморегулятором 21 в соответствии с заданной температурой в переделах от 40 до 115°С открыванием воздушной заслонки через рычаг 19 и цепочку 20.
Нагретые топливные газы поднимаются вверх по зигзагообразному газовому каналу, равномерно обтекая полые водяные перегородки 16, и выходят в дымоход через конфузор 22. При этом не образуется застойных зон и не происходит образование пара по всей поверхности перегородок.
Сетевая вода подается через патрубки 7 внизу, а горячая вода выводится через патрубок 24 вверху котла с температурой не более 115°С к потребителям.
Работа внешней водяной рубашки 4 водогрейного котла заключается в следующем. От потребителя вода поступает с температурой не более 45°С внизу через патрубки 7 водяной рубашки котла с двух сторон, перемешивается с горячей водой, поступающей по нагнетательному трубопроводу 12 от насоса 13 и через щель, образованную с двух сторон перегородками 10 и днищем котла, подается между перегородкой 10 и внешней стенкой 9 внутренней водяной рубашки с температурой не менее 85°С, быстро прогревая воду во внутренней водяной рубашке 5.
Очистка золы с поверхностей водяных контуров выполняется периодически во время ремонтов с помощью скребков через окна 6.
Можно привести конкретный пример работы водогрейного котла. В котельной Дома культуры села Мысовка Славского района Калининградской области установлен и работает опытный образец водогрейного котла.
Таким образом, предлагаемое изобретение «Водогрейный котел» позволяет повысить производительность водогрейного котла, повысить экономию топлива, улучшить удобство и простоту обслуживания, увеличить межремонтный срок и общий срок работы котла,
Способ изготовления водогрейного котла.
Изобретение предназначено для изготовления водогрейных котлов.
Известен способ изготовления водогрейного котла (см. патент на изобретение №2267715 С1, МПК F24H 1/12, дата публикации 10.01.2006, заявка №2004116398/06 от 02.06.2004).
Способ изготовления котла трубчатого типа заключается в заготовке труб, заготовке экранов методом сварки, сборке из экранов методом сварки конвективной и топочной частей. Собирают перепускные блоки из коротких труб и затем собирают перепускные блоки, из которых дальше собирают экраны и полностью котел.
Таким образом, способ изготовления водогрейного котла состоит из заготовки деталей, сборки блоков, экранов всего водогрейного котла из блоков.
Приведенный способ изготовления водогрейного котла относится к котлам трубчатого типа, имеет большое количество деталей (труб), сложный процесс сборки и нетехнологичное изготовление. Данный водогрейный котел является очень далеким аналогом.
Задачей создаваемого изобретения является упрощение изготовления конструкции водогрейного котла, повышение технологичности, уменьшение материалоемкости.
Указанный технический результат достигается благодаря тому, что для изготовления водогрейного котла заготавливают плоские детали из стальных металлических листов расчетной толщины, собирают полые водяные перегородки, к ним прикрепляют сначала стенки внутренней водяной рубашки, затем внешней водяной рубашки.
Сборка начинается с полых водяных перегородок, к которым затем постепенно присоединяют остальные детали до получения полной конструкции котла.
Соединение плоских деталей выполняют путем сварки в горизонтальном положении.
Предложен способ изготовления водогрейного котла, заключающийся в заготовке деталей, блоков и затем сборке котла,
отличается тем, что
заготавливают плоские детали из стальных листов расчетной толщины для изготовления всего котла,
на плоских деталях вырезают посадочные места и отверстия,
затем собирают полые водяные перегородки, которые являются основой для сборки всего котла, так как к ним затем присоединяют и жестко закрепляют постепенно все остальные детали до получения полной конструкции котла,
соединение плоских деталей выполняют путем сварки в горизонтальном положении.
Изготовление водогрейного котла осуществляется следующим образом.
Способ изготовления водогрейного котла заключается в заготовке всех плоских деталей из стальных листов расчетной толщины, причем заготавливают много взаимозаменяемых деталей благодаря конструктивным особенностям устройства котла.
На плоских деталях боковых стенок 15 внутренней водяной рубашки вырезают посадочные места для полых водяных перегородок 16.
На плоских деталях лицевой внешней стенки водяной камеры вырезают отверстия для окон 6, топки 2 и зольника 3.
Собирают полые водяные перегородки 16 из заготовленных плоских деталей.
Затем ведут сборку стенки 15 внутренней водяной рубашки. Для этого в посадочные места, вырезанные в боковых стенках внутренней водяной рубашки, вставляют полые водяные перегородки 16 и закрепляют сначала в одной, затем во второй боковой стенках 15. К ним присоединяют переднюю и заднюю стенки внутренней водяной рубашки 5. Таким образом, собран корпус внутренней водяной рубашки 5 в форме параллелепипеда с газоходным каналом внутри.
Все соединения плоских деталей выполняют жестко, при помощи сварки, в удобном горизонтальном положении.
Затем собирают внешнюю стенку 9 внутренней водяной рубашки из заготовленных плоских деталей.
На передней стенке вставляют окна 6 для обслуживания и чистки котла.
После сборки внутренней водяной рубашки с газоходом из заготовленных сегментов приваривают днище котла.
На внешние боковые стенки внутренней водяной рубашки крепят на определенном одинаковом расстоянии перегородки 10 из металлических листов при помощи кругов (прутков), при этом металлические перегородки образуют с двух сторон котла щель с днищем высотой не менее 30 мм.
Затем изготавливают из металлических листов корпус наружной стенки 8 внешней водяной рубашки 4 котла при помощи вальцов, придавая ей цилиндрическую форму.
Устанавливают внешнюю рубашку цилиндрической формы наружной стенки 8 на днище котла, затем соединяют рубашку и днище с помощью сварки.
Из подготовленных сегментов 11 закрывают верхнюю часть котла от перегородки до внешней цилиндрической рубашки с помощью сварки.
Из подготовленного сегмента закрывают верхнюю часть котла и на верхней крышке котла равномерно устанавливают стяжки 23.
Вваривают патрубок вывода горячей воды 24 в крышке котла.
К патрубку присоединяют насос 13 и нагнетательные трубки подвода горячей воды 12, которые вводятся в боковые емкости котла, образованные металлическими перегородками 10 и наружной стенкой 8 внешней водяной рубашки котла, при этом нагнетательные металлические трубки опускают не менее чем на 2/3 высоты перегородок 10.
К задней стенке котла присоединяют конфузор 22, который большей стороной присоединен к котлу, а меньшей к дымоходу, при этом угол сужения составляет не менее 15°.
Таким образом, способ изготовления водогрейного котла позволяет упростить изготовление, достичь высокой технологичности и уменьшить материалоемкость.
Формула изобретения
1. Водогрейный котел содержит топку, зольник, обрамляющий их корпус в виде водяной рубашки, внутренняя стенка которой соединена с полыми водяными перегородками, образующими зигзагообразный газовый канал, каждая из которых соединена с водяной рубашкой котла с трех сторон, систему создания разряжения в топке котла, подвод сетевой воды внизу, вывод горячей воды вверху, при этом в корпусе выполнены окна, отличающийся тем, что упомянутая водяная рубашка является внутренней, а корпус котла снабжен внешней водяной рубашкой с наружной стенкой в форме цилиндра, усеченного по хорде с лицевой стороны и с внутренней стенкой в форме параллелепипеда, выполняющей одновременно роль внешней стенки внутренней водяной рубашки, между стенками внешней водяной рубашки котла на одинаковом расстоянии от боковых стенок внутренней водяной рубашки закреплены металлические перегородки, причем в пространство котла, отсеченное перегородками, подведены нагнетательные металлические трубки для подачи горячей воды от патрубка горячей воды с помощью насоса, установленного на верхней крышке котла, полые водяные перегородки расположены на одинаковом расстоянии между собой и внутренней стенкой внутренней водяной рубашки, внутренняя водяная рубашка котла и полые водяные перегородки имеют одинаковую толщину, при этом во внешней водяной рубашке расстояние между внутренней стенкой и перегородкой равно толщине внутренней водяной рубашки, а расстояние между верхней стенкой внутренней водяной рубашки и общей крышкой котла больше нее не менее чем в 2 раза, полые водяные перегородки выполнены с горизонтальной нижней стенкой и с верхней стенкой, расположенной под углом не менее 3° к горизонтали и имеют длину, которая больше не менее чем в 3,5 раза расстояния между полой водяной перегородкой и внутренней стенкой внутренней водяной рубашки котла, система создания разрежения в топке котла включает терморегулятор, соединенный с воздушной заслонкой на дверке топки, зигзагообразный газовый канал котла соединен с дымоходом через конфузор, который большей стороной присоединен к задней стенке котла, а меньшей к дымоходу, при этом на верхней крышке котла равномерно установлены стяжки.
2. Водогрейный котел по п.1, отличающийся тем, что металлические перегородки образуют с двух сторон котла щель с днищем котла высотой не менее 30 мм.
3. Водогрейный котел по п.1, отличающийся тем, что нагнетательные металлические трубки для горячей воды подведены в центре закрытого металлическими листами пространства внешней водяной рубашки, отсеченного перегородкой.
4. Водогрейный котел по п.1, отличающийся тем, что нагнетательные металлические трубки для подвода горячей воды опускаются не менее чем на 2/3 высоты перегородки.
5. Водогрейный котел по п.1, отличающийся тем, что угол сужения конфузора составляет не менее 15°.
6. Водогрейный котел по п.1, отличающийся тем, что терморегулятор соединен с воздушной заслонкой на дверке топки про помощи рычага и, например, цепочки.
7. Способ изготовления водогрейного котла, заключающийся в заготовке деталей, блоков и затем сборке котла, отличающийся тем, что заготавливают плоские детали из стальных листов расчетной толщины для изготовления всего котла, на плоских деталях вырезают посадочные места и отверстия, затем собирают полые водяные перегородки, которые являются основой для сборки всего котла, так как к ним затем присоединяют и жестко закрепляют постепенно все остальные детали до получения полной конструкции котла, соединение плоских деталей выполняют путем сварки в горизонтальном положении.
РИСУНКИ
HE4A – Изменение адреса для переписки с обладателем патента Российской Федерации на изобретение
Новый адрес для переписки с патентообладателем:
238751, Калининградская обл., г.Советск, ул.Водников, 15, В.Н.Капитонову
Извещение опубликовано: 27.04.2010 БИ: 12/2010
|