|
|
(21), (22) Заявка: 2006120445/06, 11.11.2004
(24) Дата начала отсчета срока действия патента:
11.11.2004
(30) Конвенционный приоритет:
11.11.2003 FI 20035203
(43) Дата публикации заявки: 20.01.2008
(46) Опубликовано: 10.02.2009
(56) Список документов, цитированных в отчете о поиске:
US 4038912 A, 02.07.1977. SU 1813998 A1, 07.05.1993. SU 314044 A, 01.01.1971. US 5292353 A, 08.03.1994. US 4235220 A, 25.11.1980. EP 4036994 A, 19.07.1977.
(85) Дата перевода заявки PCT на национальную фазу:
13.06.2006
(86) Заявка PCT:
FI 2004/050161 (11.11.2004)
(87) Публикация PCT:
WO 2005/045323 (19.05.2005)
Адрес для переписки:
129090, Москва, ул. Б.Спасская, 25, стр. 3, ООО “Юридическая фирма Городисский и Партнеры”, пат.пов. С.А.Дорофееву
|
(72) Автор(ы):
ХЕЙНОНЕН Антеро (FI)
(73) Патентообладатель(и):
ИВК-ТУОТЕ ОЙ (FI)
|
(54) УСТРОЙСТВО В ВЕНТИЛЯЦИИ КУХОННОГО ОБОРУДОВАНИЯ
(57) Реферат:
Изобретение относится к вентиляции кухонного оборудования. Устройство содержит, по меньшей мере, один вытяжной колпак (10), устанавливаемый над кухонным оборудованием (11). В каждом вытяжном колпаке (10) имеется соединительный элемент (27) отходящего воздуха для соединения вытяжного колпака (10) с вытяжным воздуховодом (12), относящимся к системе вентиляции. Устройство также имеет сепаратор (15) для отделения жира от отходящего воздуха, содержит камеру (14), которая установлена после вытяжного колпака (10) и отдельно от вытяжного колпака (10), в которой установлен сепаратор (15) и которая соединена с вытяжным воздуховодом (12). Камера (14) расположена отдельно от вытяжного колпака (10) и имеет средства (17-20) для регулирования скорости, количества и/или температуры смешиваемого в камере (14) воздуха таким образом, чтобы скорость, количество и температура смешиваемого в камере (14) воздуха соответствовали значениям, нужным для контакта с сепаратором (15), устройство отличается тем, что средства (17-20) включают в себя датчик (18) температуры, установленный в камере (14) и соединенный с сепаратором (15), и также теплообменник (17), электродвигатель (19) и вентиляционную решетку (20), соединенные с соединительным элементом (25) для притока воздуха, для регулирования скорости, количества и/или температуры притока воздуха, при этом теплообменник (17), электродвигатель (19) и вентиляционная решетка (20) соединены с датчиком (18) температуры для управления ими. 9 з.п. ф-лы, 4 ил., 1 табл.
Изобретение относится к устройству в вентиляции кухонного оборудования, присоединяемому к системе вентиляции и содержащему
– по меньшей мере один вытяжной колпак, устанавливаемый над кухонным оборудованием,
– соединительный элемент для отходящего воздуха в каждом вытяжном колпаке для соединения вытяжного колпака с вытяжным воздуховодом, относящимся к системе вентиляции, и
– сепаратор для отделения жира от отходящего воздуха.
При приготовлении пищи используются, например, рапсовое, оливковое, соевое, кукурузное и подсолнечное масла. Наибольшие выделения в воздух происходят при обжаривании во фритюре, особенно при приготовлении на гриле. Например, при приготовлении гамбургеров на газовом гриле на каждые сто килограммов пищи выделяются около двух тысяч граммов испарений. И при этом в воздух выделяются около трех тысяч граммов частиц. Самые крупные частицы, выделяемые при приготовлении пищи, можно отделить механическим сепаратором. Но большой процент жира, выделяющегося в воздух при приготовлении пищи, представляет собой испарения. В связи со значительным выделением жира важно очищать вытяжной воздуховод для обеспечения пожаробезопасности. Например, в кухнях гостиниц и ресторанов, где готовятся большие количества пищи, важной проблемой является загрязнение вентиляционных каналов. Некоторая часть испарившегося жира скапливается в вытяжном воздуховоде после сепаратора, откуда его трудно удалять. Загрязнение также усугубляется наличием сепараторов и фильтров, не соответствующих применению, либо неправильно установленных или неправильно эксплуатируемых. В некоторых случаях сепаратор совсем отсутствует. На практике, в вытяжных воздуховодах обнаруживались скопления жира толщиной более 25 мм. В случае постоянной эксплуатации очитка рекомендуется трижды в год и предпочтительно чаще. В проблемных случаях вытяжные воздуховоды загрязняются еще быстрее и, кроме этого, их очистка затруднена, особенно если жир распространился на большое расстояние. Трудность повышается в тех случаях, когда вентиляционные каналы, особенно вытяжные воздуховоды, выполнены из спирально-шовных труб, из которых возможно просачивание жира на конструкции под ними.
В принципе, идеальным будет удаление жира и других частиц из отходящего воздуха, чтобы предотвращать загрязнение вентиляционных каналов. При этом повысится пожаробезопасность и снизится местное загрязнение наружного воздуха. Так, например, вытяжной колпак обычно устанавливают над кухонным оборудованием – именно для отделения жира и других примесей из отходящего воздуха. Вытяжной колпак предназначен для предотвращения попадания примесей, тепла и влаги, возникающих при приготовлении пищи, в рабочую зону. Воздух обычно выходит через сепаратор в вытяжном колпаке, который предназначен для предотвращения поступления частиц жира в вытяжной воздуховод. Кухонным оборудованием является, например, кухонная плита, фритюрница или гриль. Обычно вытяжной колпак соединяется с обычным вытяжным воздуховодом. Один известный вытяжной колпак оборудован установленным под наклоном сепаратором, через который проходит отходящий воздух. При этом сменные воздушные сопла нередко соединены с вытяжным колпаком, по которому проходит приток холодного воздуха, который также охлаждает вытяжной колпак. Приток воздуха можно также использовать для охлаждения сепаратора, который также предназначен для конденсирования жира в отходящем воздухе, и удаления жира. Сепаратор также может иметь распылитель промывочной жидкости, который используется для удаления примесей с поверхности сепаратора жира.
Известные сепараторы удаляют жир, в основном находящийся в твердом виде. Но до 60-70% выделяемого с кухонного оборудования жира выделяется в виде испарений. Жир в виде испарений проходит через сепараторы и большей частью затвердевает только тогда, когда достигнет вентиляционного канала, где он будет скапливаться. Даже если используемые в настоящее время сепараторы и могли бы удалять все частицы в твердом виде, то их возможности по сепарации жира не превышали бы 30-40% всего количества жира. Помимо этого, эффективность сепараторов согласно известному уровню техники быстро снижается с уменьшением размера частиц.
Но на практике вытяжной колпак и сепаратор явно нагреваются и тем самым не дают жиру конденсироваться, либо по крайней мере уменьшают его конденсацию. При этом загрязненный жиром воздух проходит далее в вытяжной воздуховод, где жир наконец конденсируется. На практике вытяжной воздуховод полностью загрязняется, и жир может распространяться по конструкции, и это обстоятельство значительно снижает степень пожаробезопасности. Жир также засоряет возможные устройства снижения уровня шума и может даже проходить через вентилятор на крышу здания и оттуда – в окружающую среду. Проблема дополнительно усугубляется тем, что вытяжной колпак установлен вблизи кухонного оборудования, и поэтому вытяжной колпак и сепаратор остаются постоянно горячими (60-70°С). Сепараторы согласно известному уровню техники, как правило, слишком невелики по отношению к количеству воздуха. Помимо этого, отдельный вытяжной колпак, содержащий сепаратор, нужно установить для каждого кухонного оборудования, в результате чего повысится стоимость и эксплуатационные расходы.
Изобретение также предлагает новый тип устройства в вентиляции кухонного оборудования – более простое и более эффективное по сравнению с известным уровнем техники и которое устраняет недостатки известного уровня техники. Отличительные признаки устройства согласно изобретению изложены в прилагаемой его формуле. В устройстве согласно настоящему изобретению сепаратор имеет обладающее новизной местоположение. При этом жир и частицы отделяются от отходящего воздуха более эффективно по сравнению с известным уровнем техники. Изобретение обеспечивает возможность отделения жира также и в виде испарений. Помимо возможности эффективного отделения жира от воздуха, можно использовать более простой вытяжной колпак; и это обстоятельство, помимо прочего, облегчает размещение кухонного оборудования. С другой стороны, это устройство также совместимо, в смысле его подключения, к существующим вытяжным колпакам, и поэтому проблему местоположений можно легко решить. Эффект этого устройства можно также легко повысить, при желании, чтобы создать соответствующее устройство для каждого применения.
Ниже приводится подробное описание изобретения со ссылкой на прилагаемые чертежи, показывающие некоторые его варианты воплощения, на которых:
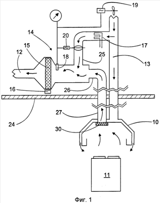
Фиг.1 – блок-схема действия устройства согласно изобретению.
Фиг.2 – сечение части устройства.
Фиг.3 – блок-схема второго осуществления устройства согласно изобретению.
Фиг.4 – блок-схема третьего осуществления устройства согласно изобретению.
Чертежи показывают блок-схемы устройства согласно изобретению в вентиляции кухонного оборудования. На практике это устройство является частью системы вентиляции, для соединения с которой оно предназначается. Система вентиляции имеет по меньшей мере один вытяжной воздуховод с соответствующим оборудованием для создания достаточного потока воздуха. Система вентиляции может также включать в себя механическую подачу притока воздуха, который можно использовать в устройстве согласно изобретению. Чертежи показывают только часть системы вентиляции, и ее конструкция может изменяться в соответствии с разными применениями.
Устройство включает в себя по меньшей мере один вытяжной колпак 10, устанавливаемый над кухонным оборудованием 11. Вытяжной колпак используется, помимо прочего, для предотвращения распространения выделений жира вокруг кухонного оборудования. Вытяжной колпак 10 имеет соединительный элемент 27 отходящего воздуха, который соединяет вытяжной колпак 10 с вытяжным воздуховодом 12, входящим в систему вентиляции. При этом в вытяжном колпаке создается непрерывное всасывающее усилие. Устройство также содержит сепаратор 15, выполненный с возможностью отделения жира от отходящего воздуха. При этом могут также отделяться и другие примеси, и поэтому из сепаратора выходит, по возможности, очищенный воздух. Для обозначения функционально аналогичных компонентов используются одни и те же ссылочные позиции.
Устройство согласно изобретению также содержит камеру 14, установленную после вытяжного колпака 10. Камера 14 выполнена отдельно от вытяжного колпака 10, и в ней установлен сепаратор 15. Камера 14 также соединена с каналом 12 вытяжного воздуховода. То есть, камера 14 является компонентом системы вентиляции между вытяжным колпаком 10 и вытяжным воздуховодом 12. Данное устройство используется для устранения ненужного нагревания сепаратора и сопровождающего его снижения эффективности отделения жира от воздуха. При необходимости отходящему воздуху придается соответствующее движение, чтобы содействовать отделению жирных испарений от воздуха. Согласно изобретению отдельная камера используется для ограничения области, в которой конденсируется жир. За счет этого технического решения исключается загрязнение вытяжных воздуховодов. В камере можно также создать благоприятные условия для отделения жира от воздуха, и создание таковых условий на основе известного уровня техники было трудным и нередко невозможным.
Камера 14 согласно настоящему изобретению является удлиненной конструкцией, в конце которой установлен сепаратор 15. За счет этого обеспечивается возможность увеличения времени, уходящего на отделение жира от воздуха, без ненужных потерь давления. Камера 14 также содержит соединительный элемент 26, который выводит отходящий воздух из вытяжного колпака 10 в камеру 14. На практике этот соединительный элемент соединен с той частью вытяжного воздуховода, которая выходит из вытяжного колпака. Согласно изобретению этот соединительный элемент выполнен на конце камеры 14, противоположном сепаратору 15. Использование этого устройства обеспечивает наиболее эффективную эксплуатацию всей длины камеры 14. Согласно фиг.1 камера 14 установлена под потолком 24. Причем расстояние между вытяжным колпаком 10 и камерой 14 может изменяться в разных применениях.
Обычно вытяжной колпак устанавливается на потолке над кухонным оборудованием. Удлиненную камеру согласно изобретению можно удобным образом установить ее продольной осью по существу горизонтально. За счет этого сократится пространство, требуемое для установки в вертикальном направлении, и облегчится удаление жира. При этом горизонтальность камеры будет легко обеспечиваться.
В некоторых случаях жир отделяют только с помощью сепаратора, установленного в камере. Для гарантирования отделения жира, т.е. для повышения эффективности устройства, соединительный элемент 25 для притока воздуха можно подключить к камере 14. Соединительный элемент 25 для притока воздуха соединен, например, с каналом 13 притока воздуха, относящимся к системе вентиляции, чтобы осуществить приток воздуха к камере 14. Используя приток воздуха, можно легко снизить температуру отходящего воздуха, и это обстоятельство в еще большей степени повысит эффективность сепаратора и будет содействовать формированию капель испарившегося жира. Если ему придать соответствующее направление, то поток притока воздуха будет благоприятно изменять поток отходящего воздуха в камере, и это в свою очередь ускорит конденсацию жира. Фиг.2-4 показывают распределительный канал 23, относящийся к камере 14 и через который приток воздуха подается в отходящий воздух. Стрелки показывают течение притока воздуха из распределительного канала 23. Фиг.2 также показывает элементы 21 сопла, соединенные с распределительным каналом 23, в результате чего приток воздуха может, например, быть направлен и ускорен, для более эффективного смешивания. Приток воздуха можно даже подавать противотоком к потоку отходящего воздуха (Фиг.3 и 4).
Вместо вытяжного воздуховода можно использовать отдельный канал, по которому в камеру будет подводиться, например, наружный воздух. При этом работа вентиляционной системы не будет нарушена, и эксплуатационные расходы останутся на возможном минимальном уровне. Согласно изобретению средства регулирования скорости, количества и/или температуры притока воздуха, нужные в камере 14, можно установить в связи с соединением 25 для притока воздуха. В этом случае упомянутые средства включают в себя теплообменник 17, датчик 18 температуры, электродвигатель 19 и вентиляционную решетку 20. При этом приток воздуха используется для формирования целесообразных завихрений в отходящем воздухе, за счет чего ускоряется охлаждение отходящего воздуха и образование капель. Можно также использовать различные являющиеся направляющими перегородками элементы 28, которые будут направлять поток. Согласно Фиг.4 являющиеся направляющими перегородками элементы 28 направляют отходящий воздух к стенкам камеры 14 уже перед сепаратором 15, и благодаря этому будет ускоряться отделение жира от воздуха. Жир, конденсирующийся на стенках и в сепараторе, будет стекать вниз под действием силы тяжести в емкости 16 для жира.
При необходимости охлаждение притока воздуха также используют при помощи соответствующего теплообменника 17. В этом случае дополнительно предусмотрен датчик 18 температуры в камере 14, на основании показаний которого количество притока воздуха регулируется изменением, например, скорости вращения электродвигателя 18 или изменением положения вентиляционной решетки 20. Прочие датчики, например, датчики расхода, можно также использовать для регулирования количества притока воздуха. Под сепаратором 15 также установлена емкость 16 для жира, в которую стекают сконденсировавшийся жир и другие примеси. Сток 29 можно также соединить с емкостью 16 для жира, и поэтому жир будет удаляться из камеры 14 автоматически (Фиг.4).
Отходящий воздух можно также охлаждать, например, с помощью водяного тумана. Для этого в камере установлены промывочные элементы 31, которые распределяют промывочную жидкость в сепаратор 15 и/или в отходящий воздух. В варианте воплощения, представленном на Фиг.4, в качестве промывочной жидкости используется вода, и промывочные элементы предпочтительно расположены отдельно перед самой камерой. То есть, имеется возможность модифицировать промывочные элементы для камеры. Например, водяной туман эффективно связывает испарившийся жир и одновременно снижает температуру отходящего воздуха. В вариантах воплощения согласно Фиг.3 и 4 в вытяжном колпаке 10 установлен предварительный сепаратор 30, используемый для удаления крупных частиц из отходящего воздуха.
Размер камеры выбирается под конкретное применение, и разные возможности повышения кпд отделения жира от воздуха описываются выше. Ширина камеры обычно в 1,1-2,0 и предпочтительно в 1,2-1,8 раза превышает ширину соединения. Поэтому ширина камеры предпочтительно больше диаметра вытяжного воздуховода, и в этом случае скорость воздуха снизится по достижении им камеры, вследствие чего облегчится конденсация. Скорость можно снизить в еще большей степени, сделав камеру расширяющейся. Например, скорость потока воздуха на выходе из вытяжного колпака может составлять 8 м/с. При помощи камеры в соответствии с настоящим изобретением скорость можно снизить, например до 3-4 м/с. Камеру можно также установить в нескольких местах (Фиг.2 и 4). За счет этого облегчится установка и техобслуживание камеры. На практике, камера, более широкая, чем вентиляционный канал, формирует камеру смешивания, в которой отходящий воздух и приток воздуха эффективно смешиваются для отделения жира от воздуха. Прочие способы придания определенной формы камере своим результатом будут иметь снижение скорости воздуха с улучшением эффективности отделения жира от воздуха.
Для смешивания потоков воздуха и снижения скорости потока требуется некоторое время. Так, длина камеры согласно изобретению в 2-6 раз, предпочтительно в 3-5 раз превышает ее ширину. Размеры камеры при этом будут оставаться приемлемыми и одновременно обеспечивать достаточный эффект отделения жира от воздуха. Например, длина камеры согласно изобретению, соединенной с вытяжным воздуховодом диаметром в 200-300 мм, составит около 2000 мм. Соответственно, высота камеры будет около 600 мм и ширина – около 800 мм. На практике размеры камеры в основном соответствуют вытяжному воздуховоду. Ширину и длину камеры можно предпочтительно изменять. При этом высота камеры останется достаточно небольшой, с точки зрения монтирования. Достаточное время задержки можно также обеспечить, если объем камеры 14 будет составлять по меньшей мере 10% расхода потока отходящего воздуха.
Камера предпочтительно выполнена в виде сделанной из листового материала коробки, которая имеет небольшой вес и которую легко установить. Также к такой выполненной из листового материала коробке легко прикрепляется распределительный канал. Эту камеру можно легко открыть и удалить сепаратор для очистки. Фиг.2 показывает готовую для установки камеру, которая полностью покрыта изоляцией 22. С одной камерой можно соединить несколько вытяжных колпаков, но камеру также можно установить для каждого вытяжного колпака и кухонного оборудования. Размер камеры будет при этом оставаться приемлемым, и ее работу можно согласовать с данным кухонным оборудованием.
Объединение молекул пара в среде на поверхности уже существующей частицы называется конденсацией. Например, конденсация ускоряется посредством снижения температуры и распыления воды. Частицы могут также прилипать к разным поверхностям и таким образом отделяться от самой группы частиц, и это явление называется осаждением. На практике, при конденсации наиболее значительная часть массы превращается из газообразной фазы в фазу частиц, даже если значительная часть жира и, в частности, частицы также прилипают к стенкам камеры. Например, средний размер капель растительного масла составляет 30-100 нм.
На практике, исходящий от кухонного оборудования пар содержит не только жир, но также и другие соединения, как то полициклические ароматические углеводороды, ароматические амины и нитросоединения. То есть, особенно при обжаривании, в воздухе появляются вредные и канцерогенные соединения. Поэтому надлежащим образом работающие вытяжной колпак и сепаратор также очень важны для здоровья работников кухни. Согласно изобретению термин «жир» относится к веществу, возникающему при приготовлении пищи и уходящему вместе с отходящим воздухом.
Применение камеры согласно настоящему изобретению обеспечивает эффективную конденсацию, при которой выделения испарившегося жира большей частью отделяются от отходящего воздуха и улавливаются регулированно. При этом предотвращается загрязнение вытяжного воздуховода, в результате чего снижаются риски и затраты, связанные с таким загрязнением. Причем влияние действия этой камеры можно регулировать, и для этой цели можно выбрать приемлемую комбинацию. С точки зрения отделения жира от воздуха, кухонное оборудование является трудным объектом в связи с тем, что оно выделяет большое количество тепла. С другой стороны, теплый отходящий воздух тоже можно использовать – прежде всего при условии его достаточной очистки – при помощи излагаемой выше системы. После камеры можно даже установить теплообменник в вытяжном воздуховоде, чтобы можно было, в отличие от известных технических решений, использовать тепловую энергию отходящего воздуха.
Приводимая ниже таблица показывает совокупность разных явлений, происходящих при обработке воздуха и влияющих на содержание частиц и на степень отделения частиц в системе согласно настоящему изобретению. Каждый вид обработки представлен отдельно из числа пяти разных явлений. Каждое явление помечено как + или -, чтобы показать эффект данной обработки в отношении данного явления. Если эффект отделения частиц положительный, то используется знак +. Таблица наглядно показывает, что помимо охлаждения особенно смешивание и увлажнение целесообразно влияют на отделение частиц. Эти способы обработки выполняются в системе согласно изобретению. Благодаря применению камеры воздух можно смешивать с отходящим воздухом для снижения температуры. Увлажнение можно использовать для последующего понижения температуры, при этом также повышая степень отделения частиц.
| Обработка воздуха |
Зародышеобразование = формирование частиц из насыщенного пара, размер 0,0004-1 мкм |
Конденсация = объединение молекул пара на поверхностях, размер 0,08-2 мкм |
Испарение = молекулы пара, испарившиеся с поверхностей, размер 0,08-2 мкм |
Осаждение = удаление частиц из группы частиц поверхностями соприкасания >1 мкм |
Коагуляция = частицы сталкиваются друг с другом и создают более крупные частицы, размер 0,08-2 мкм |
| Нагревание |
+ |
– |
+ |
– |
+ |
| усиливает движение, особенно мелких частиц, повышая зародышеобразование |
уменьшает объединение воды и испарений жира на поверхностях частиц |
при контакте воздуха с теплой поверхностью испарившиеся соединения перемещаются от нагревателя с потоком воздуха |
с уменьшением крупных частиц снижается осаждение на поверхностях |
усиливает движение, особенно мелких частиц, в результате чего повышается эффективность коагуляции |
| Охлаждение |
– |
+ |
– |
+ |
– |
| снижает движение, особенно мелких частиц, ослабляя зародышеобразование |
усиливает объединение воды и испарений жира на поверхностях частиц |
испарение незначительное |
с увеличением крупных частиц возрастает осаждение на поверхностях |
снижает движение, особенно мелких частиц, ослабляя коагуляцию |
| Увлажнение |
+ |
+ |
_ |
+ |
+ |
| с ростом числа молекул пара увеличивается зародышеобразование |
частицы увеличиваются с объединением воды на их поверхности > соединения газовой фазы переходят в фазу частиц |
при увлажнении частицы растут быстрее, чем соединения испаряются с их поверхности |
с увеличением крупных частиц осаждение на поверхностях увеличивается. Влажное осаждение частиц с помощью частиц увлажнителя |
вода (частицы) увеличивает коагуляцию за счет увеличения «содержания частиц» |
| Высушивание |
_ |
_ |
+ |
– |
– |
| с уменьшением числа молекул воды зародышеобразование ослабляется |
во время высушивания размер частиц уменьшается в большей степени, чем скапливается масса на поверхности частиц |
при высушивании воздуха вода и органические углеродные в виде пара соединения испаряются с поверхности частиц > новые центры зародышеобразования для конденсации |
с уменьшением крупных частиц уменьшается осаждение на поверхностях |
высушивание уменьшает содержание воды (частиц) и снижает коагуляцию |
| Смешивание |
+ |
+ |
+ |
+ |
+ |
| смешивание увеличивает однородное зародышеобразование молекул воды и жира |
эффективное смешивание теплого и холодного воздуха увеличивает конденсацию |
смешивание повышает число соединений, испаряющихся с поверхностей частиц |
смешивание увеличивает осаждение частиц на поверхностях и отделяет частицы с поверхностей |
смешивание увеличивает коагуляцию частиц разных размеров |
| Разбавление |
– |
– |
+ |
– |
– |
| зародышеобразование уменьшается с уменьшением содержания, и расход потока возрастает |
конденсация снижается с уменьшением содержания, и расход потока возрастает |
с увеличением расхода потока увеличивается испарение с поверхности частиц |
с уменьшением конденсации и коагуляции и с увеличением испарения уменьшается размер частиц и осаждение уменьшается |
коагуляция уменьшается с уменьшением содержания, и расход потока возрастает |
| Отделение жира |
+ |
+ |
– |
+ |
+ |
| жир и пары воды увеличивают зародышеобразование |
важно при удалении паров жира: механическое отделение в известном уровне техники неудовлетворительное |
испарение снижается с постоянным накоплением примесей на поверхностях частиц |
некоторые частицы жира отделяются от воздуха при контакте с поверхностями устройства |
при столкновении частиц друг с другом содержание жира в фильтруемом воздухе уменьшается |
Формула изобретения
1. Устройство в вентиляции кухонного оборудования, присоединяемое к вентиляционной системе и содержащее по меньшей мере один вытяжной колпак (10), устанавливаемый над кухонным оборудованием (11), соединительный элемент (27) отходящего воздуха в каждом вытяжном колпаке (10) для соединения вытяжного колпака (10) с вытяжным воздуховодом (12), относящимся к вентиляционной системе, сепаратор (15) для отделения жира от отходящего воздуха, камеру (14), установленную после вытяжного колпака (10), в которой установлен сепаратор (15) и которая соединена с вытяжным воздуховодом (12), причем камера (14) включает в себя соединительный элемент (26) для выведения отходящего воздуха из вытяжного колпака (10) в камеру (14), и соединительный элемент (25) для притока воздуха в камере (14) для введения притока воздуха в камеру (14) и, таким образом, для использования притока воздуха для изменения температуры и/или потока отходящего воздуха, причем в упомянутом устройстве камера (14) расположена отдельно от вытяжного колпака (10) и имеет средства (17-20) для регулирования скорости, количества и/или температуры смешиваемого в камере (14) воздуха таким образом, чтобы скорость, количество и температура смешиваемого в камере (14) воздуха соответствовали значениям, нужным для контакта с сепаратором (15), отличающееся тем, что средства (17-20) включают в себя датчик (18) температуры, установленный в камере (14) и соединенный с сепаратором (15), и также теплообменник (17), электродвигатель (19) и вентиляционную решетку (20), соединенные с соединительным элементом (25) для притока воздуха, для регулирования скорости, количества и/или температуры притока воздуха, при этом теплообменник (17), электродвигатель (19) и вентиляционная решетка (20) соединены с датчиком (18) температуры для управления ими.
2. Устройство по п.1, отличающееся тем, что камера (14) имеет удлиненную конструкцию, и соединительный элемент (26) установлен на конце камеры (14), противоположном сепаратору (15).
3. Устройство по п.1, отличающееся тем, что в системе вентиляции камера (14) установлена по существу горизонтально относительно ее продольной оси.
4. Устройство по п.1, отличающееся тем, что для подачи притока воздуха в отходящий воздух камера (14) содержит распределительный канал (23) и соединенные с ним элементы (21) сопла.
5. Устройство по п.1, отличающееся тем, что соединительный элемент (25) притока воздуха соединен с каналом (13) притока воздуха, относящимся к системе вентиляции.
6. Устройство по п.1, отличающееся тем, что камера (14) содержит элементы (28) отклоняющей перегородки для направления потока отходящего воздуха в камеру (14).
7. Устройство по п.1, отличающееся тем, что камера (14) имеет промывочные элементы (31) для распределения промывочной жидкости в камеру (14) и/или в сепаратор (15).
8. Устройство по п.1, отличающееся тем, что ширина камеры (14) в 1,1-2,0 раза, предпочтительно в 1,2-1,8 раза, превышает ширину вытяжного воздуховода (12) для формирования камеры смешивания.
9. Устройство по п.1, отличающееся тем, что длина камеры (14) в 2-6 раз, предпочтительно в 3-5 раз, превышает ее ширину.
10. Устройство по п.1, отличающееся тем, что вместимость камеры (14) составляет, по меньшей мере, 10% от расхода отходящего воздуха.
РИСУНКИ
|
|