|
|
(21), (22) Заявка: 2007113883/03, 13.04.2007
(24) Дата начала отсчета срока действия патента:
13.04.2007
(46) Опубликовано: 10.02.2009
(56) Список документов, цитированных в отчете о поиске:
RU 2182685 С2, 20.05.2002. RU 2179687 С1, 20.02.2002. RU 2154237 C1, 10.08.2000. RU 2180079 С2, 27.02.2002. RU 15000 U1, 10.09.2000. RU 12458 U1, 10.01.2000. GB 2290858 А, 10.01.1996. ЕР 0180074 А1, 07.05.1986.
Адрес для переписки:
142432, Московская обл., Ногинский р-н, г. Черноголовка, ул.Первая, 1, кв.21, Ю.М. Колесникову
|
(72) Автор(ы):
Колесников Юрий Михайлович (RU), Колесников Геннадий Юрьевич (RU), Ковалев Сергей Анатольевич (RU), Мойзис Евгений Сергеевич (RU)
(73) Патентообладатель(и):
Колесников Юрий Михайлович (RU), Колесников Геннадий Юрьевич (RU), Ковалев Сергей Анатольевич (RU), Мойзис Евгений Сергеевич (RU)
|
(54) УСТАНОВКА И СПОСОБ ТЕРМИЧЕСКОЙ ПЕРЕРАБОТКИ ГОРЮЧИХ МАТЕРИАЛОВ И ОТХОДОВ
(57) Реферат:
Изобретение относится к способам и устройствам для сжигания горючих материалов и отходов. Технический результат: повышение эффективности сжигания и упрощение устройства для сжигания. Установка содержит корпус, в котором размещены технологически связанные между собой газопроницаемая камера сгорания твердых горючих материалов и камера догорания газообразных продуктов, патрубки подвода воздуха и отвода газообразных продуктов горения, бункер загрузки, колосниковая решетка, бункер для сбора твердых продуктов горения (золы). Камера сгорания выполнена в виде прямой полой четырехгранной призмы, которую с трех сторон окружает камера догорания. Камеры размещены в линейном порядке, разделены между собой колосниковой решеткой, двумя газопроницаемыми, перфорированными стенками с каналами и отверстиями, сообщающимися с объемами указанных камер. Две стенки корпуса выполнены с каналами, сообщающимися с объемом камеры догорания. Разделительные стенки выполнены с наклоном к оси симметрии по вертикали под углом не менее 75° и, смыкаясь внизу со стенками корпуса, образуют каналы, которые с патрубками подвода образуют узлы подвода воздуха в камеру сгорания. Другие каналы с патрубками отвода образуют узлы отвода газообразных продуктов горения из обеих камер и корпуса. Две другие газопроницаемые стенки камеры сгорания и корпуса, выполненные с каналами и отверстиями, образуют с патрубками подвода дополнительные узлы подвода воздуха в камеру сгорания. Каналы разделительных стенок с патрубками подвода образуют узлы подвода воздуха в камеру догорания. Каналы днища установки с отверстиями днища камеры догорания образуют с патрубками подвода дополнительные узлы подвода воздуха в камеру догорания. Охарактеризован способ сжигания горючих материалов или отходов в данной установке. 2 н. и 2 з.п. ф-лы, 4 ил.
Изобретение относится к экологически чистым способам и устройствам для сжигания горючих твердых материалов и отходов и может быть использовано в промышленности, коммунально-бытовом хозяйстве при переработке, обезвреживании и уничтожении твердых отходов до экологически безопасных продуктов.
Известна установка для термической переработки твердых отходов, которая включает камерную печь, состоящую из камеры сжигания с бункером для загрузки отходов и выходом для удаления зольного остатка в шлакоприемник, камеры дожигания с газоходом для вывода отходящих газов, скруббер и блок фильтрации газов с бункером-накопителем пыли. Камера сжигания сообщена с размещенной вертикальной, над ней и соосно с ней, камерой дожигания посредством отверстия, выполненного в промежуточном своде. Газоход, размещенный перпендикулярно стенке камеры дожигания, выполнен в виде щелевого рекуператора типа труба в трубе. Один конец внутренней трубы свободно входит в камеру дожигания в верхней части ее боковой стенки, другой – сообщен с камерой нейтрализации токсичных компонентов отходящих газов. Выход камеры нейтрализации соединен со входом скруббера, размещенного таким образом, что его вертикальная ось параллельна вертикальной оси печи. Бункер-накопитель сообщен со шлакоприемником, выполненным в виде плавильной печи (RU 2137044 C1, F23G 5/14, 1999.09.10).
Недостатком данного устройства является низкая степень очистки топочных газов, а направленное использование установки для утилизации медицинских отходов ограничивает ее возможности применения.
Известно устройство для сжигания горючих материалов и отходов, которое содержит корпус с патрубками подвода воздуха и отвода продуктов горения, бункер загрузки, размещенные в корпусе две камеры: камеру сгорания и камеру догорания, узел подачи воздуха и колосниковую решетку, при этом камеры сгорания и решетка размещены коаксиально друг другу, стенка камеры сгорания выполнена с отверстиями для прохождения газа, решетка выполнена с уменьшающимся к бункеру поперечным сечением (RU 2154237 C1, F23G 5/14, 2000.08.10). Устройство снабжено сепаратором, размещенным под решеткой. Патрубки подвода воздуха и отвода продуктов горения образуют теплообменник типа труба в трубе. Устройство снабжено вентилятором, установленным в патрубке отвода продуктов горения. Внутренняя камера (камера сгорания) выполнена в виде колец уменьшающегося в направлении бункера диаметра, установленных друг в друге с образованием зазоров, при этом отверстия образованы зазорами. Решетка выполнена в виде набора пластин, размещенных с зазором для прохода воздуха одна над другой и увеличивающимся размером к основанию с образованием усеченного конуса. Решетка снабжена поперечными стержнями и установлена с возможностью поворота вокруг своей оси. Узел подвода выполнен в виде патрубка подвода воздуха, подключенного посредством труб к коллектору, образованному нижним кольцом внутренней камеры, при этом коллектор охватывает внутреннюю камеру сгорания. Устройство снабжено по крайней мере одним каналом для прохождения воздуха во внешнюю камеру сгорания (камеру догорания) с возможностью регулирования его подачи. В указанном патенте описан также способ для сжигания горючих материалов и отходов с использованием заявленного устройства. Топливную массу загружают сверху через бункер питателя. По мере выгорания топливная масса опускается под действием силы тяжести. При освобождении верхней части питателя до определенного уровня периодически производится дозагрузка топливной массы. Загрузочное отверстие в бункере не требует герметизации и находится постоянно в открытом состоянии. Отсасываемые продукты горения сепарируются, твердая конденсированная фаза накапливается на дне и периодически выгружается через донную заслонку.
Зоны горения топливной массы находятся в районе решетки. Максимальная температура устанавливается в нижней части решетки и постепенно уменьшается по направлению к вершине ее и бункеру. Ниже верхней части решетки уже выделяются труднолетучие составляющие топливной массы, выше решетки расположена зона, в которой происходит выделение летучих компонентов и продуктов пиролиза. Летучие продукты через стенку выходят во внешнюю камеру сгорания, где сгорают в поступающем из коллектора воздухе. В зоне горения труднолетучих и коксующихся компонентов (в нижней части решетки) образуется и горит кокс. Использование камеры сгорания данной конструкции со стенкой с отверстиями и решеткой обеспечивает надежный доступ воздуха в зоны горения, при этом основной поток воздуха идет не навстречу потоку горючей массы, а перпендикулярно к нему, через относительно небольшой ее слой (с двух противоположных направлений). Организация процесса горения топливной массы во внутренней камере сгорания такова, что продукты реакций, протекающие по высоте камеры сгорания, движутся в двух направлениях (вверх и вниз). Вверх движутся продукты пиролиза, летучие компоненты и часть труднолетучих компонентов, чтобы сгорать во внешней камере сгорания. Вниз движутся продукты горения кокса и основной части труднолетучих компонентов.
Недостатком известного решения является сложность конструкции устройства, недостаточно высокая степень сгорания газообразных продуктов, что накладывает ограничения на устройство в части экологии.
Известно устройство для сжигания топливной смеси твердых материалов и конденсированных веществ, которое содержит корпус с рекуперативным теплообменником, включающим патрубки подвода окисляющего воздуха и отвода газообразных продуктов горения, первые из которых сообщаются с атмосферой, а последние связаны со свободным объемом корпуса и вытяжным вентилятором, камеру сгорания, смонтированную в свободном объеме корпуса и образованную наклоненными к оси неконгруэнтными стенками, при этом наружная стенка образована набором колец с убывающими диаметрами кверху, установленными с частичным перекрытием и зазорами для подвода окисляющего воздуха и отвода продуктов сгорания, внутренняя стенка образована набором дисковых пластин разного диаметра, установленных по убывающей снизу вверх с зазорами для подвода окисляющего воздуха и отвода газообразных продуктов горения, смонтированными с периферийным кольцевым зазором в основании над бункером сбора золы и твердого негорючего остатка, наружная стенка камеры сгорания сопряжена с бункером загрузки топливной смеси, патрубки подвода окисляющего воздуха закреплены непосредственно в зазорах в обеих стенках камеры сгорания, дисковые пластины выполнены с осевыми отверстиями, образующими в наборе свободный конический открытый объем, сообщающийся с патрубком отвода продуктов горения (RU 2182685 С2, F23G 5/14, F23B 1/12, 2002.05.20).
Указанный патент выбран в качестве наиболее близкого решения в части устройства. В патенте описан также способ переработки отходов с использованием устройства, аналогичный способ описан также в патенте RU 2179687 С1, F23G 5/14, F23B 1/12, 2002.02.20, который выбран в качестве наиболее близкого решения в части способа.
Известный способ сжигания топливной смеси из твердых материалов и конденсированных веществ включает порционную загрузку топливной смеси из бункера в газопроницаемую камеру сгорания, сформированную смонтированными с периферийным кольцевым зазором в основании, наклоненными к оси наружной и внутренней стенками, сообщающимися с системой ориентированной подачи подогретого воздуха в избытке в камеру сгорания, газообразные продукты горения из камеры сгорания выводят через ее стенки в свободный объем коаксиального рекуператора, где окисляют дополнительно подаваемым воздухом, после чего удаляют посредством вытяжной вентиляции, нагревая воздух в теплообменнике типа труба в трубе. Золу и твердый негорючий компонент непосредственно выводят из камеры сгорания через перфорированный кольцевой зазор. Подогретый воздух в камеру сгорания подают ориентированно через зазоры в наружной стенке и зазоры между пластинами, образующими внутреннюю стенку. Продукты горения выводят встречно через обе газопроницаемые стенки, в том числе в конусный объем, образованный внутренней стенкой, который сообщается с коаксиальным рекуператором.
При достаточно высоком техническом результате: повышение надежности, полноты сгорания топливной смеси, упрощение технологии, способ имеет низкую производительность.
Недостатками известных устройств являются сложность их конструкции, неэффективность подачи воздуха во внутреннюю газопроницаемую камеру сгорания и ограниченная возможность вывода продуктов горения через газопроницаемые стенки (по их высоте и вниз) во внешнюю камеру догорания. Устройства имеют ограничения к применению по рабочим температурам и по мощности.
Техническим результатом предлагаемого устройства является усовершенствование конструкции за счет кардинального ее изменения (переходом от кругового коаксиального построения камер сгорания к линейному), повышение производительности установки и степени сгорания газообразных продуктов до экологически безопасных.
Техническим результатом в части способа является повышение его производительности и качества сжигания исходного материала за счет обеспечения подвода и распределения воздуха, нагретого до температуры самовоспламенения газа, в различные зоны горения, обеспечения необходимой степени фильтрации, достижения полного выгорания кокса и дожигания газа, обеспечения непрерывного стационарного процесса горения до конечных продуктов с гарантией полного сгорания до экологически безопасных продуктов (дополнительная очистка продуктов не требуется).
При применении способа технический результат может быть достигнут только с использованием заявляемой установки.
Технический результат в части устройства достигается тем, что установка для термической переработки горючих материалов и отходов содержит корпус, в котором размещены технологически связанные между собой газопроницаемая камера сгорания твердых горючих материалов и камера догорания газообразных продуктов, патрубки подвода воздуха и отвода газообразных продуктов горения, бункер загрузки, колосниковая решетка и бункер для сбора твердых продуктов горения (золы), согласно изобретению камера сгорания выполнена в виде прямой полой четырехгранной призмы, с трех сторон которую окружает камера догорания, обе камеры размещены в линейном порядке, разделены между собой колосниковой решеткой и двумя газопроницаемыми, перфорированными стенками с каналами и отверстиями, сообщающимися с объемами указанных камер, две стенки корпуса установки выполнены с каналами, сообщающимися с объемом камеры догорания, при этом разделительные перфорированные стенки выполнены с наклоном и, смыкаясь внизу со стенками корпуса образуют каналы, которые с патрубками подвода образуют узлы подвода воздуха в камеру сгорания, при этом каналы разделительных стенок с патрубками подвода образуют узлы подвода воздуха в камеру догорания, а с каналами стенок корпуса и с патрубками отвода образуют узлы отвода газообразных продуктов горения из обеих камер и корпуса, две другие газопроницаемые стенки камеры сгорания с каналами и отверстиями стенок корпуса образуют с патрубками подвода дополнительные узлы подвода воздуха в камеру сгорания, при этом каналы днища установки с отверстиями днища камеры догорания и с патрубками подвода образуют дополнительные узлы подвода воздуха в камеру догорания. Разделительные стенки камеры сгорания выполнены с углом наклона не менее 75°.
Технические задачи изобретения, его признаки и преимущества будут лучше поняты из последующего описания со ссылками на прилагаемые чертежи, на которых одни и те же части установки представлены одинаковыми обозначениями.
На фиг.1-4 представлены принципиальные схемы установки для осуществления способа.
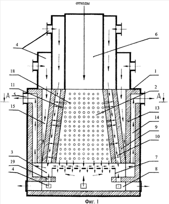
Фиг.1 – вертикальный разрез установки по оси симметрии, фиг.2 – горизонтальный разрез установки по линии А-А, фиг.3 – вертикальный разрез установки по линии В-В, фиг.4 – горизонтальный разрез установки по линии Б-Б. Стрелками на фигурах показано движение потоков воздуха и продуктов горения в установке.
Для осуществления способа по предлагаемому изобретению созданная установка содержит корпус 1, в котором размещены технологически связанные между собой газопроницаемая камера сгорания 2 твердых горючих материалов и камера догорания 3 газообразных продуктов, патрубки подвода 4 воздуха и отвода 5 газообразных продуктов горения, первые из которых сообщаются с атмосферой, а последние связаны со свободным объемом корпуса и вытяжным вентилятором (не показан), бункер загрузки 6, колосниковая решетка 7, бункер 8 для сбора твердых продуктов горения (золы), при этом камера сгорания выполнена в виде прямой полой четырехгранной призмы, которую с трех сторон окружает камера догорания, камеры размещены в линейном порядке, разделены между собой колосниковой решеткой, двумя газопроницаемыми, перфорированными стенками 9 с каналами 10 и отверстиями 11 и 12, сообщающимися с объемами указанных камер, две стенки 13 корпуса выполнены с каналами 14, сообщающимися с объемом камеры догорания, разделительные стенки 9 выполнены с наклоном к оси симметрии по вертикали под углом не менее 75° и, смыкаясь внизу со стенками корпуса 13, образуют каналы 15, которые с патрубками подвода 4 образуют узлы подвода воздуха в камеру сгорания 2, а каналы 10 разделительных стенок с патрубками подвода образуют узлы подвода воздуха в камеру догорания 3, каналы 10 разделительных стенок и каналы 14 стенок корпуса с патрубками отвода 5 образуют узлы отвода газообразных продуктов горения из обеих камер и корпуса, две другие газопроницаемые стенки 16 камеры сгорания и корпуса выполнены с каналами 17 и отверстиями 18, сообщающимися с объемом камеры сгорания, каналы указанных стенок с патрубками подвода образуют дополнительные узлы подвода воздуха в камеру сгорания, а каналы днища установки с отверстиями 19 днища камеры догорания образует с патрубками подвода дополнительные узлы подвода воздуха в камеру догорания. Установка снабжена размещенными в свободном объеме корпуса бункером 8 сбора твердых продуктов горения (золы) и технологическими отверстиями (с заслонками) для периодической выгрузки золы. Бункер загрузки 6 размещен сверху корпуса 1.
Технический результат в части способа достигается тем, что способ термической переработки горючих материалов и отходов с использованием предлагаемой установки включает загрузку в бункер горючих материалов и отходов, непрерывную их подачу в газопроницаемую камеру сгорания для сжигания воздухом, который при прохождении в реакционные зоны установки нагревают рекуперативно до необходимой температуры сжигания, отвод газообразных продуктов горения из камеры сгорания в камеру догорания с последующим удалением газообразных и твердых продуктов горения, согласно изобретению камера сгорания выполнена в виде прямой полой четырехгранной призмы, которую с трех сторон окружает камера догорания, обе камеры размещены в линейном порядке, разделены между собой колосниковой решеткой и двумя газопроницаемыми, перфорированными стенками, сообщающимися с системой подвода подогретого воздуха и отвода газообразных продуктов горения через каналы и отверстия стенок, воздух в камеру сгорания подают по каналам и отверстиям всех четырех газопроницаемых стенок камеры сгорания, две из которых являются стенками корпуса, воздух в камеру догорания подают по каналам разделительных стенок и отверстиям днища камеры догорания, встречно по отверстиям в каналы разделительных стенок и через колосниковую решетку выводят газообразные продукты горения, воздух в каждую камеру подают раздельно и независимо, но воздух в объем камеры догорания направляют сверху вниз, а в объем камеры сгорания с отходами направляют перпендикулярно потоку отходов, по всей высоте камеры, при этом образующиеся газообразные продукты горения засасываются по высоте камеры через отверстия в каналы разделительных стенок потоками воздуха (в каналах) в камеру догорания. Твердые продукты горения в виде золы непрерывно выводят через колосниковую решетку в бункер, а из корпуса – периодически.
Способ термической переработки горючих материалов и отходов с использованием заявляемого устройства осуществляют следующим образом.
Горючие материалы и отходы (топливную массу) загружают в установку сверху через бункер 6, порционно и непрерывно подают в газопроницаемую камеру сгорания 2. По мере выгорания топливная масса опускается под действием силы тяжести, при освобождении бункера до определенного уровня производят дозагрузку. Для запуска установки (зажигания топливной массы) в ней предусмотрена возможность зажигания от газовых запальников. Топливную массу сжигают воздухом, который при прохождении в реакционные зоны установки нагревают рекуперативно до необходимой температуры сжигания, при этом камера сгорания выполнена в виде прямой полой четырехгранной призмы, которую с трех сторон окружает камера догорания 3, обе камеры размещены в линейном порядке, разделены между собой колосниковой решеткой 7 и двумя газопроницаемыми, перфорированными стенками 9, сообщающимися с системой подвода подогретого воздуха и отвода газообразных продуктов горения через каналы 10, 14, 15 и 17 и через отверстия 11, 12, 18 и 19 стенок. Воздух в камеру сгорания подают по каналам 15 и 17 и по отверстиям 12 и 18 всех четырех газопроницаемых стенок камеры сгорания, воздух в камеру догорания подают по каналам 10 разделительных стенок 9 и по отверстиям 19 днища камеры догорания, встречно по отверстиям 11 в каналы 10 разделительных стенок и через колосниковую решетку 7 выводят газообразные продукты горения. Воздух в каждую камеру подают раздельно и независимо, но воздух в объем камеры догорания 3 направляют сверху вниз, а в объем камеры сгорания 2 с топливной массой направляют перпендикулярно потоку топливной массы, по всей высоте камеры, при этом образующиеся газообразные продукты горения засасываются по высоте камеры через отверстия 11 в каналы 10 разделительных стенок потоками воздуха (в каналах 10) в камеру догорания. Воздух в каналах 10, 15 и 17 нагревается до температуры самовоспламенения газа. Максимальная температура в камере сгорания 2 устанавливается в нижней части у решетки 7 и постепенно уменьшается по направлению к бункеру загрузки. Ближе к решетке, в зоне горения труднолетучих и коксующихся компонентов, образуется и горит кокс. Выше расположены зоны образования труднолетучих компонентов, пиролиза и летучих компонентов. Летучие компоненты и частично труднолетучие сгорают в камере догорания 3 (в каналах 10 и в основном объеме камеры). Дожигание газа на колосниковой решетке и окончательное дожигание газа в камере догорания 3 достигается за счет воздуха, поступающего в нижнюю часть корпуса 1 (под решетку 7 и в отверстия 19). Твердые продукты горения в виде золы непрерывно выводят через колосниковую решетку в бункер 8, а из корпуса – периодически.
Заявленная совокупность признаков изобретения обеспечивает подвод и распределение воздуха, нагретого до температуры самовоспламенения газа, в различные зоны горения в необходимых количествах, за счет чего обеспечивается необходимая степень фильтрации в зонах, достигается полное выгорание кокса и дожигание газа, обеспечивается непрерывность и стационарность процесса горения до конечных экологически безопасных продуктов, без необходимости дополнительной их очистки.
Предложенный способ содержит следующую совокупность технологических операций:
– проводят загрузку горючих материалов и отходов и заполняют ими камеру сгорания и бункер,
– ориентированно и дозированно через газопроницаемые и перфорированные стенки подают воздух в камеры сгорания (раздельно и независимо),
– разжигают топливную массу кратковременным включением газовых запальников,
– автоматически перемещают топливную массу из бункера в газопроницаемую камеру сгорания,
– разогревают воздух многократной рекуперацией тепла,
– газообразные продукты газификации и пиролиза отделяют от твердой фазы топливной массы, которая сгорает в газопроницаемой камере сгорания,
– через две газопроницаемые, перфорированные стенки камеры сгорания выводят газообразные продукты в свободный объем камеры догорания, где их принудительно перемешивают и дожигают до конечных продуктов,
– газообразные продукты выводят из камеры сгорания через стенки встречно потокам окисляющего воздуха,
– газообразные продукты выводят из камеры сгорания в камеру догорания через решетку и дожигают в ней до конечных продуктов,
– газообразные продукты полного окисления выводят из камеры догорания по каналам, связанным со свободным объемом корпуса и камеры догорания, и с вытяжным патрубком вентилятора,
– золу непрерывно выводят из внутренней камеры сгорания через решетку в бункер сбора золы, а из него – периодически.
Заявленное изобретение (установка и способ) позволяют осуществлять с высокой производительностью и длительным сроком службы установки эффективное сжигание твердых материалов и отходов до конечных экологически безопасных продуктов.
Заявленное изобретение может быть успешно использовано для сжигания (утилизации) промышленных и бытовых низко и высококалорийных отходов при температуре до 2000°С.
Формула изобретения
1. Установка для термической переработки горючих материалов и отходов, содержащая корпус, в котором размещены технологически связанные между собой газопроницаемая камера сгорания твердых горючих материалов и камера догорания газообразных продуктов, патрубки подвода воздуха и отвода газообразных продуктов горения, бункер загрузки, колосниковая решетка и бункер для сбора твердых продуктов горения, отличающаяся тем, что камера сгорания выполнена в виде прямой полой четырехгранной призмы, с трех сторон которую окружает камера догорания, обе камеры размещены в линейном порядке, разделены между собой колосниковой решеткой и двумя газопроницаемыми, перфорированными стенками с каналами и отверстиями, сообщающимися с объемами указанных камер, две стенки корпуса установки выполнены с каналами, сообщающимися с объемом камеры догорания, при этом разделительные перфорированные стенки выполнены с наклоном и, смыкаясь внизу со стенками корпуса, образуют каналы, которые с патрубками подвода образуют узлы подвода воздуха в камеру сгорания, при этом каналы разделительных стенок с патрубками подвода образуют узлы подвода воздуха в камеру догорания, а с каналами стенок корпуса установки и с патрубками отвода образуют узлы отвода газообразных продуктов горения из обеих камер и корпуса, две другие газопроницаемые стенки камеры сгорания с каналами и отверстиями стенок корпуса образуют с патрубками подвода дополнительные узлы подвода воздуха в камеру сгорания, при этом каналы днища установки с отверстиями днища камеры догорания и с патрубками подвода образуют дополнительные узлы подвода воздуха в камеру догорания.
2. Установка по п.1, отличающаяся тем, что разделительные стенки камеры сгорания выполнены с углом наклона не менее 75°.
3. Способ термической переработки горючих материалов и отходов с использованием устройства по пп.1 и 2, включающий загрузку в бункер горючих материалов и отходов, непрерывную их подачу в газопроницаемую камеру сгорания и сжигание их воздухом, который при прохождении в реакционные зоны установки нагревают рекуперативно до необходимой температуры сжигания, отвод газообразных продуктов горения из камеры сгорания в камеру догорания с последующим удалением газообразных и твердых продуктов горения, отличающийся тем, что камера сгорания выполнена в виде прямой полой четырехгранной призмы, которую с трех сторон окружает камера догорания, обе камеры размещены в линейном порядке, разделены между собой колосниковой решеткой и двумя газопроницаемыми, перфорированными стенками, сообщающимися с системой подвода подогретого воздуха и отвода газообразных продуктов горения через каналы и через отверстия стенок, воздух в камеру сгорания подают по каналам и по отверстиям всех четырех газопроницаемых стенок камеры сгорания, две из которых стенки корпуса, воздух в камеру догорания подают по каналам разделительных газопроницаемых стенок и по отверстиям днища камеры догорания, встречно по отверстиям в каналы указанных разделительных стенок и через колосниковую решетку выводят газообразные продукты горения, воздух в каждую камеру подают раздельно и независимо, но воздух в объем камеры догорания направляют сверху вниз, а в объем камеры сгорания с топливной массой направляют перпендикулярно потоку топливной массы, по всей высоте камеры, при этом образующиеся газообразные продукты горения засасываются по высоте камеры через отверстия в каналы разделительных стенок потоками воздуха в каналах в камеру догорания.
4. Способ по п.3, отличающийся тем, что твердые продукты горения в виде золы непрерывно выводят через колосниковую решетку в бункер, а из корпуса выводят периодически.
РИСУНКИ
|
|