|
|
(21), (22) Заявка: 2007145540/06, 10.12.2007
(24) Дата начала отсчета срока действия патента:
10.12.2007
(46) Опубликовано: 10.02.2009
(56) Список документов, цитированных в отчете о поиске:
RU 55928 U1, 27.08.2006. RU 2283462 C1, 10.09.2006. RU 2264581 C1, 20.11.2005. US 5606858 A, 04.03.1997. US 5685154 A, 11.11.1997. US 7272932 B2, 25.09.2007.
Адрес для переписки:
121165, Москва, Г-165, а/я 15, ООО “ППФ-ЮСТИС”
|
(72) Автор(ы):
Аксенов Дмитрий Тимофеевич (RU), Аксенова Галина Петровна (RU)
(73) Патентообладатель(и):
Аксенов Дмитрий Тимофеевич (RU), Аксенова Галина Петровна (RU)
|
(54) СПОСОБ УСТОЙЧИВОГО ГАЗОСНАБЖЕНИЯ ГАЗОРАСПРЕДЕЛИТЕЛЬНОЙ СТАНЦИЕЙ С ЭНЕРГОХОЛОДИЛЬНЫМ КОМПЛЕКСОМ, ИСПОЛЬЗУЮЩИМ ДЛЯ ВЫРАБОТКИ ЭЛЕКТРИЧЕСКОЙ ЭНЕРГИИ И ХОЛОДА ЭНЕРГИЮ ИЗБЫТОЧНОГО ДАВЛЕНИЯ ПРИРОДНОГО ГАЗА И СИСТЕМА ДЛЯ РЕАЛИЗАЦИИ СПОСОБА
(57) Реферат:
Группа изобретений относится к области теплоэнергетики и предназначена для применения в средствах использования энергии технологического перепада давления природного газа. Способ снабжения потребителей природным газом с использованием газораспределительной станции (ГРС), имеющей редуцирующие линии, осуществляют при одновременной выработке электрической энергии и холода при редуцировании с использованием включенного параллельно ГРС энергохолодильного блока (ЭХБ). ЭХБ имеет детандерно-генераторный агрегат (ДГА) с теплообменником. На редуцирующих линиях ГРС установлены средства их автоматического открывания/закрывания синхронно с остановкой/включением ДГА для обеспечения взаимосвязанного функционирования ГРС с ЭХБ как единой газоредуцирующей системы с поддержанием суммарного сечения ее органов для прохода газа при изменении режима подачи газа, давления газа на входе и числа работающих ДГА. При закрытии всех редуцирующих линий выводят ГРС в резерв и перекрывают вход газа в коллектор ГРС и выход из нее газа управляемыми запорными органами. При остановке ЭХБ или большинства ДГА открывают указанные запорные органы и редуцирующие линии ГРС, вводя ГРС в штатное функционирование. Техническим результатом является повышение устойчивости переменной по времени подачи газа потребителям с поддержанием на выходе системы заданного давления и допустимой температуры газа. 2 н. и 12 з.п.ф-лы, 2 ил.
Группа изобретений относится к области теплоэнергетики и предназначена для применения природного газа в средствах выработки механической, а затем и электрической энергии, и холода за счет использования энергии технологического перепада его давления, главным образом в системах добычи, на газораспределительных (ГРС) и газокомпрессорных станциях (КС) магистральных газопроводов в сочетании с холодильными производствами, использующими получаемый холод для работы холодильных камер холодильника и льдогенератора.
Известно использование энергии перепада давления газового потока на ГРС для одновременной выработки механической энергии и холода, превращение механической энергии в электрическую и применение холода для работы холодильных камер и льдогенератора (см., например, «Теоретические основы использования энергии давления природного газа», Недра, 1968 г., авт. Зарицкий Г.Э.; «Энергосберегающие турбодетандерные установки». Недра, 1999 г., авт. Степанец А.А.; ж. «Газовая промышленность» №10 2003 г., №6 2006 г., авт. Аксенов Д.Т.; Патент РФ №2264581, 2004 г.).
Сущность известной технологии заключается в том, что природный газ, имеющий высокое давление, направляют в детандер, газ расширяется и совершает внешнюю работу, которая используется для привода различных машин, например электрогенератора. Понижение температуры газа, вызванное его расширением, используют для охлаждения различных сред с помощью теплообменника, например воздуха в камерах холодильника.
Конструкция и параметры детандеров и энергохолодильных агрегатов, наиболее приемлемых для объектов газовой промышленности, достаточно отработаны, изготовлена и промышленно испытана их опытная партия (см., например, указанный Патент и статьи Аксенова Д.Т. в журналах «Газовая промышленность» №10 2003 г., №6 2006 г. и др.). Достаточно разработаны и системы использования холода, возникающего при выработке электроэнергии за счет расширения газа в детандере.
Наиболее близкой к предложенной является группа изобретений по патенту РФ №2264581, 2004 г.; №55928, 2006 г.; №2283462, 2006 г., согласно которому способ подготовки природного газа к подаче потребителю с комплексным использованием энергии избыточного давления природного газа заключается в расширении природного газа в, по меньшей мере, одном детандере, отводе механической энергии каждого детандера для привода электрогенератора и пропускании охладившегося в детандере газа перед подачей его потребителю через, по меньшей мере, один теплообменник, в котором газ подогревается жидким хладоносителем, поступающим от холодильных камер. В теплообменнике жидкий хладоноситель охлаждается и снова направляется в холодильные камеры, а проходящий через теплообменник газ подогревается и затем поступает в трубопровод его подачи потребителям при заданном давлении и допустимой температуре.
В системе для реализации известного способа используется энергохолодильный блок (ЭХБ), создаваемый на ГРС. Причем энергохолодильный блок (ЭХБ) с детандер-генераторными агрегатами (ДГА) включен параллельно ГРС. При этом часть поступающего газа может направляться в ЭХБ для выработки электроэнергии и холода, а часть – в ГРС. Таким образом, ГРС и ЭХБ функционируют взаимосвязано и согласованно как единая газоредуцирующая система с выработкой электроэнергии и холода, и выдачей потребителю газа с заданными параметрами. То есть для реализации этой технологии необходимо использовать, по меньшей мере, один детандерно-генераторный агрегат (ДГА), который включает детандер и связанный с его валом электрогенератор, и теплообменник, который с одной стороны присоединен к выходу, по меньшей мере, одного ДГА, с другой – к трубопроводу подачи газа потребителю.
Однако при реализации этой известной технологии с использованием специально разработанного мощностного ряда энергохолодильных агрегатов возникает проблема обеспечения устойчивой и согласованной работы ГРС с ЭХБ из ДГА, так как они связаны между собой газовой связью и должны функционировать как единая система, обеспечивая на выходе заданные параметры в условиях переменного по времени газопотребления при существенных колебаниях давления газа, поступающего от источника.
Такая проблема ранее не рассматривалась, и потому требуется разработать новые технические решения, позволяющие обеспечить выполнение указанных требований.
Другой проблемой является повышение надежности и устойчивости газоснабжения потребителей путем создания в газовой системе ГРС-ЭХБ резерва (запаса) по газоредуцирующим возможностям за счет обеспечения взаимозаменяемости ГРС и ЭХБ без изменения их структуры.
Для решения этой проблемы необходимо разработать новые технические решения по взаимодействию ГРС и ЭХБ и системе регулирования параметров газа, редуцируемого с помощью ДГА.
Следующая проблема обеспечения устойчивости газоснабжения потребителей состоит в повышении устойчивости работы ДГА при отклонении за допустимые пределы важнейших параметров и состояний, которые могут приводить к экстренным остановкам ДГА и даже их отказам.
Экстренная остановка ДГА инициирует появление «толчка» давления газа в системе. Газовая система ЭХБ имеет достаточную инерционность, и тем не менее имеется необходимость свести к минимуму, а при возможности исключить экстренные остановки ДГА. Если такие остановки несколько возмущают газовый поток, то отказ ДГА прямо приводит к нарушению устойчивого газоснабжения, особенно если число ДГА в ЭХБ невелико.
Система автоматического управления (САУ) ДГА включает функции его защиты по отклонениям всех основных параметров и нештатным явлениям. Однако, учитывая возможность отказов элементов и систем САУ и значимость их негативных последствий, целесообразно выделить важнейшие параметры и явления, по которым необходимо увеличить (повысить) безотказность работы ДГА. На основе опыта эксплуатации установлено, что следует усилить защиту ДГА по следующим параметрам и явлениям: по перегрузке агрегата, по появлению обратного тока в генераторе, по превышению частоты вращения вала генератора («разнос»), по исчезновению электропитания САУ и др.
Для решения этих задач необходимо разработать новые технические решения, предусматривающие дублирование САУ по указанным функциям защиты ДГА с помощью специальных автономных подсистем. Кроме того, требуется разработка технического решения по нивелированию «толчков» давления газа и волновых явлений в газовой системе ЭХБ.
Задачей изобретения является создание комплекса технических решений, обеспечивающих устойчивое газоснабжение потребителей природным газом газоредуцирующей станцией (ГРС) с энергохолодильным блоком ЭХБ, который полезно использует энергию технологических перепадов давления газа, поступающего от источника газа при его редуцировании («бросовой» энергии). При этом способ, применяемый в этой технологии, должен осуществляться с помощью типового оборудования серийного производства, а используемые устройства должны быть усовершенствованными и унифицированными элементами этого оборудования.
Техническим результатом, достигаемым с помощью предложенных способа и системы, является повышение устойчивости переменной по времени подачи газа потребителям при комплексном использовании энергии избыточного давления природного газа при его редуцировании для выработки электрической энергии и холода, с поддержанием на выходе системы газа с заданным давлением и допустимой температурой, который может быть использован потребителями без каких-либо дополнительных воздействий.
Наиболее приемлемой технологией решения этой проблемы можно считать дооснащение редуцирующих линий («ниток») ГРС известными средствами их автоматического открытия/закрытия синхронно с остановкой /включением в работу ДГА, что, согласно изобретению, обеспечивает взаимосвязанное функционирование ГРС и ЭХБ как единой газоредуцирующей системы с автоматическим поддержанием на оптимальном уровне суммарного сечения ее органов для прохода газа при изменении режима газоподачи, давления газа на входе и числа работающих ДГА за счет соответствующего изменения числа открытых – работающих редуцирующих линий ГРС. Для решения этой проблемы требуется разработать новые технические решения с определением необходимых параметров и технических средств для обеспечения согласованного взаимодействия ГРС с ЭХБ. Техническим результатом, достигаемым при этом, является обеспечение подачи газа потребителям при заданном и постоянном его давлении в условиях, изменяющихся по времени: объемов газопотребления и переменных давлениях газа, поступающего от источника. Кроме того, для достижения этого технического результата в автоматическом режиме, согласно изобретению, необходимо оснастить газоредуцирующую систему (ГРС с ЭХБ) программным блоком управления (компаратором), которое может принимать, хранить в памяти и использовать необходимую для согласованного управления взаимодействием ГРС с ЭХБ информацию, то есть информацию о состоянии редуцирующих линий ГРС и ДГА (в работе, в резерве, в ремонте и др.) и при появлении сигнала от датчика давления газа о повышении/понижении давления газа на выходе из системы, компаратор по программе принимает решение о необходимости остановки ДГА с одновременным открытием требуемого числа редуцирующих линий ГРС или о необходимости ввода ДГА в работу с одновременным закрытием требуемого числа редуцирующих линий («ниток») ГРС. При этом по программе и имеющейся информации для действия выбираются те ДГА и редуцирующие линии ГРС, которые готовы к работе – находятся в резерве. После этого формируются и подаются импульсы на исполнительные устройства для реализации требуемых действий.
Повысить устойчивость газоснабжения потребителей возможно путем создания подготовленного к работе в любой момент газоредуцирующего блока, находящегося в резерве. Эта проблема решается, согласно изобретению, путем поочередного ввода в работу ДГА и синхронно с этим, также поочередно, автоматического выключения из работы редуцирующих линий ГРС, а затем, при закрытии всех линий ГРС, она выводится в резерв в полной готовности к работе. Для этого с помощью автоматически управляемых запорных органов (по импульсу от системы автоматического управления САУ) перекрывается вход и выход газа из ГРС. При этом ДГА принимают на себя функцию редуцирования всего газового потока. При остановке ДГА (всех или большинства) САУ подает импульс на открытие запорных органов, перекрывающих вход и выход газа из ГРС, и она включается в штатное функционирование. Кроме того, для возможности пропуска переменного количества газа, параллельно каждому ДГА включена регулируемая редуцирующая байпасная линия (перепускная линия). Эта линия оборудована автоматически управляемым регулирующим клапаном и установленным после него по ходу газа редуктором давления газа с обратной связью, поддерживающим заданное давление газа на его выходе (как на «нитках» ГРС). Причем система управления регулирующего клапана оснащена устройством, которое фиксирует заданное значение («уставку») максимальной степени раскрытия клапана в зависимости от числа ДГА, находящихся в работе, и при достижении суммарного (по всем байпасным линиям) расхода газа, равного номинальному расходу газа одного ДГА, формируется и подается импульс на включение в работу дополнительного ДГА. При закрытии байпасных линий и при повышении давления газа на выходе ЭХБ аналогично подается импульс на остановку ДГА.
Техническим результатом, достигаемым применением способа и системы, согласно изобретению, является разделение газоредуцирующего комплекса ГРС и ЭХБ на два равноценных по возможностям принципам регулирования автоматически управляемых блока, каждый из которых может находиться либо в работе, либо в резерве. Естественно в работе должен находиться ЭХБ с ДГА, так как он вырабатывает электрическую энергию и холод одновременно с редуцированием газа, а ГРС должна находиться в резерве. Включаться в работу ГРС должна при аварийных ситуациях в ЭХБ, его газовой или электросиловой системах.
Как видно, для достижения этих целей необходимо разработать комплекс новых технических решений с использованием изложенных алгоритмов действия газоредуцирующего комплекса. Кроме того, процесс редуцирования всего потока газа может осуществляться только через управляемые байпасные линии, включенные параллельно ДГА, при неработающих ДГА и отключенной ГРС. По сути, с помощью предлагаемых технических решений создается три газоредуцирующих блока. Этим резко повышается устойчивость газоснабжения потребителей.
Кроме указанного, устойчивость газоснабжения потребителей обеспечивается также путем повышения надежности и безотказности работы ДГА. При этом с одной стороны уменьшится количество экстренных остановок ДГА, а следовательно, и возникающих «толчков» в газовой системе редуцирующего комплекса, с другой – исключится возможность создания ситуаций, когда отказ ДГА недопустимо снизит редуцирующую способность ЭХБ, что потребует экстренного включения в работу ГРС с выбором необходимого числа редуцирующих линий. Эту проблему возможно решить путем выявления наиболее значимых параметров и состояний ДГА, при превышении или появлении которых наступают значительные негативные последствия (отказ ДГА, поломка и др.) с последующим усилением защиты ДГА по выбранным показателям и состояниям. Для решения этой задачи необходимо разработать новые технические решения с определением необходимых алгоритмов конкретных способов, структурных схем и действий, обеспечивающих решение обозначенных целей.
Таким образом, технический результат достигается тем, что в способе снабжения потребителей природным газом с использованием газораспределительной станции (ГРС), имеющей несколько редуцирующих линий, при одновременной выработке электрической энергии и холода за счет энергии избыточного давления газа при редуцировании с использованием включенного параллельно ГРС энергохолодильного блока (ЭХБ), который имеет, по меньшей мере, один детандерно-генераторный агрегат (ДГА) с теплообменником, используют редуцирующие линии ГРС с установленными на них средствами их автоматического открывания/закрывания синхронно с остановкой/включением ДГА для обеспечения взаимосвязанного функционирования ГРС с ЭХБ как единой газоредуцирующей системы с автоматическим поддержанием на оптимальном уровне суммарного сечения ее органов для прохода газа при изменении режима подачи газа, давления газа на входе и числа работающих ДГА путем изменения числа открытых редуцирующих линий ГРС, причем поочередно включают в работу ДГА и синхронно с этим, также поочередно, автоматически закрывают редуцирующие линии ГРС, а при закрытии всех редуцирующих линий выводят ГРС в резерв в состоянии полной готовности к работе и перекрывают вход газа в коллектор ГРС и выход из нее газа управляемыми запорными органами, а при остановке ЭХБ или большинства ДГА открывают указанные запорные органы и редуцирующие линии ГРС, вводя ГРС в штатное функционирование для повышения надежности газоснабжения потребителей.
Кроме того, с помощью программного блока управления получают и хранят в памяти информацию об открытом или закрытом состоянии редуцирующих линий ГРС и ДГА и при появлении сигналов от датчика давления газа о повышении/понижении давления газа на выходе из системы с помощью блока управления по программе останавливают ДГА с открытием требуемого числа резервных редуцирующих линий ГРС или запускают резервный ДГА с закрытием редуцирующих линий ГРС для обеспечения взаимосвязанного и согласованного функционирования ГРС и ЭХБ и поддержания заданного давления газа на выходе из системы при переменном газопотреблении.
Кроме того, целесообразно использовать ЭХБ с газовой системой, в которой параллельно каждому ДГА включена, по меньшей мере, одна регулируемая редуцирующая байпасная линия между входом и выходом газа ЭХБ и автоматически регулируют степень ее раскрытия по импульсу сигнала от датчиков давления газа на выходе ЭХБ, обеспечивая требуемую потребителями переменную по времени подачу газа без участия ГРС, причем максимальный расход газа через каждую байпасную линию ЭХБ выбирают равным номинальному расходу газа через ДГА, создавая, таким образом, дополнительный блок редуцирования полного потока газа без участия ГРС при неработающих ДГА.
Целесообразно в дополнение к штатной системе автоматического управления (САУ) ДГА использовать автономные дополнительные дублирующие штатную САУ подсистемы и средства защиты ДГА от перегрузки по мощности, от появления обратного тока в генераторе, от превышения частоты вращения генератора, от исчезновения электропитания САУ.
Технический результат достигается также тем, что в системе снабжения потребителей природным газом, содержащей газораспределительную станцию (ГРС) с несколькими редуцирующими линиями, имеющими каждая один рабочий и один резервный редукторы давления (РД), включенный параллельно ГРС энергохолодильный блок (ЭХБ), включающий, по меньшей мере, один детандерно-генераторный агрегат (ДГА), по меньшей мере, один теплообменник для охлаждения жидкого теплоносителя, соединенный с, по меньшей мере, одним выходом газа из ДГА, и, по меньшей мере, одну холодильную камеру, согласно изобретению вход природного газа в редуцирующие линии ГРС и вход в коллектор подачи газа в ДГА соединены с источником газа, а выходы из редуцирующих линий ГРС соединены с трубопроводом подачи газа потребителям, выход теплообменника соединен с коллектором, который также соединен с трубопроводом подачи газа потребителям, причем для обеспечения согласованной работы ГРС с энергоблоком ДГА каждый резервный РД на редуцирующих линиях ГРС оснащен управляемым клапаном для подачи и сброса импульсного газа по команде САУ: на закрытие РД при пуске ДГА и на открытие РД при остановке ДГА, а также на закрытие всех редуцирующих линий ГРС при выводе ГРС в резерв.
Целесообразно, чтобы трубопроводы подвода и отвода газа каждого ДГА были соединены регулируемой байпасной линией для обеспечения прохода и редуцирования всего потока газа без использования ГРС.
Для управления всеми операциями система также снабжена программным блоком управления, который соединен с штатными САУ, датчиками давления и температуры газа, управляющими клапанами на резервных РД резервных линий ГРС.
Каждая регулируемая байпасная линия ДГА оснащена автоматически управляемым регулирующим клапаном (РК) и редуктором давления газа, установленным за РК по ходу газа и соединенным обратной газовой связью через импульсную трубку с трубопроводом подачи газа потребителям, причем каждый РК имеет регулируемое максимально допустимое значение его предельного положения раскрытия, которое задано в зависимости от числа работающих ДГА, а САУ выполнена с возможностью подачи при достижении суммарного по всем байпасным линиям расхода газа, равного номинальному расходу газа одного ДГА, команды на включение в работу дополнительного ДГА, при закрытых же байпасных линиях и повышенном давлении газа на выходе ЭХБ – команды на остановку сначала одного, а при потребности и большего числа ДГА.
Для предотвращения перегрузки ЭХБ по мощности целесообразно, чтобы непосредственно на входе газа в ДГА и на его выходе из ДГА были установлены датчики давления, а на выходе за каждым датчиком давления по ходу газа был установлен автоматически регулируемый клапан (РК) с возможностью регулирования степени открытия РК на входе и выходе ДГА по сигналам от соответствующих датчиков давления и поддержания тем самым степени снижения давления газа в ДГА не выше допустимого значения при любых изменениях давлений газа на входе и выходе в ЭХБ.
Кроме того, на линии подвода электропитания от САУ к возбудителю генератора установлен выключатель с возможностью разрыва этой линии и обесточивания возбудителя по импульсу, формируемому по наличию одновременно сигнала о закрытии штатного запорного органа на подводе газа к ДГА и сигнала о вращении ротора генератора с номинальной частотой.
Целесообразно на ДГА установить два датчика частоты вращения его вала с возможностью независимой подачи импульсов с одного из них в штатную САУ, а со второго – в параллельно соединенные блоки преобразования импульсов от датчика частоты вращения в импульс закрытия штатного запорного органа на входе газа к ДГА с помощью дополнительного исполнительного устройства, а заданное значение частоты вращения в блоках преобразования импульсов от датчика на срабатывание защиты установлено несколько выше штатного значения для обеспечения двухступенчатой защиты ДГА от перегрузки.
Кроме того, в линиях передачи импульсов от датчиков частоты вращения вала ДГА установлены устройства сигнализации об отказе каждого датчика, каждое из которых связано с соответствующим переключателем с возможностью передачи импульсов от работающего датчика частоты вращения одновременно в штатную САУ и в блоки преобразования импульсов в автономный импульс закрытия штатного запорного органа на входе газа в ДГА.
Кроме того, САУ и блок преобразования импульсов датчика частоты вращения вала ДГА могут быть выполнены с возможностью подачи электропитания от сетей собственного генератора и от внешней электросети через блок переключения.
Кроме того, внутри коллектора подачи газа к ДГА может быть размещен подключенный к источнику газа трубопровод с кольцевыми дисками, которые разделяют межтрубное пространство коллектора на отсеки-ресиверы по числу ДГА, а для подвода газа в каждый отсек-ресивер в боковой поверхности трубопровода с кольцевыми дисками выполнены отверстия, суммарная площадь сечения которых в каждом отсеке-ресивере в 1,5÷2 раза больше площади сечения соответствующего трубопровода подачи газа из данного отсека-ресивера к ДГА.
В предложенном изобретении в штатную систему автоматического управления (САУ) ДГА, которая предусматривает выполнение защитных функций по отклонению всех определяющих надежность и безопасность параметров и состояний, введены дополнительные автономные, дублирующие штатную САУ, подсистемы и средства, которые обеспечивают усиление защиты ДГА с целью предотвращения экстренных остановок или отказов ДГА при его перегрузке по мощности, при появлении обратного тока в генераторе, при превышении частоты вращения ротора генератора, при исчезновении электропитания системы управления ДГА.
Технический результат по усилению защиты ДГА от перегрузки по мощности при изменяющихся давлениях газа на входе и выходе ДГА достигается путем установки датчиков давления с токовым выходом на входе и выходе газа из ДГА и автоматически управляемого регулирующего клапана, который установлен на выходе ДГА после датчика давления по ходу газа. Электрические сигналы (выходы) датчиков давления традиционной конструкции передаются в блок сравнения, и при рассогласовании их соотношения блок подает импульс на дополнительное раскрытие или прикрытие указанных автоматически управляемых регулирующих клапанов на входе и выходе газа из ДГА синхронно или по установленному выбору (последовательно с временными задержками и т.п.). Таким образом поддерживается максимально допустимое отношение давлений газа на входе и выходе ДГА, которое определяет его мощность.
Технический результат достигается также и тем, что на линии подвода электропитания от САУ к возбудителю генератора установлен выключатель для разрыва этой цепи по импульсу, который формируется при наличии одновременно двух сигналов: штатное стоп-устройство закрыто – подача газа в ДГА прекращена, ротор генератора вращается с номинальной частотой. При разрыве цепи электропитания возбудитель генератора обесточивается, генератор выходит из режима электродвигателя и ДГА останавливается. Этим дублируется штатная система его защиты по «обратному» току.
Кроме того, технический результат достигается также и тем, что, согласно изобретению, в ДГА установлены два датчика частоты вращения ротора (вала детандера), которые раздельно подают импульсы: один в штатную САУ (традиционно), второй – в дополнительную систему защиты ДГА от «разноса». Эта система содержит два параллельно подключенных к датчику частоты вращения блока преобразования, которые при достижении предельной скорости вращения преобразуют импульсы датчика в импульс включения автономного (без участия САУ) закрытия штатного и дополнительного стоп-устройства, что приводит к прекращению подачи газа в ДГА. При этом заданное значение частоты вращения (в блоках преобразования импульсов датчика) на срабатывание этой защиты, превышает заданное значение для срабатывания штатной защиты с помощью САУ. Таким образом, создается двухступенчатая защита ДГА от разноса. Причем вторая – дополнительная система защиты, срабатывает только при отказе штатной системы.
В целях повышения надежности работы ДГА и срабатывания дополнительной защиты его от разноса в системе коммутации датчиков установлены дополнительно устройства сигнализации об отказе каждого датчика частоты вращения. Сигнал воздействует на соответствующий переключатель, и импульсы от работающего датчика частоты вращения начинают одновременно передаваться в штатную САУ и в блоки дублирующей системы защиты ДГА от «разноса» (БСЗР), Кроме этого, надежность и устойчивость работы установки с ДГА повышается за счет подключения электропитания штатной САУ и дополнительных систем к сети собственного генератора и к внешней сети через блок, который пропускает ток от любого из двух указанных источников.
Для нивелирования «толчков» давления газа в системе ЭХЕ при экстренных остановках ДГА газ в коллектор высокого давления ЭХБ подводится по присоединенной к источнику газа трубе, размещенной внутри коллектора (по оси) с закрепленными на ней кольцевыми дисками. Наружный диаметр дисков меньше внутреннего диаметра коллектора на 3÷4 мм. Количество дисков определяется количеством ДГА в ЭХБ с таким расчетом, чтобы для каждого ДГА в межтрубном пространстве коллектора образовывался «собственный» ресивер, из которого газ по трубопроводу подводится в его детандер. Причем на боковой поверхности внутренней трубы между дисками проделаны отверстия для выхода газа из нее в межтрубное пространство (ресиверы). Суммарная площадь сечения отверстий в каждом отсеке-ресивере в 1,5÷2 раза больше площади сечения соответствующего трубопровода подачи газа из данного отсека-ресивера к ДГА. При значительной длине коллектора подвод газа к его внутренней трубе осуществляется с обоих концов.
Наличие дисков на внутренней трубе исключает возникновение «стоячих» волн давления газа в коллекторе при работе ДГА и, как следствие, при этом обеспечивается одинаковая мощность у всех работающих ДГА, а также нивелируется влияние «толчков» давления газа на режим его течения в трубопроводе подачи потребителям при экстренных остановках ДГА.
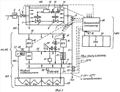
На фиг.1 приведена схема предложенной системы – ГРС с энергохолодильным блоком (ЭХБ).
На фиг.2 приведена схема детандерно-генераторного агрегата (ДГА) в составе ЭХБ.
Как видно из фиг.1, предложенная система газоснабжения включает:
– газоредуцирующую станцию – ГРС (100) с редуцирующими линиями («нитками»);
– энергохолодильный блок ЭХБ (101) с детандерно-генераторными агрегатами (ДГА);
– комплекс блоков отбора холода от газа – БОХ (102);
– холодильное производство (103);
– блоки автоматического управления (104).
Блоки (100, 101 и 102) связаны между собой газовыми трубопроводами (105), оснащенными запорной и регулирующей арматурой. Блоки (102) и (103) связаны трубопроводами (106) для циркуляции жидкого хладоносителя. Блоки (100, 101 и 102) связаны с блоками (104) электрическими связями (пунктирные линии) для передачи сигналов управления.
Каждая компонента комплекса производит свой положительный целевой эффект:
– ГРС (100) – самостоятельное редуцирование газа;
– ЭХБ (101) – электроэнергию и холод;
– БОХ (102) – отбор холода от газа и передача его жидкому хладоносителю;
– холодильное производство (103) – использование холода для охлаждения камер холодильника и производства водяного льда;
– блоки автоматического управления (104) – управление комплексом.
При редуцировании газа одновременно с помощью ГРС и ЭХБ полный поток газа разделяется на два потока. При этом ГРС кроме редуцирования газа выполняет функции регулятора, то есть поддерживает постоянное давление газа на выходе из объекта при колебаниях объема газопотребления и давления газа на входе, а ЭХБ функционирует с целью одновременного редуцирования части газового потока с выработкой электроэнергии и холода. Газ в ГРС и ЭХБ поступает после его очистки в блоке фильтров 2. Пройдя очистку, природный газ высокого давления поступает, по меньшей мере, в детандер одного ДГА 16, в сопловом аппарате которого потенциальная энергия давления газа частично превращается в кинетическую энергию с понижением температуры газа. Струи газа с большой скоростью воздействуют на лопатки ротора турбодетандера, приводя его во вращение, который, в свою очередь, совершает работу над внешними объектами, например, приводит в действие электрогенератор. Перепад температуры газа на входе и выходе из турбодетандера определяется степенью расширения в нем газа. Далее газ поступает в блок 21 отбора от него холода (он нагревается) жидким хладагентом (он охлаждается). Подогретый газ поступает в трубопровод его подачи потребителям, а охлажденный жидкий хладоноситель направляется в блоки холодильного производства.
При таком взаимодействии ГРС и ЭХБ используется только часть энергетического потенциала газового потока для выработки электроэнергии и холода. Причем остановка или ввод в работу ДГА требует подрегулировки ГРС: требуется открыть/закрыть редуцирующие линии («нитки»). В том случае, когда пропускная возможность по газу ГРС и ЭХБ одинаковы, возможно поочередным вводом ДГА в работу с соответствующим закрытием «ниток» на ГРС вывести ее из работы и оставить в резерве в готовности к работе. При этом роль подрегулировки режима будут выполнять регулируемые байпасные линии, размещенные около каждого ДГА. В этих линиях имеются регулирующие клапаны и редукторы давления газа с обратной связью (как на ГРС). С помощью этих байпасных линий поддерживается постоянное давление газа на выходе из ЭХБ при изменяющихся по времени объемах газопотребления и изменении давления газа на входе в ЭХБ. При таком варианте работы (без ГРС) достигается наибольшая энергетическая и холодильная мощность. Пропускная способность байпасных линий равна как пропускной способности ГРС, так и пропускной способности ДГА. Это позволяет обеспечивать устойчивое газоснабжение потребителей не только в случае вывода ГРС в резерв, но и при остановке всех ДГА. Как видно, создается двойной резерв газоредуцирующих возможностей объекта.
После снижения давления и охлаждения газа в результате его расширения он поступает, по меньшей мере, в один теплообменник БОХ, где его температура повышается за счет охлаждения проходящего через теплообменник жидкого хладоносителя, и затем газ отводится в трубопровод 9 его подачи потребителям с требуемым давлением и температурой.
Предложенный способ газоснабжения реализуется с помощью системы, включающей указанные выше компоненты в соответствии с функциональными блок-схемами, представленными на фиг.1 и 2.
ГРС (100) подключена к трубопроводу 1 от источника газа через блок фильтров 2 и автоматически управляемый запорный орган 3. Устройство ГРС – традиционное: несколько редуцирующих линий («ниток») присоединены трубопроводами к общему подводящему коллектору 4 и к отводящему коллектору 7. На каждой «нитке» установлено два редуктора 5 и 6 давления (один из них – резервный, другой – рабочий). От ГРС (100) газ отводится по присоединенному к коллектору 7 трубопроводу 9, оборудованному автоматически управляемым запорным органом 8.
На каждом резервном редукторе 6 давления газа «нитки» ГРС установлены управляемые клапаны 13 и 14 для подачи и сброса импульсного газа, которые с помощью трубок соединены с блоком 12 редукторов газа, а с помощью кабелей – с блоком управления – программным компаратором 30.
Газ в коллектор 10 энергоблока подводится по трубопроводу, который присоединен к трубопроводу 1 после блока 2 фильтров. К коллектору 10 газа высокого давления присоединены ДГА 16 с помощью трубопроводов, оборудованных запорными органами 15 с ручным приводом. После запорного органа 15 каждого ДГА 16 к этому трубопроводу присоединена регулируемая байпасная линия, которая оборудована регулирующим клапаном 17, редуктором 18 давления с обратной связью. Импульсные трубки обратной связи каждой байпасной линии присоединены к блоку 20 редукторов газа (как на ГРС). К выходу газа из ДГА трубопроводом присоединен теплообменник 21 блока отбора холода от газа, а выход – к коллектору 11 газа низкого давления, который присоединен к трубопроводу 9 подачи газа потребителям. На трубопроводе 9 установлены: датчик 22 давления и датчик 23 температуры газа. Со стороны выхода газа из теплообменника 21 к нему подсоединен коллектор 24 жидкого хладоносителя, который выходит из блоков 29 холодильного производства.
В теплообменнике 21 жидкий хладоноситель проходит через теплообменные элементы против движения потока газа и отводится в коллектор 25, и с помощью присоединенного к нему насоса 26 подается по трубопроводу в блоки 29 холодильного производства. На коллекторе 25 и на коллекторе 24 установлены датчики 27 и 28 температуры.
Для осуществления способа, предусматривающего совершенствование управления и предотвращения перегрузки ДГА по мощности, на трубопроводах подвода и отвода газа установлены датчики 36 и 46 давления с электрическим выходом, которые кабелями связаны с блоком 56 управления клапанами подвода и отвода газа от ДГА, который кабелями через блок контактов 55 связан с механизмами управления (раскрытие/прикрытие) клапанов 32, 35, 45, 50.
В качестве другого варианта осуществление этого способа возможно использовать импульс, который формируется в трансформаторно-измерительном блоке 54 и поступает в блок 56 управления клапанами. Этот блок по программе выдает команды через контактный блок 55 на механизмы управления клапанами.
Защита от «обратного» тока обеспечивается включением в кабельную линию электропитания возбудителя 43 контактного блока 53, который разрывает эту цепь по сигналу от САУ 31.
Для защиты ДГА от «разноса» и повышения надежности работы САУ 31 установлены два датчика 38 и 40 частоты вращения (ДЧВ) вала детандера и генератора. Причем ДВЧ 40 кабелями связан со штатной САУ, ДЧВ 38 кабелями соединен с блоками 49 системы защиты от «разноса» (БСЗР) и с электромагнитными приводами 51 для принудительного закрытия газоподводящего клапана 33 и дополнительного стоп-устройства 34. Для надежности срабатывания системы защиты установлено два параллельно включенных БСЗР 49.
Кроме того, датчики 38 и 40 частоты вращения связаны между собой через устройства 37 и 48 сигнализации об отказе ДЧВ, которые в свою очередь связаны с блоками 47 переключения и затем с блоками БСЗР 49. На этих блоках имеются регулируемые «уставки» (задают максимально допустимые значения частоты вращения вала) на срабатывание системы защиты по частоте вращения вала. При отказе одного ДЧВ, второй с помощью блоков 47 переключения, а также блоков 37 или 48 сигнализации соединяется одновременно со штатной САУ и с БСЗР 49.
Защита от исчезновения электропитания САУ и дополнительных систем осуществляется через вариационный переключатель 52, который с одной стороны через трансформаторно-измерительный блок 54 соединен с электроцепью собственного генератора и с внешней электросетью, а с другой стороны – с САУ 31 и блоками БСЗР 49.
Предлагаемый способ реализуется системой, которая работает следующим образом.
Газ, поступающий от источника по трубопроводу 1, проходит через блок 2 фильтров и разделяется на две части. Одна часть через запорный орган 3 поступает в коллектор 4 ГРС, а затем через рабочий и резервный редукторы 5 и 6 давления с пониженным давлением газ поступает в коллектор 7. Далее через запорный орган 8 газ по трубопроводу 9 передается потребителям. Вторая часть потока газа поступает в коллектор 10. Из коллектора 10 газ через запорный орган с ручным приводом 15 поступает в ДГА 16 для выработки электроэнергии и холода за счет снижения его давления путем адиабатического расширения газа в детандере. Холодный газ из каждого ДГА проходит через теплообменник 21 блока отбора холода от газа, в котором он нагревается за счет проходящего встречного потока жидкого хладоносителя с более высокой температурой после блоков 29 холодильного производства. Газ из теплообменника 21 по трубопроводу поступает в коллектор 11 газа низкого давления и затем – в трубопровод 9 подачи газа потребителям. На трубопроводе 9 установлены датчики давления и температуры газа, которые передают электрические импульсы в общеблочный программный блок управления – компаратор 30, связанный с агрегатными щитами САУ 31, и используются для управления комплексом.
При одновременной работе ГРС и энергохолодильного блока с ДГА энергетический потенциал избыточного давления не полностью используется для выработки электроэнергии и холода. Поэтому целесообразно максимально или полностью пропускать газ через ДГА, а ГРС выводить в «горячий» резерв. Это возможно обеспечить путем поочередного введения в работу ДГА и закрытия редуцирующих линий на ГРС. По команде программного компаратора 30 для закрытия линии на ГРС открывается клапан 13, а клапан 14 закрывается. При этом в надмембранной полости появляется давление импульсного газа, и резервный редуктор 6 давления закрывается, а рабочий редуктор 5 остается в рабочем состоянии до момента открытия редуктора 6. Для открытия резервного редуктора 6 по команде программного компаратора 30 закрывается клапан 13, а клапан 14 открывается. Давление импульсного газа, подаваемого блокам 12 редукторов на управление редуктора 6 больше, чем давление, подаваемое в редуктор 5.
В случае вывода ГРС в резерв регулирование режима дросселирования осуществляется за счет функционирования регулируемых байпасных (перепускных) трубопроводов, смонтированных у каждого ДГА. Проходное сечение каждой линии перепуска газа эквивалентно проходному сечению трубопровода подачи газа в ДГА. Эта байпасная линия оборудуется регулирующим клапаном 17 и редуктором давления 18 с обратной связью, аналогично как на ГРС, реализуемой с помощью блока 19 редуктора, который подает импульсный газ в коллектор 20, а оттуда – на управление в каждый редуктор 18 давления.
Регулирующий клапан 17 имеет заданное значение – «уставку» максимальной степени его раскрытия. Величина ее определяется числом работающих ДГА при, по меньшей мере, одном ДГА, находящемся в резерве. Если при заданном раскрытии всех байпасных линий работающих ДГА расход газа через них равен номинальному расходу газа через один ДГА, подается команда (через компаратор) на включение резервного ДГА в работу. Такая ситуация возникает при увеличении газопотребления. В этом случае снижается давление газа в коллекторе 11 и от датчика 22 поступает импульс в программный компаратор 30, который выдает команду на раскрытие клапана 17. При этом возрастает дополнительный проход газа через клапан 17 по байпасной линии и этим обеспечивается повышение давления газа в коллекторе 11 до заданного уровня. В случае, когда все байпасные линии закрыты, а давление газа в коллекторе 11 повышается из-за снижения газопотребления, датчик 22 давления подает импульс в программный компаратор 30, и он выдаст команду в агрегатную САУ 31 на остановку сначала одного ДГА, затем и второго (при необходимости) до установления требуемого давления газа в коллекторе 11.
Предложенная схема газовой системы энергоблока при внештатной экстремальной ситуации может обеспечить редуцирование полного потока газа без ГРС при остановленных ДГА.
Как видно, при различных ситуациях редуцирующие возможности системы возрастают в три раза, что гарантирует устойчивость газоснабжения. Датчик 23 температуры газа на выходе из системы подает импульс в блок 30 только при снижении температуры до минус 12°С. При этом блок 30 по программе выдает команду на остановку одного или нескольких ДГА и увеличение перепуска газа через байпасные линии или на увеличение числа работающих «ниток» на ГРС, и температура газа возрастает. Холодный жидкий хладоноситель циркулирует по замкнутому контуру с помощью насоса 26. В БОХ он охлаждается, а в холодильном производстве нагревается, так как передает холод воздуху холодильных камер с помощью воздухоохладителей. Причем камеры холодильника разделены по уровням создаваемой в них температуры на четыре группы. В первой группе поддерживается максимально низкая, а в четвертой – максимально высокая температура.
Температура жидкого хладоносителя на выходе из холодильника может колебаться от 0 до плюс 6°С. Поэтому газ на выходе из теплообменника 21 БОХ соответственно может составлять от 0 до минус 5°С. Температура жидкого хладоносителя в теплообменнике 21 снижается в зависимости от степени расширения газа в ДГА.
Температура газа на входе в теплообменник 21 и температура жидкого хладоносителя на выходе из этого теплообменника контролируются датчиками 27 и 28, которые связаны с программным компаратором 30.
Подсистема предотвращения перегрузки ДГА при изменении давления в газоподводящем 10 и газоотводящем 11 коллекторах функционирует следующим образом. Колебания давления газа на входе в ДГА зависит от режима газоподачи источником, а колебания давления газа в отводящем коллекторе 11 определяются изменениями газопотребления по времени. Мощность ДГА определяется степенью снижения давления газа в его детандере. Для предотвращения возможности ее повышения за установленный максимальный уровень на входе и выходе газа установлены датчики 36 и 46 давления с электрическим выходом, которые передают свои импульсы в блок 56 управления клапанами. В этом блоке контролируется соотношение величин импульсов, и при превышении максимально допустимого значения выдаются команды через контактный блок 55 на прикрытие регулирующих клапанов 35 и 45. Подача команд должна осуществляться блоком 56 по программе в зависимости от причины превышения допустимого соотношения давлений газа на входе и выходе ДГА 16. Например, при снижении давления газа в коллекторе 11 должен быть прикрыт регулирующий клапан 45, а при повышении давления газа на входе в ДГА должен быть прикрыт регулирующий клапан 35, а возможно и регулирующие клапаны 32 и 50. Это зависит от уровня давления газа на входе в ДГА. Возможна ситуация, когда указанные клапаны должны прикрываться синхронно с клапаном 45.
Появление обратного тока неблагоприятно влияет на работу САУ, выводит из работы ДГА и свидетельствует о неисправности САУ. Для предотвращения этого явления в кабельную линию электропитания возбудителя 43 от САУ встроен контактный блок 53, который размыкает свои контакты при поступлении одновременно двух сигналов: стоп-устройство 33 закрыто, частота вращения вала детандера – номинальная. Это свидетельствует о том, что газ в ДГА не поступает, а роторы детандера и генератора вращаются с номинальной частотой за счет работы генератора в режиме электродвигателя. При размыкании контактов в блоке 53 электропитание возбудителя прекращается, и ДГА останавливается. Наиболее опасной ситуацией, влияющей на устойчивость газоснабжения, является «разнос» ДГА с его отказом или поломкой, сопровождаемой и другими непредсказуемыми негативными последствиями. Причинами этого являются неполадки, разрегулировки и отказы элементов САУ, а также нештатное снятие токовой нагрузки с генератора или открытие газовых запорных регулирующих органов. Поэтому для усиления штатной защиты от «разноса» ДГА вводится дополнительная защита второй ступени с помощью автономно (не связанное с САУ) функционирующей специальной подсистемы. Эта защита срабатывает в том случае, если не сработала штатная, и частота вращения вала генератора увеличивается выше штатной «уставки». Штатная система должна срабатывать при превышении номинальной частоты вращения на 10%, а в дополнительной системе «уставка» срабатывания настроена на превышение номинальной частоты вращения на 15%.
Дополнительный датчик частоты вращения ДЧВ 38 этой автономной подсистемы передает свои импульсы в два параллельно включенных БСЗР 49. Эти блоки настроены на срабатывание защиты при частоте вращения выше номинальной на 15%, то есть они сравнивают частоту импульсов датчика 38 с указанной «уставкой». При совпадении частот БСЗР 49 выдают импульсы на включение электромагнитных приводов 51 для принудительного закрытия клапана 33 подвода газа к ДГА (привод воздействует на рычаг ручного закрытия) и дополнительного стоп-устройства 34. Таким образом, одновременно закрываются два стоп-устройства 33 и 34 без участия САУ, т.е. перекрывается подача газа из коллектора 10 к ДГА и он при этом останавливается. При отказе ДЧВ 38 импульсы в БСЗР 49 поступают от второго ДЧВ 40. Это обеспечивается тем, что устройство 37 сигнализации дает сигнал об отказе датчика 38 и импульс на блок 47 для переключения БСЗР 49 на ДЧВ 40. Этим сохраняется работоспособность подсистемы защиты ДГА от «разноса» и одновременно сохраняется нормальная работа САУ 31. При отказе ДЧВ 40 в системе происходят аналогичные процессы, как и при отказе ДЧВ 38.
Как видно, наличие двух ДЧВ 38 и 40 обеспечивает нормальную работу САУ при отказе любого из указанных ДЧВ.
В целях повышения надежности работы САУ и подсистемы защиты ДГА от «разноса» их электропитание осуществляется от двух источников тока: от собственного генератора через блок 54 и от внешней сети через контактный блок 52 с вариационным переключателем, который использует любой из двух источников тока.
Приведенный выше материал дает основание заключить, что предложенные технические решения позволяют преодолеть ряд проблем, стоящих на пути эффективного использования энергетического потенциала технологических перепадов давления природного газа в системах добычи, подготовки и распределения его по потребителям.
Настоящее изобретение может быть применено на уже эксплуатируемом опытном энергоблоке с ДГА на ГРС «Южная» ГУП «Мосгаз» и на большом числе ГРС с энергохолодильным комплексом, которые планируется создать в ОАО «Газпром» на ГРС газовой системы России, в том числе и на 4÷6 Московских ГРС.
Формула изобретения
1. Способ снабжения потребителей природным газом с использованием газораспределительной станции (ГРС), имеющей несколько редуцирующих линий, при одновременной выработке электрической энергии и холода за счет энергии избыточного давления газа при редуцировании с использованием включенного параллельно ГРС энергохолодильного блока (ЭХБ), который имеет, по меньшей мере, один детандерно-генераторный агрегат (ДГА) с теплообменником, при этом используют редуцирующие линии ГРС с установленными на них средствами их автоматического открывания/закрывания синхронно с остановкой/включением ДГА для обеспечения взаимосвязанного функционирования ГРС с ЭХБ как единой газоредуцирующей системы с автоматическим поддержанием суммарного сечения ее органов для прохода газа при изменении режима подачи газа, давления газа на входе и числа работающих ДГА путем изменения числа открытых редуцирующих линий ГРС, причем поочередно включают в работу ДГА и синхронно с этим, также поочередно, автоматически закрывают редуцирующие линии ГРС, а при закрытии всех редуцирующих линий выводят ГРС в резерв в состоянии полной готовности к работе и перекрывают вход газа в коллектор ГРС и выход из нее газа управляемыми запорными органами, а при остановке ЭХБ или большинства ДГА открывают указанные запорные органы и редуцирующие линии ГРС, вводя ГРС в штатное функционирование.
2. Способ по п.1, отличающийся тем, что с помощью программного блока управления получают и хранят в памяти информацию об открытом или закрытом состоянии редуцирующих линий ГРС и ДГА и при появлении сигналов от датчика давления газа о повышении/понижении давления газа на выходе из системы с помощью блока управления по программе останавливают ДГА с открытием требуемого числа резервных редуцирующих линий ГРС или запускают резервный ДГА с закрытием редуцирующих линий ГРС для обеспечения взаимосвязанного и согласованного функционирования ГРС и ЭХБ и поддержания заданного давления газа на выходе из системы при переменном газопотреблении.
3. Способ по п.1, отличающийся тем, что используют ЭХБ с газовой системой, в которой параллельно каждому ДГА включена, по меньшей мере, одна регулируемая редуцирующая байпасная линия между входом и выходом газа ЭХБ и автоматически регулируют степень ее раскрытия по импульсу сигнала от датчиков давления газа на выходе ЭХБ, обеспечивая требуемую потребителями переменную по времени подачу газа без участия ГРС, причем максимальный расход газа через каждую байпасную линию ЭХБ выбирают равным номинальному расходу газа через ДГА, создавая, таким образом, дополнительный блок редуцирования полного потока газа без участия ГРС при неработающих ДГА.
4. Способ по п.1, отличающийся тем, что в дополнение к штатной системе автоматического управления (САУ) ДГА используют автономные дополнительные, дублирующие штатную САУ, подсистемы и средства защиты ДГА от перегрузки по мощности, от появления обратного тока в генераторе, от превышения частоты вращения генератора, от исчезновения электропитания САУ.
5. Система снабжения потребителей природным газом, содержащая газораспределительную станцию (ГРС) с несколькими редуцирующими линиями, имеющими каждая один рабочий и один резервный редукторы давления (РД), включенный параллельно ГРС энергохолодильный блок (ЭХБ), включающий, по меньшей мере, один детандерно-генераторный агрегат (ДГА), по меньшей мере, один теплообменник для охлаждения жидкого теплоносителя, соединенный с, по меньшей мере, одним выходом газа из ДГА, и, по меньшей мере, одну холодильную камеру, вход природного газа в редуцирующие линии ГРС и вход в коллектор подачи газа в ДГА соединены с источником газа, а выходы из редуцирующих линий ГРС соединены с трубопроводом подачи газа потребителям, отличающаяся тем, что выход теплообменника соединен с коллектором, который также соединен с трубопроводом подачи газа потребителям, причем для обеспечения согласованной работы ГРС с энергоблоком ДГА каждый резервный РД на редуцирующих линиях ГРС оснащен управляемым клапаном для подачи и сброса импульсного газа по команде САУ: на закрытие РД при пуске ДГА и на открытие РД при остановке ДГА, а также на закрытие всех редуцирующих линий ГРС при выводе ГРС в резерв.
6. Система по п.5, отличающаяся тем, что трубопроводы подвода и отвода газа каждого ДГА соединены регулируемой байпасной линией для обеспечения прохода и редуцирования всего потока газа без использования ГРС.
7. Система по п.5, отличающаяся тем, что она снабжена программным блоком управления, который соединен с штатными САУ, датчиками давления и температуры газа, управляющими клапанами на резервных РД резервных линий ГРС.
8. Система по п.6, отличающаяся тем, что каждая регулируемая байпасная линия ДГА оснащена автоматически управляемым регулирующим клапаном (РК) и редуктором давления газа, установленным за РК по ходу газа и соединенным обратной газовой связью через импульсную трубку с трубопроводом подачи газа потребителям, причем каждый РК имеет регулируемое максимально допустимое значение его предельного положения раскрытия, которое задано в зависимости от числа работающих ДГА, а САУ выполнена с возможностью подачи при достижении суммарного по всем байпасным линиям расхода газа, равного номинальному расходу газа одного ДГА, команды на включение в работу дополнительного ДГА, при закрытых же байпасных линиях и повышенном давлении газа на выходе ЭХБ – команды на остановку сначала одного, а при потребности и большего числа ДГА.
9. Система по п.5, отличающаяся тем, что для предотвращения перегрузки ЭХБ по мощности непосредственно на входе газа в ДГА и на его выходе из ДГА установлены датчики давления, а на выходе за каждым датчиком давления по ходу газа установлен автоматически регулируемый клапан (РК) с возможностью регулирования степени открытия РК на входе и выходе ДГА по сигналам от соответствующих датчиков давления и поддержания тем самым степени снижения давления газа в ДГА не выше допустимого значения при любых изменениях давлений газа на входе и выходе в ЭХБ.
10. Система по п.5, отличающаяся тем, что на линии подвода электропитания от САУ к возбудителю генератора установлен выключатель с возможностью разрыва этой линии и обесточивания возбудителя по импульсу, формируемому по наличию одновременно сигнала о закрытии штатного запорного органа на подводе газа к ДГА и сигнала о вращении ротора генератора с номинальной частотой.
11. Система по п.5, отличающаяся тем, что на ДГА установлены два датчика частоты вращения его вала с возможностью независимой подачи импульсов с одного из них в штатную САУ, а со второго – в параллельно соединенные блоки преобразования импульсов от датчика частоты вращения в импульс закрытия штатного запорного органа на входе газа к ДГА с помощью дополнительного исполнительного устройства, а заданное значение частоты вращения в блоках преобразования импульсов от датчика на срабатывание защиты установлено выше штатного значения для обеспечения двухступенчатой защиты ДГА от перегрузки.
12. Система по п.11, отличающаяся тем, что в линиях передачи импульсов от датчиков частоты вращения вала ДГА установлены устройства сигнализации об отказе каждого датчика, каждое из которых связано с соответствующим переключателем с возможностью передачи импульсов от работающего датчика частоты вращения одновременно в штатную САУ и в блоки преобразования импульсов в автономный импульс закрытия штатного запорного органа на входе газа в ДГА.
13. Система по п.11, отличающаяся тем, что САУ и блок преобразования импульсов датчика частоты вращения вала ДГА выполнены с возможностью подачи электропитания от сетей собственного генератора и от внешней электросети через блок переключения.
14. Система по п.5, отличающаяся тем, что внутри коллектора подачи газа к ДГА размещен подключенный к источнику газа трубопровод с кольцевыми дисками, которые разделяют межтрубное пространство коллектора на отсеки-ресиверы по числу ДГА, а для подвода газа в каждый отсек-ресивер в боковой поверхности трубопровода с кольцевыми дисками выполнены отверстия, суммарная площадь сечения которых в каждом отсеке-ресивере в 1,5-2 раза больше площади сечения соответствующего трубопровода подачи газа из данного отсека-ресивера к ДГА.
РИСУНКИ
|
|