Изобретение относится к области водородной энергетики – аккумулированию, хранению и высвобождению водорода для использования в автомобилях и стационарных энергетических установках. В аккумуляторе водорода пучок капилляров выполнен в виде монолита, собранного из капилляров большего радиуса, в промежутках между капиллярами большего радиуса расположены капилляры меньшего радиуса. Торцовая поверхность монолита закрыта диффузором, выполненным из стекла с добавлением в него 0,5-0,7% вес. окисла Fe2О3 или NiO, с противоположной стороны монолита торцы капилляров герметично закрыты заглушками из стекла. Больший радиус капилляра относится к меньшему радиусу как 2,5 к 1. Капилляры выполнены из магнийалюмосиликатного стекла с составом: SiO2 – 58÷60% вес.; Al2O3 – 23,5÷25,5%; CaO+MgO – 14÷17%; прочие компоненты – 2% или боросиликатного стекла с составом: SiO2 – 72% вес.; В2О3 – 25%; Al2О3 – 1%; LiO2 – 0,5%; Na2O – 0,5%; К2О – 1%. Использование изобретения позволит упростить конструкцию аккумулятора водорода, повысить относительное массовое содержание водорода, обеспечить возможность многократного использования аккумулятора при высокой его надежности и долговечности. 2 з.п. ф-лы, 4 ил.
Изобретение относится к области водородной энергетики – аккумулированию, хранению и высвобождению водорода для использования в автомобилях и стационарных энергетических установках.
Известна емкость для хранения водорода, состоящая из герметичного корпуса, технологических патрубков, внутренней теплообменной поверхности и наполнителя-аккумулятора водорода, представляющего собой порошок интерметаллида. Патент РФ №2037737, МПК F17С 5/04, 2006.
Недостатками изобретения является то, что поглощение и выделение водорода происходит со значительными тепловыми эффектами, а массовое содержание водорода не превышает 4,5%.
Известна емкость для хранения водорода, состоящая из герметичного корпуса, технологических патрубков, нагревателя и наполнителя-аккумулятора водорода, размещенного в корпусе. Наполнитель-аккумулятор водорода представляет собой полые микросферы, скрепленные между собой в единую жесткую структуру, сформированную послойно из микросфер разного диаметра. Диаметр микросфер уменьшается от центрального слоя к периферийному слою. На внешней поверхности жесткой структуры может быть выполнено покрытие из металла, эффективно поглощающего водород, например палладия, или никеля, или сплава лантана с никелем. В качестве материала микросферы используют сталь, или титан, или лантан, или никель, или цирконий, или сплавы на основе этих металлов или графит, или композиции на основе графита. Микросферы из металла могут быть закреплены между собой диффузионной сваркой. Патент Российской Федерации №22676944, МПК F17С 11/00, 2006 г.
Известна емкость для хранения и аккумулирования водорода, состоящая из герметичного корпуса, технологических патрубков, нагревателя и наполнителя-аккумулятора водорода. Аккумулятор водорода размещен в корпусе, емкость разделена перегородкой из протонопроводящего материала на анодную полость, заполненную водой, с расположенным в ней пористым анодом, катодную полость, с расположенным в ней сплошным катодом и нагревателем. При этом перегородка выполнена в виде протонопроводящей мембраны. Микропористая структура выполнена из полых микросфер. Кроме того, микропористая структура выполнена из полимеров группы арамидов. Микропористая структура может быть выполнена из пенометалла, например пеноникеля, пенотитана. Кроме того, микропористая структура выполнена из материала с протонопроводящими свойствами. Патент Российской Федерации №2285859, МПК F17С 11/00, 2006 г.
Общим недостатком известных систем является повышенное энергопотребление и сравнительно высокая инерционность процесса освобождения водорода.
Системы с жидким водородом или баллонами высокого давления обладают очевидными недостатками: отсутствием гибкости конфигурации, высоким весом и объемом баллонов высокого давления, что делает весьма затруднительным и практически нецелесообразным их использование на современных автомобилях при существующих технологиях автомобилестроения.
Известна емкость для хранения водорода, представляющая собой герметичный кожух с внутренним сосудом для содержания компремированного водорода под давлением 400 бар.
При массе баллона 40 кг и объеме 90 литров запас водорода, составляющий 3,2 кг, означает достижение относительного массового содержания водорода на уровне 8%. Недостатком емкости является ее взрывоопасность и низкое объемное содержание водорода, не превышающее 35 г/л. Патент Российской Федерации №2222749, МПК F17С 5/04, 2006 г.
Известен аккумулятор водорода, выполненный в виде пучка полых капилляров из стекла или полимера, или углерода, на внешнюю поверхность пучка нанесено покрытие из металла; при этом капилляры выполнены с разными диаметрами, диаметр внешних капилляров меньше диаметра внутренних капилляров; торцы капилляров соединены с коллектором, а на торцевых поверхностях пучка капилляров выполнено покрытие в виде слоя материала с высокой проницаемостью для водорода или низкой температурой плавления, или с низкой температурой деструкции; на уровне этого покрытия расположен нагреватель. Патент Российской Федерации №2283454, МПК F17С 11/00, прототип.
Общим недостатком известных систем хранения водорода является повышенное энергопотребление на омический нагрев аккумулирующего материала и сравнительно высокая инерционность процесса освобождения водорода. Для эффективной работы автомобиля время старта освобождения водорода – до достижения полного потока, а также времена переходных режимов (10-90% или 90-0%) не должны превышать 0,5 с.
Кроме того, недостатком является наличие технологических патрубков, предусматривающих необходимость сочленения водородных контейнеров с арматурой топливной системы автомобиля (энергетической установки) при установке контейнеров, что ведет к усложнению конструкции, снижению надежности и уменьшению ресурса работоспособности контейнеров такого типа.
Данное изобретение устраняет недостатки аналогов и прототипа.
Задачей изобретения является обеспечение возможности применения в бортовой системе автомобиля заменяемых аккумуляторов водорода с повышенным удельным содержанием, обеспечение зарядки свежим водородом на автозаправочных станциях, повышение относительного массового содержания водорода, обеспечение возможности многократного использования аккумулятора при высокой его надежности и долговечности. Техническим результатом изобретения является упрощение конструкции аккумулятора водорода, повышение относительного массового содержания водорода, обеспечение возможности многократного использования аккумулятора при высокой его надежности и долговечности.
Технический результат изобретения достигается тем, что в аккумуляторе водорода, содержащем пучок стеклянных капилляров разного диаметра, на торцевых поверхностях которого расположен слой материала, проницаемого для водорода, пучок капилляров выполнен в виде монолита, собранного из капилляров большего радиуса, в промежутках между капиллярами большего радиуса расположены капилляры меньшего радиуса, а размер каждого капилляра выбран из соотношения:
0,01
/r
0,2,
где r – радиус капилляра,
– толщина стенок капилляра,
с одной стороны торцовая поверхность монолита закрыта диффузором толщиной в пределах от 2 до 5 толщин стенок капилляров большего размера, выполненного из стекла с добавлением в него 0,5 – 0,7% вес. окисла Fe2О3 или NiO, с противоположной стороны монолита торцы капилляров герметично закрыты заглушками из стекла, промежутки между самими капиллярами открыты, монолит расположен в кожухе 7 из радиопрозрачного материала, который снабжен рукояткой, в кожухе со стороны рукоятки выполнены вырезы. Больший радиус капилляра относится к меньшему радиусу как 2,5 к 1. Капилляры выполнены из магнийалюмосиликатного стекла с составом: SiO2 – 58÷60% вес.; Al2О3 – 23,5÷25,5%; СаО+MgO – 14÷17%; прочие компоненты – 2%
или боросиликатного стекла с составом: SiO2 – 72% вес.; В2O3 – 25%; Al2O3 – 1%; LiO2 – 0,5%; Na2O – 0,5%; K2O – 1%.
Достижение технического результата предполагает использование двух дополняющих друг друга механизмов изменения диффузионной проницаемости стекла для водорода:
– повышение проницаемости стенок стеклянного капилляра путем СВЧ-нагрева всей массы водорода, заключенного внутри герметизированного контейнера;
– повышение проницаемости стекла при воздействии на него инфракрасным излучением управляемой интенсивности, когда практически мгновенно возрастает до несколько порядков величины, причем это явление особенно ярко выражено, если в составе стекла имеется добавка Fe2О3 или NiO в небольшой доле (около 0,5-0,7% вес.). Максимальная спектральная плотность энергии инфракрасного излучения приходится преимущественно на область длин волн вблизи 2785 нм.
Сущность изобретения поясняется на фиг.1-4.
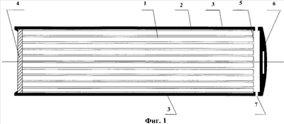
На фиг.1 схематично представлена структура аккумулятора водорода в продольном разрезе, где 1 – капилляр; 2 – стеклянная оболочка; 3 – кожух картриджа; 4 – пластина диффузора из стекла; 5 – герметизирующая заглушка; 6 – рукоятка картриджа; 7 – отверстия для пропуска водорода.
На фиг.2 схематично показана структура аккумулятора водорода в поперечном сечении, где 1 – капилляр; 2 – стеклянная оболочка; 3 – кожух аккумулятора водорода; 8 – торец тонкого капилляра.
На фиг.3 схематично показано устройство аккумулятора водорода с торца, закрытого пластиной диффузора, где 1 – капилляр; 2 – стеклянная оболочка; 3 – кожух аккумулятора водорода; 4 – пластина диффузора, 8 – торец тонкого капилляра.
На фиг.4 схематично показано устройство аккумулятора водорода с торца, снабженного рукояткой, где 1 – капилляр; 2 – стеклянная оболочка; 3 – кожух аккумулятора водорода; 5 – торцы “толстых” капилляров, закрытые герметизирующими заглушками 5; 8 – торцы “тонких” капилляров, закрытые герметизирующими заглушками 5.
Аккумулятор состоит из пакета капилляров 1, заключенных в стеклянную оболочку 2, помещенную в кожух 3 из радиопрозрачного материала (пластмассы).
Пакет капилляров выполнен в виде монолита, собранного из капилляров двух размеров капилляров: капилляров 1 – «толстых» и капилляров 8 – «тонких». Оси «толстых» капилляров 1 образуют в поперечном сечении прямоугольную сетку, а «тонкие» капилляры 8 заполняют промежутки между плотно упакованными капиллярами 1 большего диаметра (Фиг.2). Диаметр «толстых» капилляров 1 может иметь размеры в пределах от 20 до 200 мкм, преимущественно в диапазоне 50÷80 мкм, при этом диаметр «тонких» капилляров 8 соотносится с диаметром «толстых» капилляров как 1:2,5. При такой упаковке капилляров 1 и 8 в пакете показатель относительной плотности их компоновки по объему пакета достигает максимальной величины 0,87 и превосходит плотность компоновки равновеликих микросфер в 3-мерной упаковке, которая не превышает величины 0,75. Используемый для изготовления капилляров 1 и 8 материал должен быть легким и прочным (предел прочности желательно в диапазоне 4÷5 тыс. МПа) при уровне энергии активации водородной проницаемости при нагреве не менее 55÷60 кДж/моль.
В данном устройстве капилляры 1 и 8 выполнены из магнийалюмосиликатного стекла с составом: SiO2 – 58÷60% вес.; Al2О3 – 23,5÷25,5%; СаО+MgO – 14÷17%; прочие компоненты – 2% или боросиликатного стекла с составом: SiO2 – 72% вес.; В2О3 – 25%; Al2О3 – 1%; LiO2 – 0,5%; Na2O – 0,5%; K2O – 1%.
Толщина стенок стеклянных капилляров 1 и 8 определена в зависимости от прочностных свойств стекла и величины рабочего давления водорода в них. Радиус и толщина стенок определена отношением: 0,01
/r
0,2, где r – радиус капилляра,
– толщина стенок капилляра, независимо от того, какие это капилляры: капилляры 1 «толстые» или капилляры 8 «тонкие». Толщина стенок стеклянных капилляров 1 и 8 находится в диапазоне 0,01÷0,2 соотношений между толщиной стенок
и радиусом капилляров 1 и 8 от величины соотношения
/r и зависит предельное допустимое давление водорода в капиллярах 1 и 8 при заданном материале его стенок. Пакет капилляров по наружной поверхности плотно охвачен стеклянной оболочкой 2 из такого же стекла, из которого изготовлены капилляры 1 и 8. С одной стороны торцовая поверхность пакета плотно закрыта (впаяна) плоским диффузором 4, представляющим собой пластину толщиной в пределах от 2 до 5 толщин стенок “толстых” капилляров 1.
Материалом диффузора служит такое же стекло с добавлением в него 0,5-0,7% вес. окисла Fe2О3 или NiO. С противоположной стороны (Фиг.4) торцы капилляров 1 и 8 герметично закрываются заглушками 5 из того же материала, из которого выполнены капилляры 1 и 8, причем их толщина может превышать толщину стенок капилляров. При этом промежутки между самими капиллярами 1 и 8 остаются открытыми. Пакет капилляров фиксируется в кожухе 7 из радиопрозрачного материала, теплоустойчивого до температур, по крайней мере, 350÷400°С (пластмассы), который снабжен рукояткой 6, используемой для перемещения аккумулятора в топливный отсек автомобиля или бокса зарядки на автозаправочной станции. Кожух 7 в области тыльной стороны (со стороны рукоятки 6) имеет вырезы, обеспечивающие свободный выход водорода, вытекающего из пакета капилляров 1 и 8 (на фиг.1 условно показаны отверстиями 7).
Аккумулятор водорода работает следующим образом.
Заряженный водородом аккумулятор помещают в одно из герметизированных гнезд (боксов) топливного отсека автомобиля или энергоустановки. На диффузор 4 воздействуют инфракрасным излучением, под воздействием которого проницаемость диффузора 4 возрастает в несколько порядков от начальной величины, водород начинает выходить сквозь него через торцовые сечения капилляров 1 и 8. При воздействии на пакет капилляров 1 и 8 СВЧ-излучения находящийся в капиллярах 1 и 8 водород нагревается до температуры 250÷300°С. Стенки капилляров 1 и 8 становятся проницаемыми для водорода, и водород, находящийся внутри капилляров 1 и 8 под высоким давлением, выходит сквозь стенки и по межкапиллярным промежуткам истекает из аккумулятора, и попадает в силовую установку.
1. Аккумулятор водорода, содержащий пучок полых стеклянных капилляров разного диаметра, на торцевых поверхностях которого расположен слой материала, проницаемого для водорода, отличающийся тем, что пучок полых капилляров выполнен в виде монолита, собранного из капилляров большего радиуса, в промежутках между капиллярами большего радиуса расположены капилляры меньшего радиуса, а размер каждого капилляра выбран из соотношения 0,01
/r
0,2,
2. Аккумулятор водорода по п.1, отличающийся тем, что больший радиус капилляра относится к меньшему радиусу как 2,5 : 1.
3. Аккумулятор водорода по п.1, отличающийся тем, что капилляры выполнены из магнийалюмосиликатного стекла с составом, вес.%: