|
|
(21), (22) Заявка: 2005124990/06, 05.08.2005
(24) Дата начала отсчета срока действия патента:
05.08.2005
(43) Дата публикации заявки: 10.02.2007
(46) Опубликовано: 10.02.2009
(56) Список документов, цитированных в отчете о поиске:
SU 225654 A, 29.08.1968. SU 641222 A, 05.01.1979. SU 987274 A, 07.01.1983. SU 1460525 A1, 23.02.1989. GB 1063362 A, 30.03.1967. WO 2005021348 A, 10.03.2005.
Адрес для переписки:
620026, г.Екатеринбург, ул. Куйбышева, 44, оф.311, ООО “Городисский и Партнеры”, Б.С. Оборину
|
(72) Автор(ы):
Лаховский Михаил Яковлевич (RU), Минухин Леонид Аронович (RU)
(73) Патентообладатель(и):
Лаховский Михаил Яковлевич (RU)
|
(54) КОНДЕНСАТООТВОДЧИК
(57) Реферат:
Изобретение относится к устройствам для отвода конденсата из паропотребляющего оборудования. Конденсатоотводчик содержит вертикальный корпус с установленными в его верхней части тангенциальным входным штуцером для газопаросодержащего конденсата, выходным штуцером для отвода газа или пара и выходным штуцером для отвода конденсата, он снабжен полым цилиндром из пористого гидрофобного материала, который расположен во внутренней полости корпуса так, что между внутренней стенкой корпуса и внешней поверхностью цилиндра образовано кольцевое пространство, причем под полым цилиндром размещена воронка с патрубком и вертикальными пластинами для гашения вращения конденсата, расположенными на ее внутренней конусной поверхности. Выходной штуцер для отвода конденсата расположен в корпусе на уровне конусной части воронки. В качестве пористого гидрофобного материала выбрана порокерамика, гидрофобизированная, например, кремнийорганическим соединением. Кроме того, для предотвращения вторичного каплеуноса из внутреннего объема полого цилиндра, он имеет днище с патрубком, который размещен внутри воронки с присоединенным к ней патрубком. Изобретение направлено на повышение эксплуатационной надежности конденсатоотводчика, за счет создания конструкции для отделения пара и газа от конденсата, не содержащей движущихся частей. 3 з.п. ф-лы, 3 ил.
Изобретение относится к энергосберегающему оборудованию, применяемому в энергетике, химической, пищевой и других отраслях промышленности, а именно, к устройствам для отвода конденсата из паропотребляющего оборудования.
Известен конденсатоотводчик, содержащий вертикальный корпус с продольными ребрами, установленные в верхней части корпуса тангенциальный входной и выходной для газа и пара патрубки, патрубок для отвода конденсата в днище, размещенный в корпусе конический поплавок, взаимодействующий конусом с выходным патрубком для газа и пара и нижним торцом с патрубком для отвода конденсата. В днище для отвода конденсата установлена втулка с радиальными пазами, а поплавок снабжен прикрепленными к нижнему торцу штоком, размещенным в патрубке для отвода конденсата и выполненным со ступенчато уменьшающимся в направлении упомянутого патрубка поперечным сечением, (см описание к патенту РФ №1325246, МПК (4) F16T 1/22 от 05.11.1985 г.).
Наиболее близким по технической сущности является конденсатоотводчик, содержащий вертикальный корпус с продольными ребрами на внутренней поверхности, установленные в верхней части корпуса тангенциальный входной и выходной для газа или пара патрубки, патрубок для отвода конденсата в днище корпуса, размещенные в корпусе конический поплавок, взаимодействующий с конусом с входным патрубком для газа или пара, а нижним торцом со ступенчато уменьшающимся штоком с патрубком для отвода конденсата, на котором установлена втулка с радиальными пазами. Втулка с радиальными пазами выполнена из биметалла, причем на внутренней поверхности радиальных пазов выполнены криволинейные канавки (см описание к патенту РФ №2238473, МПК (7) F16T 1/22 от 17.03.2003 г.).
К недостаткам известной конструкции следует отнести ее сложность из-за наличия множества составных, в том числе движущихся частей, и недостаточную степень отделения газопаровой фазы от конденсата, а это снижает эксплуатационную надежность конденсатоотводчика.
Техническая задача, на решение которой направлено изобретение, – повышение эксплуатационной надежности конденсатоотводчика, за счет создания конструкции для отделения пара и газа от конденсата, не содержащей движущихся частей.
Указанный технический результат достигается за счет того, что в известном конденсатоотводчике, содержащем вертикальный корпус с установленными в его верхней части тангенциальным входным штуцером для газопаросодержащего конденсата, выходным штуцером для отвода газа или пара и выходным штуцером для отвода конденсата, он снабжен полым цилиндром из пористого гидрофобного материала, который расположен во внутренней полости корпуса так, что между внутренней стенкой корпуса и внешней поверхностью цилиндра образовано кольцевое пространство, причем под полым цилиндром размещена воронка с патрубком и вертикальными пластинами для гашения вращения конденсата, расположенными на ее внутренней конусной поверхности. Выходной штуцер для отвода конденсата расположен в корпусе на уровне конусной части воронки. В качестве пористого гидрофобного материала выбрана порокерамика, гидрофобизированная, например, кремнийорганическим соединением. Кроме того, для предотвращения вторичного каплеуноса из внутреннего объема полого цилиндра, он имеет днище с патрубком, который размещен внутри воронки с присоединенным к ней патрубком.
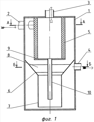
Заявляемый конденсатоотводчик поясняется чертежами, где:
на фиг 1. – изображен фронтальный разрез общего вида конденсатоотводчика;
на фиг.2 – поперечный разрез А-А конденсатоотводчика по оси входного штуцера;
на фиг.3 – поперечный разрез Б-Б конденсатоотводчика по оси выходного штуцера.
Конденсатоотводчик содержит цилиндрический вертикальный корпус 1, с установленным в верхней части тангенциальным входным штуцером 2, выходным штуцером 3 для отвода пара или газа и выходным штуцером 4 для отвода конденсата. Во внутренней полости корпуса 1 установлен полый цилиндр 5, из пористого гидрофобного материала. В нижней части корпуса 1 расположена воронка 6, разделяющая его внутреннюю полость, и с соосным ему патрубком 7, направленным к его донной части. На внутренней конусной части воронки 6 размещены вертикально расположенные пластины 8 для гашения вращения конденсатного потока. Полый цилиндр 5 имеет днище 9 с патрубком 10, расположенным внутри воронки 6, и присоединенного к ней патрубка 7
Конденсатоотводчик работает следующим образом.
Газопаросодержащий поток конденсата подают через тангенциальный входной штуцер 2 в полость корпуса 1, где под действием инерционных, центробежных и гравитационных сил он приобретает спиралевидную форму движения, вращаясь в кольцевом пространстве между цилиндрическими поверхностями (наружной полого цилиндра 5 и внутренней корпуса 1), одновременно опускаясь сверху вниз. В результате взаимодействия центробежной и архимедовой силы для вращающейся среды жидкая фаза потока (конденсат) отжимается к внутренней поверхности корпуса 1, а газообразная фаза (пар и газ) – к наружной поверхности полого цилиндра 5. Пар и газ, “отжатые” к поверхности полого цилиндра 5, проходят через поры этого цилиндра и выводятся из внутренней полости цилиндра 5 через штуцер 3. Конденсат, отжатый к внутренней поверхности корпуса 1, опускается к воронке 6, в которой благодаря сопротивлению вертикальных пластин 8, гасит свое вращательное движение и уже без вращения опускается по патрубку 7 к донной части конденсатоотводчика. Большая часть конденсата, попавшая на наружную поверхность полого цилиндра 5 за счет гидрофобных свойств его поверхности, лишена возможности проникновения вовнутрь цилиндра через его поры, и, в виде капель, под действием гравитационных сил скатывается вниз в воронку 8, где смешивается с основным потоком конденсата. Отдельные мельчайшие капли конденсата, прошедшие через поры полого цилиндра 5, в виде мелких капель скатываются по внутренней поверхности полого цилиндра 5 к днищу 9 и через патрубок 10 сливаются в полость патрубка 7, где также смешиваются с основным потоком конденсата.
Конденсат через зазор между нижним срезом патрубка 7 и днищем конденсатоотводчика перетекает в кольцевое пространство между наружной поверхностью патрубка 7 и внутренней поверхностью корпуса 1. Далее конденсат поднимается в этом кольцевом пространстве до уровня выходного патрубка 4 и удаляется из конденсатоотводчика.
Наличие столбов жидкости одновременно внутри и снаружи патрубка 7 образует гидрозатвор для парогазовой среды и препятствует проникновению пара и газа в выходящий через штуцер 4 поток конденсата.
Проведенные OOO “Комос” лабораторные исследования заявляемого конденсатоотводчика показали его более высокую эффективность и эксплуатационную надежность в сравнении с известным (прототипом).
Формула изобретения
1. Конденсатоотводчик, содержащий вертикальный корпус с установленными в его верхней части тангенциальным входным штуцером для газопаросодержащего конденсата, выходным штуцером для отвода газа или пара и выходным штуцером для отвода конденсата, отличающийся тем, что он снабжен полым цилиндром из пористого гидрофобного материала, который расположен во внутренней полости корпуса так, что между внутренней стенкой корпуса и внешней поверхностью цилиндра образовано кольцевое пространство, причем под полым цилиндром размещена воронка с патрубком и вертикальными пластинами для гашения вращения конденсата, расположенными на ее внутренней конусной поверхности.
2. Конденсатоотводчик по п.1, отличающийся тем, что выходной штуцер для отвода конденсата расположен в корпусе на уровне конусной части воронки.
3. Конденсатоотводчик по п.1, отличающийся тем, что в качестве пористого гидрофобного материала выбрана порокерамика, гидрофобизированная, например, кремнийорганическим соединением.
4. Конденсатоотводчик по п.1, отличающийся тем, что полый цилиндр имеет днище с патрубком, который размещен внутри воронки с присоединенным к ней патрубком.
РИСУНКИ
|
|