Изобретение относится к машиностроению. Затвор повышенной герметичности и вибрационной стойкости с усиленным стопорением для сосудов и аппаратов, работающих под внутренним или наружным давлением, и имеющий на крышке и корпусе отбортовки, направленные в противоположные стороны с расположенным между ними Х-образным уплотнителем и откидными захватами, расположенными равномерно по окружности, имеет цилиндрический бандаж, закрепленный на корпусе сосуда или аппарата, на котором нарезана упорная усиленная резьба, такая же ответная резьба нарезана на цилиндрическом прямозубом зубчатом колесе, которое по ней навернуто на бандаж. Цилиндрическое зубчатое колесо находится в зацеплении с длинной прямозубой шестерней, которая находится на валу, связанном с ручным и механическим приводами. В закрытом положении затвора зубчатое колесо своим боковым выступом прижато к торцу наружного силового кольца, которое упирается внутренней конической частью на спинки захватов. В открытом положении наружное силовое кольцо задней частью центрируется на боковом направляющем цилиндрическом выступе зубчатого колеса, а передней частью центрируется и удерживается возвратно-поддерживающим устройством, которое состоит из выступа, расположенного по окружности кольца и имеющего в поперечном сечении Г-образную форму. Носик Г-образного выступа входит в паз накладки. Накладка, в свою очередь, крепится болтами на тягах, расположенных равномерно по окружности и закрепленных болтами на боковом цилиндрическом выступе. Осевое усилие, передаваемое от резьбы зубчатого колеса на резьбу бандажа, воспринимается стопорами, равномерно расположенными по окружности и входящими в прорези как бандажа, так и накладного листа и швеллеров, приваренных к корпусу сосуда или аппарата. Стопоры закреплены на бандаже болтами. Технический результат изобретения – повышение надежности стопорения затвора в рабочем состоянии. 2 ил.
Изобретение относится к машиностроению, в частности к герметичным затворам для сосудов и аппаратов, работающих под внутренним или наружным давлением. Известны герметичные затворы, работающие под давлением или вакуумом.
Аналогом (прототипом) является изобретение RU 2268428 С1 «Затвор повышенной герметичности и вибрационной стойкости для сосудов и аппаратов, работающих под внутренним или наружным давлением». Признаками аналога, совпадающими с заявляемым изобретением, являются:
а) наличие отбортовок на крышке и корпусе затвора, направленных в противоположные стороны;
б) форма отбортовок, выполненная по параболе или окружности;
в) наличие уплотнителя Х-образной формы, выполненного эластичным с лепестками, расположенными на отбортовках по всей окружности уплотнителя с выпуклыми уплотнительными поясками по центру симметрично вертикальной оси уплотнителя;
г) наличие у Х-образного уплотнителя лепестка, расположенного на отбортовке корпуса, имеющего сплошной замковый паз, в который входит кромка отбортовки корпуса;
д) наличие металлических нажимных и эластичных колец, уложенных в отбортовках крышки и корпуса;
е) нажимные кольца, которые крепятся к эластичному кольцу с помощью винтов, ввертываемых в резьбовые отверстия, выполненные в металлическом нажимном кольце;
ж) наличие центрирующих стопоров из электровибрационных материалов, закрепленных на внутренней поверхности кромки отбортовки крышки;
з) нажимное и эластичное кольца в отбортовке корпуса, которые центрируются лепестком замкового паза уплотнителя и удерживаются в осевом направлении нажимными штырями;
и) наличие откидных, расположенных равномерно по окружности захватов, имеющих нажимную носовую часть, хвостовую с роликом и спинку захвата, выполненную в виде наклонной плоскости. Спинка захвата, прилегающая к наружному силовому кольцу, выполнена в продольном сечении по логарифмической спирали;
к) наличие на нажимном штыре металлических регулировочных шайб;
л) наличие плавающих в направляющих на корпусе и имеющих нажимную часть кронштейнов для крепления захватов;
м) наличие наружного силового кольца с внутренним конусом; угол наклона образующей конуса к горизонтальной оси составляет 3-6 градусов;
н) наличие хомутного стягивающего устройства, которое при затяжке равномерно по всему периметру прижимает лепестки уплотнителя к отбортовкам; хомутное стягивающее устройство представляет собой замкнутое металлическое кольцо с затяжным устройством, состоящим из двух щек на концах кольца, между которыми расположены затяжной винт и эластичный стержень, расположенный на полочках, закрепленных на щеках и отстоящих от винта на некотором расстоянии; поверхность эластичного стержня, прилегающего к лепесткам уплотнителя, выполнена седловидной; радиус кривизны поверхности в каждом сечении эластичного стержня имеет точку касания с лепестками, образуя вдоль седла линию касания, а при затянутом состоянии охватывающего кольца – узкую поверхность касания; охватывающее металлическое кольцо подвешено сверху на двух тросиках, перекинутых через блоки, установленные на кронштейнах, закрепленных на корпусе сосуда или аппарата.
К недостаткам аналога можно отнести следующие факторы:
– есть неиспользованные возможности по стопорению механизма затвора, увеличению его самоторможения;
– нет четкой центровки хвостовой части наружного силового кольца, так как направление наружному силовому кольцу при движении в сторону захватов дают направляющие двутавры, расположенные сзади кольца в подпружиненных гнездах;
– расположенные по окружности затвора направляющие двутавры наружного силового кольца занимают место, куда бы могли войти захваты, что снизило бы нагрузку на каждый захват;
– применение гидравлических цилиндров требует наличия гидравлической станции, что увеличивает габариты всей установки;
– отсутствует ручное управление, что может отрицательно сказаться в аварийных ситуациях.
Задачами, на решение которых направлено заявляемое изобретение, являются:
– увеличение надежности стопорения затвора в рабочем состоянии;
– улучшение центровки наружного силового кольца;
– увеличение числа захватов по окружности затвора;
– уменьшение габаритов установки затвора;
– возможность работы затвора при отсутствии внешних энергетических источников на ручном управлении.
Для выполнения поставленных задач на цилиндрическом бандаже, закрепленном на корпусе сосуда или аппарата, нарезана упорная усиленная резьба по ГОСТ 13535. На такую же ответную резьбу на цилиндрический бандаж посажено прямозубое зубчатое колесо, находящееся в зацеплении с длинной шестерней, связанной с ручным и механическим приводами затвора. В закрытом положении затвора зубчатое колесо своим боковым цилиндрическим выступом упирается в торец наружного силового кольца, которое внутренней конической частью надавливает на спинку захватов. Последние в свою очередь надавливают на нажимное кольцо крышки сосуда или аппарата и придавливают крышку к корпусу.
В закрытом положении наружное силовое кольцо передней частью центрируется по спинкам захватов, а задней частью – на боковом направляющем цилиндрическом выступе зубчатого колеса.
В открытом положении наружное силовое кольцо отведено назад с помощью возвратно-поддерживающего устройства, состоящего из выступа, закрепленного на наружном силовом кольце, имеющего в поперечном сечении Г-образную форму и входящего в паз накладки, расположенной на тягах, равномерно расположенных по окружности и закрепленных на боковом цилиндрическом выступе зубчатого колеса.
Ручной привод представляет собой маховик с муфтой и коническим редуктором, связанным с валом длинной ведущей шестерни. Механический привод представляет собой мотор-редуктор, соединенный через муфту непосредственно с валом, на котором расположена ведущая шестерня.
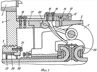
На фиг.1 показан продольный разрез затвора в закрытом положении; на фиг.2 – продольный разрез затвора в открытом положении при отведенной крышке.
Затвор состоит из откидных захватов 1 (фиг.1, 2), расположенных равномерно по окружности и имеющих нажимную носовую часть, хвостовую с роликом 20, который имеет две реборды. Наружное силовое кольцо 2 (фиг.1, 2) имеет выступ 13 (фиг.1, 2), расположенный по окружности кольца и имеющий в сечении Г-образную форму и закрепленный винтами 14 (фиг.1); носик Г-образного выступа 13 входит в паз накладки 15 (фиг.1, 2). Накладка в свою очередь крепится болтами 16 (фиг.1, 2) на тягах 17, равномерно расположенных по окружности (фиг.1, 2), закрепленных болтами 18 (фиг.1, 2) на цилиндрическом выступе зубчатого колеса 4 (фиг.1, 2). В комплексе все эти детали (13-18) составляют возвратно-поддерживающее устройство.
В закрытом положении затвора зубчатое колесо 4 (фиг.1, 2) своим боковым выступом упирается в торец наружного силового кольца 2, которое внутренней конической частью надавливает на спинку захвата 1. Последний в свою очередь надавливает на нажимное кольцо крышки 24 (фиг.1) сосуда или аппарата и придавливает ее к корпусу. В закрытом положении наружное силовое кольцо 2 передней частью центрируется по спинкам захватов 1, а задней частью – на боковом направляющем цилиндрическом выступе зубчатого колеса 4.
В открытом положении наружное силовое кольцо отведено назад с помощью возвратно-поддерживающего устройства (см. выше), задняя часть кольца центрируется по боковому направляющему цилиндрическому выступу зубчатого колеса 4, а передняя часть – возвратно-поддерживающим устройством.
Зубчатое колесо 4 связано по резьбе с цилиндрическим бандажом 3 (фиг.1, 2), закрепленным на корпусе стопорами 20 (фиг.1, 2) посредством накладного листа 22 (фиг.1, 2) и швеллеров 23 (фиг.1, 2), приваренных к корпусу.
При ручном закрывании затвора оператор ручкой 11 (фиг.2) вращает маховик 10 (фиг.2) по часовой стрелке. Вращение через муфту 9 (фиг.2) передается на конический редуктор 12 (фиг.2) и начинает вращаться вал 6 (фиг.1, 2) с закрепленной на нем прямозубой шестерней 5 (фиг.1, 2). При использовании механического привода вращение от мотора-редуктора 7 (фиг.2) через соединительную муфту 8 (фиг.2) непосредственно передается на вал 6. Муфта ручного привода 9 (фиг.2) выключена.
Шестерня 5 своими зубьями передает вращение на зубчатое колесо 4 (фиг.1, 2), которое поворачивается и двигается по резьбе бандажа 3 в сторону захватов 1. При этом зубья прямозубого зубчатого колеса 4 скользят вдоль зубьев шестерни 5 и проходят путь, необходимый для полного закрытия затвора. Боковой цилиндрический выступ вращающегося зубчатого колеса 4 скользит относительно невращающегося смазанного торца наружного силового кольца 2. Трущиеся поверхности Г-образного выступа 13, расположенного на наружном силовом кольце 2, также смазаны. Наружное силовое кольцо 2 не вращается, так как расположенные на нем копиры 19 (фиг.1, 2) упираются в реборды роликов 20 (фиг.1, 2), находящихся на хвостовой части захватов 1 (фиг.1, 2) и не дают наружному силовому кольцу 2 поворачиваться вокруг горизонтальной оси аппарата.
При ручном открывании затвора оператор ручкой 11 (фиг.2) вращает маховик 10 (фиг.2) против часовой стрелки. Вращение передается на коническую передачу и начинает вращаться вал 6 с закрепленной на нем прямозубой шестерней 5. При использовании механического привода вращение от редуктора передается непосредственно на вал 6. Шестерня 5 заставляет вращаться прямозубое зубчатое колесо 4, которое поворачивается и начинает двигаться по резьбе на бандаже 3 назад, увлекая за собой тяги 17 (фиг.1, 2). За счет ликвидации зазора между накладками 15 (фиг.1, 2) тяг 17 и носиком выступа 13 Г-образного поперечного сечения, расположенного на наружном силовом кольце, тяги 17 увлекают за собой наружное силовое кольцо 2. Таким образом, наружное силовое кольцо отводится назад. При этом зубья прямозубого зубчатого колеса 4 скользят вдоль зубьев длинной прямозубой шестерни 5 и проходят путь, необходимый для полного открывания затвора.
Во время движения при закрывании затвора наружное силовое кольцо 2 центрируется своей задней частью на боковом направляющем цилиндрическом выступе зубчатого колеса 4, а передняя часть удерживается от провисания возвратно-поддерживающим устройством пока не зайдет на спинку захвата. Действие этих двух факторов исключает перекос наружного силового кольца относительно спинок захвата 1 и обеспечивает правильную геометрическую ориентацию поверхностей спинок захвата 1 относительно конуса наружного силового кольца 2. Осевое усилие, передаваемое от резьбы зубчатого колеса 4 на резьбу бандажа 3 при закрывании затвора и его работе, воспринимается стопорами 20, равномерно расположенными по окружности и входящими в прорези как бандажа 3, так и накладного листа 22 и швеллеров 23, приваренных к корпусу сосуда или аппарата. Стопоры 20 закреплены на бандаже 3 болтами 21.
Осевое усилие, передаваемое от резьбы зубчатого колеса 4 на резьбу бандажа 3 при открывании затвора, воспринимается стопорами 20, расположенными с другой стороны бандажа.
Предлагаемая конструкция затвора увеличивает надежность стопорения (самоторможения) в рабочем состоянии на порядок выше чем в аналоге ввиду малости угла подъема резьбы. Согласно источнику (Баранов Г.Г. «Курс теории механизмов и машин», М., Машгиз, 1958) условие самоторможения будет:
<
<
о (с.358),
где
– угол наклона образующей конуса к горизонтальной оси сосуда или угол подъема резьбы;
=arctg f – угол самоторможения при скольжении;
=arctg fo – угол самоторможения при качении,
где f и fo соответственно коэффициенты трения скольжения и трения качения.
При скольжении стали по стали при смазке f=0,09 (с.330);
=5°6’=5,1°.
При качении стали по стали без скольжения fo=0,15 (с.339);
o=8°30’=8,5°.
В аналоге максимальный угол наклона образующей конуса к горизонтальной оси сосуда или аппарата составляет 6°. Запас самоторможения
o/
=8,5°/6=1,4167.
В предлагаемом изобретении тангенс угла подъема резьбы бандажа
tg
=P/
D,
где Р – шаг резьбы;
D – средний диаметр резьбы.
Для аппарата с внутренним диаметром d=500 мм, наружным диаметром резьбы D=650 мм, средним диаметром резьбы D2=644,299 мм, шагом Р=12 мм:
tg
=12/
644,299=0,0059.
Это значение tg соответствует
=0°20′(0,3333°).
Запас самоторможения резьбы
/
=5,1°/0,3333°=15,3002.
Суммарный запас самоторможения затвора составляет
1,4167+15,3002=16,7169.
Для резьбы с шагом Р=24 мм, D2=638,598 мм
tg
=24/
638,598=0,0012 (а=0° 42’=0,7°).
Запас самоторможения резьбы
/
=5,1°/0,7°=7,2857.
Суммарный запас самоторможения затвора составляет
1,467+7,2857=8,7024.
Ясно также, что при увеличении диаметра сосуда или аппарата запас самоторможения будет возрастать за счет увеличения среднего диаметра резьбы.
Так как наружное силовое кольцо жестко поджато сзади резьбой с большим самоторможением, оно не может отойти назад даже при очень больших вибрациях. Это свойство затвора особенно важно при внезапном падении сосуда или аппарата с высоты. Это может произойти во время катастрофы при перевозке автомобильным или железнодорожным транспортом сосудов, содержащих ядовитые газы под давлением. В аналоге при падении сосуда или аппарата в первую очередь деформируются выступающие за габариты тяги гидроцилиндров или их шарнирные соединения. При этом наружное силовое кольцо отойдет назад, ослабит нажим на захваты и может произойти отход крышки.
В предлагаемом изобретении, если будет нарушен выступающий за габариты привод затвора и длинная шестерня выйдет из зацепления, то зубчатое колесо остается неподвижным на резьбе бандажа, подпирая наружное силовое кольцо, не давая повернуться захватам и открыться крышке. То есть система сосуд – резьбовой бандаж – зубчатое колесо – наружное силовое кольцо – захваты представляет собой жесткий монолит. При падении сосуда или аппарата на торцы (на захваты) последние еще усилят поджатие крышки под действием массы сосуда. Улучшение центровки наружного силового кольца достигается тем, что его хвостовая часть расположена на боковом направляющем цилиндрическом выступе зубчатого колеса. При движении наружного силового кольца к захватам и обратно оно неизменно лежит на одной оси с рабочими участками поверхности спинок захватов, выполненных по логарифмической спирали.
Увеличение числа захватов по окружности затвора происходит от того, что отпадает необходимость в направляющих двутаврах наружного силового кольца, так как его центрирование происходит по боковому направляющему цилиндрическому выступу зубчатого колеса.
Уменьшение габаритов установки затвора достигается применением мотор-редуктора. При небольших габаритах и больших оборотах мотор-редуктор совместно с резьбовой схемой механического привода дает большой выигрыш в силе, что позволяет использовать аппарат при больших давлениях.
Наличие ручного привода позволяет управлять затвором в аварийных ситуациях при нарушении внешних энергетических источников.
Затвор повышенной герметичности и вибрационной стойкости с усиленным стопорением для сосудов и аппаратов, работающих под внутренним или наружным давлением, и имеющий на крышке и корпусе отбортовки, направленные в противоположные стороны с расположенным между ними Х-образным уплотнителем, отличающийся тем, что на цилиндрическом бандаже, закрепленном на корпусе сосуда или аппарата, нарезана упорная усиленная резьба; такая же ответная резьба нарезана на цилиндрическом зубчатом колесе, которое по ней навернуто на бандаж; цилиндрическое зубчатое колесо находится в зацеплении с длинной прямозубой шестерней, которая находится на валу, связанном с ручным и механическим приводами; в закрытом положении затвора зубчатое колесо своим боковым выступом упирается в торец наружного силового кольца, которое при закрывании затвора внутренней конической частью надавливает на спинку захватов; в закрытом положении затвора наружное силовое кольцо центрируется передней частью по спинкам захватов, а задней частью – на боковом направляющем цилиндрическом выступе зубчатого колеса; в открытом положении наружное силовое кольцо задней частью центрируется на боковом направляющем цилиндрическом выступе зубчатого колеса, а передней частью центрируется и удерживается возвратно-поддерживающим устройством, которое состоит из выступа, расположенного по окружности кольца и имеющего в поперечном сечении Г-образную форму; носик Г-образного выступа входит в паз накладки; накладка, в свою очередь, крепится болтами на тягах, расположенных равномерно по окружности и закрепленных болтами на боковом цилиндрическом выступе; при вращении зубчатое колесо своим торцом скользит по смазанной поверхности торца наружного силового кольца; наружное силовое кольцо удерживается от поворота закрепленными на нем копирами, которые упираются в реборды роликов, находящихся на хвостовой части захвата; затвор имеет два привода: ручной и механический; ручной привод представляет собой маховик с муфтой ручного включения и конический редуктор для передачи вращения под углом; механический привод представляет собой мотор-редуктор, соединенный через муфту непосредственно с валом, на котором расположена ведущая длинная шестерня; осевое усилие, передаваемое от резьбы зубчатого колеса на резьбу цилиндрического бандажа, воспринимается стопорами, равномерно расположенными по окружности и входящими в прорези, как бандажа, так и накладного листа и швеллеров, приваренных к корпусу сосуда или аппарата; стопоры закреплены на бандаже болтами.