Изобретение относится к машиностроению и может быть использовано в конструкциях автомобилей, электромобилей, роботов, грузовых и пассажирских вагонов, вагонов метрополитена и др. Рекуператор содержит два параллельных вала, соединенных с помощью цепной передачи. На них установлены две обгонные муфты с взаимно противоположным направлением свободного хода звездочек. Обоймы муфт подпружинены друг к другу по углу поворота с помощью упругого элемента и кинематически связаны друг с другом посредством зубчатой передачи. Одна управляемая муфта присоединяет к валу звездочку обгонной муфты, а другая присоединяет рекуператор к колесу автомобиля. Технический результат заключается в упрощении конструкции и повышении ее надежности. 1 ил.
Изобретение относится к машиностроению и может быть использовано в конструкциях автомобилей, электромобилей, тележек железнодорожных грузовых и пассажирских вагонов, вагонов метрополитена, роботизированных транспортных средств и прочих средств передвижения.
Известны различные виды накопителей энергии транспортных средств, среди которых наиболее известны маховичные аккумуляторы механической энергии, которые позволяют при торможении аккумулировать кинетическую энергию движения транспортных средств [1].
Несмотря на большое количество опубликованных изобретений такого типа устройств они практически не нашли применения на практике из-за целого ряда недостатков. Наиболее существенным из них является низкая надежность ввиду сложности конструкции маховика и передаточного механизма, который должен обеспечить плавность разгона транспортного средства при присоединении его к маховику, имеющему большой кинетический момент. Кроме того, использование таких устройств практически не дает экономии энергии, т.к. при этом значительная ее часть расходуется на бесполезный нагрев деталей и окружающей среды, а также переходит в другие формы, относящиеся к потерям.
Наиболее близким по технической сущности к предлагаемому техническому решению является рекуператор транспортного средства, содержащий два параллельных вала, кинематически связанных механической передачей, состоящей из трех последовательно зацепляющихся зубчатых колес и обеспечивающей однонаправленность вращения валов, упругий элемент, две управляемые сцепные муфты, управляемый тормоз, две обгонные муфты с взаимно противоположным направлением свободного хода и обоймами, зацепляющимися друг с другом с помощью закрепленных на них зубчатых колес. Такое устройство имеет низкую надежность и повышенную металлоемкость из-за наличия в системе управления устройством управляемого тормоза, большого количества зубчатых передач, для обеспечения соответствующих условий работы которых необходима повышенная жесткость элементов конструкции, дополнительные опоры и пр. [2].
Изобретение направлено на повышение надежности рекуператора автомобиля за счет уменьшения количества звеньев и упрощения конструкции, что достигается тем, что рекуператор автомобиля содержит упругий элемент, два параллельных вала, две управляемые муфты, две обгонные муфты с взаимно противоположным направлением свободного хода и обоймами, соединенными с помощью зубчатой передачи, валы соединены с помощью цепной передачи, управляемые муфты укреплены на одном валу с возможностью взаимодействия одной с колесом автомобиля, а другой со звездочкой обгонной муфты.
Такая компоновка позволяет исключить из конструкции управляемый тормоз, зубчатую передачу, обеспечивающую однонаправленность вращательного движения валов рекуператора, реверсной шестерни, вала для ее удержания, дополнительных опор для этого вала и других элементов.
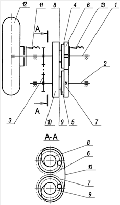
Работа рекуператора поясняется с помощью чертежа, на котором изображена схема рекуператора.
В состав рекуператора автомобиля входят два параллельных вала 1 и 2, кинематически связанных с помощью цепной передачи 3. На валах 1, 2 установлены обгонные муфты 4, 5. На обоймах обгонных муфт укреплены зацепляющиеся зубчатые колеса 6, 7 и барабаны 8, 9, подпружиненные друг к другу по углу поворота с помощью пружины 10. На валу 1 укреплена управляемая муфта 11 с возможностью взаимодействия с колесом 12 автомобиля. Звездочка обгонной муфты 4 может присоединяться к валу 1 с помощью управляемой муфты 13. Рекуператор автомобиля работает следующим образом.
В исходном положении упругий элемент 10 находится в свободном состоянии, управляемая муфта 11 отключена и не присоединяет колесо 12 автомобиля к валу 1, а звездочка обгонной муфты 4 присоединена к валу 1 с помощью муфты 13.
При движении автомобиля за счет тяги двигателя рекуператор не препятствует этому движению, т.к. колесо 12 свободно вращается на валу 1.
Для торможения автомобиля включается управляемая муфта 11 и присоединяет колесо 12 автомобиля к валу 1. На чертеже (вид А) вал 1 вместе со звездочкой обгонной муфты 4 и валом 2 вращаются в одном направлении против часовой стрелки. В этом случае обгонная муфта 4 находится в заклиненном состоянии и ее обойма также вращается в направлении против часовой стрелки и, т.к. барабан 8 жестко прикреплен к обойме муфты 4, происходит закручивание витков упругого элемента 10. При этом обоймы обгонных муфт из-за наличия зубчатой передачи 6-7, вращаются во взаимно противоположных направлениях, витки упругого элемента 10, закрепленные на барабане 9 обгонной муфты 5, также закручиваются. Этому процессу, когда вал 2 вместе со звездочкой обгонной муфты 5 поворачивается в направлении против часовой стрелки, а обойма обгонной муфты 5 с помощью зубчатого колеса 7 поворачивается в направлении по часовой стрелке, обгонная муфта 5 не препятствует, т.к. такое состояние соответствует ее свободному ходу. Кинетическая энергия движущихся масс переходит в потенциальную энергию упругого элемента 10. Закручивание упругого элемента будет происходить либо до остановки автомобиля, либо до момента, когда прижимное усилие управляемой муфты станет недостаточным, чтобы обеспечить передачу крутящего момента и прижимной диск начнет проскальзывать относительно звездочки. После остановки упругий элемент 10 через зубчатую передачу 6-7 и обгонные муфты 4, 5 стремится повернуть валы 1 и 2 во взаимно противоположных направлениях, чему препятствует цепная передача 3, что обеспечивает сохранение статичного положения.
Упругий элемент можно завести при монтаже рекуператора, а также при заднем ходе автомобиля, когда вращение валов осуществляется в направлении по часовой стрелке, звездочка и обойма обгонной муфты 5 поворачиваются как одно целое, а звездочка и обойма обгонной муфты 4 поворачиваются во взаимно противоположных направлениях и происходит закручивание упругого элемента 10.
При необходимости приведения в движение автомобиля и его разгона (поворота колеса 12 в направлении против часовой стрелки) отключается управляемая муфта 13 и звездочка обгонной муфты 4 отсоединяется от вала 1. Витки упругого элемента 10, закрепленные на барабане 9, раскручиваясь, будут вращать обойму обгонной муфты 5 в направлении против часовой стрелки. Т.к. при таком движении обгонная муфта 5 будет находиться в заклиненном состоянии, то и ее звездочка вместе с валом 2 также будут вращаться в направлении против часовой стрелки. Крутящий момент, создаваемый витками упругого элемента 10, закрепленными на барабане 8 обгонной муфты 4, через зубчатую передачу 6-7 передается на обойму обгонной муфты 5, суммируется с крутящим моментом, создаваемым витками упругого элемента 10, закрепленными на барабане 9, и способствует повороту вала 2 в направлении против часовой стрелки и далее через цепную передачу 3 вращению вала 1 с колесом 12 автомобиля.
После раскручивания упругого элемента 10 отсоединенная от вала 1 звездочка обгонной муфты 4 остается неподвижной, не препятствуя вращению вала 1, а обгонная муфта 5 находится в расклиненном состоянии (состоянии свободного хода) и при неподвижной обойме ее звездочка вместе с валом 2 свободно вращаются в направлении против часовой стрелки. Таким образом, после окончания работы рекуператора (раскручивания упругого элемента 10) нет необходимости предпринимать какие-либо управляющие действия, т.к. рекуператор не будет препятствовать дальнейшему движению автомобиля. Это способствует повышению надежности устройства.
Энергию упругого элемента можно использовать при подъеме автомобиля в гору или при обгоне.
В данной конструкции в отличие от маховичных устройств при длительных остановках количество энергии в рекуператоре не уменьшается.
Источники информации
1. Гулиа Н.В. Накопители энергии. М.: Наука. 1980. 151 с.
2. Патент RU 2117836 C1, 6 F16Н 33/02. В.С.Семеноженков. Рекуператор транспортного средства. 12.07.95. ил.2.
Рекуператор автомобиля, содержащий упругий элемент, два параллельных вала, две управляемые муфты, две обгонные муфты с взаимно противоположным направлением свободного хода и обоймами, соединенными с помощью зубчатой передачи, отличающийся тем, что валы соединены с помощью цепной передачи, управляемые муфты укреплены на одном валу с возможностью взаимодействия одной с колесом автомобиля, а другой – со звездочкой обгонной муфты.