|
|
(21), (22) Заявка: 2007109938/11, 19.03.2007
(24) Дата начала отсчета срока действия патента:
19.03.2007
(43) Дата публикации заявки: 27.09.2008
(46) Опубликовано: 10.02.2009
(56) Список документов, цитированных в отчете о поиске:
RU 2093727 C1, 20.10.1997. SU 1803634 A1, 23.03.1993. RU 2249132 C1, 27.03.2005. RO 118326 B, 30.04.2003. EP 1666760 A2, 07.06.2006.
Адрес для переписки:
197045, Санкт-Петербург, П-45, Ушаковская наб., 17/1, ГОУ ВПО Военно-морская академия имени Адмирала Флота Советского Союза Н.Г. Кузнецова, зам. нач. академии по учебной и научной работе
|
(72) Автор(ы):
Минасян Минас Арменакович (RU), Минасян Армен Минасович (RU)
(73) Патентообладатель(и):
Государственное образовательное учреждение высшего профессионального образования Военно-морская академия имени Адмирала Флота Советского Союза Н.Г. Кузнецова (RU)
|
(54) ВИБРОИЗОЛЯТОР
(57) Реферат:
Изобретение относится к средствам защиты объектов от вибрации и может быть использовано в любой области техники. Виброизолятор содержит тороидальный упругий элемент из стального каната и опорные диски. Диски выполнены в виде двух пар наружных и внутренних прижимных элементов со средствами, обеспечивающими ограничение сдвига, растяжения и сжатия виброизолятора при нагрузках, больше допустимых. Средства ограничения выполнены за одно целое с внутренними прижимными элементами в виде кольцевых тарельчатых упоров. Крепежный болт одного наружного диска выполнен в виде шпильки с контргайкой, торец которого образует зазор относительно торца крепежного болта второго наружного диска. Зазор соответствует величине допустимой деформации сжатия. Дополнительный упругий элемент расположен между внутренними прижимными кольцевыми тарельчатыми упорами и выполнен в виде резинового или резинокордного баллона, заполненного газом или высокоэластичным средством. Достигается повышение энергоемкости и эффективности виброизоляции по вертикальной и горизонтальной осям координат по всему спектру (низкосредневысокочастотному) частот. 1 ил.
Изобретение относится к средствам защиты объектов от вибрации и может быть использовано в любой области техники.
Известны виброизоляторы [1, 2], содержащие торообразный упругий элемент из стального каната, навитый по спирали, диски, установленные на витках спирали с наружной и внутренней сторон в диаметрально противоположных точках окружности витков, при этом образованная витками каната внутренняя торообразная полость заполнена дополнительным канатным упругим элементом [1], или в полости размещен кольцевой упругий элемент с ограничителями горизонтальных перемещений [2].
Известен упругий элемент [3], выполненный в виде торообразной формы из сплошного высокоэластичного материала или из полого резинокордного торообразного баллона, заполненного воздухом или высокоэластичным материалом. Опоясывающее тор средство выполнено из стального каната.
Недостатками известных виброизоляторов [1-3] являются недостаточная боковая жесткость и надежность виброизоляторов в целом.
Известен также виброизолятор [4], содержащий так же, как и [1-3] тороидальный упругий элемент из стального каната, две пары наружных и внутренних прижимных элементов со средствами, обеспечивающими ограничение сдвига, растяжения и сжатия упругого элемента при нагрузках, больше допустимых. Средство ограничения выполнено за одно целое с внутренними прижимными элементами в виде кольцевых тарельчатых упоров с возможностью взаимодействия с внутренней поверхностью торообразного упругого элемента (прототип).
Существенными недостатками этого виброизолятора являются недостаточная боковая жесткость, энергоемкость и эффективность виброизоляции.
Техническим результатом изобретения является повышение энергоемкости и эффективности виброизоляции по вертикальной и горизонтальной осям координат по всему спектру (низкосредневысокочастотному) частот.
Указанный технический результат достигается тем, что виброизолятор снабжен дополнительным упругим элементом из высокоэластичного материала или в виде резинового или резинокордного торообразного баллона. Баллон заполнен газом или высокоэластичным средством и расположен между внутренними прижимными кольцевыми тарельчатыми упорами.
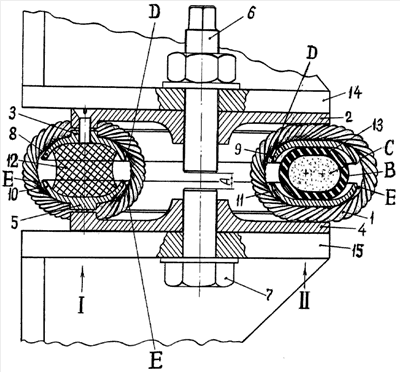
На чертеже представлены конструктивная схема виброизолятора и его крепления к объекту.
Виброизолятор состоит из упругого элемента 1 в виде замкнутой спирали из стального каната тороидальной формы, двух пар (наружных опорных и внутренних прижимных) пластин 2, 3 и 4, 5, установленных на витках в диаметрально противоположных плоскостях тора, средств ограничения деформации сжатия 6, 7, растяжения и сдвига 8-11, дополнительного упругого элемента 12 (вариант I), 13 (вариант II) торообразной формы.
Дополнительный упругий элемент 12 (вариант I) может быть выполнен, например, из высокоэластичного материала или из металлической резины (МР, металлическая сетка [5]-186, металловолоконные элементы, упругодемпфирующие элементы из прессованной проволоки [6]-115).
Дополнительный упругий элемент 13 по второму варианту может быть выполнен в виде полого резинового или резинокордного торообразного баллона В, заполненного газом С, например воздухом, или высокоэластичным материалом.
Штуцер (не показан) для заполнения баллона 13 газом обеспечивает также возможность его использования в системах активной виброизоляции [7]-249, [8]-191, рис. 154. Т.е. путем изменения давления рабочей среды С торообразного баллона 13 можно произвести автоматическую регулировку характеристик одновременно во всех или в отдельных виброизоляторах, установленных под конкретный объект.
Системы автоматического управления широко применяются, например, в подвесках современных автомобилей [8]-191 и могут быть успешно использованы для предложенного виброизолятора с торообразным баллоном 13.
Работа виброизолятора, обеспечивающего упругую связь, например, подмоторной (или промежуточной) рамы 14 (или платформы) дизель-генераторного агрегата с судовым фундаментом 15, заключается в следующем.
1. При обычных условиях работы дизель-генераторного агрегата и хода судна витки стального каната тороидального 1 и дополнительного 12 (или 13) упругих элементов виброизолятора, допускающие значительную статическую деформацию изгиба (выбранную расчетом и проверенную экспериментально на нагрузочной машине), обеспечивают возможность колебаний двигателя с амплитудами, обусловленными характеристикой упругих элементов 1 и 12 (или 13), т.е. осуществляют упругую связь между агрегатом 14 и судовым фундаментом 15, обеспечивая тем самым эффективную виброизоляцию.
2. При статических (например, от крена, дифферента) или резких ударных нагрузках знакопеременная амплитуда вертикальных и горизонтальных (боковых, сдвиговых) колебаний агрегата 14 (а следовательно, и виброизоляторов) относительно судового фундамента 15 резко возрастает.
Предотвращение недопустимых вертикальных перемещений, например, на сжатие происходит благодаря касанию торцов крепежных болтов 6, 7, т.е. при деформации сжатия упругого элемента 1, больше допустимой величины, зазор А выбирается, и ограничитель 6, 7 препятствует дальнейшему сжатию упругого элемента 1.
Предотвращение недопустимых вертикальных перемещений на растяжение и сдвиг происходит благодаря выполненным в виброизоляторе кольцевым упорам тарельчатого вида 8-11, закрепленным (или выполненным за одно целое) с внутренними прижимными кольцами 3, 5 или только с одним кольцом 3 (или 5).
Механизм предотвращения недопустимого вертикального перемещения на растяжение и перемещения по горизонтали (сдвига) заключается в сопротивлении витков стального каната тороидального упругого элемента 1 периферийной плоскости тарельчатого кольца-упора 8-11.
Здесь виброизолятор может быть выполнен как с зазором В, Е между периферийной частью плоскости тарельчатого кольца 8-11 и витками каната тороидального упругого элемента 1, так и без зазора D, Е в зависимости от конкретных требований к виброизолируемому объекту или к виброизолятору.
3. При необходимости изменения характеристик виброизоляторов, установленных под объект, в зависимости от изменения возмущающих сил и моментов, режимов работы объекта и других особенностей целесообразно использовать виброизолятор с дополнительным упругим элементом 13 по второму варианту, т.е. использовать баллон с газовой управляемой рабочей средой С. Данный вариант виброизолятора с управляемой рабочей средой является наиболее весомым техническим решением и может быть применен в любой области техники. Важной особенностью здесь является и то, что при повышении давления газа С увеличивается демпфирующая способность виброизолятора, так как сила трения проволок стального каната упругого элемента 1 при деформациях растет. Последнее происходит за счет натяжения каната. Следовательно, обеспечивается возможность изменения демпфирующих характеристик виброизолятора изменением давления газа С в баллоне 13.
Сочетание упругих элементов: стального каната 1, высокоэластичного элемента 12 или баллона 13 с газом С, возможности управления давлением и демпфированием, а также наличие страховочных элементов обеспечивают достижение высокой эффективности, энергоемкости, надежности и долговечности виброизолятора и объекта в целом.
Учитывая указанные особенности, виброизолятор может быть использован в любой области техники.
Источники информации
1. Патент РФ №2040716, кл. F16F 7/14, 27.07.95, Бюл. №21. Виброизолирующая опора ДВС.
2. Патент РФ №2066798, кл. F16F 7/14. Виброизолирующая опора ДВС.
3. Патент РФ №2249132, кл. F16F 7/14, 27.03.2005, Бюл. №9. Упругое устройство.
4. Патент РФ №2093727, кл. F16F 7/14, 20.10.97, Бюл. №29. Виброизолирующая опора ДВС.
5. Найденко O.K., Петров П.П. Амортизация судовых двигателей и механизмов. Л.: Судпромгиз, 1962. – 285 с. (186).
6. Ионов А.В. Средства снижения вибрации и шума на судах. – СПб.: ЦНИИ им. акад. А.Н.Крылова, 2000. – 348с. (115).
7. Вибрации в технике: Справочник. В 6-ти т. / Ред. совет: В.Н.Челомей (пред.). – М.: Машиностроение, 1981. – Т.6. Защита от вибрации и ударов / Под ред. К.В.Фролова. 1981. 456 с. (с.249).
8. Автомобиль: Основы конструкции: Учебник для вузов по специальности “Автомобили и автомобильное хозяйство” / Н.Н.Вишняков, В.К.Вахламов, А.Н.Нарбут и др. – М.: Машиностроение. 1986 г. – 304 с. (с.191, рис.151).
Формула изобретения
Виброизолятор, содержащий тороидальный упругий элемент из стального каната, опорные диски, выполненные в виде двух пар наружных и внутренних прижимных элементов со средствами, обеспечивающими ограничение сдвига, растяжения и сжатия виброизолятора при нагрузках больше допустимых, выполненными за одно целое с внутренними прижимными элементами в виде кольцевых тарельчатых упоров, а крепежный болт одного наружного диска выполнен в виде шпильки с контргайкой, торец которого образует зазор относительно торца крепежного болта второго наружного диска, который соответствует величине допустимой деформации сжатия, дополнительный упругий элемент, выполненный из высокоэластичного материала, расположенный между прижимными кольцами опорных дисков, отличающийся тем, что дополнительный упругий элемент выполнен в виде резинового или резино-кордного баллона, заполненного газом или высокоэластичным средством, и расположен между внутренними прижимными кольцевыми тарельчатыми упорами.
РИСУНКИ
MM4A – Досрочное прекращение действия патента СССР или патента Российской Федерации на изобретение из-за неуплаты в установленный срок пошлины за поддержание патента в силе
Дата прекращения действия патента: 20.03.2009
Извещение опубликовано: 10.08.2010 БИ: 22/2010
|
|