Изобретение относится к резьбовым соединениям. Устройство для фиксации гайки состоит из болта, гайки, двух конструктивно одинаковых фигурных шайб и двух стяжных винтов. Снизу и сверху гайки установлены упомянутые конструктивно одинаковые фигурные шайбы, внутренними выступами контактирующие с лысками на теле болта. Фиксация гайки достигается загибом подвижных ушек фигурных шайб и соединением резьбовых втулок обеих фигурных шайб стяжными винтами. В результате повышается эксплуатационная надежность и снижается вероятность самоотворачивания гайки в условиях вибрации. 2 ил.
Изобретение относится к деталям машин, а конкретно к резьбовым соединениям, и может быть использовано во всех областях техники, где требуется предохранение резьбовых соединений от самоотвинчивания.
Известно устройство (патент Франции №405870, кл. 47а, 13, 1905), в котором стопорение гайки относительно болта осуществляется с помощью установленной под гайку шайбы, взаимодействующей своими выступами с канавкой в болте и впадинами на наружной поверхности гайки, причем выступы шайбы с помощью инструмента углубляются во впадины гайки.
Недостатками такой конструкции являются сложность монтажа и демонтажа, а также необходимость дополнительной механической обработки гайки.
Известно устройство (а.с. СССР №549608, F16В 39/24, 1977) для фиксации гайки, содержащее шпильку с продольной лыской, стопорную шайбу с лапками и прямоугольными выступами со скосами. Отверстие в шайбе, выполненное по форме поперечного сечения шпильки, имеет в трех местах отбортовку с высотой не менее шага резьбы. Гайка имеет зубчатую накатку на боковой поверхности, не доходящую до верхнего торца гайки, где выполнен шлиц под ключ.
Недостатками известного устройства являются необходимость дополнительной механической обработки гайки, а также возможность потери упругих свойств лапок стопорной шайбы.
Задачей предлагаемого изобретения является устранение вышеуказанных недостатков.
Технический результат – повышение эксплуатационной надежности и снижение вероятности самоотворачивания гайки в условиях вибрации.
Это достигается тем, что снизу и сверху гайки установлены конструктивно одинаковые фигурные шайбы, внутренними выступами контактирующие с лысками на теле болта, причем фиксация гайки достигается загибом подвижных ушек и соединением резьбовых втулок обеих фигурных шайб винтами.
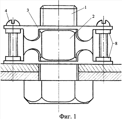
На фиг.1 представлено устройство для фиксации гаек, вид сбоку.
На фиг.2 изображена фигурная шайба, вид снизу.
Устройство для фиксации гаек состоит из болта 1, гайки 2, двух фигурных шайб 3 и двух стяжных винтов 4. На теле болта 1 выполнены две симметричные лыски, угол между которыми составляет 180°. Фигурная шайба 3 имеет внутренние выступы 5, подвижные ушки 6 и неподвижные ушки 7 с жестко установленными в них резьбовыми втулками 8.
Фиксация гайки осуществляется следующим образом.
Под гайку 2 устанавливается фигурная шайба 3, у которой выступающая часть резьбовых втулок 8 обращена в сторону гайки 2. После окончательной затяжки гайки 2 сверху нее устанавливается фигурная шайба 3 и осуществляется соединение фигурных шайб 3 стяжными винтами 4. После этого производится загиб подвижных ушек 6 фигурных шайб 3.
Предлагаемое устройство способствует повышению эксплуатационной надежности и снижению вероятности самоотворачивания гайки в условиях вибрации.
Устройство для фиксации гайки, состоящее из болта, гайки, двух конструктивно одинаковых фигурных шайб и двух стяжных винтов, отличающееся тем, что снизу и сверху гайки установлены упомянутые конструктивно одинаковые фигурные шайбы, внутренними выступами контактирующие с лысками на теле болта, причем фиксация гайки достигается загибом подвижных ушек фигурных шайб и соединением резьбовых втулок обеих фигурных шайб стяжными винтами.