|
|
(21), (22) Заявка: 2007130300/06, 07.08.2007
(24) Дата начала отсчета срока действия патента:
07.08.2007
(45) Опубликовано: 10.02.2009
(56) Список документов, цитированных в отчете о поиске:
Тахаутдинов Ш.Ф. и др. Одновременно-раздельная эксплуатация двух пластов в ОАО “Татнефть”, Нефтяное хозяйство, № 3, 2006, с.58, 59, рис.1. RU 2205979 C1, 10.06.2003. RU 2162162 C1, 20.01.2001. SU 1635651 A1, 10.12.1999. SU 1760167 A1, 07.09.1992. DE 3244868 A, 16.06.1983.
Адрес для переписки:
423236, Республика Татарстан, г. Бугульма, ул. М. Джалиля, 32, “ТатНИПИнефть”, сектор создания и развития промышленной собственности
|
(72) Автор(ы):
Ибрагимов Наиль Габдулбариевич (RU), Валовский Владимир Михайлович (RU), Фадеев Владимир Гелиевич (RU), Ахметвалиев Рамиль Нафисович (RU), Валовский Константин Владимирович (RU), Шамсутдинов Илгизяр Гаптнурович (RU), Федосеенко Наталья Викторовна (RU)
(73) Патентообладатель(и):
Открытое акционерное общество “Татнефть” им. В.Д. Шашина (RU)
|
(54) ДВУХЛИФТОВАЯ УСТАНОВКА ДЛЯ ОДНОВРЕМЕННО РАЗДЕЛЬНОЙ ЭКСПЛУАТАЦИИ ПЛАСТОВ В СКВАЖИНЕ
(57) Реферат:
Устройство предназначено для использования в нефтедобывающей промышленности, в частности в технических средствах для подъема жидкости из скважин, для одновременно-раздельной эксплуатации пластов в скважине штанговыми насосами. Установка содержит пакер, разделяющий пласты в скважине, длинную и короткую колонны насосно-компрессорных труб, два штанговых насоса, двуствольную устьевую арматуру и два установленных напротив друг друга наземных привода штанговых насосов. Последние включают опорную раму, стойку, двигатель, трансмиссию и механизм, преобразующий вращательное движение двигателя в возвратно-поступательное движение выходного гибкого звена, соединенного с колонной штанг. Рамы установлены на основании с направляющими, расположенном на фундаменте. Рамы выполнены с возможностью взаимодействия с направляющими и продольного перемещения по ним приводов штанговых насосов в противоположные от скважины стороны. Стойки приводов штанговых насосов соединены между собой съемным соединительным звеном, фиксирующим положение приводов штанговых насосов в рабочем положении. Изобретение позволит упростить монтаж приводов, повысить надежность работы установки, обеспечить необходимые условия для проведения ремонтных работ, обеспечить возможность повышения производительности штанговых насосов в условиях ограниченного диаметра скважины путем увеличения длины хода наземных приводов без резкого роста их габаритов и массы и снижения нагрузок на фундаменты. 2 з.п.ф-лы, 3 ил.
Изобретение относится к нефтедобывающей промышленности, в частности к техническим средствам для подъема жидкости из скважин, и может быть использовано для одновременно-раздельной эксплуатации пластов в скважине штанговыми насосами.
Известна двухлифтовая установка для одновременно-раздельной эксплуатации пластов в скважине типа УГРП, содержащая пакер, разделяющий пласты в скважине, длинную и короткую колонны насосно-компрессорных труб, два штанговых насоса, двуствольную устьевую арматуру и один установленный на фундаменте наземный балансирный привод штанговых насосов, включающий раму, стойку, двигатель, трансмиссию и кривошипно-шатунный механизм, преобразующий вращательное движение двигателя в возвратно-поступательное движение выходного гибкого звена, соединенного через общую подвеску с обеими колоннами штанг (см. книгу Оборудование для раздельной эксплуатации нефтяных скважин. Каталог. Под общей редакцией Ш.Т.Джафарова. – М., ЦИНТИХИМНЕФТЕМАШ, 1973. – С.41-42).
Недостатком известной установки является отсутствие возможности раздельного регулирования производительности штанговых насосов без подземного ремонта (замены на другой типоразмер), поскольку насосы приводятся в действие синхронно от единого наземного привода с одинаковой длиной хода и частотой качаний.
Наиболее близкой по технической сущности к предлагаемому устройству является двухлифтовая установка для одновременно-раздельной эксплуатации пластов в скважине, содержащая пакер, разделяющий пласты в скважине, длинную и короткую колонны насосно-компрессорных труб, два штанговых насоса, двуствольную устьевую арматуру и два установленных на фундаментах друг напротив друга наземных балансирных привода штанговых насосов, включающих раму, стойку, двигатель, трансмиссию и кривошипно-шатунный механизм, преобразующий вращательное движение двигателя в возвратно-поступательное движение выходного гибкого звена, соединенного с колонной штанг (см. журнал Нефтяное хозяйство, №3, 2006 г., с.58-59, рис.1). Эта установка лишена недостатка аналога, поскольку каждый штанговый насос приводится в действие от индивидуального привода.
Недостатком установки является сложность монтажа наземных балансирных приводов из-за близкого расположения траекторий движения подвесок штанговых колонн и низкая надежность работы в осложненных климатических условиях. В результате промерзания и оттаивания грунта, изменения влажности от атмосферных осадков со временем фундаменты приводов неравномерно проседают, что приводит к нарушению первоначально установленного взаимного положения приводов и к отказу в работе (задеванию подвесок штанг друг за друга, искривлению устьевых штоков, преждевременному износу устьевой арматуры, нарушению герметичности устья скважины и т.п.), кроме того, из-за малого пространства, образующегося при откидывании головки балансира привода, возникают затруднения при проведении ремонта скважины.
Другим недостатком известной установки является ограничение по производительности при применении в качестве привода балансирных станков-качалок, у которых при увеличении длины хода резко растут габариты и масса, что усугубляет проблему устойчивости фундамента и еще больше повышает требования к точности монтажа приводов, а в ряде случаев делает невозможным достижение необходимой производительности.
Техническая задача изобретения состоит в том, чтобы упростить монтаж приводов, повысить надежность работы установки, обеспечить необходимые условия для проведения ремонтных работ, обеспечить возможность повышения производительности штанговых насосов в условиях ограниченного диаметра скважины путем увеличения длины хода наземных приводов без резкого роста их габаритов и массы и снижения нагрузок на фундаменты.
Указанная техническая задача решается предлагаемой двухлифтовой установкой для одновременно-раздельной эксплуатации пластов в скважине, содержащей пакер, разделяющий пласты в скважине, длинную и короткую колонны насосно-компрессорных труб, два штанговых насоса, двуствольную устьевую арматуру и два установленных на фундаментах напротив друг друга наземных привода штанговых насосов, включающих опорную раму, стойку, двигатель, трансмиссию и механизм, преобразующий вращательное движение двигателя в возвратно-поступательное движение выходного гибкого звена, соединенного с колонной штанг.
Новым является то, что стойки приводов штанговых насосов соединены между собой съемным соединительным звеном, а между рамами приводов штанговых насосов и фундаментом установлено основание с направляющими, выполненными с возможностью взаимодействия с рамами для их продольного перемещения в противоположном направлении от скважины.
Новым является также и то, что механизм, преобразующий вращательное движение двигателя в возвратно-поступательное движение выходного гибкого звена, выполнен в виде установленных на стойке ведущего и ведомого шкивов, охваченных замкнутым (непрерывным) гибким звеном, связанным с выходным гибким звеном, соединенным с колонной штанг.
Новым является также и то, что фундамент наземных приводов штанговых насосов выполнен единым.
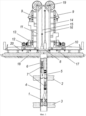
На фиг.1 представлена принципиальная схема предлагаемой двухлифтовой установки для одновременно-раздельной эксплуатации пластов в скважине в рабочем положении.
На фиг.2 показан преобразующий механизм наземных безбалансирных приводов штанговых насосов; а – вид сбоку; б – вид спереди.
На фиг.3 представлена принципиальная схема предлагаемой двухлифтовой установки для одновременно-раздельной эксплуатации пластов в скважине при проведении ремонтных работ.
Двухлифтовая установка для одновременно-раздельной эксплуатации пластов в скважине содержит пакер 1 (см. фиг.1), разделяющий пласты 2 и 3 в скважине 4, длинную 5 и короткую 6 колонны насосно-компрессорных труб, два штанговых насоса 7, двуствольную устьевую арматуру 8 и два установленных друг напротив друга наземных безбалансирных привода штанговых насосов 9, включающих каждый опорную раму 10, стойку 11, двигатель 12, трансмиссию 13 и редуцирующий механизм 14, преобразующий вращательное движение двигателя 12 в возвратно-поступательное движение выходного гибкого звена 15, соединенного с колонной штанг 16.
При этом установка снабжена дополнительным общим основанием 17, установленным между фундаментами (общим фундаментом) 18 и рамами 10 наземных приводов штанговых насосов 9, а также съемным соединительным звеном 19 для взаимной фиксации стоек 11 в рабочем положении установки, причем общее основание 17 выполнено с направляющими 20 для обеспечения возможности отодвигания по ним (продольного перемещения) наземных приводов штанговых насосов 9 в противоположные от скважины 4 стороны при проведении ремонтных работ (см. фиг.3).
Установка показана на примере использования безбалансирных приводов штанговых насосов 9 (цепных приводов) (см. фиг.2), когда механизм 14, преобразующий вращательное движение двигателя 12 в возвратно-поступательное движение выходного гибкого звена 15, выполнен в виде установленных на стойке 11 ведущего 21 и ведомого 22 шкивов, охваченных замкнутым непрерывным (например, цепью) гибким звеном 23, связанным с выходным гибким звеном 15, соединенным с колонной штанг 16.
Установка работает следующим образом.
На подготовленную площадку устанавливают фундаментные плиты (общий фундамент) 18 (фиг.1), на которые монтируют общее основание 17. Затем на основание 17 устанавливают приводы 9 в сборе с рамами 10, стойками 11, двигателями 12, трансмиссиями 13 и преобразующими механизмами 14. Чтобы обеспечить условия для спуска скважинного оборудования, приводы 9 отодвигаются по направляющим 20 в противоположные стороны от устья скважины 4 в положение, показанное на фиг.3.
В верхнюю муфту эксплуатационной колонны вворачивают двуствольную устьевую арматуру 8 и спускают длинную колонну насосно-компрессорных труб 5 с пакером 1 и штанговым насосом 7. После посадки пакера 1 между пластами 2 и 3 длинную колонну насосно-компрессорных труб 5 закрепляют на устьевом фланце двуствольной устьевой арматуры 8 и спускают короткую колонну насосно-компрессорных труб 6 со штанговым насосом 7, которую также закрепляют на устьевом фланце двуствольной устьевой арматуры 8.
После этого приводы штанговых насосов 9 подкатывают к устью скважины и закрепляют в рабочем положении за общее основание 17, а также съемным соединительным звеном 19 для взаимной фиксации стоек 11 в рабочем положении. Затем выходные гибкие звенья 15 приводов 9 соединяют с колоннами штанг 16 и запускают приводы 9 в работу. После вывода скважины на установившийся режим эксплуатации выбирается оптимальный режим работы установки с учетом добывных возможностей каждого из пластов 2 и 3. При необходимости приводы 9 могут иметь различную длину хода.
Таким образом, применение предлагаемой двухлифтовой установки для одновременно-раздельной эксплуатации пластов в скважине позволяет упростить монтаж приводов, повысить надежность работы установки, обеспечить необходимые условия для проведения ремонтных работ, обеспечить возможность повышения производительности штанговых насосов в условиях ограниченного диаметра скважины путем увеличения длины хода наземных приводов без резкого роста их габаритов и массы и снижения нагрузок на фундаменты.
Формула изобретения
1. Двухлифтовая установка для одновременно раздельной эксплуатации пластов в скважине, содержащая пакер, разделяющий пласты в скважине, длинную и короткую колонны насосно-компрессорных труб, два штанговых насоса, двуствольную устьевую арматуру и два установленных на фундаментах напротив друг друга наземных привода штанговых насосов, включающих опорную раму, стойку, двигатель, трансмиссию и механизм, преобразующий вращательное движение двигателя в возвратно-поступательное движение выходного гибкого звена, соединенного с колонной штанг, отличающаяся тем, что стойки приводов штанговых насосов соединены между собой съемным соединительным звеном, а между рамами приводов штанговых насосов и фундаментом установлено основание с направляющими, выполненными с возможностью взаимодействия с рамами для их продольного перемещения в противоположном направлении от скважины.
2. Установка по п.1, отличающаяся тем, что механизм, преобразующий вращательное движение двигателя в возвратно-поступательное движение выходного гибкого звена, выполнен в виде установленных на стойке ведущего и ведомого шкивов, охваченных замкнутым (непрерывным) гибким звеном, связанным с выходным гибким звеном, соединенным с колонной штанг.
3. Установка по п.1, отличающаяся тем, что фундамент наземных приводов штанговых насосов выполнен единым.
РИСУНКИ
|
|