|
|
(21), (22) Заявка: 2007117693/06, 11.05.2007
(24) Дата начала отсчета срока действия патента:
11.05.2007
(45) Опубликовано: 10.02.2009
(56) Список документов, цитированных в отчете о поиске:
SU 909298 A, 05.03.1982. RU 2144623 C1, 20.01.2000. RU 2100650 C1, 27.12.1997. SU 1127994 A, 07.12.1984. US 3479958 A, 18.01.1968.
Адрес для переписки:
423250, Республика Татарстан, г. Лениногорск, ул. Ленинградская, 12, НГДУ “Лениногорскнефть”, технический отдел, М.И. Кузьмину
|
(72) Автор(ы):
Нурмухаметов Рафаиль Саитович (RU), Дмитриев Анатолий Валентинович (RU), Галимов Радик Суфиянович (RU), Вафин Ильдус Закеевич (RU)
(73) Патентообладатель(и):
Открытое акционерное общество “Татнефть” им. В.Д. Шашина (RU)
|
(54) СКВАЖИННЫЙ ШТАНГОВЫЙ НАСОС
(57) Реферат:
Устройство предназначено для использования в области добычи нефти. Скважинный штанговый насос содержит цилиндр, плунжер, соединенный со штангой, расположенной в полости насосной трубы, нагнетательный и всасывающий клапаны. Всасывающий клапан выполнен в виде шарика, расположенного в корпусе. Цилиндр выполнен с герметичным дном и снабжен гильзой, соосно и с зазором установленной в его полости. Цилиндр герметично связан, например, с помощью фланца, расположенного на его верхнем конце, с кольцевым выступом, выполненным на наружной боковой стенке и на верхнем конце гильзы. Длина гильзы выбрана короче длины цилиндра, а верхний конец гильзы герметично соединен с насосной трубой. Кольцевой выступ снабжен, например, двумя нагнетательными клапанами в виде шариков, каждый из которых установлен сверху на сквозное отверстие. Эти отверстия выполнены на кольцевом выступе напротив полости между напротив лежащими боковыми стенками цилиндра и гильзы. Плунжер выполнен в виде кольцевого поршня и установлен в кольцевой полости между напротив лежащими боковыми стенками цилиндра и гильзы. Кольцевой поршень соединен со штангой с помощью полого штока, установленного соосно кольцевому поршню и закрепленного к его нижнему торцу. На нижнем торце полого штока выполнено дно с центральным отверстием для установки и фиксации гайкой резьбовой части штанги. На боковой стенке полого штока выполнено сквозное отверстие. Цилиндр установлен в цилиндрической выборке, выполненной в корпусе всасывающего клапана, и герметично закреплен своим фланцем к кольцевому выступу. Он выполнен на внутренней боковой поверхности и на верхнем конце корпуса всасывающего клапана. На верхней части боковой стенки цилиндра ниже кольцевого выступа корпуса всасывающего клапана выполнены, например, два радиальных отверстия. Длина полого штока, от его дна до нижнего торца кольцевого поршня, выбрана равной разности длины гильзы от оси радиального отверстия цилиндра до ее нижнего торца, минус высота кольцевого поршня. Повышается коэффициент использования. 1 ил.
Изобретение относится к конструкции скважинных штанговых насосов, предназначенных для добычи жидких веществ из скважин.
Известен скважинный штанговый насос, содержащий цилиндр, плунжер, соединенный со штангой, расположенной в полости насосной трубы, нагнетательный и всасывающий клапаны, причем всасывающий клапан выполнен в виде шарика, расположенного в корпусе (SU 909298 А, 05.03.1982).
Указанный насос работает под действием возвратно-поступательно перемещающей штанги. Верхняя часть штанги загерметизирована в полости насосной трубы уплотнительным устройством. Уплотняющие элементы (например, манжеты) этого устройства из-за трения с поверхностью штанги изнашиваются и выходят из строя. Замена уплотняющих элементов отнимает значительную часть времени обслуживания насоса.
Целью изобретения является повышение коэффициента использования скважинного штангового насоса.
Указанная цель достигается тем, что в скважинном штанговом насосе, содержащем цилиндр, плунжер, соединенный со штангой, расположенной в полости насосной трубы, нагнетательный и всасывающий клапаны, причем всасывающий клапан выполнен в виде шарика, расположенного в корпусе, цилиндр выполнен с герметичным дном, снабжен гильзой, соосно и с зазором установленной в его полости, и герметично связан, например, с помощью фланца, расположенного на его верхнем конце с кольцевым выступом, выполненным на наружной боковой стенке и на верхнем конце гильзы, причем длина гильзы выбрана короче длины цилиндра, причем верхний конец гильзы герметично соединен с насосной трубой, причем кольцевой выступ снабжен, например, двумя нагнетательными клапанами в виде шариков, каждый из которых установлен сверху на сквозное отверстие, выполненное на нем напротив полости между напротив лежащими боковыми стенками цилиндра и гильзы, причем плунжер выполнен в виде кольцевого поршня и установлен в кольцевой полости между напротив лежащими боковыми стенками цилиндра и гильзы, причем кольцевой поршень соединен со штангой с помощью полого штока, установленного соосно кольцевому поршню и закрепленного к его нижнему торцу, причем на нижнем торце полого штока выполнено дно с центральным отверстием, куда установлена и зафиксирована гайкой резьбовая часть штанги, причем на боковой стенке полого штока выполнено сквозное отверстие, цилиндр установлен в цилиндрической выборке, выполненной в корпусе всасывающего клапана, и герметично закреплен своим фланцем к кольцевому выступу, выполненному на внутренней боковой поверхности и на верхнем конце корпуса всасывающего клапана, причем на верхней части боковой стенки цилиндра ниже кольцевого выступа корпуса всасывающего клапана выполнены, например, два, радиальных отверстия, причем длина полого штока от его дна до нижнего торца кольцевого поршня выбрана равной разности длины гильзы от оси радиального отверстия цилиндра до ее нижнего торца, минус высота кольцевого поршня.
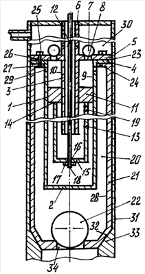
На чертеже изображен общий вид насоса в разрезе.
Скважинный штанговый насос содержит цилиндр 1, выполненный с герметичным дном 2. Цилиндр снабжен гильзой 3, соосно и с зазором установленной в его полости, и герметично связан, например, с помощью фланца 4, расположенного на его верхнем конце, с кольцевым выступом 5. Последний выполнен на наружной боковой стенке и на верхнем конце гильзы 3. Длина гильзы 3 выбрана короче длины цилиндра 1, а ее верхний конец герметично соединен с насосной трубой 6. Кольцевой выступ 5 снабжен, например, двумя нагнетательными клапанами 7 в виде шариков, каждый из которых установлен сверху на сквозное отверстие 8. Эти отверстия выполнены на кольцевом выступе 5 напротив кольцевой полости между напротив лежащими боковыми стенками 9 и 10 цилиндра 1 и гильзы 3. Плунжер выполнен в виде кольцевого поршня 11 и установлен в кольцевой полости между боковыми стенками 9 и 10 цилиндра 1 и гильзы 3. Кольцевой поршень 11 соединен со штангой 12 с помощью полого штока 13, установленного соосно кольцевому поршню. Верхний конец штанги 12 без уплотнительного устройства соединяется с приводом скважинного насоса. Полый шток 13 закреплен к нижнему торцу 14 кольцевого поршня 11. На нижнем торце полого штока 13 выполнено дно 15 с центральным отверстием 16, куда установлена и зафиксирована гайкой 17 тонкая резьбовая часть 18 штанги 12. На боковой стенке полого штока 13 выполнено сквозное отверстие 19. Цилиндр 1 установлен в цилиндрической выборке 20, выполненной в корпусе 21 всасывающего клапана 22, и с помощью, например, паронитовой прокладки 23 герметично закреплен своим фланцем 4 к кольцевому выступу 24 болтами 25. Каждый болт 25 проходит через отверстия 26, выполненные на кольцевом выступе 5 гильзы 3, на фланце 4 цилиндра 1 и закручивается в резьбовую выборку 27 на кольцевом выступе 24. Последний выполнен на внутренней боковой поверхности 28 и на верхнем конце корпуса 21 всасывающего клапана 22. На верхней части боковой стенки цилиндра 1 ниже кольцевого выступа 24 корпуса 21 всасывающего клапана выполнены, например, два радиальных сквозных отверстия 29. Длина полого штока 13 от дна 15 до нижнего торца 14 полого поршня 11 выбрана равной разности длины гильзы от оси отверстия 29 до ее нижнего торца, минус высота кольцевого поршня 11. Корпус 21 всасывающего клапана 22 вместе с установленными на его кольцевом выступе 24 цилиндром 1 и гильзой 3 устанавливается в полость 30 трубы 31. Коническая поверхность 32 корпуса 21 плотно садится на такую же поверхность выступа 33 трубы 31.
Привод скважинного насоса работает следующим образом. При ходе штанги 12 вниз полый шток 13 перемещает вниз кольцевой поршень 11. При этом нагнетательные клапаны 7 закрыты, а всасывающий клапан 22 открывается и пластовая жидкость (в дальнейшем – нефть) через отверстие 34 поступает в полость 20. Из этой полости нефть поступает через отверстия 29 в кольцевую полость между боковыми стенками 9 и 10 цилиндра 1 и гильзы 3. Также при этом воздух из полости под кольцевым поршнем 11 и над дном 2 цилиндра 1 вытесняется через отверстие 19 по полости насосной трубы 6, например, в атмосферу. При ходе штанги 12 вверх полый шток 13 поднимает вверх кольцевой поршень 11. При этом воздух в полость под кольцевым поршнем 11 и над дном 2 цилиндра 1 поступает через отверстие 19. Всасывающий клапан 22 закрывается, а нагнетательные клапаны 7 открываются и нефть из надпоршневой полости вытесняется через отверстия 8 в полость 30 трубы 31. Нефть поднимается вверх между внутренней боковой поверхностью трубы 31 и наружной боковой – насосной трубы 6, не контактируя со штангой 12. Поэтому штанга 12 не снабжается уплотнительным устройством.
Предлагаемый скважинный штанговый насос приводится в действие штангой, в котором отсутствует уплотнительное устройство. В прототипе замена изнашивающихся элементов (манжет) уплотнительного устройства производится остановкой скважинного штангового насоса. В предлагаемом скважинном штанговом насосе эта операция обслуживания насоса отсутствует. Поэтому в предлагаемом повышается коэффициент использования.
Формула изобретения
Скважинный штанговый насос, содержащий цилиндр, плунжер, соединенный со штангой, расположенной в полости насосной трубы, нагнетательный и всасывающий клапаны, причем всасывающий клапан выполнен в виде шарика, расположенного в корпусе, отличающийся тем, что цилиндр выполнен с герметичным дном, снабжен гильзой, соосно и с зазором установленной в его полости, и герметично связан, например, с помощью фланца, расположенного на его верхнем конце, с кольцевым выступом, выполненным на наружной боковой стенке и на верхнем конце гильзы, причем длина гильзы выбрана короче длины цилиндра, причем верхний конец гильзы герметично соединен с насосной трубой, кольцевой выступ снабжен, например, двумя нагнетательными клапанами в виде шариков, каждый из которых установлен сверху на сквозное отверстие, выполненное на нем напротив полости между напротив лежащими боковыми стенками цилиндра и гильзы, причем плунжер выполнен в виде кольцевого поршня и установлен в кольцевой полости между напротив лежащими боковыми стенками цилиндра и гильзы, а кольцевой поршень соединен со штангой с помощью полого штока, установленного соосно кольцевому поршню и закрепленного к его нижнему торцу, на нижнем торце полого штока выполнено дно с центральным отверстием, куда установлена и зафиксирована гайкой резьбовая часть штанги, на боковой стенке полого штока выполнено сквозное отверстие, причем цилиндр установлен в цилиндрической выборке, выполненной в корпусе всасывающего клапана, и герметично закреплен своим фланцем к кольцевому выступу, выполненному на внутренней боковой поверхности и на верхнем конце корпуса всасывающего клапана, причем на верхней части боковой стенки цилиндра ниже кольцевого выступа корпуса всасывающего клапана выполнены, например, два радиальных отверстия, а длина полого штока от его дна до нижнего торца кольцевого поршня выбрана равной разности длины гильзы от оси радиального отверстия цилиндра до ее нижнего торца минус высота кольцевого поршня.
РИСУНКИ
|
|