|
|
(21), (22) Заявка: 2007120350/06, 31.05.2007
(24) Дата начала отсчета срока действия патента:
31.05.2007
(46) Опубликовано: 10.02.2009
(56) Список документов, цитированных в отчете о поиске:
RU 2166664 C1, 10.05.2001. RU 2269672 C1, 10.02.2006. JP 59108879 А, 23.06.1984. FR 2461830 А, 06.02.1981. DE 202006008055 U1, 21.09.2006. US 4054031 A, 18.10.1977.
Адрес для переписки:
656045, г.Барнаул, Змеиногорский тракт, 49, В.М. Дворникову
|
(72) Автор(ы):
Дворников Виктор Миронович (RU), Галкин Геннадий Иванович (RU), Галкин Денис Геннадьевич (RU)
(73) Патентообладатель(и):
Дворников Виктор Миронович (RU)
|
(54) СИЛОВОЙ АГРЕГАТ
(57) Реферат:
Изобретение относится к гидроэнергетике, в частности к силовым агрегатам, приводимым в действие потоком текущей среды, и может быть использовано для преобразования энергии потока текущей среды, например потока рек, в электрическую. Силовой агрегат, приводимый в действие потоком текущей среды, содержит несущий каркас с активной турбиной, выполненной в виде установленного на ребро бесконечного конвейера, размещенного поперек потока текущей среды и имеющего два барабана, охваченных верхним и нижним гибкими тяговыми элементами, между которыми установлены лопасти, в рабочем состоянии расположенные под углом к направлению потока. Конвейер снабжен скользящими опорами, взаимодействующими с направляющими, выполненными в верхнем и нижнем основаниях каркаса. На каркасе размещен электрогенератор, кинематически связанный с одним из барабанов конвейера. Скользящие опоры прикреплены к гибким тяговым элементам конвейера. Лопасти выполнены двухстворчатыми. Створки шарнирно соединены между собой с помощью вертикальных осей. Свободные боковые кромки створок имеют дополнительные скользящие опоры, взаимодействующие с поперечными направляющими, жестко связанными с верхним и нижним гибкими тяговыми элементами. Вертикальные оси соединены между собой гибкими тягами. Упрощается конструкция, снижается сопротивление движению конвейера, увеличивается мощность. 1 з.п. ф-лы, 3 ил.
Изобретение относится к гидроэнергетике, в частности к силовым агрегатам, приводимым в действие потоком текущей среды, и может быть использовано для преобразования энергии потока текущей среды, например потока рек, в электрическую.
Известен силовой агрегат, приводимый в действие потоком текущей среды, содержащий плавучее основание в виде катамарана, на котором размещена активная турбина, выполненная в виде установленного на ребро под углом к потоку текущей среды бесконечного ленточного конвейера, с закрепленными на его ленте лопастями, и электрогенератор, кинематически связанный с бесконечным ленточным конвейером, причем каждая лопасть выполнена в виде ковша, способного складываться и ложиться на конвейерную ленту при переходе с рабочей на холостую ветвь бесконечного ленточного конвейера и имеющего на внешней поверхности карман для автоматического подъема лопасти потоком среды при переходе ее из холостого в рабочее положение (см. описание изобретения к патенту РФ №2269672, заявл. 17.06.2004, опубл. 10.02.2006, по кл. F03B 9/00).
Так как в образовании мощности силового агрегата участвует не только скорость потока текущей среды, но и общая площадь рабочих органов турбины, на которую воздействует этот поток, то известный силовой агрегат не берет всю энергию текущей среды, во первых его бесконечный ленточный конвейер установлен под углом к потоку и, во вторых, он имеет холостую ветвь, не участвующую в работе.
Наиболее близким по совокупности существенных признаков к заявляемому (прототипом) является силовой агрегат, приводимый в действие потоком текущей среды, содержащий несущий каркас с активной турбиной, выполненной в виде установленного на ребро бесконечного конвейера, размешенного поперек потока текущей среды и имеющего два барабана, охваченных верхним и нижним гибкими тяговыми элементами, между которыми установлены лопасти, в рабочем состоянии расположенные под углом к направлению потока, бесконечный конвейер снабжен скользящими опорами, взаимодействующими с направляющими, выполненными в верхнем и нижнем основаниях несущего каркаса, а на несущем каркасе размещен электрогенератор, кинематически связанный с одним из барабанов бесконечного конвейера, причем несущий каркас имеет как минимум две пары направляющих, скользящие опоры, взаимодействующие с направляющими, расположены на фронтальной и тыльной боковых кромках лопастей, по крайней мере одна из направляющих каждой пары на несущей раме установлена с возможностью перемещения, а двигатель дополнительно снабжен винтовым механизмом для перемещения указанной направляющей (см. описание изобретения к патенту РФ №2166664, заявл. 19.06.2000, опубл. 10.05.2001, по кл. F03D 5/02).
Наличие, как минимум, двух пар направляющих, расположение скользящих опор, взаимодействующих с направляющими на фронтальной и тыльной боковых кромках лопастей, а также установка по крайней мере одной из направляющих каждой пары на несущем каркасе с возможностью перемещения значительно усложняют конструкцию как механизма поворота лопастей, так и конструкцию силового агрегата в целом, а наличие значительного количества опор скольжения увеличивает сопротивление движению бесконечного конвейера и приводит к потере мощности силового агрегата.
Задача, на решение которой направлено настоящее изобретение, состоит в том, чтобы упростить конструкцию силового агрегата и значительно уменьшить в нем количество скользящих соединений, что позволит снизить сопротивление движению бесконечного конвейера и увеличить мощность силового агрегата.
Поставленная задача решается тем, что в силовом агрегате, приводимом в действие потоком текущей среды, содержащем несущий каркас с активной турбиной, выполненной в виде установленного на ребро бесконечного конвейера, размещенного поперек потока текущей среды и имеющего два барабана, охваченных верхним и нижним гибкими тяговыми элементами, между которыми установлены лопасти, в рабочем состоянии расположенные под углом к направлению потока, бесконечный конвейер снабжен скользящими опорами, взаимодействующими с направляющими, выполненными в верхнем и нижнем основаниях несущего каркаса, а на несущем каркасе размещен электрогенератор, кинематически связанный с одним из барабанов бесконечного конвейера, согласно изобретению скользящие опоры прикреплены к гибким тяговым элементам бесконечного конвейера, лопасти выполнены двухстворчатыми, створки шарнирно соединены между собой с помощью вертикальных осей, свободные боковые кромки створок имеют дополнительные скользящие опоры, взаимодействующие с поперечными направляющими, жестко связанными с верхним и нижним гибкими тяговыми элементами, а вертикальные оси соединены между собой гибкими тягами.
Гибкие тяги, соединяющие между собой вертикальные оси створок лопастей, связаны с механизмом для изменения угла их наклона.
Закрепление скользящих опор и поперечных направляющих на гибких тяговых элементах бесконечного конвейера, выполнение лопастей двухстворчатыми, шарнирное соединение створок с помощью вертикальных осей, наличие на свободных боковых кромках створок дополнительных скользящих опор, взаимодействующих с поперечными направляющими, и соединение вертикальных осей между собой гибкими тягами позволяет уменьшить количество опор скольжения, значительно снизить сопротивление движению бесконечного конвейера и упростить его конструкцию.
Сущность изобретения поясняется описанием его конструкции и чертежами, где:
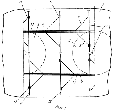
на фиг.1 схематично изображен силовой агрегат;
на фиг.2 – то же, вид сбоку;
на фиг.3 схематично изображен фрагмент механизма для изменения угла наклона створок лопастей, расположенного на нижнем гибком тяговом элементе.
Силовой агрегат, приводимый в действие потоком текущей среды, содержит несущий каркас 1 с активной турбиной, выполненной в виде установленного на ребро бесконечного конвейера, размещенного поперек потока текущей среды. Бесконечный конвейер имеет два барабана 2, 3, охваченных верхним 4 и нижним 5 гибкими тяговыми элементами, выполненными, например, в виде тросов или цепей. Между верхним 4 и нижним 5 гибкими тяговыми элементами установлены двухстворчатые лопасти, створки 6 и 7 которых шарнирно соединены между собой с помощью вертикальных осей 8. Бесконечный конвейер снабжен прикрепленными к верхнему 4 и нижнему 5 гибким тяговым элементам скользящими опорами 9, взаимодействующими с соответствующими направляющими 10, выполненными в верхнем и нижнем основаниях несущего каркаса 1. Свободные боковые кромки створок имеют дополнительные скользящие опоры 11, взаимодействующие с поперечными 12 направляющими, жестко связанными с верхним 4 и нижним 5 гибкими тяговыми элементами, а вертикальные оси 8 соединены между собой гибкими тягами 13.
Гибкие тяги 13, соединяющие между собой вертикальные оси 8 створок 6, 7 лопастей, связаны с механизмом 14 для изменения угла их наклона. Механизм 14 может быть выполнен, например, винтовым, соединенным винтами с гибкими тягами 13, а гайками с верхним 4 и нижним 5 гибкими тяговыми элементами.
На несущем каркасе 1 размещен электрогенератор 15, с помощью, например, редуктора 16 и ременной передачи 17 связанный с одним из барабанов, например с барабаном 2 бесконечного конвейера.
Силовой агрегат работает следующим образом.
Перед размещением силового агрегата в поток, например в русло реки, створки 6 и 7 лопастей бесконечного конвейера устанавливают под углом к потоку текущей среды, оптимальную величину которого выбирают в зависимости от скорости потока и общей площади створок 6, 7 лопастей, непосредственно на которые воздействует поток. Для этого, вращая винт механизма 14, изменяют положение гибких тяг 13 относительно верхнего 4 и нижнего 5 гибких тяговых элементов. А так как гибкие тяги соединены с вертикальными осями 8, то перемещаются одновременно все лопасти, при этом закрепленные на свободных боковых кромках створок 6, 7 дополнительные скользящие опоры 11 движутся по поперечным 12 направляющим, жестко связанным с верхним 4 и нижним 5 гибкими тяговыми элементами.
Затем несущий каркас 1 посредством плавающего средства или донного фундамента (на чертеже не показано) фиксируют в русле реки, располагая установленный на ребро бесконечный конвейер поперек потока текущей среды.
Текущая среда воздействует на фронтально расположенные к потоку наклонные створки 6, 7 лопастей обеих ветвей. Лопасти под воздействием потока начинают перемещаться, а верхний 4 и нижний 5 гибкие тяговые элементы, охватывающие барабаны 2 и 3, приводят их во вращение. Вращение барабана 2 через ременную передачу 17 и редуктор 16 передается на электрогенератор 15, преобразуя энергию потока в электрическую.
По сравнению с прототипом заявляемое изобретение позволяет упростить конструкцию силового агрегата и значительно уменьшить в нем количество скользящих соединений, что снижает сопротивление движению бесконечного конвейера и увеличивает мощность силового агрегата.
Формула изобретения
1. Силовой агрегат, приводимый в действие потоком текущей среды, содержащий несущий каркас с активной турбиной, выполненной в виде установленного на ребро бесконечного конвейера, размещенного поперек потока текущей среды и имеющего два барабана, охваченных верхним и нижним гибкими тяговыми элементами, между которыми установлены лопасти, в рабочем состоянии расположенные под углом к направлению потока, бесконечный конвейер снабжен скользящими опорами, взаимодействующими с направляющими, выполненными в верхнем и нижнем основаниях несущего каркаса, а на несущем каркасе размещен электрогенератор, кинематически связанный с одним из барабанов бесконечного конвейера, отличающийся тем, что скользящие опоры прикреплены к гибким тяговым элементам бесконечного конвейера, лопасти выполнены двухстворчатыми, створки шарнирно соединены между собой с помощью вертикальных осей, свободные боковые кромки створок имеют дополнительные скользящие опоры, взаимодействующие с поперечными направляющими, жестко связанными с верхним и нижним гибкими тяговыми элементами, а вертикальные оси соединены между собой гибкими тягами.
2. Силовой агрегат по п.1, отличающийся тем, что гибкие тяги, соединяющие между собой вертикальные оси створок лопастей, связаны с механизмом для изменения угла их наклона.
РИСУНКИ
|
|