|
|
(21), (22) Заявка: 2007147479/06, 19.12.2007
(24) Дата начала отсчета срока действия патента:
19.12.2007
(45) Опубликовано: 10.02.2009
(56) Список документов, цитированных в отчете о поиске:
SU 1305426 A1, 23.04.1987. RU 2067209 С1, 27.09.1996. SU 268079 А, 10.08.1970. US 5267539 А, 07.12.1993. FR 2177366 A1, 02.11.1973. GB 1585665 А, 11.05.1981. US 4145889 А, 27.03.1979.
Адрес для переписки:
394613, г.Воронеж, ул. Тимирязева, 8, ВГЛТА, патентный отдел
|
(72) Автор(ы):
Репринцев Дмитрий Дмитриевич (RU), Белозоров Виктор Васильевич (RU)
(73) Патентообладатель(и):
Государственное образовательное учреждение высшего профессионального образования “Воронежская государственная лесотехническая академия” (RU)
|
(54) ЭЛЕКТРОПНЕВМАТИЧЕСКОЕ УСТРОЙСТВО ОБЛЕГЧЕНИЯ ПУСКА ДВИГАТЕЛЯ ВНУТРЕННЕГО СГОРАНИЯ
(57) Реферат:
Изобретение относится к двигателестроению, в частности к конструкциям облегчения пуска двигателей внутреннего сгорания. Электропневматическое устройство облегчения пуска двигателя внутреннего сгорания (ДВС), содержит впускной трубопровод ДВС, а также дополнительно содержит коллектор подачи горячего воздуха, соединенный пневмолинией с термосом-ресивером, расположенным на раме автомобиля, причем в пневмолинии на выходе из термоса-ресивера установлен электромагнитный клапан, соединенный электрической цепью с положительной клеммой источника питания с одной стороны и выключателем, расположенным на приборной панели автомобиля, с другой. Изобретение обеспечивает повышение надежности работы и снижение расхода горюче-смазочных материалов при пуске ДВС. 1 ил.
Изобретение относится к двигателестроению, в частности к конструкциям облегчения пуска двигателей внутреннего сгорания (ДВС).
Известен впускной коллектор ДВС, содержащий вертикально расположенный впускной канал, сообщенный с внутренней полостью коллектора, и расположенное в ней под впускным каналом испарительное устройство, имеющее резисторный нагреватель и корытообразный поддон, размещенный под ним (А.с. 1796043, F02М 31/12, 15.02.93 Бюл. №6).
Недостатком этого устройства являются его малая эффективность, так как при запуске холодного двигателя большая часть энергии нагревателя расходуется на нагрев стенок коллектора, снижая тем самым температуру впускаемого воздуха.
Наиболее близким к предлагаемому устройству является электрофакельное устройство облегчения пуска ДВС, содержащее во впускном трубопроводе ДВС электрофакельные свечи, соединенные магистралью низкого давления системы питания дизеля с одной стороны и электрической цепью с источником питания с другой (Автомобили КАМАЗ Техническое обслуживание и ремонт. В.Н.Барун. М.: Транспорт. 1984 г. 251, 75 с.). Пламя при сжигании дизельного топлива, попадающего на раскаленную спираль свечи, подхватываемое потоком поступающего в цилиндры воздуха, способствует повышению температуры стенок впускного трубопровода и улучшению пуска ДВС.
Недостатками этого устройства являются его высокая пожарная опасность и повышенный расход горюче-смазочных материалов (ГСМ).
Изобретение решает задачу повышения надежности работы и снижения расхода ГСМ при пуске ДВС.
Это достигается тем, что электропневматическое устройство (ЭПУ) облегчения пуска ДВС, содержащее впускной трубопровод ДВС, согласно изобретению дополнительно содержит коллектор подачи горячего воздуха, соединенный пневмолинеей с термосом-ресивером, расположенным на раме автомобиля, причем в пневмолинии на выходе из термоса-ресивера установлен электромагнитный клапан, соединенный электрической цепью с положительной клеммой источника питания с одной стороны и выключателем, расположенным на приборной панели автомобиля, с другой.
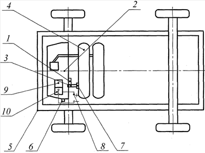
На чертеже представлена принципиальная схема электропневматического устройства облегчения пуска ДВС.
ЭПУ облегчения пуска ДВС содержит во впускном трубопроводе 1 ДВС 2 коллектор подачи горячего воздуха 3, соединенный пневмолинией с термосом-ресивером 4, расположенным на раме 5 автомобиля 6. В пневмолинии на выходе из термоса-ресивера 4 установлен электромагнитный клапан 7, соединенный электрической цепью с положительной клеммой источника питания 8 с одной стороны и выключателем 9, расположенным на приборной панели 10 автомобиля 6, с другой.
ЭПУ облегчения пуска ДВС работает следующим образом. При включении выключателя 9, расположенного на приборной панели 10 автомобиля 6, подается электрический сигнал на электропневматический клапан 7. Электропневматический клапан 7 при включении соединяет термос-ресивер 4, расположенный на раме 5 автомобиля 6, с коллектором подачи горячего воздуха 3. Далее происходит подача горячего воздуха из ресивера-термоса 4 в коллектор подачи горячего воздуха 3 и нагрев впускного трубопровода 1 и ДВС 2.
Формула изобретения
Электропневматическое устройство облегчения пуска двигателя внутреннего сгорания (ДВС), содержащее впускной трубопровод ДВС, отличающееся тем, что оно дополнительно содержит коллектор подачи горячего воздуха, соединенный пневмолинией с термосом-ресивером, расположенным на раме автомобиля, причем в пневмолинии на выходе из термоса-ресивера установлен электромагнитный клапан, соединенный электрической цепью с положительной клеммой источника питания с одной стороны и выключателем, расположенным на приборной панели автомобиля, с другой.
РИСУНКИ
MM4A Досрочное прекращение действия патента из-за неуплаты в установленный срок пошлины за
поддержание патента в силе
Дата прекращения действия патента: 20.12.2009
Дата публикации: 20.08.2011
|
|