Изобретение относится к области энергетики. Тепловая электростанция содержит компрессор многоцилиндрового поршневого компрессора изотермического сжатия, помещенный в воду и снабженный червячными передачами с электродвигателями, двигатель внутреннего сгорания. Выхлопные газы двигателя, пройдя через спиральный нагреватель, нагревают сжатый воздух, который поступает на воздушную турбину. Нагреватель выполнен в виде спирального теплообменника. Электростанция дополнительно содержит печь для сжигания твердого топлива, причем продукты сгорания твердого топлива в печи вместе с выхлопными газами направляются в туннель между витками спирали спирального нагревателя на встречных направлениях и нагревают воздух до заданной температуры. Воздушная турбина, вращая электрогенератор, вырабатывает электрический ток. Изобретение позволяет повысить эффективность тепловой станции. 2 ил.
Тепловая электростанция относится к энергетике и предназначена для обеспечения выработки электрической энергии для нужд народного хозяйства страны.
Техническим результатом, на достижение которого направлено данное изобретение, является получение максимального коэффициента полезного действия при использовании одновременно жидкого, твердого топлива и выхлопных газов двигателя. Станция, потребляя указанное топливо, снижает его затраты по отношению к ТЭЦ, работающим в настоящее время в нашей стране и в зарубежных странах.
Для обеспечения указанного технического результата разработан термодинамический цикл, использующий компрессор изотермического сжатия воздуха (рабочего тела), спиральный нагреватель, построенный по типу сбегающейся галактики. Все эти устройства, работающие одновременно, позволяют получить технический результат – высокий КПД. Двигатель внутреннего сгорания является главной составляющей частью электростанции. И главная задача при этом – преобразовать тепло его выхлопных газов в электроэнергию. Выхлопные газы двигателя направляются в спиральный нагреватель, где и отдают тепло рабочему телу, двигающемуся на встречных направлениях в трубе, свернутой в спираль. В связи с тем, что их тепла недостаточно для получения высокого КПД, каменный уголь сжигают в печи, а продукты сгорания угля, имеющие более высокую температуру, направляют на смешивание с выхлопными газами в камере смешения спирального нагревателя и на нагрев рабочего тела.
Существенным признаком тепловой электростанции, работающей одновременно на жидком, твердом топливе и выхлопных газах двигателя, является наличие компрессора изотермического сжатия воздуха (рабочего тела), многоцилиндрового, помещенного в холодный источник (воду), с червячными передачами, приводимыми в работу электродвигателями, связанными с электрогенератором двигателя внутреннего сгорания, для действия на поршни посредством штоков для сжатия воздуха до давления 25 кг/см2, а также наличие спирального нагревателя, где и происходит отдача тепла выхлопными газами от двигателя и продуктами сгорания угля в печи рабочему телу на встречных направлениях.
Получается весьма сложная схема электростанции, но проще схем существующих ТЭЦ.
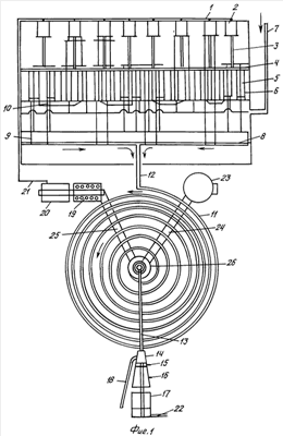
На фиг.1 представлена схема тепловой электростанции.
Электростанция состоит из:
1) изотермического многоцилиндрового поршневого компрессора с червячными передачами 3, которые приводятся в действие электродвигателями 2, сжимающими воздух в цилиндрах 6 до 25 кг/см2; компрессор помещается в воду;
2) спирального нагревателя 11 с теплозащитой, выполненного из трубы нужного диаметра и длины;
3) двигателя внутреннего сгорания 20 с электрогенератором 19, ток от которого приводит в работу электродвигатели 2 компрессора для сжатия воздуха (рабочего тела);
4) воздушной турбины 16, работающей за счет сжатого и нагретого до заданной температуры рабочего тела;
5) печи 23 для сжигания угля и направления продуктов сгорания в камеру смешения с выхлопными газами для нагрева рабочего тела.
Рама компрессора 1 служит для крепления всех элементов компрессора и опускается вертикально в воду.
Электродвигатели 2 для вращения червячных передач 3 осуществляют работу по сжатию воздуха в цилиндрах 6 до 25 кг/см2.
Цилиндры 6, по два на одну червячную передачу, закреплены на раме 1 креплениями 4 и служат для помещения в них воздуха и сжатия его поршнями со штоками 5.
По трубе 7 поступает воздух из атмосферы. Сжатый в цилиндрах воздух отводится в спиральный нагреватель 11 по трубе 8. Из цилиндров большого объема сжатый воздух подается в цилиндры малого объема по трубопроводу 9. Трубопроводы 10 служат для отвода сжатого воздуха в трубу спирального нагревателя.
Компрессор изотермического сжатия воздуха (рабочего тела) представляет собой компрессор двойного действия, многоцилиндровый, оборудованный червячными передачами, приводимыми в действие электродвигателями (один на два цилиндра). Цилиндры разных размеров работают парами: два большого объема, где давление рабочего тела повышается в 5 раз с 1 кг/см2 до 5 кг/см2. Из больших цилиндров воздух подается в пару малых цилиндров, где давление повышается еще в 5 раз. В итоге давление воздуха достигает 25 кг/см2, после чего он выталкивается в спиральный нагреватель 11.
Спиральный нагреватель рабочего тела от выхлопных газов и продуктов сгорания угля 11 представляет собой трубу, свернутую в спираль в одной плоскости, которая способна выдержать давление внутри нее 25 кг/см2 и температуру до +1000°С, в которой движется рабочее тело от периферии к центру, нагреваясь от продуктов сгорания угля в печи и от выхлопных газов двигателя на встречных направлениях. Для этой цели подходит труба, изготовленная из нержавеющей стали или титана. Металл должен хорошо проводить тепло, что обеспечит меньшую длину спирали. Спиральный нагреватель заключен в «футляр» (подобие футляра карманных часов) и имеет надежную теплозащиту. Этим самым обеспечивается сохранение тепла и получение расчетного КПД.
Труба 12 служит для ввода сжатого воздуха в спираль для нагрева. Камера 14 служит для поступления нагретого и сжатого воздуха перед турбиной 16. По трубе 13 сжатый нагретый воздух подается в камеру 14 для сгорания при подаче природного газа по трубе 18. На турбину 16 рабочее тело подается через заслонку 15 с калиброванными отверстиями. Турбина 16 предназначена для преобразования энергии рабочего тела в механическую энергию для вращения электрогенератора 17, который служит для выработки электроэнергии. При отсутствии угля по трубе 18 подается природный газ.
Турбина и электрогенератор при ней обычной конструкции, по их параметрам подбирается двигатель внутреннего сгорания, он должен иметь мощность в 4 раза меньше турбины.
Двигатель внутреннего сгорания 19 служит для выработки электроэнергии генератором для работы электродвигателей компрессора. Двигатель внутреннего сгорания работает на бензине. Двигатель имеет электрогенератор для обеспечения работы электродвигателей компрессора.
Электропроводка 21 – от генератора до электродвигателей компрессора и провода 22.
Для сжигания каменного угля служит печь 23. По трубе 24 выхлопные газы подводятся в смеситель нагревателя. Труба 25 – для подачи выхлопных газов в смеситель. Смеситель 26 служит для смешения выхлопных газов с продуктами сгорания угля из печи.
Тепловая электростанция работает следующим образом.
1. Запускают двигатель внутреннего сгорания 19. Он, имея электрогенератор 20, вырабатывает электрический ток и приводит в работу компрессор изотермического сжатия (фиг.1). Вращает червяки, которые, давя на штоки с поршнями, сжимают воздух в цилиндрах: сначала в цилиндрах большого объема до 5 кг/см2, а затем выдавливают этот воздух в цилиндры малого объема, где воздух сжимается до 25 кг/см2, и из них выдавливается через трубу в спиральный нагреватель.
2. Растапливают печь 23 углем, доведя температуру до +1000-1100°С, и направляют продукты сгорания в камеру смешения с выхлопными газами двигателя. Смесь этих двух газов направляется в туннель между трубой спирального нагревателя на встречных направлениях с рабочим телом в трубе, отдавая ему тепло, нагревая его до заданной температуры +820°С.
3. Открывают заслонку 15 с калиброванными отверстиями, и нагретый воздух при температуре +819°С поступает в турбину 16 из спирального нагревателя, турбина 16 работает, вращая электрогенератор 17, вырабатывая электрический ток. Воздушная турбина, в которой не происходит горения теплоносителей, обычной конструкции, рассчитывается на работу с рабочим телом, нагретым в спиральном нагревателе до +820°С, лопатки турбины будут работать при меньших температурах, чем в газовых турбинах.
Изобретение осуществить просто. Двигатель внутреннего сгорания, воздушная турбина, электрогенераторы и электродвигатели выполняются по известным к данному времени технологиям. Червяки к изотермическому компрессору можно изготовить по технологиям их изготовления для выпуска и уборки щитков-закрылков на тяжелых самолетах.
На фиг.2 представлена р-V диаграмма цикла тепловой электростанции. На ней представлены следующие процессы:
1 – изотермическое сжатие воздуха (рабочего тела); это – первый процесс рабочего тела;
2 – нагрев до +410°С при постоянном давлении, первый вариант;
3 – адиабатическое расширение, первый вариант;
4 – нагрев до +820°С при постоянном давлении, второй вариант;
5 – адиабатическое расширение, второй вариант.
Термодинамический цикл, положенный в основу работы электростанции, осуществляют при одновременной работе двигателя внутреннего сгорания, компрессора изотермического сжатия воздуха (рабочего тела). Рабочее тело нагревают выхлопными газами этого двигателя и дополнительно продуктами сгорания угля в печи на встречных направлениях с рабочим телом в спиральном нагревателе, доводя его температуру до +820°С, что обеспечивает высокий КПД.
Тепловая электростанция, содержащая компрессор, отличающаяся тем, что она выполнен в виде многоцилиндрового поршневого компрессора изотермического сжатия, помещенного в воду и снабженного червячными передачами с электродвигателями, двигатель внутреннего сгорания, выхлопные газы которого, пройдя через спиральный нагреватель, нагревают сжатый воздух, который поступает на воздушную турбину, нагреватель выполнен в виде спирального теплообменника, электростанция дополнительно содержит печь для сжигания твердого топлива и электрогенератор, причем продукты сгорания твердого топлива в печи вместе с выхлопными газами направляются в туннель между витками спирали спирального нагревателя на встречных направлениях и нагревают воздух до заданной температуры, а воздушная турбина, вращая электрогенератор, вырабатывает электрический ток.