|
|
(21), (22) Заявка: 2007107573/06, 28.02.2007
(24) Дата начала отсчета срока действия патента:
28.02.2007
(43) Дата публикации заявки: 10.09.2008
(46) Опубликовано: 10.02.2009
(56) Список документов, цитированных в отчете о поиске:
US 6622473 В2, 23.09.2003. US 4251987 А, 24.02.1981. RU 2157905 C2, 20.10.2000. RU 2176027 C2, 20.11.2002. SU 222061 A, 12.05.1970. US 4651521 A, 24.03.1987.
Адрес для переписки:
614990, г.Пермь, ГСП, Комсомольский пр-кт, 93, ОАО “Авиадвигатель”, отдел защиты интеллектуальной собственности
|
(72) Автор(ы):
Кузнецов Валерий Алексеевич (RU)
(73) Патентообладатель(и):
Открытое акционерное общество “АВИАДВИГАТЕЛЬ” (RU)
|
(54) РЕДУКТОР ГАЗОТУРБИННОГО ДВИГАТЕЛЯ
(57) Реферат:
Редуктор газотурбинного двигателя с внутренним зацеплением содержит внешний и внутренний выходные валы, соосно установленные на его выходе, и сателлитные шестерни на стационарных опорах. Сателлитные шестерни выполнены двойными с разными по наружному диаметру внешними зубчатыми венцами. Сателлитная шестерня с большим по диаметру зубчатым венцом выполнена с возможностью зацепления с ведущим колесом и с ведомой шестерней внутреннего зацепления, установленной на внешнем выходном валу. Сателлитная шестерня с меньшим по диаметру зубчатым венцом выполнена с возможностью зацепления с ведомой шестерней внешнего зацепления, установленной на внутреннем выходном валу. Сателлитные шестерни установлены на внешних относительно этих шестерен подшипниках качения, причем подшипник качения со стороны ведущего колеса выполнен с Т-образным в поперечном сечении внутренним кольцом. Отношение внешнего диаметра наружного кольца подшипника качения со стороны ведущего колеса к диаметру сателлитной шестерни с большим зубчатым венцом равно 1,001…1,1. Количество двойных сателлитных шестерен составляет 4…8. Изобретение позволяет повысить надежность редуктора газотурбинного двигателя за счет снижения нагрузок на подшипник сателлитных шестерен и повышения их несущей способности. 1 ил.
Изобретение относится к редукторам газотурбинных двигателей, в том числе авиационных турбореактивных двигателей сверхвысокой степени двухконтурности.
Известен планетарный дифференциальный редуктор, который служит для привода соосных винтов авиационного газотурбинного двигателя (А.С.Вьюнов. Конструкция и проектирование авиационных газотурбинных двигателей. – Москва: Машиностроение, 1981, стр.497, рис.11.7д).
Недостатком такой конструкции является ее низкая надежность, так как для поддержания равенства оборотов расположенных на выходе из редуктора винтов последние должны быть выполнены с поворотными относительно втулки лопастями, что приводит к усложнению конструкции с соответствующим снижением надежности.
Наиболее близким к заявляемому является соосный редуктор с внутренним зацеплением для привода однорядного вентилятора газотурбинного двигателя (US 6622473, F02K 3/12, 2003 г.).
Недостатком известной конструкции, принятой за прототип, является пониженная надежность расположенного во внутренней полости сателлитной шестерни подшипника скольжения, особенно в условиях полусухого трения, например при запуске двигателя или при авторотации вентилятора в случае полета самолета с выключенным газотурбинным двигателем.
Техническая задача, на решение которой направлено изобретение, заключается в повышении надежности редуктора газотурбинного двигателя за счет снижения нагрузок на подшипник сателлитных шестерен и повышения их несущей способности.
Сущность изобретения заключается в том, что в редукторе газотурбинного двигателя с внутренним зацеплением с сателлитными шестернями на стационарных опорах согласно изобретению на выходе соосно установлены внешний и внутренний выходные валы, сателлитные шестерни выполнены двойными с разными по наружному диаметру d и d1 внешними зубчатыми венцами, причем сателлитная шестерня с большим по диаметру d зубчатым венцом выполнена с возможностью зацепления с ведущим колесом и с ведомой шестерней внутреннего зацепления, установленной на внешнем выходном валу, а сателлитная шестерня с меньшим по диаметру d1 зубчатым венцом выполнена с возможностью зацепления с ведомой шестерней внешнего зацепления, установленной на внутреннем выходном валу, причем сателлитные шестерни установлены на внешних относительно этих шестерен подшипниках качения, подшипник качения со стороны ведущего колеса выполнен с Т-образным в поперечном сечении внутренним кольцом, при этом D/d=1,001…1,1 и К=4…8, где
D – внешний диаметр наружного кольца подшипника качения со стороны ведущего колеса;
К – количество двойных сателлитных шестерен.
Установка на выходе из редуктора соосно внешнего и внутреннего валов, а также выполнение сателлитных шестерен двойными с большим и меньшим по наружному диаметру внешними зубчатыми венцами позволяют снизить нагрузку на подшипники сателлитных шестерен, так как окружные усилия от шестерен, установленных на внешнем и внутреннем выходных валах, направлены в противоположные стороны и частично компенсируют друг друга, что повышает надежность редуктора газотурбинного двигателя.
В случае когда шестерня с большим зубчатым венцом находится в зацеплении с ведущим колесом и с ведомой шестерней внутреннего зацепления, установленной на внешнем выходном валу, а сателлитная шестерня с меньшим зубчатым венцом выполнена с возможностью зацепления с ведущим колесом и с ведомой шестерней внешнего зацепления, установленной на внутреннем выходном валу, удается выполнять передаточные отношения от входного ведущего вала и от ведущего колеса к внешнему и внутреннему выходным валам примерно одинаковыми, т.е. передавать на внешний и внутренний вал примерно одинаковые мощности, способствуя равномерному распределению нагрузки на подшипники сателлитных шестерен с соответствующим повышением их надежности.
Установка сателлитных шестерен на внешних относительно этих шестерен подшипниках качения позволяет выполнять эти подшипники с увеличенными габаритами и повышенной несущей способностью, что также повышает надежность подшипников и редуктора в целом.
Подшипники качения по сравнению с подшипниками скольжения обладают меньшей повреждаемостью при работе в условиях сухого трения (например, при авторотации вентилятора на неработающем двигателе), что также повышает надежность редуктора.
Со стороны ведущего вала и ведущего зубчатого колеса в редуктор подводится вся мощность, идущая на привод вентилятора, и поэтому на подшипник качения сателлитных шестерен, установленный со стороны ведущего колеса, приходится повышенная нагрузка от окружных усилий ведущего колеса и шестерни внутреннего зацепления. Для повышения несущей способности и надежности этот подшипник выполняется с увеличенными внешними диаметрами наружного и внутреннего колец, для чего внутреннее кольцо выполняется Т-образным в поперечном сечении.
При D/d<1,001 усложняется сборка редуктора, а при D/d>1,1 уменьшается количество промежуточных сателлитных шестерен, размещаемых в окружном направлении, что приводит к повышению нагрузок на сателлитные шестерни и к снижению надежности редуктора.
При К<4 излишне увеличивается мощность, передаваемая через каждую из сателлитных шестерен, а при К>8 уменьшаются габаритные размеры подшипников сателлитных шестерен, что также приводит к снижению надежности редуктора.
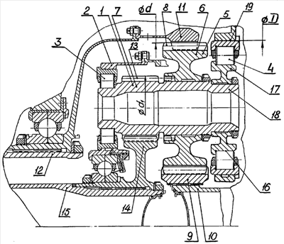
На чертеже показан продольный разрез редуктора газотурбинного двигателя заявляемой конструкции.
Простой соосный редуктор 1 газотурбинного двигателя состоит из неподвижного корпуса 2, в котором на подшипниках качения 3 и 4 установлены двойные сателлитные шестерни 5, включающие шестерни 6 и 7 с разными по величине наружными диаметрами d и d1 внешних зубчатых венцов 8 и 9 соответственно.
Для уменьшения радиальных нагрузок и повышения надежности подшипники качения 3 и 4 установлены с внешней стороны от шестерен 6 и 7.
Сателлитная шестерня 6 с большим внешним диаметром d зубчатого венца 8 находится в зацеплении с ведущим зубчатым колесом 9, установленным на входном ведущем валу 10, а также с ведомой шестерней 11 внутреннего зацепления, установленной на внешнем выходном валу 12.
Сателлитная шестерня 7 с меньшим внешним диаметром d1 зубчатого венца 13 находится в зацеплении с ведомой шестерней 14 внешнего зацепления, установленной на внутреннем выходном валу 15.
Соосные выходные валы 12 и 15 вращаются в противоположные стороны.
Так как вся мощность поступает в редуктор 1 по входному валу 10 через ведущее колесо 9, то нагрузка на подшипник качения 4, расположенный со стороны ведущего колеса 9, превышает нагрузку на подшипник качения 3, установленный со стороны входных валов 12 и 15. По этой причине для увеличения несущей способности и надежности подшипник качения 4 выполнен с увеличенным внешним диаметром D по наружному кольцу и с увеличенным диаметром по поверхности качения 16 внутреннего кольца 17, и для установки на ось 18 сателлитных шестерен кольцо 17 выполнено Т-образным в поперечном сечении.
Одновременно обеспечивается качественная сборка редуктора 1, т.к. через отверстия 19 в корпусе 2 увеличенного диаметра D в подшипник 3 устанавливаются собранные на оси 18 сателлитные шестерни 6 и 7 совместно с подшипником 4, что также повышает надежность редуктора 1 за счет высокого качества сборки.
Работает данное устройство следующим образом.
При работе редуктора 1 газотурбинного двигателя крутящий момент от входного ведущего вала 10 через ведущее колесо 9 поступает на расположенные в окружном направлении двойные сателлитные шестерни 5, причем через шестерню 6 крутящий момент передается на шестерню внутреннего зацепления 11 и далее на внешний выходной вал 12, а через шестерню 7 на ведомую шестерню 14 внешнего зацепления и на внутренний выходной вал 15, который вращается в противоположную от вала 12 сторону. Так как шестерни 11 и 14 вращаются во взаимно противоположные стороны, то окружные усилия на сателлитных шестернях 6 и 7 частично компенсируют друг друга, что уменьшает радиальные усилия, воздействующие на подшипники качения 3 и 4 с соответствующим повышением ресурса и надежности этих подшипников.
Формула изобретения
Редуктор газотурбинного двигателя с внутренним зацеплением с сателлитными шестернями на стационарных опорах, отличающийся тем, что на выходе соосно установлены внешний и внутренний выходные валы, сателлитные шестерни выполнены двойными с разными по наружному диаметру d и d1 внешними зубчатыми венцами, причем сателлитная шестерня с большим по диаметру d зубчатым венцом выполнена с возможностью зацепления с ведущим колесом и с ведомой шестерней внутреннего зацепления, установленной на внешнем выходном валу, а сателлитная шестерня с меньшим по диаметру d1 зубчатым венцом выполнена с возможностью зацепления с ведомой шестерней внешнего зацепления, установленной на внутреннем выходном валу, причем сателлитные шестерни установлены на внешних относительно этих шестерен подшипниках качения, подшипник качения со стороны ведущего колеса выполнен с Т-образным в поперечном сечении внутренним кольцом, при этом D/d=1,001…1,1 и К=4…8, где D – внешний диаметр наружного кольца подшипника качения со стороны ведущего колеса; К – количество двойных сателлитных шестерен.
РИСУНКИ
|
|