Изобретение может использоваться преимущественно для привода электрогенераторов в безредукторных энергетических газотурбинных установках. Газотурбинный двигатель с регенерацией тепла включает в себя газогенератор, содержащий компрессор высокого давления, камеру сгорания и турбину высокого давления, силовую газовую турбину, газовоздушный теплообменник, дополнительный компрессор. Дополнительный компрессор установлен на одном валу с газовой силовой турбиной и с воздушной силовой турбиной. Вход в воздушную силовую турбину через воздушную полость газовоздушного теплообменника связан с выходом из дополнительного компрессора. Газовая полость газовоздушного теплообменника соединена с выходом из газовой силовой турбины. Газогенератор дополнительно снабжен компрессором низкого давления и турбиной низкого давления. Изобретение защищает величину отношения площади проточной части дополнительного компрессора на входе к его площади на выходе и величину отношения площади проточной части дополнительного компрессора на выходе к площади горла первого соплового аппарата воздушной силовой турбины. Изобретение позволяет уменьшить степень повышения давления в дополнительном компрессоре и увеличить расход воздуха через воздушную силовую турбину, повысить мощность, КПД и уменьшить стоимость безредукторной газотурбинной установки вследствие меньшей металлоемкости. 4 ил.
Изобретение может использоваться преимущественно для привода электрогенераторов в безредукторных энергетических газотурбинных установках.
Известен газотурбинный двигатель с регенерацией тепла (патент РФ №2192552), содержащий однокаскадный газогенератор, образованный компрессором высокого давления, камерой сгорания и турбиной высокого давления, силовую газовую турбину, газовоздушный теплообменник, дополнительный компрессор, установленный на одном валу с силовой воздушной турбиной, вход в которую через воздушную полость газовоздушного теплообменника связан с выходом из дополнительного компрессора, газовая полость газовоздушного теплообменника соединена с выходом из газовой силовой турбины, при этом: F1:F2=2-5, а F3:F4=0,5-1, где F1 – площадь проточной части дополнительного компрессора на входе, F2 – площадь проточной части дополнительного компрессора на выходе, F3 – площадь горла первого соплового аппарата воздушной силовой турбины, F4 – площадь горла первого соплового аппарата газовой силовой турбины.
Недостатком известной конструкции является неэффективная работа газотурбинного двигателя в составе безредукторной энергетической газотурбинной установки.
Этот недостаток объясняется следующим.
Особенностью работы газотурбинного двигателя (ГТД) в составе безредукторной энергетической газотурбинной установки (ГТУ) является относительно небольшая (3000 об/мин) частота вращения ротора газотурбинного двигателя, соответствующая частоте вращения ротора турбогенератора, что вступает в противоречие с требованием высоких термодинамических параметров работы, обеспечивающих высокий КПД установки.
Соотношение площадей проточной части на входе и выходе дополнительного компрессора (F1:F2=2-5) по сути определяет степень повышения давления воздуха в дополнительном компрессоре и обеспечивает работу ГТД при степени повышения давления в дополнительном компрессоре
. При относительно невысоких оборотах (невысоких окружных скоростях на периферии рабочих колес) для получения таких степеней повышения давления в компрессоре понадобиться от 10 до 27 ступеней. Растет металлоемкость, цена и при этом падает КПД дополнительного компрессора.
Чем выше степень повышения давления в дополнительном компрессоре, тем меньше температурный напор (разность температур между газовоздушной смесью за силовой газовой турбиной и воздухом за дополнительным компрессором –
Т) в газовоздушном теплообменнике (ГВТ). В этом случае для увеличения эффективности за счет увеличения коэффициента рекуперации необходимо увеличивать размеры ГВТ.
Кроме того, повышение параметров термодинамического цикла работы ГТД – увеличение степени повышения давления в компрессоре газогенератора и увеличение температуры газов перед газовой силовой турбиной (Т4*) приводит к уменьшению температуры газов на выходе из силовой газовой турбины. В этом случае эффективность ГВТ падает. Соответственно уменьшаются суммарная мощность и КПД установки.
Соотношение F3:F4 определяет соотношение расходов воздуха и газа через воздушную и газовую силовые турбины и соответственно через воздушную и газовую полости газовоздушного теплообменника. Анализ влияния этого параметра на КПД и мощность блока в целом показал, что при высоких параметрах термодинамического цикла работы газогенератора при значении соотношения F3:F4
1 происходит снижение суммарной мощности и суммарного КПД всей установки. Это снижение можно компенсировать увеличением степени повышения давления в дополнительном компрессоре за счет увеличения количества ступеней компрессора. Но при этом растет температура за дополнительным компрессором и падает эффективность газовоздушного теплообменника.
Технический результат, достигаемый изобретением, заключается в уменьшении степени повышения давления в дополнительном компрессоре и увеличении расхода воздуха через воздушную силовую турбину за счет оптимизации соотношения площадей F1:F2 и F3:F4, что обеспечивает повышение мощности, КПД, и меньшую стоимость безредукторной газотурбинной установки вследствие меньшей металлоемкости.
Указанный технический результат достигается тем, что в газотурбинном двигателе с регенерацией тепла, включающем газогенератор, содержащий компрессор высокого давления, камеру сгорания и турбину высокого давления, силовую газовую турбину, газовоздушный теплообменник, дополнительный компрессор, установленный на одном валу с газовой силовой турбиной и с дополнительной воздушной силовой турбиной, вход в которую через воздушную полость газовоздушного теплообменника связан с выходом из дополнительного компрессора, газовая полость газовоздушного теплообменника соединена с выходом из газовой силовой турбины, в соответствии с изобретением газогенератор дополнительно снабжен компрессором низкого давления и турбиной низкого давления, при этом 1,8
F1:F2<2; 13:F4
1,2, где F1 – площадь проточной части дополнительного компрессора на входе, F2 – площадь проточной части дополнительного компрессора на выходе, F3 – площадь горла первого соплового аппарата воздушной силовой турбины, F4 – площадь горла первого соплового аппарата газовой силовой турбины.
Заявляемые диапазоны соотношений площадей обеспечивают увеличение расхода воздуха через воздушную силовую турбину и уменьшение степени повышения давления в дополнительном компрессоре, что увеличивает суммарную мощность установки и КПД. Кроме того, уменьшается количество ступеней в компрессоре, а значит и металлоемкость.
Выполнение газогенератора по двухкаскадной схеме, т.е. включение в его состав компрессора и турбины низкого давления, обеспечивает увеличение степени повышения давления в компрессорах газогенератора и повышение температуры газов перед турбиной низкого давления, а следовательно, повышает мощность и КПД. При этом сокращается количество ступеней компрессоров газогенератора, обеспечивается газодинамическая устойчивость и уменьшается количество регулируемых элементов в компрессорах газогенератора.
Кроме того, использование в заявляемой схеме ГТД именно двухкаскадной конструкции газогенератора обеспечивает устойчивую работу ГТД на переходных режимах.
При F1/F2<1,8 – дальнейшее уменьшение степени повышения давления в дополнительном компрессоре не компенсируется увеличением расхода воздуха через дополнительный компрессор и воздушную турбину, в результате чего КПД и мощность установки начинают уменьшаться.
При F1/F2
2 – увеличивается степень повышения давления в дополнительном компрессоре, что при заданном числе оборотов ротора (3000 об/мин) приводит к увеличению ступеней дополнительного компрессора и воздушной силовой турбины, а следовательно, металлоемкости и цены. Кроме того, уменьшается перепад температур на ГВТ, что приводит к меньшей эффективности работы воздушной силовой турбины и дополнительного компрессора или при прочих равных условиях к увеличению размеров ГВТ.
В случае F3/F4
1 – уменьшается расход воздуха через воздушно силовую турбину и дополнительный компрессор, в результате падает мощность и КПД безредукторной ГТУ.
При F3/F4>1,2 – увеличивается расход воздуха через воздушную силовую турбину и дополнительный компрессор, что приводит к уменьшению степени повышения давления в дополнительном компрессоре и к уменьшению мощности и КПД безредукторной ГТУ при тех же размерах ГВТ, иначе – к увеличению его размеров.
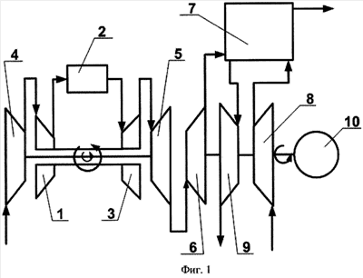
Предлагаемое изобретение иллюстрируется чертежами: на фиг.1 представлена схема заявляемого ГТД в составе безредукторной ГТУ;
на фиг.2 приведена зависимость относительного увеличения мощности безредукторной ГТУ от соотношения площадей F3:F4;
на фиг.3 приведена зависимость относительного увеличения КПД безредукторной ГТУ от соотношения F3:F4;
на фиг.4 приведена кривая оптимального соотношения площадей F1:F2=f(F3:F4).
ГТД (фиг.1) включает двухкаскадный газогенератор, образованный компрессором высокого давления (КВД) 1, камерой сгорания 2, турбиной высокого давления (ТВД) 3, компрессором низкого давления (КНД) 4 и турбиной низкого давления (ТНД) 5. ГТД содержит также газовую силовую турбину 6, выход по выхлопным газам которой соединен с газовой полостью ГВТ 7. Воздушная полость ГВТ 7 на входе соединена с выходом дополнительного компрессора 8, который установлен на одном валу с газовой силовой турбиной 6, воздушной силовой турбиной 9 и потребителем мощности – электрогенератором 10. Вход в воздушную силовую турбину 9 через воздушную полость ГВТ 7 связан с выходом дополнительного компрессора 8.
Дополнительный компрессор 8 выполнен с площадями проточной части F1 на входе и F2 – на выходе. Силовая воздушная 9 и силовая газовая 6 турбины выполнены с площадями горла F3 и F4 соответственно. Причем 1,8
F1:F2<2 и 13:F4
1,2.
ГТД работает следующим образом.
Воздух, поступающий на всас КНД 4 газогенератора, сжимают в КНД 4 и КВД 1 и подают на вход в камеру сгорания 2. Образовавшийся в камере сгорания 2 высокотемпературный газ, расширяясь в ТВД 3 и ТНД 5, совершает работу по приводу КВД 1 и КНД 4, дальнейшее расширение газа за ТНД 5 происходит в газовой силовой турбине 6, где вырабатывается полезная мощность, для привода электрогенератора 10.
Газ с выхода газовой силовой турбины 6 поступает в газовую полость ГВТ 7, где отдает свое тепло воздуху, который нагнетается в воздушную полость ГВТ 7 с помощью дополнительного компрессора 8. Воздух, подогретый в ГВТ 7, расширяется в воздушной силовой турбине 9 и вырабатывает дополнительную полезную мощность по приводу электрогенератора 10.
Для подтверждения заявляемых соотношений площадей были проведены термодинамические расчеты ГТД со следующими параметрами цикла:
– суммарная степень повышения давления в компрессорах газогенератора 
– температура газа перед газовой силовой турбиной Т4*
1580 К, результаты которых явились подтверждением представленных графиков.
Из фиг.2 и фиг.3 следует: максимальной мощности и максимального КПД при заданных высоких параметрах цикла установка достигает при соотношении площадей сопловых аппаратов газовой и воздушной силовых турбин F3:F4>1.
На фиг.4 приведена кривая оптимального соотношения площадей F1:F2=f (F3:F4), подтверждающая, что на участке F3:F4>1 соотношение F1:F2<2.
Кроме того, расчеты показывают – степень повышения давления дополнительного компрессора при соотношении F1:F2<2 становится меньше 4. Таким образом, уменьшается количество ступеней дополнительного компрессора, а следовательно, и его металлоемкость.
Газотурбинный двигатель с регенерацией тепла, включающий газогенератор, содержащий компрессор высокого давления, камеру сгорания и турбину высокого давления, силовую газовую турбину, газовоздушный теплообменник, дополнительный компрессор, установленный на одном валу с газовой силовой турбиной и с воздушной силовой турбиной, вход в которую через воздушную полость газовоздушного теплообменника связан с выходом из дополнительного компрессора, газовая полость газовоздушного теплообменника соединена с выходом из газовой силовой турбины, отличающийся тем, что газогенератор дополнительно снабжен компрессором низкого давления и турбиной низкого давления, при этом 1,8
F1:F2<2; 13:F4
1,2, где