|
|
(21), (22) Заявка: 2007123076/06, 19.06.2007
(24) Дата начала отсчета срока действия патента:
19.06.2007
(46) Опубликовано: 10.02.2009
(56) Список документов, цитированных в отчете о поиске:
DE 860123 А, 18.12.1952. US 3850150 А, 22.11.1974. SU 222175 А, 18.10.1968. US 5078246 А, 07.01.1992. US 3802813 A, 18.10.1972.
Адрес для переписки:
634049, г.Томск, ул. Первая рабочая, 4-36, Н.И. Андрееву
|
(72) Автор(ы):
Андреев Николай Иванович (RU), Шварцкоп Виктор Федорович (RU)
(73) Патентообладатель(и):
Андреев Николай Иванович (RU), Шварцкоп Виктор Федорович (RU)
|
(54) ПНЕВМАТИЧЕСКИЙ ШЕСТЕРЕННЫЙ ДВИГАТЕЛЬ
(57) Реферат:
Изобретение относится к пневматическим шестеренным двигателям. Пневматический шестеренный двигатель содержит корпус с крышкой, имеющий цилиндрические расточки под сателлиты, установленные на осях и подшипниковых опорах, ротор в виде центрального зубчатого колеса внутреннего зацепления, введенного в зацепление с сателлитами и жестко закрепленного на валу, установленном на подшипниковых опорах, питающие и выхлопные каналы. Питающие каналы выполнены в корпусе радиальными по отношению к оси ротора, а выхлопные каналы – торцевыми. Подшипниковые опоры вала выполнены в виде подшипников качения, подшипниковые опоры сателлитов – в виде игольчатых подшипников. Первые опоры осей сателлитов выполнены в корпусе, а вторые – в крышке корпуса. Задачей изобретения является создание технологичного, компактного, долговечного и высокоэффективного пневмодвигателя в диапазоне средних мощностей (1-6 кВт). 2 ил.
Изобретение относится к пневматическим шестеренным двигателям и может использоваться в машиностроении.
Известен пневматический шестеренный двигатель, принятый за ближайший аналог (прототип), содержащий корпус с крышкой, имеющий цилиндрические расточки под сателлиты, установленные на осях и подшипниковых опорах, ротор в виде центрального зубчатого колеса внутреннего зацепления, введенного в зацепление с сателлитами и жестко закрепленного на валу, установленном на подшипниковых опорах, питающие и выхлопные каналы (см. RU 2005133762 А, 10.05.2007, F01C 1/10). Данный двигатель недостаточно эффективен в диапазоне средних мощностей.
Задачей изобретения является создание технологичного компактного долговечного и высокоэффективного пневмодвигателя в диапазоне средних мощностей (1-6 кВт).
Указанная задача решена в пневматическом шестеренном двигателе, содержащем корпус с крышкой, имеющий цилиндрические расточки под сателлиты, установленные на осях и подшипниковых опорах, ротор в виде центрального зубчатого колеса внутреннего зацепления, введенного в зацепление с сателлитами и жестко закрепленного на валу, установленном на подшипниковых опорах, питающие и выхлопные каналы, согласно изобретению тем, что питающие каналы выполнены в корпусе радиальными по отношению к оси ротора, а выхлопные каналы – торцевыми, подшипниковые опоры вала выполнены в виде подшипников качения, подшипниковые опоры сателлитов выполнены в виде игольчатых подшипников, при этом первые опоры осей сателлитов выполнены в корпусе, а вторые – в крышке корпуса.
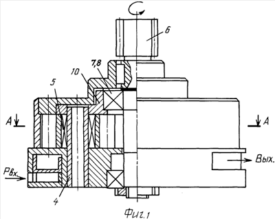
На фиг.1 изображен общий вид пневматического шестеренного двигателя.
На фиг.2 – сечение А-А на фиг.1.
Двигатель состоит из корпуса 1 с крышкой 10, имеющего цилиндрические расточки под сателлиты 2, ротора 3 в виде центрального зубчатого колеса внутреннего зацепления, введенного в зацепление с сателлитами 2 и жестко закрепленного на валу 6, установленном на подшипниковых опорах 7, 8. Сателлиты 2 смонтированы на осях 4 на игольчатых подшипниках 5, при этом первые опоры осей смонтированы в корпусе, а вторые – на крышке. Питающие каналы выполнены радиальными по отношению к оси ротора, а выхлопные каналы – торцевыми.
Двигатель имеет выраженные зоны уплотнения, т.е. зоны с рабочими радиальными и торцевыми зазорами между наружной поверхностью зубьев колес и корпусом: зоны В для ротора, зоны Г для колес 2, уплотнение в местах зацепления зубчатых колес – зона 3, а также систему пневмовхода и выхлопа. Каналами пневмовхода являются отверстия Д, каналами выхлопа – отверстия Е. Смазка двигателя подается с воздухом и выполняет роль дополнительного уплотнения.
Принцип работы двигателя заключается в использовании разницы рабочих площадей зубчатого зацепления – зацепленных и свободных площадей зубьев колес.
Пневмодвигатель работает следующим образом (см. фиг.1). Сжатый воздух подается из сети по каналам корпуса Рвх в полости Ж двигателя, воздействуя на эффективные площади зубчатых колес как на бесконечные поршни. При этом сжатый воздух производит работу, вращая зубчатые колеса в направлении, обозначенном стрелками. Работа двигателя происходит при избыточном давлении в полости Ж.
Технологичность двигателя обеспечивается использованием деталей тел вращения.
Долговечность двигателя обеспечивается отсутствием в двигателе трения скольжения вращающихся частей и определяется долговечностью подшипниковых опор.
Компактность двигателя при высокой мощности достигается за счет многоканальности.
Высокая эффективность основных характеристик достигается за счет использования внутреннего зацепления зубчатых колес, которое обладает более высоким коэффициентом перекрытия в сравнении с наружным зацеплением, а значит, и более качественным уплотнением.
Двигатель обладает низким уровнем вибрации и не требует балансировки вращающихся частей.
Двигатель обладает малошумностью и не требует глушителя шума.
Опытный образец двигателя показал всю совокупность перечисленных положительных характеристик.
Формула изобретения
Пневматический шестеренный двигатель, содержащий корпус с крышкой, имеющий цилиндрические расточки под сателлиты, установленные на осях и подшипниковых опорах, ротор в виде центрального зубчатого колеса внутреннего зацепления, введенного в зацепление с сателлитами и жестко закрепленного на валу, установленном на подшипниковых опорах, питающие и выхлопные каналы, отличающийся тем, что питающие каналы выполнены в корпусе радиальными по отношению к оси ротора, а выхлопные каналы – торцевыми, подшипниковые опоры вала выполнены в виде подшипников качения, подшипниковые опоры сателлитов выполнены в виде игольчатых подшипников, при этом первые опоры осей сателлитов выполнены в корпусе, а вторые – в крышке корпуса.
РИСУНКИ
|
|