|
|
(21), (22) Заявка: 2005122480/03, 17.12.2003
(24) Дата начала отсчета срока действия патента:
17.12.2003
(30) Конвенционный приоритет:
17.12.2002 US 10/322,038
(43) Дата публикации заявки: 27.01.2006
(46) Опубликовано: 10.02.2009
(56) Список документов, цитированных в отчете о поиске:
US 5655745 А, 12.08.1997. SU 1305305 А1, 23.04.1987. SU 134539 А1, 01.01.1960. US 4253638 А, 03.03.1981. ОРЛОВ П.И. Основы конструирования. – М.: Машиностроение, 1988, книга 1, стр.509. SU 1712538 А1, 15.02.1992. RU 2005872 С1, 15.01.1994.
(85) Дата перевода заявки PCT на национальную фазу:
18.07.2005
(86) Заявка PCT:
US 03/40191 (17.12.2003)
(87) Публикация PCT:
WO 2004/059118 (15.07.2004)
Адрес для переписки:
129090, Москва, ул. Б.Спасская, 25, стр. 3, ООО “Юридическая фирма Городисский и Партнеры”, пат.пов. С.А.Дорофееву
|
(72) Автор(ы):
ХЭМПХИЛЛ Эдвард Р. (US), БЕРКЕНХОФФ Майкл У. (US), КАРБО Вилльям Л. (US)
(73) Патентообладатель(и):
ХАЙДРИЛ КОМПАНИ (US)
|
(54) ДЕРЖАТЕЛЬ КРЫШКИ ПРОТИВОВЫБРОСОВОГО ПРЕВЕНТОРА (ВАРИАНТЫ), ПОДДЕРЖИВАЮЩЕЕ УСТРОЙСТВО ДЛЯ КРЫШКИ ПРОТИВОВЫБРОСОВОГО ПРЕВЕНТОРА И СПОСОБ ДОСТУПА К ПЛАШКЕ ПРОТИВОВЫБРОСОВОГО ПРЕВЕНТОРА
(57) Реферат:
Группа изобретений относится к противовыбросовым превенторам, в частности к вариантам держателя крышки противовыбросового превентора, поддерживающему устройству для крышки противовыбросового превентора и к способу доступа к плашке противовыбросового превентора. Держатель содержит, по меньшей мере, один поддерживающий компонент, соединенный с корпусом противовыбросового превентора, и установочный компонент крышки, подвижно соединенный, по меньшей мере, с одним поддерживающим компонентом и приспособленный к движению в направлении, перпендикулярном к торцевой поверхности корпуса противовыбросового превентора, при этом крышка соединена с компонентом крепления крышки. Обеспечивает простоту обслуживания противовыбросового превентора, быстрый доступ к его внутренним компонентам. 8 н. и 44 з.п. ф-лы, 43 ил.
Предшествующий уровень техники изобретения
Область техники, к которой относится изобретения
Настоящее изобретение относится непосредственно к противовыбросовым превенторам, используемым в нефтегазовой промышленности. Более точно, изобретение относится к противовыбросовому превентору с нестандартным механизмом крепления крышек.
Область применения изобретения
Контроль скважин – это важная сторона добычи нефти и газа. Когда бурится скважина, например, при проведении разведки на нефть и на газ, приборы должны находиться на месте для предотвращения ущерба персоналу и оборудованию, связанным с буровой деятельностью. Одно такое устройство контроля скважины известно как противовыбросовый превентор.
Противовыбросовые превенторы, как правило, используются для закупоривания ствола скважины. Например, буровые скважины при разведке нефти и газа затрагивают во время прохождения множество подповерхностных геологических структур, или «слоев». Каждый слой обычно имеет характерный геологический состав, такой как, например, сланец, песчаник, известняк и т.д. Каждый слой может содержать жидкости или газ при различных пластовых давлениях, и пластовые давления возрастают с увеличением глубины. Давление в стволе скважины обычно приводится, по меньшей мере, в равновесие с пластовым давлением посредством, например, увеличения плотности бурового раствора в стволе скважины или увеличения давления насоса у поверхности скважины.
Во время процесса бурения могут возникнуть случаи, когда ствол скважины проходит слой, имеющий пластовое давление существенно выше, чем давление, поддерживаемое в скважине. Когда это происходит, скважина, как говорят, «приняла удар». Повышение давления, сравниваемое с ударом, обычно вызывается притоком пластовых текучих сред (которые могут быть жидкостью, газом или их смесью) в ствол скважины. Скачок относительно высокого давления имеет склонность распространяться вверх по стволу скважины (из области высокого давления в область низкого давления). Если позволить скачку достигнуть поверхности, то буровой раствор, буровые инструменты и другие буровые конструкции могут быть выброшены из ствола скважины. Эти «выбросы» часто приводят к катастрофическому разрушению бурового оборудования (включая, например, буровой станок) и к серьезным ранениям или смерти персонала, обслуживающего буровую установку.
Вследствие риска выбросов противовыбросовые превенторы обычно устанавливаются у поверхности или на дне моря при глубоководном бурении, так чтобы скачки могли в достаточной мере контролироваться и «убираться из циркуляции» системы. Противовыбросовые превенторы могут быть приведены в действие для эффективного запечатывания ствола скважины до того, как будут приняты действенные меры по контролю скачка. Имеется несколько типов противовыбросовых превенторов, самые распространенные из которых универсальные противовыбросовые превенторы и плашечные противовыбросовые превенторы.
Универсальные противовыбросовые превенторы обычно включают кольцевые эластомеровые «пакеры», которые могут быть приведены в действие (например, накачены), чтобы герметизировать бурильную трубу и буровые инструменты и полностью закупорить ствол скважины. Второй тип противовыбросовых превенторов – это плашечный противовыбросовый превентор. Плашечные противовыбросовые превенторы обычно включают корпус и, по меньшей мере, две противоположно расположенные крышки. Крышки обычно прикреплены к корпусу по своей окружности с помощью, например, болтов. В качестве альтернативы, крышки могут быть прикреплены к корпусу шарнирами и болтами, так что крышка может поворачиваться боком для доступа техническому обслуживанию.
Внутренность каждой крышки – это поршневая плашка. Плашки могут быть также или трубными плашками (которые, когда приводятся в действие, движутся, чтобы захватить и окружить бурильную трубу и буровые инструменты, чтобы закупорить ствол скважины) или срезающими плашками (которые, когда приводятся в действие, движутся, чтобы захватить и физически срезать любую бурильную трубу или буровые инструменты в стволе скважины). Плашки обычно расположены напротив друг друга и, трубные ли плашки или срезающие, плашки обычно закупоривают навстречу друг другу, приближаясь к центру ствола скважины для того, чтобы полностью закупорить ствол шахты.
Как с любым инструментом, используемым при бурении скважин на нефть и газ, противовыбросовые превенторы должны правильно обслуживаться. Например, противовыбросовые превенторы содержат уплотнения высокого давления между крышками и их корпусом. Уплотнения высокого давления во многих случаях эластомеровые. Эластомеровые уплотнения должны регулярно проверяться, чтобы удостовериться, что эластомер не порезан, постоянно не деформируется или не распался в результате, например, химической реакции с буровым раствором в стволе скважины. Более того, часто желательно заменять трубные плашки срезающими плашками, или наоборот, чтобы предоставить различные параметры управления скважиной. Поэтому важно, что противовыбросовый превентор включает крышки, которые легко снимаются, так что к внутренним компонентам, таким как плашки, имеется доступ, и они могут быть обслужены.
Разработка противовыбросовых превенторов, которые легко обслуживаются, – это сложная задача. Например, как ранее упомянуто, крышки обычно присоединяются к корпусу превентора болтами или комбинацией шарниров и болтов. Болты должны быть сильно затянуты для того, чтобы удерживать уплотнение между дверцей крышки и корпусом превентора. Уплотнение между крышкой и корпусом превентора – это обычно торцевое уплотнение, и уплотнение должно быть способным выдержать очень высокие давления, присутствующие в стволе скважины.
В результате, необходимы специальные инструменты и оборудование, чтобы устанавливать и снимать дверцы крышек и крышки так, чтобы была доступна внутренняя часть корпуса превентора. Время, требуемое для установки и снятия болтов, соединяющих дверцы крышек с корпусом превентора, приводит к простою буровой установки, что вместе является дорогим и непроизводительным. Более того, весьма большие болты и почти полный «круг болтов» по окружности дверцы крышки вообще требуют приложения достаточных усилий для удерживания дверцы крышки напротив корпуса превентора. Размер болтов и круга болтов может увеличить высоту блока превентора. Обычно на практике работают с блоком превенторов (где несколько превенторов установлены вертикально относительно друг друга), и минимальная высота блока желательна при буровых работах.
Было сделано несколько попыток уменьшить высоту блока и время, требуемое для доступа во внутреннюю часть превентора. Патент США №5,655,745, выданный Моррилу, показывает возбуждаемый давлением держатель уплотнения, который устраняет торцевое уплотнение между дверцей крышки и корпусом превентора. Противовыбросовый превентор, показанный в 745 патенте, позволяет использовать меньшее количество более маленьких болтов в количестве, меньшем, чем в полном круге болтов для крепления крышки к корпусу. Сверх того, 745 патент показывает, что можно использовать шарниры вместо, по меньшей мере, некоторых болтов.
Патент США №5,897,094, выданный Бругману и др., раскрывает улучшенное соединение дверец превентора, которое включает верхний и нижний соединительные стержни для крепления крышек к превентору. Улучшенное соединение дверец превентора патента 094 не использует болтов для крепления крышек к превентору и описывает разработку, которая добивается сведения к минимуму высоты блока превенторов.
Сущность изобретения
Согласно изобретению создан держатель крышки противовыбросового превентора, содержащий, по меньшей мере, один поддерживающий компонент, прикрепленный к корпусу противовыбросового превентора, и установочный компонент крышки, соединенный с крышкой и подвижно соединенный с, по меньшей мере, одним поддерживающим компонентом и приспособленный к перемещению по существу перпендикулярно лицевой поверхности корпуса противовыбросового превентора.
По меньшей мере, один поддерживающий компонент может содержать первый поддерживающий компонент, имеющий направляющие для колес вдоль его верхней поверхности, и второй поддерживающий компонент, имеющий направляющие для колес вдоль его верхней поверхности, и установочный компонент крышки включает первый колесный блок, расположенный у первого конца установочного компонента крышки и приспособленный катиться вдоль верхней поверхности первого поддерживающего компонента, и второй колесный блок, расположенный у второго конца установочного компонента крышки и приспособленный катиться вдоль верхней поверхности второго поддерживающего компонента.
Первый колесный блок может включать два колеса, и второй колесный блок может включать два колеса.
Держатель может дополнительно включать поворотный шарнир, соединенный с установочным компонентом крышки и с крышкой и обеспечивающий вращение крышки при ее расцеплении с корпусом противовыбросового превентора. Поворотный шарнир может быть соединен с крышкой вблизи центра тяжести крышки или вблизи оси крышки.
Держатель может быть дополнительно включать подшипник, расположенный между установочным компонентом крышки и поворотным шарниром. Подшипник может включать упорный подшипник или радиальный подшипник.
По меньшей мере один поддерживающий компонент может включать первый поддерживающий компонент, шарнирно прикрепленный к корпусу противовыбросового превентора, и второй поддерживающий компонент, шарнирно прикрепленный к корпусу противовыбросового превентора. Первый поддерживающий компонент и второй поддерживающий компонент могут быть шарнирно соединены с корпусом противовыбросового превентора для обеспечения горизонтального перемещения крышки. Первый поддерживающий компонент и второй поддерживающий компонент могут быть шарнирно соединены с корпусом противовыбросового превентора для обеспечения вертикального перемещения крышки.
Держатель может дополнительно включать первый подвижный блок, подвижно соединенный с первым поддерживающим компонентом и вращательно соединенный с установочным компонентом крышки, и второй подвижный блок, подвижно соединенный с вторым поддерживающим компонентом и вращательно соединенный с установочным компонентом крышки.
Установочный компонент крышки может быть соединен с крышкой вблизи центра тяжести крышки или вблизи оси крышки.
Установочный компонент крышки может находиться в скользящем соединении с первым поддерживающим компонентом и со вторым поддерживающим компонентом.
Установочный компонент крышки может включать, по меньшей мере, одно первое колесо, приспособленное катиться вдоль первого поддерживающего компонента, и по меньшей мере, одно второе поддерживающее колесо, приспособленное катиться вдоль второго поддерживающего компонента.
По меньшей мере, один поддерживающий компонент может включать первый поддерживающий компонент, шарнирно прикрепленный к корпусу противовыбросового превентора на первой стороне бокового отверстия, и второй поддерживающий компонент, шарнирно прикрепленный к корпусу противовыбросового превентора на первой стороне бокового отверстия.
Держатель может дополнительно включать вертикальный поддерживающий компонент крышки, подвижно соединенный с первым поддерживающим компонентом и со вторым поддерживающим компонентом и соединенный с установочным компонентом крышки.
Вертикальный поддерживающий компонент крышки может находиться в скользящем соединении с первым поддерживающим компонентом и со вторым поддерживающим компонентом.
Вертикальный поддерживающий компонент крышки может включает подшипник, который может быть упорным подшипником или радиальным подшипником.
Держатель может дополнительно включать третий поддерживающий компонент, соединенный с корпусом противовыбросового превентора на второй стороне бокового отверстия, и подвижный блок, подвижно соединенный с третьим поддерживающим компонентом и соединенный с установочным компонентом крышки, при этом третий поддерживающий компонент имеет длину, обеспечивающую отсоединение подвижного блока от третьего поддерживающего компонента при перемещении установочного компонента крышки от корпуса противовыбросового превентора. Подвижный блок может находиться в скользящем соединении с третьим поддерживающим компонентом.
Согласно другому варианту выполнения держатель крышки противовыбросового превентора содержит первый поддерживающий компонент, прикрепленный к корпусу противовыбросового превентора, и второй поддерживающий компонент, прикрепленный к корпусу противовыбросового превентора, при этом крышка подвижно прикреплена к первому поддерживающему компоненту и ко второму поддерживающему компоненту и приспособлена к движению в основном перпендикулярно лицевой поверхности корпуса противовыбросового превентора, поворотно прикреплена к первому поддерживающему компоненту и ко второму поддерживающему компоненту и приспособлена к вращению вокруг горизонтальной оси.
Держатель может дополнительно включать первый соединительный блок, подвижно соединенный с первым поддерживающим компонентом и вращательно соединенный с крышкой, и второй соединительный блок, подвижно соединенный со вторым поддерживающим компонентом и вращательно соединенный с крышкой.
Держатель может дополнительно включать первый вращательный компонент, соединенный с крышкой и с первым соединительным блоком, и второй вращательный компонент, соединенный с крышкой и со вторым соединительным блоком.
Первый вращательный компонент может быть вращательно соединен с первым соединительным блоком, и второй вращательный компонент вращательно может быть соединен со вторым соединительным блоком.
Первый вращательный компонент может быть вращательно соединен с крышкой, и второй вращательный компонент может быть вращательно соединен с крышкой.
Согласно еще одному варианту выполнения держатель крышки противовыбросового превентора содержит первый поддерживающий компонент, соединенный с крышкой и подвижно соединенный с корпусом противовыбросового превентора, второй поддерживающий компонент, соединенный с крышкой и с корпусом противовыбросового превентора, поддерживающий блок, соединенный с корпусом противовыбросового превентора и подвижно соединенный с первым поддерживающим компонентом, и второй поддерживающий блок, соединенный с корпусом противовыбросового превентора и подвижно соединенный со вторым поддерживающим компонентом.
Первый поддерживающий блок может находиться в скользящем соединении с первым поддерживающим компонентом, и второй поддерживающий блок находится в скользящем соединении со вторым поддерживающим компонентом.
Первый поддерживающий блок может включать первый подшипник, и второй поддерживающий блок включает второй подшипник, которые могут включать упорный подшипник или радиальный подшипник.
Согласно еще одному варианту выполнения изобретения держатель крышки противовыбросового превентора содержит первый поддерживающий компонент, соединенный с крышкой и подвижно соединенный с корпусом противовыбросового превентора, второй поддерживающий компонент, соединенный с крышкой и подвижно соединенный с корпусом противовыбросового превентора, установочный компонент крышки, соединенный с первым поддерживающим компонентом, со вторым поддерживающим компонентом и с крышкой.
Держатель может дополнительно включать поворотный шарнир, соединенный с установочным компонентом крышки и с крышкой и обеспечивающий вращение крышки.
Согласно еще одному варианту выполнения изобретения держатель крышки противовыбросового превентора содержит первый поддерживающий компонент, соединенный с крышкой и подвижно соединенный с корпусом противовыбросового превентора, второй поддерживающий компонент, соединенный с крышкой и подвижно соединенный с корпусом противовыбросового превентора, при этом крышка вращательно соединена с первым поддерживающим компонентом и со вторым поддерживающим компонентом для обеспечения ее вращения вокруг горизонтальной оси.
Держатель может дополнительно включать первый вращательный компонент, соединенный с первым поддерживающим компонентом и с крышкой, и второй вращательный компонент, соединенный со вторым поддерживающим компонентом и с крышкой.
Первый вращательный компонент может быть соединен с крышкой и вращательно соединен с первым поддерживающим компонентом, и второй вращательный компонент может быть соединен с крышкой и вращательно соединен со вторым поддерживающим компонентом.
Первый вращательный компонент может быть вращательно соединен с крышкой и соединен с первым поддерживающим компонентом, и второй вращательный компонент вращательно соединен с крышкой и соединен со вторым поддерживающим компонентом.
Согласно еще одному варианту держатель крышки противовыбросового превентора содержит первый шарнирный компонент, шарнирно прикрепленный к корпусу противовыбросового превентора, и второй шарнирный компонент, шарнирно прикрепленный к крышке, при этом первый шарнирный компонент шарнирно прикреплен ко второму шарнирному компоненту для обеспечения движения крышки по существу перпендикулярно к лицевой поверхности противовыбросового превентора.
Согласно изобретению создано также поддерживающее устройство для крышки противовыбросового превентора, содержащее, по меньшей мере, один поддерживающий компонент, подвижно соединенный с крышкой и обеспечивающий перемещение крышки в направлении, по существу перпендикулярном к торцевой поверхности корпуса противовыбросового превентора.
Поддерживающий компонент может быть вращательно соединен с крышкой для обеспечения вращения крышки вокруг вертикальной оси, когда плашка находится на расстоянии от корпуса противовыбросового превентора.
Поддерживающее устройство может дополнительно включать вертикальный поддерживающий компонент, подвижно соединенный с, по меньшей мере, одним поддерживающим компонентом и вращательно соединенный с крышкой.
Вертикальный поддерживающий компонент может включать колесо, приспособленное катиться вдоль, по меньшей мере, одного поддерживающего компонента.
Поддерживающий компонент может включать рельс.
Поддерживающий компонент может быть соединен с рамой блока противовыбросовых превенторов.
Согласно изобретению создан способ доступа к плашке противовыбросового превентора, соединенной с корпусом противовыбросового превентора, включающий следующие стадии:
отцепление крышки, подвижно соединенной с корпусом противовыбросового превентора, от корпуса противовыбросового превентора;
перемещение крышки от корпуса противовыбросового превентора в направлении, перпендикулярном лицевой поверхности корпуса противовыбросового превентора;
вращение крышки вокруг оси вращения, пересекающей центр тяжести крышки;
доступ к плашке.
Перемещение крышки может включать качение крышки с использованием колес, соединенных, по меньшей мере, с одним поддерживающим компонентом.
Способ может дополнительно включать поворот поддерживающих компонентов вокруг вертикальной оси для перемещения крышки от корпуса противовыбросового превентора.
Способ может дополнительно включать поворот поддерживающих компонентов вокруг горизонтальной оси для перемещения крышки от корпуса противовыбросового превентора.
Способ может дополнительно включать поворот крышки на 180° вокруг горизонтальной оси для расположения плашки на расстоянии от корпуса противовыбросового превентора.
Первый поддерживающий компонент и второй поддерживающий компонент шарнирно могут быть соединены с корпусом противовыбросового превентора на первой стороне бокового отверстия, третий поддерживающий компонент соединен с корпусом противовыбросового превентора на второй стороне бокового отверстия, и подвижный блок соединен с крышкой и третьим поддерживающим компонентом, и который дополнительно включает отсоединение подвижного блока от третьего поддерживающего компонента и поворот первого поддерживающего компонента и второго поддерживающего компонента для перемещения крышки от корпуса противовыбросового превентора.
Перемещение крышки может включать вращение, по меньшей мере, одного шарнирного компонента, шарнирно соединенного с корпусом противовыбросового превентора.
Другие признаки и преимущества изобретения станут понятней из следующего описания и прилагающейся формулы изобретения.
Краткое описание чертежей
Фиг.1 показывает частичный разрез и покомпонентный вид противобросового превентора согласно настоящему изобретению.
Фиг.2 показывает увеличенный вид части варианта осуществления, показанного на фиг.1.
Фиг.3 показывает вариант осуществления устройства смещения радиального замка.
Фиг.4 показывает другой вариант осуществления устройства смещения радиального замка.
Фиг.5 показывает вариант осуществления изобретения, в котором радиальный замок захватывает часть крышки.
Фиг.6 показывает вариант осуществления радиального замка, включающего две половинки.
Фиг.7 показывает вариант осуществления радиального замка, состоящего из четырех сегментов.
Фиг.8 показывает вариант осуществления радиального замка, состоящего из множества сегментов.
Фиг.9 показывает вариант осуществления змеевидного радиального замка с прорезями.
Фиг.10 показывает вариант осуществления запирающего механизма, используемого в варианте осуществления изобретения.
Фиг.11 показывает вариант осуществления запирающего механизма, используемого в варианте осуществления изобретения.
Фиг.12 показывает вариант осуществления запирающего механизма, используемого в варианте осуществления изобретения.
Фиг.13 показывает вариант осуществления уплотнения для высокого давления, используемого в варианте осуществления изобретения.
Фиг.14 показывает вариант осуществления уплотнения для высокого давления, используемого в варианте осуществления изобретения.
Фиг.15 показывает вариант осуществления уплотнения для высокого давления, используемого в варианте осуществления изобретения.
Фиг.16 показывает вариант осуществления уплотнения для высокого давления, используемого в варианте осуществления изобретения.
Фиг.17 показывает вариант осуществления уплотнения для высокого давления, используемого в варианте осуществления изобретения.
Фиг.18 показывает вариант осуществления, где радиальный замок помещается в пазу в боковом проходе корпуса противобросового превентора.
Фиг.19 показывает вариант осуществления радиального замка, состоящего из двух половинок.
Фиг.20 показывает вариант осуществления радиального замка, состоящего из четырех сегментов.
Фиг.21 показывает вариант осуществления радиального замка, включающего множество прорезей.
Фиг.22 показывает вариант осуществления радиального замка, включающего градуированные прорези.
Фиг.23 показывает вид сбоку в перспективе варианта осуществления поворотного скользящего держателя, используемого в одном варианте изобретения.
Фиг.24 показывает вид спереди в перспективе варианта осуществления поворотного скользящего держателя, используемого в одном варианте изобретения.
Фиг.25 показывает вид сверху в перспективе варианта осуществления поворотного скользящего держателя, используемого в одном варианте изобретения.
Фиг.26 показывает вид сбоку в перспективе варианта осуществления крепления крышки, используемого в одном варианте изобретения.
Фиг.27А показывает вид сверху варианта осуществления крепления крышки, используемого в одном варианте изобретения.
Фиг.27В показывает вид сбоку варианта осуществления крепления крышки, используемого в одном варианте изобретения.
Фиг.27С показывает вид сверху варианта осуществления крепления крышки, используемого в одном варианте изобретения.
Фиг.28А показывает вид сверху варианта осуществления крепления крышки, используемого в одном варианте изобретения.
Фиг.28В показывает вид сбоку варианта осуществления крепления крышки, используемого в одном варианте изобретения.
Фиг.28С показывает вид сверху варианта осуществления крепления крышки, используемого в одном варианте изобретения.
Фиг.28D показывает вид сбоку варианта осуществления крепления крышки, используемого в одном варианте изобретения.
Фиг.29А показывает вид сверху варианта осуществления крепления крышки, используемого в одном варианте изобретения.
Фиг.29В показывает вид с торца варианта осуществления крепления крышки, используемого в одном варианте изобретения.
Фиг.29С показывает вид сбоку варианта осуществления крепления крышки, используемого в одном варианте изобретения.
Фиг.29D показывает вид сверху варианта осуществления крепления крышки, используемого в одном варианте изобретения.
Фиг.30А показывает вид сверху варианта осуществления крепления крышки, используемого в одном варианте изобретения.
Фиг.30В показывает вид сверху варианта осуществления крепления крышки, используемого в одном варианте изобретения.
Фиг.30С показывает вид сверху варианта осуществления крепления крышки, используемого в одном варианте изобретения.
Фиг.31А показывает вид сверху варианта осуществления крепления крышки, используемого в одном варианте изобретения.
Фиг.31В показывает вид сверху варианта осуществления крепления крышки, используемого в одном варианте изобретения.
Фиг.32 показывает вид сбоку варианта осуществления крепления крышки, используемого в одном варианте изобретения.
Подробное описание
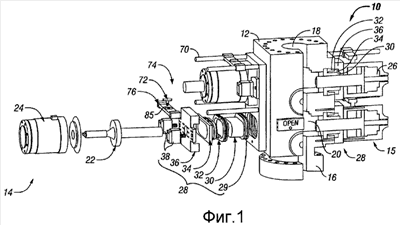
Вариант осуществления изобретения показан на Фиг.1. Плашечный противовыбросовый превентор 10 включает корпус противовыбросового превентора 12 и противоположно расположенные крышечные узлы 14. Корпус противовыбросового превентора 12 далее включает соединительные втулки 16 (которые могут быть, например, фланцами) на верхней поверхности и на нижней поверхности корпуса противовыбросового превентора 12, для соединения противовыбросового превентора 10, например, с другим противовыбросовым превентором или другим инструментом скважины. Корпус противовыбросового превентора 12 включает внутренний канал 18 для прохождения через него бурового раствора, бурильной трубы, инструментов скважины и тому подобного, используемого для бурения, например, нефтяных или газовых скважин. Корпус противовыбросового превентора 12 далее включает множество боковых проходов 20, где каждый из множества боковых проходов 20 обычно приспособлен для соединения с крышечным узлом 14.
Крышечные узлы 14 присоединены к корпусу противовыбросового превентора 12 обычно противостоящими парами, как показано на Фиг.1. Каждое крышечное устройство 14 также включает множество компонентов, приспособленных для прикрепления крышечного узла 14 к корпусу противовыбросового превентора 12 и приведения в действие плашечного поршня 22 внутри каждого крышечного узла 14. Компоненты крышечных узлов 14 включают сквозные отверстия для движения плашечного поршня 22.
Каждый крышечный узел 14 обычно включает сходные компоненты. Поскольку каждый крышечный узел 14 является раздельной и индивидуальной частью противовыбросового превентора 10, функционирование и конструкция каждого крышечного узла 14 являются сходными. Следовательно, для того чтобы упростить описание функционирования противовыбросового превентора 10 и крышечных узлов 14, компоненты и функционирование крышечного узла 14 будут детально описаны. Должно быть понято, что каждый крышечный узел функционирует сходным образом и что, например, противостоящие крышечные узлы 14 обычно функционируют согласованно.
Продолжая описание функционирования отдельного крышечного узла 14, поршень 22 приспособлен для соединения с плашкой, которая может быть, например, трубной плашкой или срезающей плашкой. Каждый плашечный поршень 22 присоединен к плашечному приводному цилиндру 24, который приспособлен к перемещению плашечного поршня 22 по оси внутри крышечного узла 14 в направлении, существенно перпендикулярном оси корпуса противовыбросового превентора 12, осью корпуса противовыбросового превентора 12 будет обычно называться вертикальная ось внутреннего канала 18 (которая обычно параллельна относительно оси ствола скважины). Плашка (не показана) обычно прикрепляется к плашечному поршню 22 и, если плашки (не показаны) являются срезающими плашками, перемещение по оси плашечного поршня 22 обычно вдвигает плашку (не показана) во внутренний канал 18 и приводит к контакту с аналогичной плашкой (не показана), соединенной с плашечным поршнем 22 в крышечном узле 14, расположенным на противоположной стороне противовыбросового превентора 10.
В качестве альтернативы, если плашки (не показаны) являются трубными плашками, перемещение по оси плашечного поршня обычно вдвигает плашку (не показана) во внутренний канал 18 и приводит к контакту с аналогичной плашкой (не показана) и с бурильной трубой и/или инструментами скважины, расположенными в стволе скважины. Следовательно, приведение в действие плашечного приводного цилиндра 24 перемещает плашечный поршень 22 и двигает плашку (не показана) в положение блокировки бурового раствора и/или пластовой текучей среды через внутренний канал 18 корпуса противовыбросового превентора 12, и при этом образуя герметизацию высокого давления, которая препятствует прохождению потока жидкости в ствол скважины или из него (не показан).
Плашечный приводной цилиндр 24 также включает привод 26, который может быть, например, гидравлическим приводом. Тем не менее, в технологии известны другие типы приводов, и они могут быть использованы в изобретении. Отметьте, что для целей описания изобретения текучая среда может быть определена как газ, жидкость или их смесь.
Например, если плашка (не показана) является трубной плашкой, приведение в действие плашечного поршня 22 перемещает плашку (не показана) в положение, закупоривающее вокруг бурильную трубу (не показана) или инструменты скважины (не показаны), проходящие сквозь внутренний канал 18 корпуса противовыбросового превентора 12. Далее, если плашка (не показана) является срезающей плашкой, приведение в действие плашечного поршня 22 перемещает плашку (не показана) в положение, когда любая бурильная труба (не показана) или инструменты скважины (не показаны), проходящие сквозь внутренний канал 18 корпуса противовыбросового превентора 12, срезаются и, следовательно, внутренний канал 18 запечатывается.
Радиальный запирающий механизм для прикрепления крышек к противовыбросовым превенторам
Важной стороной противовыбросового превентора 10 является механизм, посредством которого крышечные узлы 14 припечатываются к корпусу 12. Фиг.1 показывает радиальный запирающий механизм 28, который предназначен обеспечивать радиальное уплотнение высокого давления между крышечным узлом 14 и корпусом противовыбросового превентора 12. Более того, радиальный запирающий механизм 28 предназначен упростить обслуживание крышечного узла 14 и плашек (не показаны), расположенных в нем.
В вариантах осуществления, показанных на Фигурах, боковые проходы 20 и другие компоненты противовыбросового превентора 10 предназначены для сцепления между собой, и здесь они показаны как имеющие овальную или существенно эллиптическую форму. Овальная или существенно эллиптическая форма (например, овальное поперечное сечение) помогает уменьшить высоту блока противовыбросовых превенторов, таким образом, уменьшая вес, расход материала и стоимость. Другие формы, такие как круговые формы, тем не менее также подходят для применения в изобретении. Следовательно, рамки изобретения не будут ограничены формами вариантов осуществления, показанных на Фигурах.
Радиальный запирающий механизм 28 расположен внутри крышечного узла 14 и внутри бокового прохода 20 корпуса противовыбросового превентора 12. В данном варианте осуществления радиальный запирающий механизм 28 включает крышечное уплотнение 29, расположенное на корпусе крышки 30, радиальный замок 32, устройство смещения радиального замка 34, дверцу крышки 36 и приводы замка 38. Крышечное уплотнение 29 при приближении к боковому проходу 20 прижимает корпус крышки 30 к корпусу противовыбросового превентора 12. Крышечное уплотнение 29 включает уплотнение высокого давления, которое предотвращает утечку флюидов из внутреннего канала 18 корпуса противовыбросового превентора 12 через боковые проходы 20. Различные варианты осуществления крышечного уплотнения 29 будут обсуждены ниже в деталях.
Когда крышечное уплотнение 29 образуется между корпусом крышки 30 и корпусом противовыбросового превентора 12, корпус крышки 30 находится в установленной позиции и расположен приближенно к корпусу противовыбросового превентора 12 и, по меньшей мере, частично внутри бокового прохода 20. Так как крышечное уплотнение 29 является уплотнением высокого давления, радиальный запирающий механизм 28 должен быть прочным и способным выдерживать очень высокие давления, имеющиеся во внутреннем канале 18.
Вариант осуществления, показанный на фиг.1, включает оригинальный механизм для фиксации на месте крышечного узла 14 (и как результат крышечного уплотнения 29). Как показано на фиг.2, радиальный замок 32 имеет внутренний диаметр, подходящий под наружную поверхность 40 корпуса крышки 30 и постепенно переходящий в позицию, смежную с запечатывающим концом корпуса крышки 30. Радиальный замок 32 показан на фиг.2 включающим две половинки, разделенные центральной прорезью 46. Тем не менее, радиальный замок 32 может включать дополнительные сегменты, и два сегмента варианта осуществления, показанного на Фиг.2, не означают ограничения рамок изобретения. Дополнительные варианты осуществления радиального замка 32 будут описаны ниже с большими подробностями.
Устройство смещения радиального замка 34 также имеет внутренний диаметр, подходящий под наружную поверхность 40 корпуса крышки 30. Более того, устройство смещения радиального замка 34 далее включает клинообразную поверхность 48 на внешнем диаметре, который подходит снаружи под внутренний диаметр 50 радиального замка 32. Устройство 34 смещения радиального замка также имеет внутренний торец 56, приспособленный для соприкосновения с наружной поверхностью 54 корпуса противовыбросового превентора 12. В установленном положении корпус 30 крышки, радиальный замок 32 и устройство смещения радиального замка 34 расположены между корпусом противовыбросового превентора 12 и дверцей 36 крышки. Внутренняя поверхность 52 дверцы 36 крышки приспособлена для соприкосновения с наружной поверхностью 54 корпуса противовыбросового превентора 12. Заметьте, что сцепление между дверцей 36 крышки и корпусом противовыбросового превентора 12 нефиксированное (например, дверца 36 крышки не прикрепляется болтами к корпусу противовыбросового превентора 12).
Как показано на фиг.1, крышечный узел 14 приспособлен к скользящему сцеплению, по меньшей мере, с одним стержнем 70 посредством поворотного скользящего держателя 74 (отметьте, что два стержня 70 показаны скользяще сцепленными посредством поворотного скользящего держателя 74 с каждым крышечным узлом 14 на фиг.1). В результате скользящего сцепления крышечный узел 14 может скользить вдоль стержней 70. Как будет описано ниже, скользящее сцепление позволит крышечному узлу 14 перемещаться в положение фиксирующего и запечатывающего сцепления с корпусом противовыбросового превентора 12 и в обратное положение.
Каждый привод замка 38 прикрепляется к дверце 36 крышки посредством фиксированного или съемного крепления, включающего болты, клеящие вещества, сварные соединения, резьбовые соединения или близкие средства, известные в технологии. Приводы 38 замка также прикреплены к устройству 34 смещения радиального замка подобным способом. Кроме того, соединение между приводами 38 замка и устройством 34 смещения радиального замка может быть простым контактным сцеплением. Отметьте, что варианты осуществления на фиг.1 показывают два привода 38 замка, прикрепленных к каждой дверце 36 крышки. Тем не менее, одиночный приводной цилиндр 38 замка или множество приводов замка 38 могут быть использованы в изобретении. Приводы 38 замка показаны большей частью гидравлическими цилиндрами, тем не менее, в технологии известны другие типы приводов замка (включая, например, пневматические приводы, электромоторы и тому подобное) и они могут быть использованы в изобретении.
Сверх того, приводы 38 замка могут также управляться вручную. Приводы 38 замка в настоящем изобретении показаны стандартно управляемыми посредством, например, внешнего электрического сигнала, потоком нагнетаемой гидравлической жидкости, и т.д. В качестве альтернативы, радиальный замок 32 может быть приведен в действие ручными средствами, такими как, например, рычаг, система рычагов, резьбовое приводное устройство или другие подобные средства, известные в технологии. Далее, если, например, приводы 38 замка включают гидравлические цилиндры, гидравлические цилиндры могут быть приведены в действие ручным насосом. Таким образом, ручная активация радиального замка 32 находится в рамках изобретения.
Полностью собранный вид крышечного узла 14 включает радиальный запирающий механизм 28, показанный на Фиг.2. Во время функционирования механизма 28 крышечный узел 14 сначала перемещается в положение, приближенное к корпусу противовыбросового превентора 12, посредством скольжения крышечного узла 14 по направлению к корпусу противовыбросового превентора 12 по стержням 70. Приводы 38 замка тогда приводятся в действие так, что они смещают по оси (где ось смещения совпадает с осью бокового прохода 20) устройство 34 смещения радиального замка по направлению к корпусу противовыбросового превентора 12. Когда устройство 34 смещения радиального замка движется вдоль оси по направлению к корпусу противовыбросового превентора 12, клинообразная поверхность 48 соприкасается с внутренним диаметром 50 радиального замка 32, таким образом двигая радиальный замок 32 в радиальном направлении наружу (например, по направлению к внутренней поверхности 58 радиального замка бокового прохода 20). Когда активация радиального запирающего механизма 28 завершается, внутренняя горловина 60 устройства 34 смещения радиального замка приближается к несущему нагрузку выступу 44 корпуса 30 крышки, и внешний периметр 62 радиального замка 32 сцепляется с внутренней поверхностью 58 радиального замка и блокирует ее. Более того, как будет описано ниже, и радиальный замок 32, и внутренняя поверхность 58 радиального замка имеют наклонные поверхности (обращаясь, например, к сцепленным поверхностям, описываемым при обсуждении фиг.10 и 11 ниже). Когда радиальный замок 32 сцепляется с внутренней поверхностью 58 радиального замка, наклонные поверхности выполняют функцию осевой силы, которая «тянет» дверцу 36 крышки по направлению вовнутрь вдоль оси и плотно прижимается к наружной части корпуса противовыбросового превентора 12 и таким образом завершает блокирующее сцепление механизма радиального замка 28.
Когда радиальный замок 32 закреплен на месте активацией приводов 38 замка и устройства смещения радиального замка 34, корпус 30 крышки и крышечный узел 14 запираются на месте вдоль одной оси по отношению к корпусу противовыбросового превентора 12 без использования, например, болтов. Тем не менее, дополнительный ручной запирающий механизм (не показан) может быть также использован в сочетании с изобретением для гарантии того, что радиальный замок 32 остается закрепленным на месте. Когда радиальный замок 32 закреплен на месте посредством, например, гидропривода, ручной замок (не показан), такой как стержневой или резьбовой механизм, может быть приведен в действие в качестве дополнительного ограничения. Закрепленный радиальный запирающий механизм 28 способен удерживать на месте крышечный узел 14 и, следовательно, крышечное уплотнение 29 высокого давления. Радиальный замок 32 и крышечное уплотнение 29 высокого давления могут выдерживать большие напряжения, создаваемые высоким давлением, имеющимся во внутреннем канале 18 корпуса противовыбросового превентора 12 вследствие фиксирующего сцепления между радиальным замком 32 и внутренней поверхностью радиального замка 58 корпуса противовыбросового превентора 12.
Радиальный запирающий механизм 28 может быть расцеплен обратным действием приводов 38 замка (например, после того, как спадет давление во внутреннем канале 18). В результате, изобретение имеет радиальный запирающий механизм 28, который включает принудительную систему расцепления (например, приводы замка 38 могут быть приведены в действие для того, чтобы расцепить радиальный запирающий механизм 28).
Клинообразная поверхность 48, используемая для смещения по радиусу радиального замка 32, может включать любой из нескольких вариантов осуществления. Как показано на фиг.3, в одном варианте осуществления клинообразная поверхность 48 устройства 34 смещения радиального замка может иметь одиночную действующую ступень 80. В другом варианте осуществления, показанном на фиг.4, клинообразная поверхность 48 может иметь двойную действующую ступень 82. Одиночная действующая ступень 80 (фиг.3) обыкновенно имеет более короткий действующий ход, чем двойная действующая ступень 82 (фиг.4). Далее, угол действующей ступени 84 (фиг.3 и 4) способен увеличить до предела радиальную действующую силу и свести к минимуму линейную действующую силу. В одном варианте осуществления изобретения угол действующей ступени 84 (фиг.3 и 4) приблизительно 45 градусов. В другом варианте осуществления изобретения угол действующей ступени 84 (фиг.3 и 4) меньше, чем 45 градусов.
В другом варианте осуществления, показанном на фиг.5, устройство 34 смещения радиального замка дополнительно включает задвижку 90 и, по меньшей мере, один удерживающий штырь 92 способен удержать радиальный замок 32 напротив несущего нагрузку выступа 44 корпуса 30 крышки. В данном варианте осуществления радиальный замок 32 удерживается на месте, по меньшей мере, одним удерживающим штырем 92, и корпус 30 крышки, и радиальный замок 32 закрепляются взаимосвязано после того, как радиальный замок 32 приводится в действие и находится в фиксирующем сцеплении с внутренней поверхностью радиального замка 58 (фиг.2) бокового прохода 20 (фиг.1).
Радиальный замок 32 (фиг.1) может также включать любой из нескольких вариантов осуществления. Радиальный замок 32, показанный в варианте осуществления на фиг.1, включает две радиально отраженные половинки 94, 96, как показано далее на фиг.6. В другом варианте осуществления, как показано на фиг.7, радиальный замок 100 может быть образован, по меньшей мере, из двух линейных сегментов 102 и, по меньшей мере, двух полукруглых крайних сегментов 104. В другом варианте осуществления, как показано на фиг.8, радиальный замок 106 может быть образован множеством прямых зажимов 108 и множеством изогнутых зажимов 110. Варианты осуществления, показанные на фиг.7 и 8, по существу включают радиальные замки 100, 106, подобные радиальному замку 32 (фиг.1 и 6) первого варианта осуществления, но разделенные на множество сегментов. Радиальные замки 100, 106 могут быть изготовлены посредством, например, изготовления цельного радиального замка и последовательным распиливанием цельного радиального замка на два или более сегментов. Тем не менее, в технологии известны другие способы изготовления, которые могут быть использованы при изготовлении радиального замка.
В другом варианте осуществления, показанном на фиг.9, радиальный замок 112 может быть сделан из извилистой конструкции с прорезями 114, похожей на «изгибающийся ленточный конвейер». Радиальный замок 112 сформирован, например, как одна цельная деталь с выполненными в ней прорезями 117 по внутреннему периметру 114 или по внешнему периметру 116. Каждые из прорезей 117 могут полностью рассекать радиальный замок 112 или включать только частичные прорези. Далее, если прорези 117 рассекают радиальный замок 112, каждый сегмент может быть прикреплен к гибкой ленте 118, так что радиальный замок 112 может быть приведен в действие приводным кольцом 34 (фиг.1). Гибкая лента 118 может содержать материал с относительно низким модулем упругости (который сопоставим, например, с модулем упругости индивидуального сегмента), так что гибкая лента 118 может радиально растягиваться в ответ на радиальное смещение, осуществляемое устройством смещения радиального замка 34 (фиг.1). Радиальное растяжение гибкой ленты 118 приводит к фиксирующему сцеплению между радиальным замком 112 и внутренней поверхностью 58 радиального замка (фиг.2) корпуса противовыбросового превентора 12 (фиг.1).
Сцепление между радиальным замком 32 (фиг.1) и внутренней поверхностью 58 радиального замка (фиг.2) может также содержать различные варианты осуществления. В одном варианте осуществления, как показано на фиг.10, радиальный замок 120 может иметь одноконтурное сцепление, включающее одиночную поверхность сцепления радиального замка 122. Одиночная поверхность сцепления радиального замка 122 изготовлена для фиксирующего сцепления поверхности 59 сцепления противовыбросового превентора (фиг.2), сформированной на внутренней поверхности 58 радиального замка (фиг.2) бокового прохода 20 (фиг.1).
В другом варианте осуществления, как показано на фиг.11, радиальный замок 124 имеет двухконтурное сцепление, включающее две поверхности 126 сцепления радиального замка. Более того, радиальный замок 124 может также иметь множество поверхностей сцепления радиального замка, изготовленных для фиксирующего сцепления с аналогичным количеством поверхностей 59 сцепления противовыбросового превентора (фиг.2), сформированных на внутренней поверхности 58 радиального замка (фиг.2) бокового прохода 20 (фиг.1) корпуса противовыбросового превентора 12 (фиг.1).
Радиальные замки, описанные в упоминаемых вариантах осуществления, изготовлены так, что площадь поперечного сечения сцепления между поверхностями сцепления радиального замка и поверхностями 59 сцепления противовыбросового превентора (фиг.2) максимальна. Увеличение до предела площадей поперечного сечения сцепления гарантирует, что радиальные замки надежно запирают крышечный узел 14 (фиг.1) и в результате крышечное уплотнение 2 9 (фиг.1) на месте противостоит высоким давлениям, имеющимся во внутреннем канале 18 (фиг.1) противовыбросового превентора 10 (фиг.1). Более того, как обсуждалось прежде, углы поверхностей сцепления могут быть изготовлены для предоставления осевого усилия, которое плотно притягивает дверцу 36 крышки (фиг.1) к корпусу противовыбросового превентора 12 (фиг.1) и которое в некоторых вариантах осуществления может способствовать активации крышечного уплотнения 29 (фиг.1).
Радиальные замки и поверхности сцепления, описанные в предыдущих вариантах осуществления, могут быть покрыты, например, твердосплавным материалом и/или материалом с низким коэффициентом трения. Покрытия могут помочь предотвратить, например, истирание и могут предотвратить радиальные замки от заедания или «зависания» в поверхностях сцепления в течение активации и/или дезактивации радиального запирающего механизма 28 (фиг.1). Покрытия могут также увеличить срок службы радиальных замков и поверхностей сцепления, уменьшая трение и износ.
Другой вариант осуществления кольцевого замка показан как 127 на фиг.12. Радиальный замок 127 включает множество прорезей 128, множество отверстий 129 или их комбинацию. Прорези 128 и/или отверстия 129 уменьшают вес и площадь момента инерции радиального замка 127, таким образом, уменьшая действующую силу, требуемую для радиального смещения радиального замка 127. Для того чтобы допустить некоторую упругую деформацию радиального замка 127, радиальный замок 127 должен быть изготовлен из материала, имеющего относительно низкий модуль упругости (сравнимый, например, со сталью). Такие материалы включают титан, бериллий, медь и т.д. Сверх того, видоизменения геометрии радиального замка 127, в дополнение к сказанному выше, могут быть сделаны, например, для дальнейшего уменьшения площади момента инерции радиального замка 127 и уменьшения напряжений при изгибе.
Радиальные замки, описанные выше, предназначены для работы ниже предела упругости материала, из которого они сделаны. Функционирование ниже предела упругости гарантирует, что радиальные замки не будут постоянно деформироваться и в результате постоянной деформации не потеряют эффективности. Следовательно, выбор материала и площадь поперечного сечения сцепления поверхностей сцепления очень важен для конструкции радиального запирающего механизма 28 (фиг.1).
Как показано на фиг.1, крышечное уплотнение 29 предназначено противостоять высоким давлениям, имеющимся во внутреннем канале 18 корпуса противовыбросового превентора 12, и таким образом предотвращается проникновение жидкостей и/или газов из внутреннего канала 18 в наружное пространство противовыбросового превентора 10. Крышечное уплотнение может иметь несколько различных конфигураций, как видно из следующего обсуждения фиг.13-17. Сверх того, уплотнения, раскрываемые при обсуждении ниже, могут быть сделаны из многих материалов. Например, уплотнения могут быть эластомеровыми уплотнениями или неэластомеровыми уплотнениями (такими как, например, металлические уплотнения, РЕЕК уплотнения и т.д.). Металлические уплотнения далее могут включать С-образные уплотнения типа металл-металл и/или манжетные уплотнения типа металл-металл. Далее, уплотняющие приспособления, показанные ниже, могут включать комбинации типов уплотнений и материалов. Следовательно, тип уплотнения, количество уплотнений и материалы, используемые для изготовления радиальных и торцевых уплотнений, не подразумевают ограничения крышечного уплотнения 29.
Вариант осуществления на фиг.13 включает крышечное уплотнение 130, сформированное по радиальному периметру 132 корпуса 133 крышки. Радиальное уплотнение 130 дополнительно включает два уплотнительных кольца 134, расположенных в выемках 136, выполненных на радиальном периметре 132 корпуса 133 крышки. Уплотнительные кольца 134 плотно сцепляют внутренний периметр уплотнения 138 бокового прохода 20 (фиг.1) в корпусе противовыбросового превентора 12. Вариант осуществления, показанный на фиг.13, включает две выемки 136, но одиночная выемка или множество выемок могут подходить для использования с уплотнительными кольцами 134, одиночное уплотнительное кольцо или более двух уплотнительных колец могут быть использованы в изобретении.
В другом варианте осуществления, показанном на фиг.14, крышечное уплотнение 140 включает, по меньшей мере, два набивных уплотнения 146, которые могут быть, например, т-образными уплотнениями, манжетными уплотнениями или уплотнениями, продаваемыми под торговой маркой PolyPak, которая является торговой маркой Parker Hannifin, Inc., расположенных в выемках 148 на радиальном периметре 142 корпуса 144 крышки. Набивные уплотнения 146 плотно сцепляют внутренний периметр уплотнения 150 бокового прохода 20 (фиг.1) в корпусе противовыбросового превентора 12. Вариант осуществления, показанный на фиг.14, включает две выемки 148, но одиночная выемка или множество выемок могут подходить для использования с набивными уплотнениями 146. Сверх того, хотя в варианте осуществления показаны два набивных уплотнения 146, одиночное уплотнение или более двух уплотнений могут быть использованы в изобретении.
В другом варианте осуществления, показанном на фиг.15, крышечное уплотнение 152 включает радиальное уплотнение 154, расположенное в выемке 166, выполненной на радиальном периметре 160 корпуса 162 крышки. Более того, вариант осуществления включает торцевое уплотнение 156, расположенное в выемке 164, сформированной на сопряженной торцевой поверхности 168 корпуса 162 крышки. Радиальное уплотнение 154 приспособлено, чтобы плотно сцеплять внутренний периметр 158 уплотнения бокового прохода 20 (фиг.1) в корпусе противовыбросового превентора 12. Радиальное уплотнение 154 и торцевое уплотнение 156 показаны оба в варианте осуществления как уплотнительные кольца, расположенные в одиночных выемках 166, 164. Тем не менее, различные типы уплотнений (такие как, например, набивные уплотнения) и больше, чем одно уплотнение (расположенное, по меньшей мере, в одной выемке) могут быть использованы в изобретении.
В другом варианте осуществления, показанном на фиг.16, крышечное уплотнение 172 включает радиальное уплотнение 174, расположенное в выемке 178, выполненной на держателе 180 уплотнения. Держатель 180 уплотнения расположен в пазу 178, выполненном в корпусе 184 крышки, и также включает торцевое уплотнение 176, расположенное в выемке 177, сделанной на держателе 180 уплотнения. Торцевое уплотнение 176 приспособлено, чтобы плотно сцеплять сопряженную торцевую поверхность 186 корпуса противовыбросового превентора 12, и радиальное уплотнение приспособлено, чтобы плотно сцеплять внутренний периметр 188 уплотнения, сформированный на корпусе 184 крышки. Крышечное уплотнение 172 может также включать активизирующий механизм 190, который приспособлен смещать держатель 180 уплотнения по направлению к внешней поверхности 186 корпуса противовыбросового превентора 12 так, чтобы активизировать торцевое уплотнение 176. Механизм 190 активизации может включать, например, пружину, упорную шайбу или подобное устройство.
Механизм 190 активизации способствует гарантии того, что торцевое уплотнение 176 сохраняет позитивный контакт и, таким образом, сохраняет уплотнение высокого давления с внешней поверхностью 186 корпуса противовыбросового превентора 12. Тем не менее, механизм 190 активизации не требуется во всех вариантах осуществления. Например, держатель 180 уплотнения может быть изготовлен так, что и радиальное уплотнение 174, и торцевое уплотнение 176 оба приводятся в действие давлением без содействия механизма 190 активизации.
В варианте осуществления без механизма активизации толщина диаметра и по оси держателя уплотнения (такого как держатель 180 уплотнения, показанный на фиг.16) выбирается так, что высокое давление из внутреннего канала сначала двигает держатель уплотнения по направлению к внешней поверхности корпуса противовыбросового превентора. Когда торцевое уплотнение плотно сцепляет внешнюю поверхность, высокое давление из внутреннего канала вызывает радиальное расширение держателя уплотнения после того, как радиальное уплотнение плотно сцепляет выемку в держателе уплотнения. Подобное конструктивное решение раскрывается в Патенте США №5,255,890, выданном Моррилу и переданном правопреемнику настоящего изобретения. Патент 890 ясно описывает геометрию, требуемую для такого держателя уплотнения.
В варианте осуществления, показанном на фиг.16, торцевое уплотнение 176 и радиальное уплотнение 174 могут быть, например, уплотнительными кольцами, набивными уплотнениями или любыми другими уплотнениями высокого давления, известными в технологии. Более того, фиг.16 показывает только одиночные уплотнения, расположенные в одиночных выемках. Тем не менее, более одного уплотнения, более одной выемки или их комбинации может быть использовано в изобретении.
В другом варианте изобретения, показанном на фиг.17, держатель 192 уплотнения, как показано в предыдущем варианте осуществления, используется в сочетании с дублирующим уплотнением 194, расположенным в выемке 196 на внешней 198 поверхности корпуса 200 крышки. Дублирующее уплотнение 194 может быть уплотнительным кольцом, набивным уплотнением, металлическим уплотнением или любым другим уплотнением, известным в технологии. Дублирующее уплотнение 194 далее сохраняет уплотнение высокого давления, если, например, произойдет утечка из уплотнений, расположенных на держателе 192 уплотнения. Отметьте, что вариант осуществления, показанный на фиг.17, не включает механизм активизации.
Преимущественно, некоторые из вариантов осуществления уплотнений уменьшают осевое усилие, необходимое для образования крышечного уплотнения. Крышечные уплотнения, показанные выше, сильно уменьшают чувствительность крышечного уплотнения к изгибу дверцы поддерживанием постоянного сжатия независимо от давления в стволе скважины. Радиальные уплотнительные устройства также уменьшают площадь полной поверхности, на которую воздействует давление ствола скважины и таким образом уменьшает разделяющую силу, которая толкает дверцу крышки прочь от корпуса противовыбросового превентора.
В другом варианте осуществления радиального замка, показанном на фиг.18, радиальный запирающий механизм 220 включает радиальный замок 222, расположенный в пазу 224, выполненном на внутренней поверхности 226 бокового прохода 228 в корпусе 230 противовыбросового превентора. Функционирование радиального запирающего механизма 220 отличается от вариантов осуществления, описанных выше, в том, что крепление корпуса 232 крышки и, следовательно, дверцы крышки (не показана), и крышечного узла (не показан) достигается на месте приведением в действие радиального запирающего механизма 220 в радиальном направлении внутрь.
Конструкция варианта осуществления, показанного на фиг.18, подобна конструкции вариантов осуществления, описанных выше, исключая направление действия радиального запирающего механизма 220. Поэтому обсуждение настоящего варианта осуществления будет включать описание того, как альтернативный запирающий механизм 220 отличается от показанного выше. Общие элементы вариантов осуществлений (такие как, например, дверца 36 крышки, линейные стержни 70 и т.д.) не будут снова описываться в деталях. Более того, следует отметить, что вариант осуществления на фиг.18 не требует, например, приводных цилиндров или устройства смещения радиального замка (например, вариант осуществления на фиг.18 не требует внутреннего механизма привода).
Приведение в действие радиального замка 222 осуществляется в радиальном направлении внутрь. Следовательно, радиальный замок 222 должен быть соединен с приводным механизмом, который отличается, например, от устройства смещения радиального замка 34 (фиг.1) и приводов 38 замка (фиг.1), описанных в предыдущих вариантах осуществления. В одном варианте осуществления изобретения радиальный замок 222 включает конструкцию, сходную с конструкциями, показанными на фиг.6 и 7. Как показано на фиг.19, отдельные половинки 236, 238 радиального замка 222 могут быть соединены с радиально расположенными приводами 240. Когда корпус 232 крышки переходит в плотное сцепление с корпусом 230 противовыбросового превентора, приводы 240 смещают половинки 236, 238 радиального замка 222 в радиальном направлении внутрь, так что радиальный замок 222 входит в сцепление с выемкой 244 (фиг.18) корпуса 232 крышки (фиг.18). Радиальный запирающий механизм 220 (фиг.18) блокирует корпус 232 крышки (фиг.18) и, следовательно, дверцу крышки (не показано), и крышечный узел (не показан) на месте и активизирует уплотнение 234 высокого давления (фиг.18). Заметьте, что уплотнение 234 высокого давления (фиг.18) может быть образовано в любом варианте осуществления, показанном выше (таком, как варианты осуществления, описанные со ссылкой на фиг.13-17). Более того, радиальный замок 222 и выемка 244 могут включать наклонные поверхности (как раскрывается в предыдущих вариантах осуществления), которые предоставляют осевое усилие, которое притягивает корпус 232 крышки и крышечный узел (не показан), и дверцу крышки (не показана) по направлению к корпусу 230 противовыбросового превентора и далее гарантирует принудительное блокирующее сцепление.
Более того, как показано на фиг.20, радиальный замок 222 может включать более чем две части. Радиальный замок 250 включает, например, четыре части 252, 254, 256, 258, равное число приводов 240 (например, четыре), которые можно было бы использовать для приведения в действие радиального замка 250. В качестве альтернативы, меньшее число приводов 240 (например, меньше, чем четыре в варианте осуществления, показанном на фиг.20) может быть использовано, если привод 240, например, соединен более чем с одной частью из частей 252, 254, 256, 258 радиального замка 250. Приводы 240 могут быть гидроприводами или любым другим типом приводов, известным в технологии. Более того, приводы 240 могут быть расположены внутри корпуса 230 противовыбросового превентора (фиг.18) или могут быть расположены снаружи корпуса 230 противовыбросового превентора (фиг.18). Приводы 240 могут быть соединены с радиальным замком 250 посредством, например, механических или гидравлических передач (не показаны). В другом варианте осуществления радиальный замок 222 включает множество головок или зажимов (не показаны), которые соединены с множеством приводов (не показаны) и приводятся ими в действие.
В другом варианте осуществления изобретения, показанном на фиг.21, радиальный замок 270 может быть образован одним сегментом 272. Радиальный замок 270 приводится в действие круговыми приводами 274, соединенными с радиальным замком 270 и расположенными близко к концам 276, 278 сегмента 272. Когда происходит действие, круговые приводы 274 перемещают концы 276, 278 сегмента 272 по направлению друг к другу и в радиальном направлении внутрь, как показано стрелками на фиг.21. Пунктирная линия на фиг.21 представляет внутреннюю поверхность 277 радиального замка 270 после приведения в действие. Радиальный замок 270, когда приводится в действие, сцепляет корпус 232 крышки (фиг.18) способом, подобным показанному на фиг.18.
Сегмент 272 радиального замка 270 может быть изготовлен формированием множества прорезей 284, приближенных к конечным сегментам 280, 282. Прорези 284 могут быть изготовлены для легкой установки радиального замка 270 в паз 224 на фиг.18 и для улучшения гибкости радиальной деформации радиального замка 270. Прорези могут быть любой формы, известной в технологии. Например, фиг.22 показывает прямоугольные прорези 284. Тем не менее, предпочтительно, чтобы прорези 284 могли быть изготовлены способом, который уменьшает концентрации напряжений или рост напряжений на краях прорезей 284. Например, если прорези 284 сделаны прямоугольной формы, возрастания напряжений могут формироваться у относительно острых углов. Следовательно, прорези 284 могут включать закругленные углы (не показаны) или, например, существенно трапециевидные формы (не показаны) для сведения к минимуму эффекта возрастания напряжений.
Более того, прорези 284 могут быть «градуированными», как показано на фиг.22, чтобы предоставить существенно гладкий переход между относительно жесткими прямыми сегментами 286 и относительно гибкими конечными сегментами 280, 282. Градуировка прорезей 284 осуществляет плавное перемещение жесткости, которое помогает предотвратить возрастание напряжений у последней прорези (например, у последней прорези, приближенной к прямому сегменту 286).
Радиальный замок 270 может быть изготовлен из одного материала или из различных материалов (включающих, например, сталь, титан, бериллий, медь или их сочетания и/или их сплавы). Например, искривленные конечные сегменты 280, 282 могут быть сделаны из материала, который относительно податливый по сравнению с относительно жестким материалом, формирующим прямые сегменты 286 (например, искривленные конечные сегменты 280, 282 могут быть сделаны из материала с модулем упругости ЕC, который существенно ниже, чем модуль упругости ES прямых сегментов 286. Независимо от материалов, используемых для изготовления радиального замка 270, радиальный замок 270 должен быть достаточно гибким, чтобы позволить его установку в паз или извлечение его из паза 224 (фиг.18).
В качестве альтернативы, радиальный замок 270 на фиг.21 может включать более одного сегмента (например, две половинки или множество сегментов), соединенного с множеством окружающих приводов и приводимого ими в действие. Радиальный замок 270 может также включать множество отдельных головок или зажимов, соединенных гибкой лентой. Головки могут быть разделены зазорами, и разделяющее расстояние может быть выбрано так, чтобы обеспечить желаемую гибкость радиальному замку 270.
Головки и гибкая полоса могут включать различные материалы. Например, головки могут быть изготовлены из довольно жесткого материала (например, из материала с относительно высоким модулем упругости), включающего, например, сталь или сплавы на основе никеля. Гибкая лента, напротив, может быть изготовлена из материала, имеющего относительно низкий модуль упругости и включающего, например, титановые сплавы, или плоскости или формы, включающие стекловолокно, углеродное волокно или композитный материал на их основе. Как описано выше, радиальный замок вариантов осуществления, показанных на фиг.19-22, может быть покрыт, например, твердосплавными материалами (включающими, например, карбид вольфрама, нитрид бора и подобные материалы, известные в технологии) или материалами с низким коэффициентом трения (включающими, например, политетрафторэтилен и подобные материалы, известные в технологии) для того, чтобы, например, уменьшить трение и износ и увеличить долговечность деталей. Вещественный состав радиального замка 270 не ограничивается.
Варианты осуществления, показанные на фиг.19-22, могут быть полезны вследствие уменьшенного веса крышечного узла и, следовательно, уменьшенного веса всего противовыбросового превентора. Более того, имеется возможность модернизировать старые противовыбросовые превенторы посредством установки радиального запирающего механизма.
Поворотный скользящий держатель для крышечных узлов
Как показано на фиг.1, другим важным признаком изобретения являются поворотные скользящие держатели 74, соответственно соединенные со стержнями 70 и с каждым из крышечных узлов 14. Как описывалось здесь ранее, крышечные узлы 14 соединены с поворотными скользящими держателями 74, и поворотные скользящие держатели 74 находятся в скользящем сцеплении со стержнями 70. Поворотные скользящие держатели 74 устроены так, чтобы позволить крышечным узлам 14 вращаться приближенно к их осевым линиям так, чтобы плашки (не показаны) и внутренние компоненты крышечных узлов 14 и корпуса противовыбросового превентора 12 могли быть доступны для обслуживания, замены плашек и т.д.
Вариант осуществления поворотного скользящего держателя 74 показан на фиг.23 и 24. Поворотный скользящий держатель 74 включает поворотно-скользящий несущий брусок 76 и поворотную пластину 78. Поворотно-скользящий несущий брусок 76 находится в скользящем соединении со стержнями 70. Скользящее соединение между поворотно-скользящим несущим бруском 76 и стержнями 70 может быть исполнено с помощью, например, линейных подшипников 87, которые прикреплены к поворотно-скользящему несущему бруску 76. Тем не менее, другие скользящие соединения, известные в технологии, могут быть использованы в изобретении для формирования скользящего соединения. Более того, втулки (не показаны) или сочетание линейных подшипников 87 и втулок (не показаны) могут быть использованы в изобретении. Поворотная пластина 78 находится во вращательном соединении с поворотно-скользящим несущим бруском 76 и прикреплена к верхней поверхности 75 крышечного узла 14. Взаимодействующее соединение поворотного скользящего держателя 74 с крышечным узлом 14 сделано в осевой линии крышечного узла 14.
Стержни 70 выполнены с достаточной длиной, чтобы позволить крышечному узлу 14 отсоединиться и отодвинуться от корпуса противовыбросового превентора 12 до тех пор, пока плашка (не показана) не выйдет полностью из бокового прохода 20. Более того, точка 82 крепления, где поворотный скользящий держатель 74 прикреплен к верхней поверхности 75 крышечного узла 14, может быть оптимизирована так, что точка 82 крепления окажется весьма близко к центру тяжести крышечного узла 14. Расположение точки крепления 82 весьма близко от центра тяжести уменьшит силу, требуемую для поворота крышечного узла 14, и также уменьшит напряжение при изгибе, испытываемое поворотной пластиной 78.
Поворотная пластина 78 может далее включать подшипник 85. Например, подшипник 85 может быть прикреплен к поворотно-скользящему несущему бруску 76 и приспособлен выдерживать радиальные и осевые нагрузки, возникающие при вращении крышечного узла 14. Подшипник 85 может включать, например, комбинацию радиального подшипника и упорного подшипника (такого, как, например, конического роликоподшипника). В качестве альтернативы, подшипник 85 может включать, например, роликоподшипник для несения радиальных нагрузок и упорную шайбу для несения осевых нагрузок. Тем не менее, другие типы подшипниковых устройств, известных в технологии, могут быть использованы в поворотной пластине 78.
Когда плашка (не показана) находится полностью вне бокового прохода 20, крышечный узел может вращаться вокруг оси вращения поворотной пластины 78, так что плашка (не показана) и боковой проход 20 могут быть доступны для обслуживания, осмотра и т.п. В варианте осуществления, показанном на фиг.23 и 24, нижний крышечный узел 14 показан повернутым приблизительно на 90 градусов по отношению к корпусу противовыбросового превентора 12, в то время как верхний крышечный узел 14 остается в фиксирующем сцеплении с корпусом противовыбросового превентора 12. Узел 80 крепления колодки плашки ясно виден.
Фиг.25 показывает вид сверху противовыбросового превентора 10, когда один из крышечных узлов 14 находится в расцепленном положении с корпусом противовыбросового превентора 12 и повернут приблизительно на 90 градусов. Как показано, узел 80 крепления колодки плашки ясно виден и может быть доступен по вертикали. Доступ по вертикали – это значительное удобство перед крышками предшествующего уровня техники, которые включают петли, обычно поворачивающиеся вокруг края дверцы крышки. Следовательно, если, например, нижняя крышка противовыбросового превентора раскручена и открыта, плашка не может быть доступна сверху, потому что корпус верхней крышки противовыбросового превентора будет на пути. Доступ по вертикали к плашке важен потому, что это облегчает обслуживание или замену плашек, таким образом, уменьшая время, требуемое для обслуживания противовыбросового превентора, и увеличивая уровень безопасности персонала, осуществляющего обслуживание. Далее, доступ по вертикали позволяет, например, обслуживание нижней крышки противовыбросового превентора, когда верхняя крышка зафиксирована на месте (например, фиг.23-25).
Крышечный узел 14 может быть также повернут приблизительно на 90 градусов в другом направлении относительно оси бокового прохода 20 (фиг.1), таким образом, допускается поворот приблизительно на 180 градусов. Тем не менее, может быть разработан другой вариант осуществления, который позволит поворот больше или меньше, чем 180 градусов. Диапазон вращения поворотного скользящего держателя 74 не ограничивается рамками изобретения.
Поворотный скользящий держатель 74 выгоден вследствие простоты конструкции и крепления к крышечному узлу 14. Например, петли предшествующего уровня техники сложны, трудны для производства и относительно дороги. Далее, петли предшествующего уровня техники должны быть крепкими, потому что они несут полный вес крышки противовыбросового превентора около вертикальной оси, расположенной на некотором расстоянии от центра тяжести крышки. Изгибающий момент, действующий на петлю, в результате очень высок, и деформация петли может привести к «провисанию» крышки.
Фиг.26-31 показывают варианты осуществления крышечного держателя противовыбросового превентора согласно изобретению. В каждом из вариантов осуществления держатель установлен так, что крышка противовыбросового превентора может быть отцеплена и отодвинута от корпуса противовыбросового превентора в направлении, по существу перпендикулярном к торцу корпуса противовыбросового превентора, так что плашка становится в стороне от отверстия. Когда плашка находится на расстоянии, крышка может быть повернута или отодвинута, чтобы облегчить доступ к плашке. Фраза «по существу перпендикулярный» используется для указания направления от противовыбросового превентора и торца, где находится боковое отверстие. Те, кто имеет квалификацию в технологии, поймут, что точное направление будет зависеть от конструкции противовыбросового превентора, крышек и бокового отверстия, но направление будет обычно нормальным к поверхности корпуса противовыбросового превентора.
Фиг.26 показывает один вариант осуществления держателя крышки 602 противовыбросового превентора согласно одному аспекту изобретения. Противовыбросовый превентор 601 имеет корпус противовыбросового превентора 603, имеющий четыре боковых отверстия, например боковые отверстия 650. Четыре крышки противовыбросового превентора 611, 612, 613, 614 могут быть приспособлены к соединению с боковыми отверстиями. Например, фиг.26 показывает крышку противовыбросового превентора 612, приспособленную для прикрепления к корпусу противовыбросового превентора 603 у бокового отверстия 650.
Держатель 602 крышки противовыбросового превентора также показан на фиг.26. Держатель 602 крышки противовыбросового превентора включает два поддерживающих компонента 621, 622 и установочный компонент крышки 628. Держатель 602 противовыбросового превентора позволяет крышке 612 противовыбросового превентора отодвигаться от корпуса 603 противовыбросового превентора в направлении, по существу перпендикулярном к торцу 655 корпуса 603 противовыбросового превентора, и затем поворачивается так, чтобы плашку (не показана) можно было заменить легче.
Поддерживающие компоненты 621, 622, показанные на фиг.26, прикреплены к корпусу 603 противовыбросового превентора. Поддерживающие компоненты 621, 622 могут также быть приспособленными для того, чтобы позволить колесам катиться параллельно по верхней части поддерживающих компонентов 621, 622. Поддерживающие компоненты 621, 622 проходят на достаточное расстояние от корпуса 603 противовыбросового превентора, так что крышка 612 противовыбросового превентора может быть отодвинута от корпуса 603 противовыбросового превентора, так что плашка (не показана) становится в стороне от корпуса 603 противовыбросового превентора и бокового отверстия 650. В этом изложении «становится в стороне» от корпуса противовыбросового превентора или бокового отверстия означает удаление на существенное расстояние, так что крышка может поворачиваться без контакта между колодкой плашки и корпусом противовыбросового превентора.
Компонент 628 крепления крышки может включать два колесных блока 624, 626 и поворотную пластину 630. Один колесный блок расположен на каждом конце компонента 628 крепления крышки. Каждый колесный блок 624, 626 включает, по меньшей мере, одно колесо, размещенное на верхней части поддерживающего компонента 621 или 622, чтобы катиться по нему. В варианте осуществления, показанном на фиг.26, каждый колесный блок 624, 626 включает два колеса, хотя другое число колес может быть использовано без отклонения от смысла изобретения.
Поворотная пластина 630 может быть вращательно прикреплена к компоненту 628 крепления крышки и соединена с крышкой 612. В некоторых вариантах осуществления поворотная пластина 630 вращательно соединена с компонентом 628 крепления крышки близко к центру компонента 628 крепления крышки. В некоторых других вариантах осуществления поворотная пластина 630 прикреплена к крышке 612 над центром тяжести крышки 612. В некоторых вариантах осуществления поворотная пластина 630 прикреплена фиксировано к компоненту 628 крепления крышки и вращательно прикреплена к крышке 612.
Держатель 602 крышки, согласно варианту осуществления, показанному на фиг.26, позволяет более легкий осмотр и замену плашек (не показаны), расположенных на конце плашечного поршня 651. Крышка 612 сначала отцепляется от корпуса 603 противовыбросового превентора. Способ сцепления и расцепления крышки не является частью изобретения, и изобретение не ограничивается этими способами. Затем крышка 612 отодвигается от корпуса 603 противовыбросового превентора в направлении, существенно нормальном к торцу 655 корпуса 603 противовыбросового превентора. Крышка 612 соединена с компонентом крепления крышки 628, и колеса на компоненте 628 крепления крышки позволяют крышке 612 отодвигаться от корпуса 603 противовыбросового превентора. С того момента, как плашка (не показана) находится в стороне от бокового отверстия 650, крышка 612 может быть повернута в любую сторону, так что плашка (не показана) может быть осмотрена или заменена.
Вариант осуществления, показанный на фиг.26, включает два поддерживающих компонента. Понятно, что только один поддерживающий компонент или более двух поддерживающих компонентов могло использоваться без отклонения от смысла изобретения. Подобным образом, многие из вариантов осуществления, описанных со ссылкой на фиг.27А-31В, включают два поддерживающих компонента. Также понятно, что только один поддерживающий компонент или более двух поддерживающих компонентов могут использоваться без отклонения от смысла изобретения.
Фиг.26 показывает три дополнительные крышки 611, 613, и 614. Действие держателей крышек, связанных с этими крышками, подобно описанному выше. Следовательно, это действие не будет описываться индивидуально. Далее, варианты осуществления на фиг.27А-32, показывают только одну крышку и связанный с ней держатель. Понятно, что каждый вариант осуществления может использоваться с любым количеством крышек в противовыбросовом превенторе. К тому же, с каждой стороны изобретения, желательно выполнять любые соединения с крышкой близко к ее центру тяжести или вдоль центральной оси. Так как это не может быть упомянуто определенно с известными вариантами осуществления изобретения, варианты осуществления могут включать такие соединения.
Фиг.27А показывает вид сверху держателя 701 крышки согласно варианту осуществления изобретения. Крышка 605 показана извлеченной из корпуса 603 противовыбросового превентора, так что колодка 607 плашки находится в стороне от корпуса 603 противовыбросового превентора. Крышка 605 прикреплена к компоненту 703 крепления крышки, который подвижно соединен с двумя поддерживающими компонентами 711, 712. Установочный компонент 703 держателя крышки подвижно соединен с двумя поддерживающими компонентами 711, 712 посредством двух боковых блоков 706, 707. Боковые блоки 706, 707 могут включать линейные подшипники (как показано на фиг.23), колесные блоки (как показано на фиг.26) или любые другие подходящие крепления, которые позволяют крышке 605 и установочному компоненту 703 держателя крышки отодвигаться от корпуса 603 противовыбросового превентора в направлении, по существу перпендикулярном к торцу корпуса 603 противовыбросового превентора.
Крышка 605 может быть жестко прикреплена к установочному компоненту 703 держателя крышки посредством соединителя 705 крышки. В качестве альтернативы, крышка 605 может быть прикреплена вращательно к установочному компоненту 703 держателя крышки посредством поворотной пластины, как описано выше со ссылкой на фиг.23 и 26.
Поддерживающие компоненты 711, 712 могут быть шарнирно соединены с корпусом 603 противовыбросового превентора. Фиг.27А показывает поддерживающий компонент 711, шарнирно соединенный с корпусом 603 противовыбросового превентора посредством петли 708. Подобным образом, поддерживающий компонент 712 показан шарнирно соединенным с корпусом противовыбросового превентора с помощью петли 709. Петли 708, 709 позволяют поддерживающим компонентам 711, 712 поворачиваться так, что крышка движется в горизонтальном направлении.
Фиг.27В показывает вид сбоку держателя 701 крышки согласно этому аспекту изобретения. Крышка 605 подвешивается под поддерживающими компонентами 711, 712 (на виде сбоку на фиг.27В показан только поддерживающий компонент 711). Установочный компонент 703 крышки вращательно соединен с каждым из боковых блоков 706, 707 (на боковом виде фиг.27В показан только один боковой блок 707). Фиг.27В показывает боковой блок 707, вращательно соединенный с установочным компонентом 703 крышки в точке 715 поворота. Хотя это не показано на фиг.27В, понятно, что установочный компонент 703 крышки подобным образом соединен с боковым блоком 706.
Фиг.27С показывает вид сверху держателя 701 крышки с поддерживающими компонентами 711, 712, повернутыми в одну сторону, так что колодка 607 плашки более доступна для осмотра и замены. Поддерживающие компоненты 711, 712 поворачиваются в точках, в которых они шарнирно прикреплены к корпусу 603 противовыбросового превентора. В варианте осуществления, показанном на фиг.27С, поддерживающий 711 компонент соединен с корпусом противовыбросового превентора посредством петли 708, а поддерживающий компонент 712 соединен с корпусом противовыбросового превентора посредством петли 709. Петельные соединения 708, 709 и вращательные соединения боковых блоков 706, 707 позволяют крышке 605 горизонтально отклоняться от корпуса 603 противовыбросового превентора так, чтобы колодка 607 плашки была легко доступна.
Вариант осуществления, показанный на фиг.27А-27С, включает держатель крышки, позволяющий крышке перемещаться горизонтально. В некоторых вариантах осуществления (не показано) держатель крышки допускает вертикальное перемещение крышки. В таком варианте осуществления поддерживающие компоненты могут быть шарнирно соединены с корпусом противовыбросового превентора, так что они могут поворачиваться в направлении вверх или вниз. Это было бы полезно, например, если колодку плашки было бы легче осмотреть или заменить сверху или снизу противовыбросового превентора.
Фиг.28A-28D показывают держатель 801 крышки согласно варианту осуществления изобретения. Крышка 605 соединена с корпусом 603 противовыбросового превентора так, что крышка 605 может перемещаться от корпуса 603 противовыбросового превентора по существу перпендикулярно к торцу корпуса 603 противовыбросового превентора. С того момента, как колодка плашки 607 находится на расстоянии от корпуса 603 противовыбросового превентора, крышка 605 способна поворачиваться в вертикальной плоскости, так что крышка 605 становится обращенной в другую сторону.
Фиг.28А показывает вид сверху держателя 801 крышки согласно данному варианту осуществления изобретения. Крышка 605 может быть соединена с корпусом противовыбросового превентора двумя поддерживающими компонентами 807, 808, двумя подвижными блоками 803, 805 и двумя вращающими компонентами 810, 811 крышки.
Поддерживающие компоненты 807, 808 соединены с корпусом противовыбросового превентора любым способом, известным в технологии. В некоторых вариантах осуществления поддерживающие компоненты 807, 808 соединены фиксировано с корпусом 603 противовыбросового превентора. Подвижный блок 803 соединен подвижно с поддерживающим компонентом 807, а подвижный блок 805 соединен подвижно с поддерживающим компонентом 808. Подвижные блоки 803, 805 приспособлены двигаться вдоль поддерживающих компонентов.
В некоторых вариантах осуществления поддерживающие компоненты 807, 808 включают поддерживающие стержни, и подвижные блоки 803, 805 включают линейные подшипники или втулки, приспособленные скользить вдоль поддерживающих стержней. В других вариантах осуществления каждый из подвижных блоков 803, 805 включает, по меньшей мере, одно колесо, и поддерживающие компоненты 807, 808 приспособлены к тому, чтобы, по меньшей мере, одно колесо могло ездить по верхней части поддерживающих компонентов 807, 808.
Крышка 605 может быть соединена с подвижными блоками 803, 805 с помощью двух вращательных компонентов 810, 811. Вращательный компонент 810 соединен с крышкой 605 и с подвижным блоком 803. Второй вращательный компонент 811 присоединен к другой стороне крышки 605 и к подвижному блоку 805. Вращательные компоненты 810, 811 прикрепляются таким способом, чтобы позволить крышке 605 вращаться вокруг горизонтальной оси. Это может быть удобно при фиксированном креплении вращательных компонентов 810, 811 к крышке 605 и при вращательном креплении вращательных компонентов 810, 811 к подвижным блокам 803, 805. Наоборот, вращательные компоненты 810, 811 могут быть соединены фиксировано с подвижными блоками 803, 805 и соединены вращательно с крышкой 605. Другие способы подвижного и вращательного соединения крышки с поддерживающими компонентами могут быть изобретены, не выходя за рамки изобретения. Например, все соединения могут быть вращательными соединениями.
Фиг.28 В показывает вид сбоку держателя 801 крышки согласно варианту осуществления изобретения, показанному на фиг.28А. Поддерживающие компоненты 807, 808 (на боковом виде фиг.28В показан только один поддерживающий компонент 807) могут быть расположены на одной линии с горизонтальной осью крышки 603. Подвижные блоки 803, 805 (на боковом виде фиг.28В показан только один подвижный блок 803) и вращательные компоненты 810 и 811 (фиг.28А) могут быть расположены на одной линии близко к центру тяжести крышки 605.
Фиг.28С показывает вид сверху держателя 801 крышки согласно варианту осуществления изобретения, показанному на фиг.28А и 28В. Крышка 605 повернута на 180° в вертикальной плоскости, так что колодка 607 плашки смотрит в другую сторону от корпуса 603 противовыбросового превентора. В этой позиции колодка 607 плашки может быть доступна для осмотра и замены.
Фиг.280 показывает вид сбоку держателя 801 крышки с крышкой 605, повернутой так, что колодка 607 плашки смотрит в другую сторону от корпуса 603 противовыбросового превентора. Крышка может поворачиваться из исходного положения (как показано на фиг.28В) в любом направлении. В некоторых вариантах осуществления держатель 801 крышки может включать запирающий механизм, который может фиксировать крышку 605 в соединенном состоянии с боковым отверстием 650 в корпусе 603 противовыбросового превентора или в повернутом на 180° положении для осмотра и замены. К тому же, держатель 801 крышки, согласно этому аспекту изобретения, может иметь запирающий механизм, приспособленный для фиксирования крышки в положении поворота на 90°, то есть когда колодка 607 плашки указывает вверх или вниз. Такая позиция может быть желательна, например, при условии, когда осмотр колодки 607 плашки удобнее осуществлять сверху или снизу.
Фиг.29А-29D показывают держатель 901 крышки согласно варианту осуществления изобретения. Крышка 605 соединена с корпусом 603 противовыбросового превентора посредством, по меньшей мере, трех поддерживающих компонентов 911, 912, 913, по меньшей мере, два из которых (компоненты 911, 912) шарнирно соединены с корпусом 603 противовыбросового превентора.
Фиг.29А показывает вид сверху держателя 901 крышки согласно данному варианту осуществления изобретения. Крышка 605 показана сцепленной с корпусом 603 противовыбросового превентора, и колодка плашки 607 показана расположенной внутри корпуса 603 противовыбросового превентора. Крышка 605 соединена с корпусом 603 противовыбросового превентора посредством установочного компонента 915 крышки, вертикального поддерживающего компонента 921 крышки и трех поддерживающих компонентов 911, 912, 913 (поддерживающий компонент 912 не показан на виде сверху фиг.29А, фиг.29В и 29С).
Фиг.29В показывает вид с торца держателя 901 крышки. Крышка 605 соединена с установочным компонентом 915 крышки посредством поддерживающей крышку пластины 919. В некоторых вариантах осуществления поддерживающая крышку пластина 919 имеет фиксированное соединение, хотя поддерживающая крышку пластина 919 может иметь вращательное соединение без отклонения от смысла изобретения.
Установочный компонент 915 крышки, с одной стороны, соединен с вертикальным поддерживающим компонентом 921 крышки. С другой стороны, установочный компонент 915 крышки соединен подвижным блоком 917. Установочный компонент 915 крышки показан подвешенным под подвижным блоком 917, но другие типы крепления могут быть использованы в вариантах осуществления изобретения.
Как показано на фиг.29В, поддерживающие компоненты 911 и 912 присоединены к корпусу 603 противовыбросового превентора с одной стороны бокового отверстия 650, и поддерживающий компонент 913 присоединен к корпусу 603 противовыбросового превентора с противоположной стороны бокового отверстия 650. Вертикальный поддерживающий компонент 921 крышки подвижно соединен с поддерживающим компонентом 911 около верхней части вертикального поддерживающего компонента 921 крышки, и вертикальный поддерживающий компонент 921 крышки подвижно соединен с поддерживающим компонентом 912 около нижней части вертикального поддерживающего компонента 921 крышки. Подвижный блок 917 соединен подвижно с поддерживающим компонентом 913.
Как показано на фиг.28А и 29D, поддерживающие компоненты могут быть различной длины. Поддерживающие компоненты 911 и 912 имеют достаточную длину, чтобы крышка 605 могла быть отодвинута в направлении, существенно нормальном к поверхности корпуса 603 противовыбросового превентора так, чтобы колодка 607 плашки находилась на расстоянии от корпуса 603 противовыбросового превентора. Боковой поддерживающий компонент 913, с другой стороны, может иметь длину, выбранную таким образом, что когда крышка 605 отодвинута от корпуса 603 противовыбросового превентора, подвижный блок 917 выходит за конец поддерживающего компонента 913. При этом подвижный блок 917 становится отсоединенным от бокового поддерживающего компонента 913.
Поддерживающие компоненты 911, 913 могут быть шарнирно соединены с корпусом 603 противовыбросового превентора. Как показано на фиг.29А и 29D, поддерживающий компонент 911 шарнирно соединен с корпусом 603 противовыбросового превентора. Шарнирное соединение может включать петлю 923. Подобным образом, поддерживающий компонент 912, как показано на фиг.29С, шарнирно соединен с корпусом 603 противовыбросового превентора. Соединение может включать петлю 924.
С того момента, как подвижный блок 917 становится отсоединенным от поддерживающего компонента 913, как можно увидеть на фиг.29D, остающиеся поддерживающие компоненты 911, 912 и крышка 605 могут свободно поворачиваться от корпуса 603 противовыбросового превентора. В некоторых вариантах осуществления держатель 901 крышки включает стопоры (не показаны), которые предотвращают поддерживающие компоненты 911 и 912 и крышку 605 от вращения за пределы выбранной позиции. При повороте вокруг шарнирных соединений поддерживающих компонентов 911 и 912 колодка 607 плашки становится более доступной для осмотра и замены.
Для возвращения крышки в позицию сцепления, как показано на фиг.29А, крышка 605 может быть повернута назад по направлению к корпусу 603 противовыбросового превентора. В некоторых вариантах осуществления держатель 901 крышки включает стопоры, которые предотвращают поддерживающие компоненты 911 и 912 и крышку от поворота за пределы выровненного положения. Подвижный блок 917 может быть затем соединен заново с поддерживающим компонентом 913, и крышка 605 может быть придвинута к корпусу 603 противовыбросового превентора существенно параллельно оси бокового отверстия 650.
Следует отметить, что держатель 901 крышки, согласно данному варианту осуществления изобретения, может не включать третий поддерживающий компонент 913. В этом случае установочный компонент 915 крышки не был бы соединен с любым поддерживающим компонентом. Крышка 605 могла быть отодвинута от корпуса 603 противовыбросового превентора и затем повернута после того момента, как колодка 607 плашки находилась бы на расстоянии от корпуса 603 противовыбросового превентора.
Фиг.30А-30С показывают держатель крышки 1001 с тройным шарниром согласно варианту осуществления изобретения. Держатель 1001 крышки с тройным шарниром позволяет крышке 605 быть отодвинутой от корпуса 603 противовыбросового превентора в направлении, по существу перпендикулярном к поверхности корпуса 603 противовыбросового превентора так, что колодка 607 плашки окажется на расстоянии от корпуса 603 противовыбросового превентора.
Фиг.30А показывает вид сверху крышки 605, сцепленной с корпусом 603 противовыбросового превентора. Колодка 607 плашки расположена внутри корпуса 603 противовыбросового превентора. Крышка 605 также соединена с корпусом 603 противовыбросового превентора посредством держателя 1001 крышки с тройным шарниром. Держатель 1001 крышки с тройным шарниром, согласно данному варианту осуществления изобретения, может включать два шарнирных компонента 1015, 1017 и шарнира 1021, 1022, 1023.
Первый компонент 1015 может быть шарнирно соединен с крышкой 605 у шарнирного соединителя 1013 крышки. Соединение крышки может включать шарнир 1023. Второй шарнирный компонент может быть шарнирно соединен с корпусом 603 противовыбросового превентора у шарнирного соединителя 1011 противовыбросового превентора. Шарнирное соединение противовыбросового превентора может включать шарнир 1021. Первый шарнирный компонент 1015 и второй шарнирный компонент 1017 могут быть шарнирно соединены друг с другом, каждый у противоположного конца от их крепления с крышкой 605 и корпусом 603 противовыбросового превентора соответственно. Соединение между первым компонентом 1015 и вторым компонентом 1017 может быть также шарниром 1022.
Как показано на фиг.30А, когда крышка 605 сцеплена с корпусом 603 противовыбросового превентора, компоненты 1015, 1017 образуют угол. Это позволяет крышке 605 быть отодвинутой от корпуса 603 противовыбросового превентора в направлении, существенно нормальном к поверхности корпуса 603 противовыбросового превентора. Фиг.30В показывает крышку 605, отодвинутую от корпуса 603 противовыбросового превентора, так что колодка 607 плашки находится на расстоянии от корпуса 603 противовыбросового превентора. Когда крышка отодвинута от корпуса 603 противовыбросового превентора, шарнирные компоненты 1015, 1017 могут образовать прямую линию между шарнирами 1021 и 1023. С колодкой 607 плашки, находящейся на расстоянии от корпуса 603 противовыбросового превентора, крышка 605 может быть повернута по направлению от корпуса 603 противовыбросового превентора вокруг любого из шарниров 1021, 1022, 1023. Фиг.30С показывает вид сверху крышки 605, повернутой по направлению от корпуса 603 противовыбросового превентора поворотом вокруг шарнира 1021.
В одном или более вариантах осуществления (не показано) шарнирный держатель крышки может включать одиночный компонент, шарнирно соединенный с корпусом противовыбросового превентора и с крышкой. Одиночный компонент может быть вытянут в длину так, что крышка может быть отодвинута от корпуса противовыбросового превентора вдоль оси бокового отверстия. С того момента, как крышка отодвинута, она может быть повернута по направлению от корпуса противовыбросового превентора вокруг любого из шарниров.
Фиг.31А и 31В показывают держатель 1101 крышки согласно другому варианту осуществления изобретения. В показанном варианте осуществления поддерживающие компоненты 1109, 1111 подвижно соединены с корпусом 603 противовыбросового превентора и могут быть соединены фиксировано с крышкой 605.
Фиг.31А показывает вид сверху варианта осуществления держателя 1101 крышки согласно изобретению. Крышка 605 может быть соединена с установочным компонентом 1103 крышки в точке соединения 1117. В некоторых вариантах осуществления крышка 605 вращательно соединена с установочным компонентом 1103 крышки. В одном варианте осуществления точка соединения 1117 включает поворотную пластину.
Установочный компонент 1103 крышки может быть соединен с поддерживающими компонентами 1109, 1111 у противоположных концов установочного компонента 1103 крышки. Концевой блок 1107 может находиться на одном конце установочного компонента 1103 крышки. Концевой блок 1107 может быть соединен с поддерживающим компонентом 1109. Второй концевой блок 1105 может находиться на втором конце установочного компонента 1103 крышки. В некоторых вариантах осуществления установочный компонент 1103 крышки может быть соединен фиксировано с поддерживающими компонентами 1109, 1111.
Поддерживающие компоненты 1109, 1111 могут быть подвижно соединены с корпусом 603 противовыбросового превентора. Корпус 603 противовыбросового превентора может включать поддерживающие блоки 1113, 1115, которые могут быть подвижно соединены с поддерживающими компонентами 1109, 1111. В одном варианте осуществления поддерживающие блоки 1113, 1115 включают линейные подшипники, позволяющие поддерживающим компонентам 1109, 1111 скользить по направлению внутрь поддерживающих блоков 1113, 1115 и наружу из них.
Фиг.31В показывает держатель 1101 крышки с крышкой 605, отодвинутой от корпуса противовыбросового превентора, и с колодкой 607 плашки, находящейся на расстоянии от корпуса 603 противовыбросового превентора. Поддерживающие компоненты 1109, 1111 отодвинуты вдоль вместе с крышкой 605 по отношению к корпусу 603 противовыбросового превентора. В некоторых вариантах осуществления крышка 605 вращательно соединена с установочным компонентом 1103 крышки и может быть повернута после того, как колодка 607 плашки находится на расстоянии от корпуса 603 противовыбросового превентора.
Преимущественно, держатель крышки, согласно данному варианту осуществления изобретения, не нуждается в том, чтобы иметь поддерживающие компоненты, простирающиеся за крышку, даже когда крышка находится в сцеплении с корпусом противовыбросового превентора. Держатель, согласно данному варианту осуществления изобретения, требует меньше пространства, когда крышка находится в сцеплении с корпусом противовыбросового превентора, потому что поддерживающие компоненты не выходят за крышку.
Фиг.32 показывает вид сбоку варианта осуществления держателя 1201 крышки согласно варианту осуществления изобретения. В данном варианте осуществления поддерживающие компоненты не соединены с корпусом 603 противовыбросового превентора. Тот, кто имеет техническую квалификацию, оценит, что другие варианты осуществления, описанные здесь, могут быть применимы в ситуациях, где поддерживающие компоненты не соединены с корпусом 603 противовыбросового превентора.
Крышка 605 показана отодвинутой от корпуса 603 противовыбросового превентора, так что колодка 607 плашки находится на расстоянии от корпуса противовыбросового превентора 603. Крышка 605 может быть соединена с вертикальным поддерживающим компонентом 1207. В некоторых вариантах осуществления вертикальный поддерживающий компонент 1207 вращательно соединен с крышкой 605 в точке 1209 вращения. Вращение крышки 605 позволяет облегчить доступ к плашке 607. В других вариантах осуществления вертикальный поддерживающий компонент 1207 разъемно соединен с крышкой 605. Когда вертикальный поддерживающий компонент 1207 разъемно соединен с крышкой 605, он может быть откреплен от крышки 605 и может быть использован в соединении с другой крышкой (не показана).
Поддерживающий компонент 1203 может быть расположен рядом с крышкой 605, так что вертикальный поддерживающий компонент 1207 может быть соединен с поддерживающим компонентом 1203. В некоторых вариантах осуществления вертикальный поддерживающий компонент 1207 включает, по меньшей мере, одно колесо 1205, приспособленное ездить вдоль поддерживающего компонента 1203. В некоторых вариантах осуществления поддерживающий компонент 1203 является рельсом.
Поддерживающий компонент 1203 может поддерживаться любыми средствами, известными в технологии. Средства поддержки поддерживающего компонента 1203 не ограничивают изобретение. Например, фиг.32 показывает поддерживающий компонент 1203, соединенный с поддерживающей растяжкой 1213 и с рамой 1215 блока противовыбросовых превенторов.
Хотя изобретение описано касательно ограниченного числа вариантов осуществления, тот, кто имеет техническую квалификацию, получивший выгоду от этого изложения, оценит, что могут быть изобретены другие варианты осуществления, которые не выйдут за рамки изобретения, изложенного здесь. Следовательно, рамки изобретения должны быть ограничены только прилагаемой формулой изобретения.
Формула изобретения
1. Держатель крышки противовыбросового превентора, содержащий, по меньшей мере, один поддерживающий компонент, прикрепленный к корпусу противовыбросового превентора, и установочный компонент крышки, соединенный с крышкой и подвижно соединенный с, по меньшей мере, одним поддерживающим компонентом и приспособленный к перемещению, по существу, перпендикулярно лицевой поверхности корпуса противовыбросового превентора.
2. Держатель по п.1, в котором, по меньшей мере, один поддерживающий компонент содержит первый поддерживающий компонент, имеющий направляющие для колес вдоль его верхней поверхности, и второй поддерживающий компонент, имеющий направляющие для колес вдоль его верхней поверхности, и установочный компонент крышки включает первый колесный блок, расположенный у первого конца установочного компонента крышки и приспособленный катиться вдоль верхней поверхности первого поддерживающего компонента, и второй колесный блок, расположенный у второго конца установочного компонента крышки и приспособленный катиться вдоль верхней поверхности второго поддерживающего компонента.
3. Держатель по п.2, в котором первый колесный блок включает два колеса, и второй колесный блок включает два колеса.
4. Держатель по п.2, дополнительно включающий поворотный шарнир, соединенный с установочным компонентом крышки и с крышкой и обеспечивающий вращение крышки при ее расцеплении с корпусом противовыбросового превентора.
5. Держатель по п.4, в котором поворотный шарнир соединен с крышкой вблизи центра тяжести крышки.
6. Держатель по п.4, в котором поворотный шарнир соединен с крышкой вблизи к оси крышки.
7. Держатель по п.4, дополнительно включающий подшипник, расположенный между установочным компонентом крышки и поворотным шарниром.
8. Держатель по п.7, в котором подшипник включает упорный подшипник или радиальный подшипник.
9. Держатель по п.1, в котором, по меньшей мере, один поддерживающий компонент включает первый поддерживающий компонент, шарнирно прикрепленный к корпусу противовыбросового превентора, и второй поддерживающий компонент, шарнирно прикрепленный к корпусу противовыбросового превентора.
10. Держатель по п.9, в котором первый поддерживающий компонент и второй поддерживающий компонент шарнирно соединены с корпусом противовыбросового превентора для обеспечения горизонтального перемещения крышки.
11. Держатель по п.9, в котором первый поддерживающий компонент и второй поддерживающий компонент шарнирно соединены с корпусом противовыбросового превентора для обеспечения вертикального перемещения крышки.
12. Держатель по п.9, дополнительно включающий первый подвижный блок, подвижно соединенный с первым поддерживающим компонентом и вращательно соединенный с установочным компонентом крышки, и второй подвижный блок, подвижно соединенный со вторым поддерживающим компонентом и вращательно соединенный с установочным компонентом крышки.
13. Держатель по п.12, в котором установочный компонент крышки соединен с крышкой вблизи центра тяжести крышки.
14. Держатель по п.12, в котором установочный компонент крышки соединен с крышкой вблизи к оси крышки.
15. Держатель по п.9, в котором установочный компонент крышки находится в скользящем соединении с первым поддерживающим компонентом и со вторым поддерживающим компонентом.
16. Держатель по п.12, в котором установочный компонент крышки включает, по меньшей мере, одно первое колесо, приспособленное катиться вдоль первого поддерживающего компонента, и, по меньшей мере, одно второе поддерживающее колесо, приспособленное катиться вдоль второго поддерживающего компонента.
17. Держатель по п.1, в котором, по меньшей мере, один поддерживающий компонент включает первый поддерживающий компонент, шарнирно прикрепленный к корпусу противовыбросового превентора на первой стороне бокового отверстия, и второй поддерживающий компонент, шарнирно прикрепленный к корпусу противовыбросового превентора на первой стороне бокового отверстия.
18. Держатель по п.17, дополнительно включающий вертикальный поддерживающий компонент крышки, подвижно соединенный с первым поддерживающим компонентом и со вторым поддерживающим компонентом и соединенный с установочным компонентом крышки.
19. Держатель по п.18, в котором вертикальный поддерживающий компонент крышки находится в скользящем соединении с первым поддерживающим компонентом и со вторым поддерживающим компонентом.
20. Держатель по п.19, в котором вертикальный поддерживающий компонент крышки включает подшипник.
21. Держатель по п.20, в котором подшипник включает упорный подшипник или радиальный подшипник.
22. Держатель по п.18, дополнительно включающий третий поддерживающий компонент, соединенный с корпусом противовыбросового превентора на второй стороне бокового отверстия, и подвижный блок, подвижно соединенный с третьим поддерживающим компонентом и соединенный с установочным компонентом крышки, при этом третий поддерживающий компонент имеет длину, обеспечивающую отсоединение подвижного блока от третьего поддерживающего компонента при перемещении установочного компонента крышки от корпуса противовыбросового превентора.
23. Держатель по п.22, в котором подвижный блок находится в скользящем соединении с третьим поддерживающим компонентом.
24. Держатель крышки противовыбросового превентора, содержащий первый поддерживающий компонент, прикрепленный к корпусу противовыбросового превентора, и второй поддерживающий компонент, прикрепленный к корпусу противовыбросового превентора, при этом крышка подвижно прикреплена к первому поддерживающему компоненту и ко второму поддерживающему компоненту и приспособлена к движению в основном перпендикулярно лицевой поверхности корпуса противовыбросового превентора, поворотно прикреплена к первому поддерживающему компоненту и ко второму поддерживающему компоненту и приспособлена к вращению вокруг горизонтальной оси.
25. Держатель по п.24, дополнительно включающий первый соединительный блок, подвижно соединенный с первым поддерживающим компонентом и вращательно соединенный с крышкой, и второй соединительный блок, подвижно соединенный со вторым поддерживающим компонентом и вращательно соединенный с крышкой.
26. Держатель по п.25, дополнительно включающий первый вращательный компонент, соединенный с крышкой и с первым соединительным блоком, и второй вращательный компонент, соединенный с крышкой и со вторым соединительным блоком.
27. Держатель по п.26, в котором первый вращательный компонент вращательно соединен с первым соединительным блоком, и второй вращательный компонент вращательно соединен со вторым соединительным блоком.
28. Держатель по п.26, в котором первый вращательный компонент вращательно соединен с крышкой, и второй вращательный компонент вращательно соединен с крышкой.
29. Держатель крышки противовыбросового превентора, содержащий первый поддерживающий компонент, соединенный с крышкой и подвижно соединенный с корпусом противовыбросового превентора, второй поддерживающий компонент, соединенный с крышкой и с корпусом противовыбросового превентора, первый поддерживающий блок, соединенный с корпусом противовыбросового превентора и подвижно соединенный с первым поддерживающим компонентом, и второй поддерживающий блок, соединенный с корпусом противовыбросового превентора и подвижно соединенный со вторым поддерживающим компонентом.
30. Держатель по п.29, в котором первый поддерживающий блок находится в скользящем соединении с первым поддерживающим компонентом, и второй поддерживающий блок находится в скользящем соединении со вторым поддерживающим компонентом.
31. Держатель по п.30, в котором первый поддерживающий блок включает первый подшипник, и второй поддерживающий блок включает второй подшипник.
32. Держатель по п.31, в котором первый подшипник включает упорный подшипник или радиальный подшипник, и второй подшипник включает упорный подшипник или радиальный подшипник.
33. Держатель крышки противовыбросового превентора, содержащий первый поддерживающий компонент, соединенный с крышкой и подвижно соединенный с корпусом противовыбросового превентора, второй поддерживающий компонент, соединенный с крышкой и подвижно соединенный с корпусом противовыбросового превентора, установочный компонент крышки, соединенный с первым поддерживающим компонентом, со вторым поддерживающим компонентом и с крышкой.
34. Держатель по п.33, дополнительно включающий поворотный шарнир, соединенный с установочным компонентом крышки и с крышкой и обеспечивающий вращение крышки.
35. Держатель крышки противовыбросового превентора, содержащий первый поддерживающий компонент, соединенный с крышкой и подвижно соединенный с корпусом противовыбросового превентора, второй поддерживающий компонент, соединенный с крышкой и подвижно соединенный с корпусом противовыбросового превентора, при этом крышка вращательно соединена с первым поддерживающим компонентом и со вторым поддерживающим компонентом для обеспечения ее вращения вокруг горизонтальной оси.
36. Держатель по п.35, дополнительно включающий первый вращательный компонент, соединенный с первым поддерживающим компонентом и с крышкой, и второй вращательный компонент, соединенный со вторым поддерживающим компонентом и с крышкой.
37. Держатель по п.36, в котором первый вращательный компонент соединен с крышкой и вращательно соединен с первым поддерживающим компонентом, и второй вращательный компонент соединен с крышкой и вращательно соединен со вторым поддерживающим компонентом.
38. Держатель по п.36, в котором первый вращательный компонент вращательно соединен с крышкой и соединен с первым поддерживающим компонентом, и второй вращательный компонент вращательно соединен с крышкой и соединен со вторым поддерживающим компонентом.
39. Держатель крышки противовыбросового превентора, содержащий первый шарнирный компонент, шарнирно прикрепленный к корпусу противовыбросового превентора, и второй шарнирный компонент, шарнирно прикрепленный к крышке, при этом первый шарнирный компонент шарнирно прикреплен ко второму шарнирному компоненту для обеспечения движения крышки, по существу, перпендикулярно к лицевой поверхности противовыбросового превентора.
40. Поддерживающее устройство для крышки противовыбросового превентора, содержащее, по меньшей мере, один поддерживающий компонент, подвижно соединенный с крышкой и обеспечивающий перемещение крышки в направлении, по существу, перпендикулярном к торцевой поверхности корпуса противовыбросового превентора.
41. Поддерживающее устройство по п.40, в котором поддерживающий компонент вращательно соединен с крышкой для обеспечения вращения крышки вокруг вертикальной оси, когда плашка находится на расстоянии от корпуса противовыбросового превентора.
42. Поддерживающее устройство по п.41, дополнительно включающее вертикальный поддерживающий компонент, подвижно соединенный с, по меньшей мере, одним поддерживающим компонентом и вращательно соединенный с крышкой.
43. Поддерживающее устройство по п.42, в котором вертикальный поддерживающий компонент включает колесо, приспособленное катиться вдоль, по меньшей мере, одного поддерживающего компонента.
44. Поддерживающее устройство по п.40, в котором поддерживающий компонент включает рельс.
45. Поддерживающее устройство по п.40, в котором поддерживающий компонент соединен с рамой блока противовыбросовых превенторов.
46. Способ доступа к плашке противовыбросового превентора, соединенной с корпусом противовыбросового превентора, включающий следующие стадии:
отцепление крышки, подвижно соединенной с корпусом противовыбросового превентора, от корпуса противовыбросового превентора;
перемещение крышки от корпуса противовыбросового превентора в направлении, перпендикулярном лицевой поверхности корпуса противовыбросового превентора;
вращение крышки вокруг оси вращения, пересекающей центр тяжести крышки;
доступ к плашке.
47. Способ по п.46, в котором перемещение крышки включает качение крышки с использованием колес, соединенных, по меньшей мере, с одним поддерживающим компонентом.
48. Способ по п.46, дополнительно включающий поворот поддерживающих компонентов вокруг вертикальной оси для перемещения крышки от корпуса противовыбросового превентора.
49. Способ по п.46, дополнительно включающий поворот поддерживающих компонентов вокруг горизонтальной оси для перемещения крышки от корпуса противовыбросового превентора.
50. Способ по п.46, дополнительно включающий поворот крышки на 180° вокруг горизонтальной оси для расположения плашки на расстоянии от корпуса противовыбросового превентора.
51. Способ по п.46, в котором первый поддерживающий компонент и второй поддерживающий компонент шарнирно соединены с корпусом противовыбросового превентора на первой стороне бокового отверстия, третий поддерживающий компонент соединен с корпусом противовыбросового превентора на второй стороне бокового отверстия, и подвижный блок соединен с крышкой и третьим поддерживающим компонентом, и который дополнительно включает отсоединение подвижного блока от третьего поддерживающего компонента и поворот первого поддерживающего компонента и второго поддерживающего компонента для перемещения крышки от корпуса противовыбросового превентора.
52. Способ по п.46, в котором перемещение крышки включает вращение, по меньшей мере, одного шарнирного компонента, шарнирно соединенного с корпусом противовыбросового превентора.
Приоритет по пунктам:
17.12.2002 – по пп.1-52.
РИСУНКИ
PC4A – Регистрация договора об уступке патента СССР или патента Российской Федерации на изобретение
Прежний патентообладатель:
ХАЙДРИЛ КОМПАНИ (US)
(73) Патентообладатель:
ХАЙДРИЛ ЮЭсЭй МЭНЬЮФЭКЧУРИНГ ЭлЭлСи (US)
Договор № РД0050465 зарегистрирован 25.05.2009
Извещение опубликовано: 10.07.2009 БИ: 19/2009
|
|