Изобретение относится к нефтегазодобывающей промышленности, в частности к способам изоляции зон осложнений при бурении скважин и ремонте обсадных колонн перекрывателями из профильных труб. Способ включает соединение секций профильных труб, спуск их в скважину, выправление давлением и плотное прижатие к стенкам скважины. Спуск перекрывателя в скважину с промывкой ствола скважины через внутренние каналы перекрывателя проводится за счет того, что изначальная форма спрофилированных впадин труб закреплена фиксаторами. Нижняя часть перекрывателя снабжена калиброванным отверстием. Давление для выправления профильных труб с разрушением фиксаторов производят за счет повышения расхода жидкости, прокачиваемой через перекрыватель с калиброванным отверстием. Расширяется применение в затрудненных условиях, упрощается процесс установки, уменьшаются затраты. 2 ил.
Изобретение относится к нефтегазодобывающей промышленности, в частности к способам изоляции зон осложнений при бурении скважин и ремонте обсадных колонн перекрывателями из профильных труб.
Известен способ установки профильного перекрывателя в скважине (Журнал «Нефтяное хозяйство», 1982, №4, с.26-28), включающий сварку стыков секций профильных труб, спуск перекрывателя в скважину, выправление его давлением и развальцовывание до плотного прижатия его к стенкам предварительно расширенного интервала скважины.
Недостатком этого способа является то, что необходимо проводить сварочные работы над устьем скважины, затруднен спуск перекрывателя в горизонтальные и сильно искривленные скважины, а также при спуске профильного перекрывателя через зоны, которые затрудняют прохождение перекрывателя обвалами, затяжками и т.п., невозможно вести промывку скважины через внутренний канал, так как при даже небольших избыточных давлениях происходит выправление профильной части перекрывателя. При необходимости подъема перекрывателя возможно выправление профильной части вследствие гидростатического давления жидкости внутри перекрывателя и бурильных труб, а также необходимо в компоновке перекрывателя иметь клапанный узел для заполнения жидкостью внутренней полости перекрывателя, так как возможно смятие профиля, связанного с потерей устойчивости перекрывателя при спуске на большие глубины.
Наиболее близким по технической сущности к заявляемому является способ установки профильного перекрывателя в скважине (патент РФ №907220, Е21В 33/12, опубл. Бюл. №7 от 23.02.82), включающий свинчивание секций профильных труб, спуск в скважину и выправление их давлением. При этом с целью упрощения процесса установки цилиндрические концы секций перекрывателя перед свинчиванием осаживают до диаметра описанной окружности профильной части. После выправления перекрывателя участки соединения секций увеличивают до диаметра скважины.
Недостатком этого способа является то, что затруднен спуск перекрывателя в горизонтальные, сильно искривленные и глубокие скважины, а также при спуске профильного перекрывателя через зоны, которые затрудняют прохождение перекрывателя обвалами, затяжками и т.п., невозможно вести промывку скважины через внутренний канал, так как при даже небольших избыточных давлениях происходит выправление профильной части перекрывателя. При необходимости подъема перекрывателя возможен перелив жидкости на устье скважины, а также выправление профильной части вследствие гидростатического давления жидкости внутри перекрывателя и бурильных труб, при этом необходимо в компоновке перекрывателя иметь клапанный узел для заполнения жидкостью внутренней полости перекрывателя, так как возможно смятие профиля, связанного с потерей устойчивости перекрывателя при спуске на большие глубины.
Технической задачей способа является расширение применения перекрывателя в горизонтальных, сильно искривленных и глубоких скважинах, а также в зонах, которые затрудняют прохождение перекрывателя обвалами, затяжками и т.п., упрощение процесса установки, улучшение качества и надежности установки перекрывателя, уменьшение энергетических и финансовых затрат.
Техническая задача решается способом установки профильного перекрывателя в скважине, включающим соединение секций профильных труб, спуск их в скважину, выправление давлением и плотное прижатие к стенкам скважины.
Новым является то, что спуск профильного перекрывателя в скважину с промывкой ствола скважины через внутренние каналы перекрывателя проводится за счет того, что изначальная форма спрофилированных впадин труб закреплена фиксаторами, а нижняя часть профильного перекрывателя снабжена калиброванным отверстием, причем давление для выправления профильных труб с разрушением фиксаторов производят за счет повышения расхода жидкости, прокачиваемой через профильный перекрыватель с калиброванным отверстием.
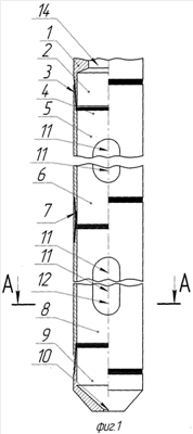
На фиг.1 изображен двухканальный перекрыватель с продольным разрезом, на фиг.2 – поперечное сечение перекрывателя по А-А.
Возможно применение многоканального перекрывателя с другими фиксаторами изначальной формы спрофилированных впадин труб. Способ осуществляют в следующей последовательности.
На бурильных трубах (не показаны) спускают компоновку, состоящую из посадочной головки 1 (фиг.1), верхний конец которой соединен с колонной бурильных труб (не показана), а нижний конец 2 левой резьбой 3 – с верхним концом 4 секции 5 перекрывателя. Далее нижний конец 6 верхней секции 5 перекрывателя при помощи резьбы 7 соединен с нижней секцией 8 перекрывателя, снабженной башмаком 9, имеющим отверстие 10 калиброванного размера. Секции 5, 8 снабжены фиксаторами 11 (например, фиксаторы выполнены в виде контактной точечной сварки в количестве, необходимом и достаточном для обеспечения изначальной формы поперечного сечения профильного перекрывателя во время спуска его в скважину), при этом фиксатор 12, находящийся перед соединением башмака 9 с нижней секцией 8, обладает меньшей прочностью при воздействии внутреннего давления. Фиксаторы 11 и 12 (фиг.2) выполнены по линии 13 сопряжения внутренних поверхностей впадин профиля секций перекрывателя 5, 8 (фиг.1), которые при создании избыточного давления во время проведения спуска с прямой промывкой скважины обеспечивают сохранение изначальной формы спрофилированных впадин секций 5, 8 перекрывателя. Внутренние каналы бурильных труб (не показаны), отверстие в посадочной головке 1, внутренняя полость секций 5, 8, башмак 9 с отверстием 10 образуют канал 14 для прохождения промывочной жидкости. Создавая насосом (не показан) избыточное давление в канале 14, не превышающее расчетное давление для разрушения фиксаторов 11, 12, осуществляют спуск секций 5, 8 перекрывателя в зону осложнения (не показана). Затем поднимают давление в канале 14 изменением расхода прокачиваемой жидкости. Разрушение фиксатора 12, находящегося в нижней части нижней секции 8 перекрывателя, происходит при давлении, недостаточном для разрушения остальных фиксаторов 11 во всех секциях перекрывателя. Выправление стенок секции 8 перекрывателя в его нижней части создает гарантированные условия, что не будет происходить выравнивание давления в канале 14 и за наружной стенкой секций 5, 8 тем, что выправление нижней части стенки секции 8 в плотной породе приводит к отделению канала 14 от зоны осложнения (не показана). После выправления стенок секций 5, 8 перекрывателя, вращая колонну бурильных труб (не показана), отсоединяют верхнюю секцию 5 перекрывателя от посадочной головки 1 с помощью левой резьбы 3 и выполняют дальнейшие работы по расширению цилиндрических участков перекрывателя по окончательному прикатыванию стенок секций 5, 8 перекрывателя, по подъему или разрушению башмака 9.
Приведен пример конкретного выполнения предварительных расчетов для установки секций 5, 8 двухканального профильного перекрывателя в скважине диаметром 215,9 при толщине стенки перекрывателя 9 мм.
Расчеты выполнены на основании следующих данных:
– спуск перекрывателя проводится при давлении промывки не менее 30 атм;
– расход жидкости при работе одним насосом 15 л/сек;
– давление, необходимое для плотного прижатия стенок перекрывателя к стенкам скважины, составляет 150 атм;
– расход жидкости при работе двумя насосами 30 л/сек;
– давление, при котором начинается выправление изначально спрофилированной впадины секций 5, 8 для скважины диаметром 215,9 мм, равно 12 атм.
Используя известные методики расчета потерь давления на насадках долот (А.И Булатов, Ю.М.Проселков, В.И.Рябченко. Технология промывки скважин, стр.242), определяем необходимый диаметр отверстия 10 в башмаке 9 перекрывателя, который обеспечит перепад давления в 150 атм при подаче раствора двумя насосами 30 л/сек для плотного прижатия стенок перекрывателя к стенкам скважины, что составляет 16 мм. Далее определяем величину перепада давления в отверстии 10 башмака 9 при работе одним насосом с подачей раствора 15 л/сек. Перепад давления составил 45 атм, что обеспечивает необходимый перепад давления при промывке – 30 атм. Исходя из выше изложенного принимаем, что давление, при котором произойдет разрушение нижнего фиксатора 12 нижней секции 8, равно 70 атм. Разрушение остальных фиксаторов 11 по линии сопряжения впадин 13 равно 100 атм, что обеспечивает спуск секций 5, 8 перекрывателя с промывкой одним насосом (не показан) при 45 атм, при этом запас прочности составляет 25 атм для нижнего фиксатора 12 и 55 атм для остальных фиксаторов 11. Подключив второй насос (не показан), производим дальнейший подъем давления в канале 14, при давлении 70 атм произойдет разрушение нижнего фиксатора 12 нижней секции 8 перекрывателя с одновременным выправлением и прижатием стенок секции 8 к стенкам скважины (не показана) в плотных породах. Дальнейший подъем давления до 150 атм, которое необходимо для плотного прижатия стенок секций 5.8 перекрывателя к стенкам скважины (не показана), обеспечит полное разрушение фиксаторов 11. Количество и расстояние между фиксаторами 11, 12 определяется экспериментально.
Давление, необходимое на устье скважины во время спуска секций 5, 8 перекрывателя, определяется с поправкой на потери напора в элементах обвязки устья скважины от глубины установки перекрывателя и от гидрогеологических условий конкретной скважины.
Расширение применения перекрывателя в горизонтальных, сильно искривленных и глубоких скважинах, а также в зонах, которые затрудняют прохождение перекрывателя обвалами, затяжками и т.п., упрощение процесса установки, улучшение качества и надежности установки перекрывателя, уменьшение энергетических и финансовых затрат, осуществляется за счет того, что:
– в процессе спуска секций 5, 8 перекрывателя заполнение жидкостью идет через отверстие 10 в башмаке 9 и в случае необходимости подъема перекрывателя жидкость свободно вытечет из них, что исключает перелив жидкости на устье скважины;
– отпадает необходимость изготовления и применения в компоновке перекрывателя клапана для заполнения внутреннего канала 14 перекрывателя;
– при необходимости устранения помех при прохождении секций 5, 8 перекрывателя в перекрываемую зону, спуск проводится с промывкой ствола скважины через внутренние каналы 14 перекрывателя;
– при спуске, выправлении профильных и расширении цилиндрических участков и последующем прикатывании секции 5, 8 перекрывателя к стенкам скважины (не показана) окалина, ржавчина и другие посторонние механические примеси с внутренних стенок удаляются в забой скважины, не мешая процессу дальнейшей установки перекрывателя;
– выправление стенок перекрывателя, выполняемое с началом разрушения фиксатора, находящегося в нижней части нижней секции перекрывателя, обеспечивает качественное и полное выправление остальных секций, так как перепад давления между внутренней полостью перекрывателя и большой перекрываемой зоной обеспечивается первоочередным перекрытием нижней части зоны перекрытия, находящейся в плотных породах;
– повышение давления на устье скважины при прямой промывке в процессе выправления профильных участков является сигналом об успешном ведении процесса установки перекрывателя.
Способ установки профильного перекрывателя в скважине, включающий соединение секций профильных труб, спуск их в скважину, выправление давлением и плотное прижатие к стенкам скважины, отличающийся тем, что спуск профильного перекрывателя в скважину с промывкой ствола скважины через внутренние каналы перекрывателя производится за счет того, что изначальная форма спрофилированных впадин труб закреплена фиксаторами, а нижняя часть профильного перекрывателя снабжена калиброванным отверстием, причем давление для выправления профильных труб с разрушением фиксаторов производят за счет повышения расхода жидкости, прокачиваемой через профильный перекрыватель с калиброванным отверстием.