|
|
(21), (22) Заявка: 2006110523/03, 03.09.2004
(24) Дата начала отсчета срока действия патента:
03.09.2004
(30) Конвенционный приоритет:
03.09.2003 AU 2003904796
(43) Дата публикации заявки: 10.10.2007
(45) Опубликовано: 10.02.2009
(56) Список документов, цитированных в отчете о поиске:
AU 675186 В, 23.01.1997. SU 595481 A1, 28.02.1978. GB 2349658 A, 08.11.2000. EP 0274265 A2, 13.07.1988. WO 00/26497 A1, 11.05.2000. CA 1095891 A, 17.02.1981.
(85) Дата перевода заявки PCT на национальную фазу:
03.04.2006
(86) Заявка PCT:
AU 2004/001198 (03.09.2004)
(87) Публикация PCT:
WO 2005/021924 (10.03.2005)
Адрес для переписки:
103735, Москва, ул. Ильинка, 5/2, ООО “Союзпатент”, пат.пов. Ю.В.Пинчуку, рег.№ 656
|
(72) Автор(ы):
МакМАНУС Терри Майкл (AU)
(73) Патентообладатель(и):
ГИРХАРТ ЮНАЙТЕД ПТИ ЛТД (AU)
|
(54) ВРАЩАЮЩИЙСЯ ШАРОШЕЧНЫЙ РАСШИРИТЕЛЬ
(57) Реферат:
Изобретение относится к вращающимся расширителям буровых скважин и может быть использовано для расширения скважин, изготовленных с помощью бура, расположенного на конце бурильной колонны. Техническим результатом является обеспечение улучшенного выравнивания давления поперек уплотнителей, что увеличивает ресурс уплотнителей и, следовательно, ресурс изнашивающихся компонент расширителя. Расширитель содержит корпус, имеющий резаки, расположенные в соответствующих полостях, выполненных в корпусе. Каждый резак с возможностью вращения установлен на одном или нескольких соответствующих валах. Внутренняя опорная поверхность имеет возможность вращаться относительно внешней поверхности вала и образует опорную область. По меньшей мере, одно кольцеобразное уплотнение, расположенное вокруг вала, предотвращает попадание загрязнения к опорной области. Кольцеобразная полость сформирована между внутренней опорной поверхностью и внешней опорной поверхностью вала, прилегающей к уплотнителю. По меньшей мере, один уравнительный канал располагается в осевом направлении вала и идет к кольцевой полости. Поршень выполнен с возможностью перемещения в уравнительном канале в ответ на подачу давления к внешней стороне данного поршня со стороны внешней среды, окружающей расширитель. Поршень передает давление к жидкости, находящейся в указанном цилиндрическом канале с внутренней стороны поршня, что делается для передачи давления к указанной кольцеобразной полости и тем самым к уплотнителю. Значение давления, по существу, определяется значением давления среды, окружающей расширитель. 2 н. и 10 з.п. ф-лы, 5 ил.
Область техники, к которой относится изобретение
Настоящее изобретение, в общем, касается вращающихся шарошечных расширителей буровых скважин. Вращающиеся расширители такого типа используются для расширения скважин, изготовленных с помощью бура, расположенного на конце бурильной колонны. Вращающиеся расширители обычно используются для поддержания размеров скважины в случае, когда износ уменьшает эффективный диаметр бура, а также используются для сглаживания поверхности ствола скважины.
Уровень техники
Обычная конструкция коммерчески успешных вращающихся шарошечных расширителей приведена в австралийских патентах 594885 и 675186.
В австралийском патенте 675186 описан вращающийся шарошечный расширитель, в котором давление, создаваемое внешней по отношению к расширителю средой, прикладывается к смазочному материалу, который подается к опорной поверхности шарошки через свободно двигающийся поршень, расположенный в цилиндрическом канале. Это приводит к значительно лучшей смазке и уменьшению поступления загрязняющих веществ к опорной поверхности. Хотя вращающийся шарошечный расширитель, описанный в австралийском патенте 675186, характеризуется гораздо большей износоустойчивостью, в настоящем изобретении делается попытка предложить улучшенный вращающийся шарошечный расширитель.
Цель системы выравнивания давления, описанной в австралийском патенте 675186, заключается в уменьшении или полном исключении перепада давлений поперек устройства уплотнения, расположенного между шарошкой и валом, на котором установлена шарошка, уменьшение или полное исключение перепада давлений призвано предотвратить загрязнение опорной области. Устройство уплотнения часто представляет собой O-образное кольцо или более сложное уплотнение. В случае O-образного кольца и большинства других типов уплотнений уменьшение перепада давлений снизит давление в зоне контакта между уплотнением и уплотнительной поверхностью. Это в свою очередь поможет уменьшить износ и происходящие из-за него нарушения герметичности.
Во вращающемся шарошечном расширителе, описанном в австралийском патенте 675186, смазочный материал подается к опорной поверхности через отверстия от центрального канала (через который подается смазочный материал) до плоского среза, который выполнен в вале и который эффективно обеспечивает уравнительный канал, идущий вдоль всей опорной поверхности. Таким образом, смазочный материал достигает уплотнителей в значительной степени благодаря его передаче вдоль опорной поверхности. Признано, что данная конфигурация самой опорной поверхности является препятствием для передачи давления, частично из-за того, что расширитель вращается в три раза быстрее скорости бурильной колонны. Кроме того, в устройстве, описанном в австралийском патенте 675186, кольцо упорного шарикоподшипника располагается между источником смазочного материала и уплотнителем с одного конца расширителя, что также является препятствием для передачи давления.
Раскрытие изобретения
Цель настоящего изобретения заключается в том, чтобы предложить улучшенный вращающийся шарошечный расширитель.
Соответственно, согласно одному аспекту настоящего изобретения предлагается вращающийся расширитель буровых скважин, содержащий корпус, имеющий резаки, расположенные в соответствующих полостях, выполненных в корпусе, каждый резак с возможностью вращения установлен на одном или нескольких валах и внутренняя опорная поверхность, которая имеет возможность вращаться относительно внешней поверхности вала, образует опорную область; содержащий, по меньшей мере, одно кольцеобразное уплотнение, расположенное вокруг вала и предназначенное для предотвращения попадания загрязнения к опорной области; содержащий кольцеобразную полость, образующуюся между внутренней опорной поверхностью и внешней опорной поверхностью вала и прилегающую к указанному уплотнителю; содержащий, по меньшей мере, один уравнительный канал, расположенный в осевом направлении вала и идущий к указанной кольцевой полости; содержащий поршень, выполненный с возможностью перемещения в указанном уравнительном канале в ответ на подачу давления к внешней стороне указанного поршня со стороны внешней среды, окружающей расширитель, причем поршень передает давление к жидкости, находящейся в указанном цилиндрическом канале с внутренней стороны указанного поршня с целью передачи давления к упомянутой кольцеобразной полости и тем самым к указанному уплотнителю, причем значение давления, по существу, определяется значением давления среды, окружающей расширитель.
Предпочтительно, чтобы давление, действующее на уплотнители через отверстия, было, по существу, давлением среды, окружающей расширитель. Предпочтительно, чтобы поршень был выполнен с возможностью свободного перемещения в уравнительном канале, что делается с целью передачи давления среды, окружающей расширитель, к жидкости, расположенной с внутренней стороны поршня.
Используемая жидкость, расположенная с внутренней стороны поршня, представляет собой смазочный материал, и поршень вызывает движение потока смазочного материала к кольцеобразной полости с целью передачи давления на уплотнитель.
В предпочтительном варианте реализации изобретения уравнительный канал имеет цилиндрическую часть, расположенную по оси вала и содержащую поршень. В данной форме реализации изобретения предпочтительно, чтобы имелось отверстие, соединяющее цилиндрическую часть и кольцеобразную полость. Предпочтительно, чтобы отверстие представляло собой радиально расположенное отверстие.
В предпочтительном варианте реализации изобретения кольцеобразные уплотнения имеются с каждого из двух концов опорной области и каждое кольцеобразное уплотнение имеет прилегающую кольцевую полость. Предпочтительно, чтобы один или более уравнительных каналов тянулись к каждой кольцеобразной полости. Еще более предпочтительно, чтобы отдельные уравнительные каналы тянулись к каждой кольцевой полости и каждый уравнительный канал имел бы подвижный поршень.
Предпочтительно, чтобы каждый резак устанавливался бы с возможностью вращения в центральной части соответствующего вала и опорная область формировалась бы внутренней поверхностью резака, имеющего возможность вращаться по внешней поверхности вала. В данном варианте реализации изобретения предпочтительно, чтобы отдельный уравнительный канал располагался соответственно между каждой кольцеобразной полостью и соответствующим внешним концом вала. Ясно, что хотя предпочтительная форма реализации изобретения описывает устройство, при котором резак устанавливается с возможностью вращения в центральной части вала, в других вариантах реализации изобретения резак может неподвижно крепиться к валу или части вала могли бы высовываться с каждого конца. При данных конструкциях валы устанавливаются в корпусе с возможностью вращения, так что опорная область располагается между внутренней поверхностью корпуса и внешней поверхностью вала.
Предпочтительно, чтобы кольцеобразные полости представляли собой пазы во внешней поверхности вала или пазы во внутренней опорной поверхности.
Ясно, что использование двух свободно перемещающихся поршней в предпочтительном варианте реализации изобретения в разных уравнительных каналах между соответственно одной из полостей и прилегающим внешним концом вала обеспечивает значительное преимущество над существующими техническими образцами. В частности давление независимо прикладывается к смазочному материалу в каждом цилиндрическом канале и приводит к возникновению потока через отверстия к кольцеобразным полостям. Использование двух поршней улучшает передачу давления внешней среды к смазочному материалу и в конечном итоге к полостям, прилегающим к уплотнителям.
Наличие кольцеобразных полостей, прилегающих к уплотнителям, отделяет уплотнители от опорной поверхности. Думается, что это является еще одним достоинством данного изобретения, так как опора, содержащая жидкость и предназначенная для несения нагрузки, также вызывает появление своего собственного внутреннего давления, используемого для выдерживания нагрузки. Размещение кольцеобразных полостей между областью, несущей нагрузку, и уплотнителями служит для уменьшения или полного исключения любого эффекта, который данное давление может иметь по отношению к давлению, приложенному к уплотнителю. В некоторых реализациях полость может находиться на небольшом расстоянии от уплотнителя. В данном случае предусматривается дополнительный зазор между внешней поверхностью вала и внутренней поверхностью резака, так что не существует соприкосновения между полостью и уплотнителем.
Вращающийся шарошечный расширитель, соответствующий данному изобретению, обеспечивает улучшенное выравнивание давления поперек уплотнителей, что увеличивает ресурс уплотнителей и, следовательно, ресурс изнашивающихся компонент расширителя.
Далее только для примера, со ссылками на прилагаемые чертежи, будут описаны варианты реализации данного изобретения.
Краткое описание чертежей
На фигурах 1-3 схематически изображено поперечное сечение части вращающегося шарошечного расширителя, соответствующего первому варианту реализации настоящего изобретения, при этом имеются увеличенные изображения некоторых частей;
на фигурах 4-5 схематически показаны поперечное сечение и некоторая часть, аналогичная той, что показана на фигуре 1, соответствующие второму варианту реализации настоящего изобретения.
Осуществление изобретения
Вращающийся шарошечный расширитель 1 данного изобретения имеет некоторое количество по существу обычных компонент, описанных в австралийских патентах 594885 и 675186, содержание которых включается в данный документ посредством ссылки.
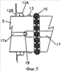
Как показано на фигуре 1, вращающийся шарошечный расширитель 1, соответствующий первому варианту реализации изобретения, имеет корпус 2, в котором выполнены полости 3 (показана только одна). Данные полости предназначены для шарошек или резаков 4. Как понятно специалистам в данной области, по периметру корпуса 2 расширителя в аналогичные полости устанавливается некоторое количество резаков 4. Резак 4 устанавливается с возможностью вращения в центральную область вала 5. Вал 5 удерживается в корпусе 2 с помощью верхнего блока 6 и нижнего блока 7. Блоки 6 и 7 поддерживаются в корпусе 2 с использованием системы клиньев (не показана), описанной в австралийских патентах 594885 и 675186. Вал 5 неподвижно удерживается в верхнем 6 и нижнем 7 блоках с помощью винта 8 без головки. Как резаки 4, так и блоки 6, 7 содержат некоторое количество обычных твердосплавных зубьев 9, предназначенных для снижения износа.
Опорная область 10 образуется внутренней опорной поверхностью 11 резака 4, который выполнен с возможностью вращения на внешней поверхности вала. Кольцеобразные уплотнители 12 вставляются между резаком 4 и валом 5 с каждого конца опорной области 10. Уплотнители 12 выполнены в виде манжет и предотвращают попадание загрязнения в опорную область 10. Рядом с каждым уплотнителем 12 располагаются кольцевые полости 13. Каждая полость частично образована кольцеобразной канавкой 14, выполненной в вале 5, и кольцевой канавкой 15, примыкающей к уплотнителю и расположенной во внутренней поверхности 11 резака 4. Обычное упорное кольцо 16 стальных подшипников, предназначенное для амортизации продольно действующих сил, располагается близко к одному концу резака 4. Цилиндрические уравнительные каналы 17 тянутся по оси от каждого внешнего конца вала 5. Две более маленькие части 17а уравнительных каналов соединяются с отверстиями 18 поршня с целью обеспечения взаимодействия между цилиндрическими уравнительными каналами 17 и кольцевыми полостями 13. В каждом уравнительном канале 17 имеется по свободно перемещающемуся поршню 19. В конце каждого уравнительного канала 17 имеется съемная кольцевая пробка 20. Данная пробка предназначена для обеспечения возможности извлечения поршня и заполнения цилиндрического уравнительного канала 17 смазочным материалом, таким как консистентная смазка. Кольцеобразная пробка 20 имеет центральное отверстие 21, которое через вентиляционное отверстие 22 обеспечивает взаимодействие с внешней средой, окружающей корпус 2 расширителя. Плоский срез 23 выполнен на внешней поверхности между отверстиями 18 с целью обеспечения канала для прохода смазочного материала вдоль вала 5. Проход может иметь другую форму или быть канавкой для обеспечения большей площади поперечного сечения.
Ясно, что давление, действующее на внешние концы 19а свободно перемещающихся поршней 19, равно давлению среды, окружающей корпус 2 расширителя. Свободно перемещающиеся поршни 19 передают данное давление смазочному материалу, содержащемуся в цилиндрическом уравнительном канале 17. Это приводит к тому, что смазочный материал вытесняется через отверстия 18 в полости 13 и далее в плоский срез 23. Таким образом смазывается опорная область 10. Смазочное вещество, вытесненное в полость 13, давит на примыкающий соответствующий уплотнитель 12, при этом значение данного давления, по существу, равно давлению в среде, окружающей корпус 2 расширителя.
Обеспечение более эффективной передачи давления от среды, окружающей расширитель, к области внутри уплотнителей приводит к минимизации перепада давлений поперек уплотнителя. В результате этого ресурс уплотнителя значительно увеличивается и, следовательно, ресурс опорных поверхностей также значительно вырастает. Кроме того, специалисты оценят, что полости 13 обеспечивают некоторое расстояние между эффективной опорной поверхностью резака 4 и уплотнителями. Данное расстояние и передача внешнего давления к указанным полостям уменьшают или полностью исключают передачу давления, вызванного вращением самой опорной поверхности, к уплотнителям 12.
На фигуре 4 показан вращающийся шарошечный расширитель 1, соответствующий второму варианту реализации изобретения. Большинство компонентов совпадают с компонентами из первого варианта реализации изобретения и для ссылок используются те же числа. Во втором варианте реализации полости 13 являются кольцеобразными канавками во внутренней поверхности 11 резака 4. Уплотнитель 12 сформирован из O-образного кольца 12А и герметизирующего материала 12В. Между резаком 4 и внутренней поверхностью резака 4 в области между уплотнителем 12 и полостью 13 имеется зазор, предназначенный для недопущения образования давления из-за вращения резака. Во всех остальных отношениях вращающийся расширитель, показанный на фигуре 4, функционирует аналогично описанному выше варианту реализации с фигуры 1.
На всем протяжении данного описания и идущих далее пунктов формулы изобретения, если из контекста не следует обратное, слово «содержит» и его производные, такие как «содержат» или «содержащий» надо понимать, как включающий заявленное нечто целое или часть или группу целых или частей, но не исключение любого другого целого или части или группы целых или частей.
Ссылка в данном описании на имеющиеся прототипы не является и не должна рассматриваться как подтверждение или какое-либо предложение того, что данные прототипы образуют часть общего уровня знаний Австралии.
Изложенное выше описывает только один вариант реализации настоящего изобретения, и можно предложить множество модификаций, не выходя при этом за рамки данного изобретения.
Формула изобретения
1. Вращающийся расширитель буровых скважин, содержащий корпус, имеющий резаки, расположенные в соответствующих полостях, выполненных в корпусе, каждый резак с возможностью вращения установлен на одном или нескольких соответствующих валах, и внутренняя опорная поверхность, которая имеет возможность вращаться относительно внешней поверхности вала, образует опорную область; содержащий, по меньшей мере, одно кольцеобразное уплотнение, расположенное вокруг вала и предназначенное для предотвращения попадания загрязнения к опорной области; содержащий кольцеобразную полость, образованную между внутренней опорной поверхностью и внешней опорной поверхностью вала, прилегающей к указанному уплотнителю; содержащий, по меньшей мере, один уравнительный канал, расположенный в осевом направлении вала и идущий к указанной кольцевой полости; и содержащий поршень, выполненный с возможностью перемещения в указанном уравнительном канале в ответ на подачу давления к внешней стороне указанного поршня со стороны внешней среды, окружающей расширитель, причем поршень передает давление к жидкости, находящейся в указанном цилиндрическом уравнительном канале с внутренней стороны указанного поршня, с целью передачи давления к указанной кольцеобразной полости и тем самым к указанному уплотнителю, причем значение давления, по существу, определяется значением давления среды, окружающей расширитель.
2. Расширитель по п.1, в котором давление, прикладываемое к указанным уплотнителям через указанные отверстия, по существу, является давлением окружающей расширитель среды.
3. Расширитель по любому из пп.1 и 2, в котором указанный поршень выполнен с возможностью свободного перемещения в указанном уравнительном канале, что делается с целью передачи давления среды, окружающей расширитель, к жидкости, расположенной с внутренней стороны поршня.
4. Расширитель по п.1, в котором используемая жидкость, расположенная с внутренней стороны указанного поршня, представляет собой смазочный материал, и данный поршень порождает поток смазочного материала к упомянутой кольцеобразной полости с целью передачи давления указанному уплотнителю.
5. Расширитель по п.1, в котором указанный уравнительный канал имеет цилиндрическую часть, расположенную по оси вала и содержащую упомянутый поршень и отверстие, соединяющее данную цилиндрическую часть и указанную кольцеобразную полость.
6. Расширитель по п.1, содержащий кольцеобразные уплотнения с каждого из двух концов упомянутой опорной области, и каждое кольцеобразное уплотнение имеет прилегающую к нему кольцевую полость и один или более указанных уравнительных каналов тянутся к каждой кольцеобразной полости.
7. Расширитель по п.6, в котором отдельные уравнительные каналы тянутся к каждой из упомянутых кольцевых полостей, и каждый уравнительный канал имеет один упомянутый подвижный поршень.
8. Расширитель по п.7, в котором каждый резак с возможностью вращения устанавливается в центральной части соответствующего вала, и указанная опорная область формируется внутренней поверхностью резака, имеющего возможность вращения по внешней поверхности вала.
9. Расширитель по п.8, в котором отдельный уравнительный канал располагается соответственно между каждой из указанных кольцеобразных полостей и соответствующим внешним концом соответствующего вала.
10. Расширитель по п.1, в котором указанные кольцеобразные полости представляют собой пазы во внешней поверхности вала.
11. Расширитель по п.1, в котором указанные кольцеобразные полости представляют собой пазы во внутренней опорной поверхности.
12. Вращающийся расширитель буровых скважин, содержащий корпус, имеющий резаки, расположенные в соответствующих полостях, выполненных в корпусе, каждый резак с возможностью вращения установлен в центральной области соответствующего вала, и внутренняя опорная поверхность резака, который имеет возможность вращаться относительно внешней поверхности вала, образует опорную область; содержащий кольцеобразные уплотнения, расположенные между резаком и валом с каждого конца опорной области и предназначенные для предотвращения попадания загрязнения; содержащий кольцеобразную полость, расположенную между внутренней опорной поверхностью и внешней опорной поверхностью вала на каждом конце опорной области, прилегающие к указанному уплотнителю; содержащий, по меньшей мере, один цилиндрический канал, расположенный в осевом направлении в каждом валу, соответствующие отверстия, идущие от указанного цилиндрического канала к каждой из указанных полостей; и содержащий поршень, выполненный с возможностью свободного перемещения в указанном цилиндрическом канале между внешним концом указанного цилиндрического канала и указанными отверстиями, на внешний конец указанного поршня действует давление, по существу, равное давлению среды, окружающей расширитель, причем данный поршень передает указанное давление смазочному материалу, расположенному в указанном цилиндрическом канале, что порождает поток данного смазочного материала по направлению к упомянутым кольцеобразным полостям, при этом давление смазочного материала прикладывается к каждому из указанных выше уплотнителей, значение данного давления, по существу, равно давлению среды, окружающей расширитель.
Приоритет по пунктам:
03.09.2003 – пп.1-12.
РИСУНКИ
MM4A Досрочное прекращение действия патента из-за неуплаты в установленный срок пошлины за
поддержание патента в силе
Дата прекращения действия патента: 04.09.2010
Дата публикации: 10.05.2011
NF4A Восстановление действия патента
Дата, с которой действие патента восстановлено: 27.06.2011
Дата публикации: 27.06.2011
|
|