|
|
(21), (22) Заявка: 2007111569/12, 29.03.2007
(24) Дата начала отсчета срока действия патента:
29.03.2007
(43) Дата публикации заявки: 10.10.2008
(45) Опубликовано: 10.02.2009
(56) Список документов, цитированных в отчете о поиске:
RU 32163 U1, 10.09.2003. JP 11081756 A, 26.03.1999. US 5904385 A, 18.05.1999. DE 4109394 A1, 24.09.1992. CA 2030824 A1, 29.05.1991.
Адрес для переписки:
141080, Московская обл., г. Королев-10, ул. Горького, 6в, кв.98, В.Н. Лескину
|
(72) Автор(ы):
Лескин Виктор Николаевич (RU), Лескин Игорь Викторович (RU)
(73) Патентообладатель(и):
Лескин Виктор Николаевич (RU), Лескин Игорь Викторович (RU)
|
(54) ЗАЩИТНОЕ УСТРОЙСТВО РУЧКИ ДВЕРИ ТРАНСПОРТНОГО СРЕДСТВА
(57) Реферат:
Изобретение может быть использовано в качестве защитного устройства ручки и замка двери транспортных средств. Защитное устройство включает защитный узел и средства его крепления, снабжено электроприводом с дистанционным управлением и средствами крепления электропривода, защитный узел выполнен в виде экрана с направляющими, для размещения в них экрана с возможностью его перемещения, и имеет держатель, кинематически соединенный с электроприводом, направляющие имеют средство их крепления на двери автомобильного транспорта, с возможностью накрытия ручки и замка двери, и составной уплотнительный узел, выполненный по форме, как показано на фиг.3. Заявленное изобретение позволяет обеспечить повышение надежности и снижение вероятности несанкционированного взлома и кражи имущества, сохранит ручку двери транспортного средства и руки водителя чистыми. 16 з.п. ф-лы, 36 ил.
Изобретение относится к области машиностроения и может быть использовано в качестве защитного устройства, например защитного экрана ручки и замка двери автомобильного транспорта, транспортных средств: кораблей, поездов, подъемных кранов, для ручек и замков гаражных ворот, дверей квартиры и т.п.
Известно защитное устройство, включающее защитный узел и средства его крепления. Основным недостатком известного устройства является недостаточная надежность в эксплуатации, не исключается возможность несанкционированного доступа к объекту защиты.
Техническим результатом заявленного изобретения является повышение надежности, удобства пользования и исключения несанкционированного доступа к объекту защиты.
Указанный технический результат достигается тем, что в заявленном защитном устройстве, включающем защитный узел и средства его крепления, установлен электропривод с дистанционным управлением и средствами крепления электропривода, защитный узел выполнен в виде экрана с направляющими для размещения в них экрана с возможностью его перемещения и имеет держатель, кинематически соединенный с электроприводом, направляющие имеют средство их крепления, например на двери автомобильного транспорта с возможностью накрытия ручки и замка двери, и составной уплотнительный узел, выполненный по форме, как показано на фиг.3, защитное устройство может иметь экран, выполненный в форме цилиндра, как показано на фиг.6, 30, 34, защитное устройство может иметь экран, выполненный в форме конуса или усеченного конуса, как показано на фиг.7, 8, защитное устройство может иметь экран, экран выполненный с отбортовкой, как показано на фиг.13, защитное устройство может иметь экран, образованный двумя створками, защитное устройство может иметь экран, образованный складывающимися створками, защитное устройство может иметь экран, выполненный в форме крышки, установленной с возможностью отвода и подвода, защитное устройство может иметь экран, выполненный в виде упругого элемента, как показано на фиг.23.
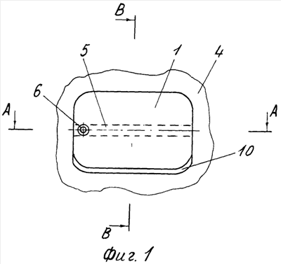
Изобретение иллюстрируется чертежами, где на фиг.1 изображен главный вид защитного устройства, схема; на фиг.2 – сечение А-А на фиг.1: на фиг.3 – сечение В-В на фиг.1; на фиг.4 изображена поз.1 фиг.3, увеличено; на фиг.5 изображена поз.II на фиг.3, увеличено; на фиг.6 изображен экран, выполненный в виде части цилиндра; на фиг.7 изображен экран, выполненный в виде части конуса; на фиг.8 изображен экран, выполненный в виде части усеченного конуса; на фиг.9 изображено сечение D-D фиг.8; на фиг.10 изображен экран, выполненный в виде части сферы; на фиг.1 1 изображен экран для рекламы и гравировки; на фиг.12 изображен экран с удлинением; на фиг.13 изображен экран с отбортовкой; на фиг.14 изображен экран, образованный двумя створками; на фиг.15 изображен экран, образованный складывающимися створками; на фиг.16 изображен экран с роликами; на фиг.17 изображен экран, выполненный в виде крышки; на фиг.18 изображен привод; на фиг.19 изображен привод с выносной рейкой, главный вид; на фиг.20 – вид слева на фиг.19; на фиг.21 изображен привод экрана с валами и тросами; на фиг.22 изображено сечение Е-Е на фиг.21; на фиг.23 изображен упругий экран в направляющих; на фиг.24 изображено жесткое соединение экрана со стеклом окна автомобильной двери; на фиг.25 изображена схема перемещения и фиксации экрана с помощью стекла автомобильной двери и упругих пластин; на фиг.26 изображена ручка в салоне автомобиля, внизу окна двери; на фиг.27 изображена ручка в салоне автомобиля в верхней части окна двери; на фиг.28 изображен экран в форме крышки для захлопывания двери; на фиг.29 изображен разрез F-F на фиг.28, увеличено; на фиг.30 изображен экран вращения в форме полуцилиндра на осях; на фиг.31 изображено сечение G-G на фиг.30; на фиг.32 изображен экран в форме эллипсоида вращения на осях; на фиг.33 изображен экран в форме произвольной фигуры вращения в сечении, на осях; на фиг.34 изображен экран в виде произвольной конфигурации в сечении и радиусными направляющими под различными углами; на фиг.35 изображено сечение Н-Н на фиг.34; на фиг.36 изображен экран с валом и рычагами.
Защитное устройство для ручки двери транспортного средства (например, автомобиля) содержит защитный узел, выполненный в виде экрана 1 (фиг.1, 2, 3), направляющие 2 для размещения в них экрана с возможностью его перемещения. В направляющих установлен уплотнительный узел – уплотнители 3, выполненные как показано на фиг.3, 4, 5, с возможностью перемещения в них экрана 1. Направляющие 2 жестко закреплены на корпусе двери 4 транспортного средства. На корпусе двери 4 (фиг.1-5) в выштампованной выемке закреплены ручка 5 и цилиндровый механизм 6 замка двери. Внизу выемки на корпусе двери 4 жестко закреплены держатели 7 и 8 уплотнителей 9 и 10. Экран 1 (фиг.3) жестко соединен с держателем 11, который через вал (или шток, или винтовую пару и т.д.) соединен с укрепленным на двери приводом 13, имеющим дистанционное управление – пульт (последний на чертежах не показан).
Защитное устройство для ручки двери транспортного средства работает следующим образом.
Водитель транспортного средства, например автомобиля, нажимая на соответствующие кнопки пульта дистанционного управления, приводит в действие привод 13 (фиг.1-5), перемещая экран 1 в направляющих 2 – открывая или закрывая защищаемый объект – ручку 5 и цилиндровый замок 6 двери 4 транспортного средства. Из салона автомобиля (кабины транспортного средства) можно перемещать экран вручную с помощью ручки, соединенной с держателем 11 экрана 1 и фиксируемый в крайних положениях. Можно управлять приводом экрана с помощью кнопок или переключателей, соединенных электропроводами с приводом 13.
Экран 1 (фиг.2, 3) может быть плоским, выпуклым (фиг.6) в любую сторону, например наружу. Экран 14 (фиг.6) может быть цилиндрическим, т.е. боковые направляющие выполнены одного радиуса. Экран 15 (фиг.7 – правая дверь автомобиля) – конический, приводится во вращение от привода 13 и вращается по образующей конуса относительно неподвижной точки 16. Экран 17 для правой двери (фиг.8, 9) выполнен в виде усеченного конуса, т.е. боковые направляющие имеют разные диаметры. Выпуклости 18 и 19 корпуса двери 4 выполнены для улучшения аэродинамики автомобиля. Экран 20 (фиг.10) может быть выполнен сферическим (в виде части сферы) с одинаковыми радиусами боковых направляющих, причем радиусы боковых направляющих могут быть выполнены разными. Из-за эластичности уплотнителей в боковых направляющих радиусы боковых направляющих могут быть любыми. Кроме того, экран защитного узла может иметь не только плоскостную, цилиндрическую, коническую или сферическую форму, но и также эллипсную, овальную, волнообразную, зубчатую, ребристую, двухскатную или другую любую форму, под которую должны быть соответствующим образом выполнены верхняя направляющая 2 (фиг.4) с уплотнителем 3 и нижние уплотнители 10 (фиг.1) или 9, 10 (фиг.5). Это относится к жестким, упругим и мягким экранам. За поднятым экраном, около ручки, можно разместить лампочку освещения, используемую в ночное время. При опускании экрана ручка освещается. Освещение можно сделать постоянным или сделать в виде иллюминации. За прозрачным экраном можно разместить лампочку повторителя сигнала поворота транспортного средства. Экран и ручку можно сделать с подогревом. Если на внутренней части экрана закрепить щетку, то экран может использоваться для очистки и защиты номерных знаков, фар, поворотников, фонарей транспортных средств. Экран может быть выполнен из бесцветного прозрачного стекла или цветного, тонированного, противоударного стекла, или металла, камня, пыле-, влагонепроницаемой ткани, или пластика и т.д.
Если между направляющими экран выполнен чуть тоньше, чем в направляющих, то на внутренней и наружной сторонах 22 (фиг.11) экрана 23 можно наклеить рекламу, рисунок или выполнить гравировку.
Чтобы скрыть направляющие 2 (фиг.12) и уплотнители в них, экран 24 выполняют с удлинителем 25, прикрывающим направляющие 2. Чтобы лед, снег, грязь при движении экрана вниз не попадали за экран, на экране выполняется отбортовка 26 (фиг.13), а чтобы во время дождя с корпуса двери 4 вода не попадала в паз экрана на корпусе 4 крепится уплотнитель 27.
Экран может перемещаться вправо-влево, вверх-вниз, в любых направлениях.
На фиг.1, 2, 3 экран 1 состою из одной створки, но может выполняться из двух створок 28 и 29 (фиг.14), причем каждая со своим приводом 13 и уплотнителем по контуру и между створками. Можно привод сделать один, створки соединить кинематически (посредством рычагов, зубчатых колес и зубчатых реек, шкивами и тросами и т.д.). При перемещении одной створки перемещается и другая створка. На фиг.15 створки, каждая со своим приводом, состоят из двух шарнирно связанных половинок 30. Одна из половинок 30 жестко связана с валом 31, с которым жестко связан рычаг (или зубчатое колесо), приводимый во вращение штоком (или зубчатой рейкой) привода 13. На конце другой половинки 30 закреплен ролик 32, перемещающийся по направляющим. Здесь также можно применить один привод и кинематическую связь валов створок. На фиг.16 показан экран 33 с закрепленными на нем тремя или четырьмя роликами 34, которые от перемещения экрана 33 от привода 13 могут перемещаться по направляющим 35. Экран будет или открывать доступ к ручке, или закрывать, плотно прилегая к уплотнителям 36, которые могут крепиться на корпусе 4 двери транспортного средства или на экране 33. На фиг.17 экран в форме крышки 37, которая жестко связана с валом 38 и рычагом, его вращающим от привода 13. Уплотнители 36 крепятся на корпусе 4 или крышке 37, которая закрывает или открывает доступ к ручке двери. Можно вместо вращающейся крышки 37 (фиг.17) на уплотнители 36 надвигать экран, то есть вместо направляющих 2 (фиг.1, 2, 3) и уплотнителей 3 (фиг.4) поставить уплотнители 36 (фиг.17), направляющие 2 сделать за корпусом 4 (фиг.3) в районе привода 13 и штока 12 и экран 1 выдвигать вверх, закрывая ручку 5, так чтобы экран 1 скользил по уплотнителям 36 (как на фиг.17), прижимаясь к ним. С внешней стороны экрана, в положении закрывающем ручку, ни направляющих, ни уплотнителей не будет.
Привод 13 (фиг.3) может быть электрическим (электродвигатель), электромагнитным, пневматическим, гидравлическим, ручным и т.д. На фиг.6 показан держатель 11 экрана 14. К держателю 11 через шарнир прикреплена гайка 39, в зацепление с которой входит винт 40, вращаемый электродвигателем 13. Гайка 39 перемещается по винту 40 и перемещает экран 14. Если в кронштейне 41 (фиг.3, 18), жестко связанным с держателем 11 выполнить паз 42 (фиг.18), в котором могут перемещаться ролики 43, жестко закрепленные на рычагах 44, которые в свою очередь жестко соединены с зубчатыми колесами 45, находящимися в зацеплении с зубчатыми колесами 46, различного направления движения, которые жестко соединены с червячным колесом 47, которое взаимодействует с червяком 48, то при вращении червяка 48, соединенного с электродвигателем 13, кронштейн 41, а с последним и экран 1 (фиг.3) будут двигаться вверх-вниз. На фиг.19 и 20 экран 14 жестко связан основанием 49 с червячной рейкой 50, которая взаимодействует с червяком 51, получающим вращение от привода 13. Экран 14 открывает или закрывает ручку 5, перемещаясь по направляющим. Вместо червяка и червячной рейки можно использовать зубчатое колесо и зубчатую рейку, трос и шкив и т.д.
Для мягких (например, из тканевых материалов) и эластичных (например, из пластмассы) экранов боковые 52 (фиг.21, 22), также верхние и нижние направляющие могут быть любой изогнутости, например к мягкому экрану 53 (фиг.21, 22) крепятся верхняя перекладина 54 и нижняя перекладина 55, к которым крепятся тросы 56, закрепленные на валу 57 и валу 58. Перекладины 54 и 55 перемещаются по направляющим, увлекая за собой экран 53, который накручивается на вал 58. Вал 57, на котором жестко закреплено червячное колесо 59, входящее в зацепление с червяком 60, вращается от привода 13. При перемещении экрана 53 вверх при работе привода 13 пружина 61 кручения накручивается на вал 58. Когда привод 13 вращается в обратную сторону, движение экрана 53 вниз происходит под действием пружины 61, вращающей вал 58. Тросы 56 можно через валы 57 и 58 закольцевать. Для упругих экранов 62 (фиг.23) из пластика или других материалов боковые направляющие 63 тоже можно выполнять не только по прямой, радиусу, но и по любой другой кривизне. Можно использовать экран типа рольставней с уплотнителями в необходимых местах. Если стекло 64 (фиг.24) окна двери транспортного средства (например, автомобиля) жестко соединить стержнем 65 с экраном 1, то с пульта дистанционного управления опусканием или подъемом стекла 64 окна можно будет поднимать или опускать экран 12, то есть закрывать или открывать доступ к ручке 5 двери транспортного средства (например, автомобиля), при этом нижний край 66 стекла 64 не должен при опускании доходить до узла защиты ручки двери, то есть чтобы не перекрывать доступ к ручке. Чтобы при опущенном экране стекло окна было полностью поднято, к держателю 67 (фиг.25) стекла 64 жестко крепится упругая пластина 68. Стекло 64 перемещается от привода 13, управляемого с дистанционного пульта. К держателю 11 экрана 1 жестко крепятся упругие пластины 69, 70, ограничитель 71 перемещения экрана 1 и пружина 72 растяжения. Пластина 69 короче пластины 70 и при движении не соприкасается с пластиной 68. К корпусу двери жестко крепятся упоры 73, 74 и пластина 75. К упору 74 крепится пружина 72. Усилие фиксации пластин 69 и 75 меньше усилия фиксации пластин 68 и 70, а усилие пружины 72 меньше усилия фиксации пластин 75 и 69. Чтобы опустить экран 1, от пульта опускается стекло 64 и пластина 68 нажимает на пластину 70. Так как усилие фиксации пластин 69 и 75 меньше, чем усилие фиксации пластин 68 и 70, пластина 69, изгибаясь, перемещается под пластину 75 и экран под действием пружины 72 опускается до соприкосновения ограничителя 71 с упором 74. Стекло 64 в это время можно полностью поднять до нормального закрытого положения. Чтобы поднять экран 1, стекло 64 опускается, вместе с ним опускается пластина 68 до пластины 70, преодолевает ее упругость и становится под ней, далее пластина 68 поднимает пластину 70, преодолевая усилие действия пружины 72 и упругость пластин 69 и 75, пластина 69 становится над пластиной 75. Пластина 69 упирается в упор 73, пластина 68 становится над пластиной 70, экран 1 и стекло 64 полностью подняты. Пластина 69 держится на пластине 75. Вместо пластин-фиксаторов можно применить подпружиненный шарик или клиновидные, или конусные фиксаторы. Можно применить и защелки. Если нижний край удлиненного стекла 64 (фиг.26) будет ниже выемки 77 под ручку 5, то есть на уровне 76, то стекло 64, нормально поднятое, будет выполнять роль экрана, то есть ручка будет закрыта стеклом или металлическим держателем стекла. При этом стекло 64 верхним краем входит на уровне 78 в верхнюю направляющую, сделанную сквозной для перемещения стекла 64 вверх. При перемещении от пульта нижнего края стекла 64 до уровня 79, а верхнего края до уровня 80, ручка 5 становится доступной. Если ручку 5 переместить в положение 81 в салон транспортного средства, например автомобиля, то при положениях нижнего края на уровне 76 или 79 ручка 81 будет недоступна, при дальнейшем поднятии стекла 64 нижнего его края до уровня 82, а верхнего края до уровня 83 ручка 81 будет доступна. Кинематически связав ее с замком двери, можно за ручку 81 открывать и закрывать дверь.
Если ручку 5 (фиг.27) открывания двери поместить в салоне в верхней части двери на раме 84 окна двери и кинематически (например, рычагами 85) соединить с замком 86 двери, то, опуская (положение 87) или поднимая стекло 64, можно открывать или закрывать доступ к ручке 5. Человеку, выходящему из машины, приходится наклоняться, с внешней стороны ловить ручку, чтобы, взявшись за нее, захлопнуть дверь машины, что очень неудобно. Поэтому многие, не наклоняясь, просто нажимают рукой на грязную раму окна и захлопывают дверь автомашины. В связи с этим в верхней части рамы 84 (фиг.28, 29) окна двери можно установить откидывающуюся крышку – экран 88, кинематически (например, рычагами, тросами 85) связанную с внутренней ручкой 89 открывания двери, с экраном ручки 5 или с замком двери. Крышка-экран 88 вращается на оси 90 и имеет уплотнитель 91 по контуру. При закрытой двери крышка-экран 88 прикрывает от пыли и осадков внутреннюю поверхность 92 рамы 84. Открывая за внутреннюю ручку 89 дверь, связанная с ручкой 89 крышка-экран 88 тоже открывается в положение, показанное на фиг.29, открывая чистую поверхность 92 рамы 84. Нажимая ручкой на чистую часть 92, захлопываем дверь. Срабатывают защелка или замок двери и крышка-экран 88, связанная с ними кинематически, закрывается.
Поднимая экран 1 (фиг.1, 2, 3), то есть закрывая ручку 5, можно также закрыть крышку-экран 88 (фиг.28, 29), так как она связана кинематически с экраном 1 (фиг.1, 2, 3). Если на поверхности 92 (фиг.28, 29) выполнить складывающуюся ручку (не показана), аналогичную ручке 5 (фиг.1, 2, 3), то за нее при открытии крышки-экрана 88 (фиг.28, 29) можно будет открывать дверь автомобиля. Крышку-экран 88 можно выполнить не только в верхней части окна, но и ниже, в любой части двери.
Если полые цилиндр, конус, эллипсоид или любые другие фигуры вращения разрезать по оси их вращения (пополам или вырезать часть этих фигур), то экран, выполненный в виде этих фигур и вращающийся вокруг оси их вращения, будет иметь направляющие или уплотнители в форме сечения этих фигур. Например, экран 93 (фиг.30, 31) в виде полуцилиндра с торцевыми поверхностями вращается на осях 94 в опорах 95, соединенных с корпусом 4. Ось 94 соединена с приводом 13 (электродвигатель) посредством гибкого троса или карданного вала. Экран 93 имеет, например, верхний уплотнитель 96 и верхний торцевой уплотнитель 97, нижний торцевой сквозной уплотнитель 98 и нижний сквозной уплотнитель 99. Аналогично фигуре 31 на фигуре 32 показан экран 100 в виде эллипсоида вращения, а на фиг.33 – экран 101 произвольной фигуры вращения с направляющими и уплотнителями по контуру сечения этих фигур.
На фиг.34, 35 показан экран 102 вращения произвольной конфигурации в сечении и перемещающийся приводом 13 (например, электромагнитом) по радиусным направляющим 103 и 104. При вращении экранов на некоторый угол ручка 5 (фиг.30, 35) или открывается, или закрывается. На фиг.36 показан экран 33 с тремя шарнирно к нему прикрепленными рычагами 105 и 106. Два рычага 105 другим концом жестко прикреплены к валу 31, поворачивающемуся в корпусе 4 от привода 13. Рычаг 106 другим концом шарнирно закреплен на корпусе 4. Привод 13 поворачивает вал 31, рычаги 105 и экран 33, который прижимается к уплотнителям 36, закрывая ручку 5.
Экраны могут иметь самую различную форму выполнения и под них соответственно могут быть изготовлены направляющие различной конфигурации или наоборот. Также и уплотнители могут иметь различную форму выполнения. Направляющие могут быть жесткими, плавающими или мягкими, то есть они могут приспосабливаться под экран. Экран, перемещающийся от пульта дистанционного управления по направляющим или вращающийся и защищающий замок и ручку открывания двери транспортного средства, например автомобиля, от воздействия осадков, сохранит руки водителя чистыми, что повышает комфорт пользования (поездки), а также повышает надежность, удобство пользования и исключает несанкционированный доступ к объекту защиты.
Формула изобретения
1. Защитное устройство для ручки двери транспортного средства, включающее защитный узел и средства его крепления, отличающееся тем, что оно снабжено электроприводом с дистанционным управлением и средствами крепления электропривода, защитный узел выполнен в виде экрана с направляющими для размещения в них экрана с возможностью его перемещения и имеет держатель, кинематически соединенный с электроприводом, направляющие имеют средство их крепления на двери транспорта с возможностью накрытия ручки и замка двери перемещающимся в них экраном, и составной уплотнительный узел, выполненный по форме, как показано на фиг.3.
2. Защитное устройство по п.1, отличающееся тем, что экран выполнен в форме цилиндра.
3. Защитное устройство по п.1, отличающееся тем, что экран выполнен в форме сечения конуса или усеченного конуса, как показано на фиг.7 или 8.
4. Защитное устройство по п.1, отличающееся тем, что экран выполнен в форме части сферы, как показано на фиг.10.
5. Защитное устройство по п.1, отличающееся тем, что экран выполнен в форме части произвольной фигуры вращения, как показано на фиг.34 или 35.
6. Защитное устройство по п.1, отличающееся тем, что экран выполнен с удлинителем, как показано на фиг.12.
7. Защитное устройство по п.1, отличающееся тем, что экран выполнен с отбортовкой, как показано на фиг.13.
8. Защитное устройство по п.1, отличающееся тем, что экран образован двумя створками, каждая из которых имеет уплотнитель по контуру и кинематически соединена с приводом.
9. Защитное устройство по п.1 или 8, отличающееся тем, что экран образован складывающимися створками.
10. Защитное устройство по п.1, отличающееся тем, что экран выполнен в форме крышки, установленной с возможностью отвода и подвода, при этом уплотнители уплотнительного узла укреплены на крышке или на корпусе двери транспортного средства.
11. Защитное устройство по п.1, отличающееся тем, что экран образован выполненным из мягкого или эластичного материала элемента, закрепленного на верхних и нижних направляющих, имеющих тросы и валы, один из которых кинематически соединен с приводом, при этом тросы намотаны на валы с возможностью перемещения экрана для открытия или закрытия ручки транспортного средства.
12. Защитное устройство по п.1, отличающееся тем, что экран выполнен в виде упругого элемента, как показано на фиг.23.
13. Защитное устройство по п.1, отличающееся тем, что экран выполнен в виде установленной на осях фигуры вращения в форме части цилиндра, как показано на фиг.30 или 31.
14. Защитное устройство по п.1, отличающееся тем, что экран выполнен в виде установленной на осях фигуры вращения в форме конуса или усеченного конуса.
15. Защитное устройство по п.1, отличающееся тем, что экран выполнен в виде установленной на осях фигуры вращения в форме части эллипсоида вращения, как показано на фиг.32.
16. Защитное устройство по п.1, отличающееся тем, что экран выполнен в виде установленной на осях фигуры вращения в форме части овала.
17. Защитное устройство по п.1, отличающееся тем, что экран выполнен в виде установленной на осях фигуры вращения с произвольной формой выполнения поверхности.
РИСУНКИ
|
|