|
|
(21), (22) Заявка: 2007109547/03, 15.03.2007
(24) Дата начала отсчета срока действия патента:
15.03.2007
(43) Дата публикации заявки: 20.09.2008
(46) Опубликовано: 10.02.2009
(56) Список документов, цитированных в отчете о поиске:
RU 2005103445 А, 20.07.2006. RU 2005108790 А, 10.09.2006. RU 2233248 С1, 27.07.2004. RU 2178726 С2, 27.01.2002. US 3618774 А, 09.11.1971. DE 10134391 А1, 31.10.2002.
Адрес для переписки:
129081, Москва, пр-д Дежнева, 25, корп.1, кв.119, А.Л. Солдатову
|
(72) Автор(ы):
Солдатов Александр Леонидович (RU)
(73) Патентообладатель(и):
Солдатов Александр Леонидович (RU)
|
(54) ПЛАВАТЕЛЬНЫЙ БАССЕЙН
(57) Реферат:
Изобретение относится к области строительства плавательных бассейнов. Плавательный бассейн с использованием пленки из поливинилхлорида в качестве внутреннего гидроизоляционного покрытия содержит герметичный резервуар и расположенный по его периметру переливной желоб, используемый в качестве системы самоочистки воды в процессе пользования бассейном. Переливной желоб включает соединенное со стенкой резервуара дно, заднюю стенку и крышки. Внутри переливного желоба размещены фильтровальная сетка, над которой расположена ось с закрепленными на ней крыльчатками с щетками, переливной коврик, фильтрующий материал и лотки для сбора загрязнений. Переливной желоб снабжен поддерживающей решеткой барабанного типа, выполненной изогнутой в форме полукруга, имеющей сплошную продольную перемычку, разделяющую решетку на две части: обращенную к резервуару бассейна, на поверхности которой установлена фильтровальная сетка грубой очистки воды, и обращенную к задней стенке переливного желоба, на которой установлена фильтровальная сетка тонкой очистки воды. Поддерживающая решетка имеет находящиеся на одном уровне две горизонтально расположенные полки: полку, опирающуюся на заднюю стенку переливного желоба и закрепленную на ней, и полку, на которую опирается крышка переливного желоба. Под продольной перемычкой решетки расположена продольная планка с двумя полками: горизонтальной, сопрягаемой по форме с продольной перемычкой решетки и соединенной с ней, прижимающей внутреннюю кромку переливного коврика к фильтрующему материалу, и изогнутой по радиусу вниз полкой, которая прижимает фильтрующий материал к верхней кромке стенок резервуара бассейна. На оси с крыльчатками закреплено колесо водяной турбинки, вращающее ось с крыльчатками. Для подачи на лопатки колеса водяной турбинки под давлением струи воды из резервуара на крышке переливного желоба установлен штуцер с насадкой, соединенный с отводящим шлангом водяного пылесоса. Лотки для сбора загрязнений установлены на полке поддерживающей решетки. Верхняя стенка лотков снабжена изогнутым вниз козырьком-отсекателем, кромка которого расположена на уровне внешнего радиуса вращения щеток крыльчаток. Изобретение позволяет обеспечить необходимую степень очистки воды в условиях нерегулярного или кратковременного пользования бассейном, при котором система самоочистки воды становится малоэффективной. 3 ил.
Изобретение относится к области строительства и может быть использовано в конструкциях плавательных бассейнов.
Из известных конструкций наиболее близким по технической сущности к заявленному объекту является плавательный бассейн согласно заявке на изобретение Российской Федерации №2005103445.
Плавательный бассейн с использованием пленки из поливинилхлорида в качестве внутреннего гидроизоляционного покрытия содержит герметичный резервуар и расположенный по его периметру переливной желоб, используемый в качестве системы самоочистки воды в процессе пользования бассейном, включающий соединенное со стенкой резервуара дно, заднюю стенку и крышки, внутри которого размещены фильтровальная сетка, над которой расположена ось с закрепленными на ней крыльчатками с щетками, переливной коврик, фильтрующий материал и лотки для сбора загрязнений. Возникающие при пользовании бассейном волны проходят через фильтровальную сетку и по поверхности переливного коврика скатываются в переливной желоб, поднимая уровень воды в нем относительно уровня воды в резервуаре бассейна. Наряду с этим волны вращают установленные на оси крыльчатки, щетки которых очищают поверхность фильтровальных сеток и сбрасывают загрязнения в лотки. Чем активнее пользование бассейном, тем больше разница в уровнях воды и тем интенсивнее ее движение через фильтровальную сетку, фильтрующие материалы и возвращение очищенной в резервуар бассейна.
Недостатком данной конструкции является малая эффективность системы самоочистки воды в условиях нерегулярного или редкого пользования бассейном.
Технической задачей настоящего изобретения является обеспечение необходимой степени очистки воды в условиях нерегулярного или редкого пользования бассейном.
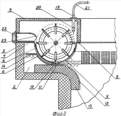
Решением технической задачи является плавательный бассейн с использованием пленки из поливинилхлорида в качестве внутреннего гидроизоляционного покрытия, содержащий герметичный резервуар и расположенный по его периметру переливной желоб, используемый в качестве системы самоочистки воды в процессе пользования бассейном, включающий соединенное со стенкой резервуара дно, заднюю стенку и крышки, внутри которого размещены фильтровальная сетка, над которой расположена ось с закрепленными на ней крыльчатками с щетками, переливной коврик, фильтрующий материал и лотки для сбора загрязнений, отличающийся тем, что переливной желоб снабжен поддерживающей решеткой барабанного типа, выполненной изогнутой в форме полукруга, имеющей сплошную продольную перемычку, разделяющую решетку на две части: обращенную к резервуару бассейна, на поверхности которой установлена фильтровальная сетка грубой очистки воды, и обращенную к задней стенке переливного желоба, на которой установлена фильтровальная сетка тонкой очистки воды, а также находящиеся на одном уровне две горизонтально расположенные полки: полку, опирающуюся на заднюю стенку переливного желоба и закрепленную на ней, и полку, на которую опирается крышка переливного желоба, при этом под продольной перемычкой решетки расположена продольная планка с двумя полками: горизонтальной, сопрягаемой по форме с продольной перемычкой решетки и соединенной с ней, прижимающей внутреннюю кромку переливного коврика к фильтрующему материалу, и изогнутой по радиусу вниз полкой, которая прижимает фильтрующий материал к верхней кромке стенок резервуара бассейна, на оси с крыльчатками закреплено колесо водяной турбинки, вращающее ось с крыльчатками, причем для подачи на лопатки колеса водяной турбинки под давлением струи воды из резервуара на крышке переливного желоба установлен штуцер с насадкой, соединенный с отводящим шлангом водяного пылесоса, при этом лотки для сбора загрязнений установлены на полке поддерживающей решетки, а верхняя стенка лотков снабжена изогнутым вниз козырьком-отсекателем, кромка которого расположена на уровне внешнего радиуса вращения щеток крыльчаток. На Фиг.1 показан плавательный бассейн, вид сверху, на Фиг.2 – разрез А-А на Фиг.1, на Фиг.3 показан фрагмент 1 на Фиг.1 в увеличенном масштабе.
Бассейн содержит резервуар 1, переливной желоб 2 с его задней стенкой 3, поддерживающую решетку 4 с фильтровальной сеткой 5 грубой очистки воды и фильтровальной сеткой 6 тонкой очистки воды. Поддерживающая решетка 4 имеет две горизонтально расположенные полки: полку 7, опирающуюся на заднюю стенку 3 переливного желоба 2 и закрепленную на ней, и полку 8, на которую опирается крышка 9 переливного желоба 2. Поддерживающая решетка 4 имеет перемычку 10, к которой закреплена горизонтальная полка 11 расположенной под ней планки, изогнутая же по радиусу вниз полка 12 которой прижимает фильтрующий материал 13 к стенке резервуара 1 бассейна. Внутренняя кромка переливного коврика 14 прижата горизонтальной полкой 11 планки к фильтрующему материалу 13. Над поддерживающей решеткой 4 расположена ось 15 с установленными на ней крыльчатками 16 и колесом 17 водяной турбинки, закрепленная с помощью опор 18 к полкам 7 и 8 поддерживающей решетки 4. На крышке 9 переливного желоба 2, над лопатками колеса 17 водяной турбинки, установлен штуцер 19 с насадкой 20, соединенный с отводящим шлангом 21 водяного пылесоса. На полке 7 поддерживающей решетки 4 установлены лотки 22 с изогнутыми по радиусу козырьками-отсекателями 23.
Плавательный бассейн работает следующим образом. Резервуар 1 бассейна и переливной желоб наполняются водой немного выше продольной перемычки 10 поддерживающей решетки 4. Возникающие в процессе пользования бассейном волны проходят через сетку 5 грубой очистки воды, сетку 6 тонкой очистки воды и по поверхности переливного коврика 14 скатываются в переливной желоб 2. Ударяясь при этом о поверхности щеток, волны вращают крыльчатки по направлению их движения, помогая предыдущим щеткам поднимать захваченную ими порцию воды по наклонной вверх поверхности фильтровальной сетки 6 тонкой очистки воды, очищая одновременно ее поверхность от налипших загрязнений. Прошедшая через сетку 6 вода скатывается по поверхности переливного коврика 14 в переливной желоб 2, поднимая уровень воды в нем относительно уровня воды в резервуаре 1 бассейна и заставляя проходить ее через фильтрующий материал 13 и возвращаться очищенной в резервуар 1 бассейна. Чем активнее пользование бассейном, тем выше разница в уровнях воды и тем интенсивнее идет процесс ее очистки и очистки поверхности сеток. И наоборот, когда пользование бассейном нерегулярное или редкое, система самоочистки воды становится малоэффективной. В этом случае подключается принудительная система ее очистки. С помощью, например, насоса водяного пылесоса вода из резервуара 1 бассейна через отводной шланг 21 водяного пылесоса, соединенный со штуцером 19, через насадку 20 струей под давлением подается на лопатки колеса 17 водяной турбинки, заставляя вращаться крыльчатки 16 в направлении движения волн. Поскольку уровень воды в резервуаре 1 выше уровня продольной перемычки 10 поддерживающей решетки 4, щеточки крыльчаток 16 захватывают порцию воды и поднимают ее по наклонной вверх поверхности фильтровальных сеток 6 тонкой очистки воды, способствуя более активному проходу ее в переливной желоб 2. Таким образом возникает принудительное движение неочищенной воды из резервуара 1 в переливной желоб 2 с проходом ее через фильтровальные сетки 5 и 6, фильтрующий материал 13 и возвращение очищенной в резервуар 1 бассейна. Процесс очистки воды наиболее эффективен, поскольку неочищенная вода поступает в переливной желоб 2 из наиболее загрязненного верхнего слоя резервуара 1 бассейна по всему его периметру и сбрасывается очищенной в нижние его слои тоже по всему периметру. Изогнутый по радиусу козырек-отсекатель 23 верхней стенки лотка 22 повышает эффективность сброса загрязнений со щеток крыльчаток 16 в лотки 22.
Формула изобретения
Плавательный бассейн с использованием пленки из поливинилхлорида в качестве внутреннего гидроизоляционного покрытия, содержащий герметичный резервуар и расположенный по его периметру переливной желоб, используемый в качестве системы самоочистки воды в процессе пользования бассейном, включающий соединенное со стенкой резервуара дно, заднюю стенку и крышки, внутри которого размещены фильтровальная сетка, над которой расположена ось с закрепленными на ней крыльчатками с щетками, переливной коврик, фильтрующий материал и лотки для сбора загрязнений, отличающийся тем, что переливной желоб снабжен поддерживающей решеткой барабанного типа, выполненной изогнутой в форме полукруга, имеющей сплошную продольную перемычку, разделяющую решетку на две части: обращенную к резервуару бассейна, на поверхности которой установлена фильтровальная сетка грубой очистки воды, и обращенную к задней стенке переливного желоба, на которой установлена фильтровальная сетка тонкой очистки воды, а также находящиеся на одном уровне две горизонтально расположенные полки: полку, опирающуюся на заднюю стенку переливного желоба и закрепленную на ней, и полку, на которую опирается крышка переливного желоба, при этом под продольной перемычкой решетки расположена продольная планка с двумя полками: горизонтальной, сопрягаемой по форме с продольной перемычкой решетки и соединенной с ней, прижимающей внутреннюю кромку переливного коврика к фильтрующему материалу, и изогнутой по радиусу вниз полкой, которая прижимает фильтрующий материал к верхней кромке стенок резервуара бассейна, на оси с крыльчатками закреплено колесо водяной турбинки, вращающее ось с крыльчатками, причем для подачи на лопатки колеса водяной турбинки под давлением струи воды из резервуара на крышке переливного желоба установлен штуцер с насадкой, соединенный с отводящим шлангом водяного пылесоса, при этом лотки для сбора загрязнений установлены на полке поддерживающей решетки, а верхняя стенка лотков снабжена изогнутым вниз козырьком-отсекателем, кромка которого расположена на уровне внешнего радиуса вращения щеток крыльчаток.
РИСУНКИ
|
|