|
|
(21), (22) Заявка: 2006127253/03, 27.07.2006
(24) Дата начала отсчета срока действия патента:
27.07.2006
(43) Дата публикации заявки: 10.02.2008
(46) Опубликовано: 10.02.2009
(56) Список документов, цитированных в отчете о поиске:
RU 35359 U1, 10.01.2004. RU 2136407 C1, 10.09.1999. RU 33965 U1, 20.11.2003. RU 14049 U1, 27.06.2000. RU 33966 U1, 20.11.2003. SU 1696077 A1, 07.12.1991.
Адрес для переписки:
117624, Москва, ул. Изюмская, 47, корп.2, кв.10, С.Н. Таратухину
|
(72) Автор(ы):
Бабаев Азер Кахраман Оглы (RU)
(73) Патентообладатель(и):
Бабаев Азер Кахраман Оглы (RU)
|
(54) ПРАВИЛО
(57) Реферат:
Изобретение относится к области строительства. Правило содержит выполненный из четырехгранного монолитного профиля корпус с рабочей кромкой и держателем в виде выполненных на противоположных гранях продольных канавок. При этом толщина каждой из противоположных граней, имеющих продольные канавки, выполнена большей толщины любой из двух оставшихся граней корпуса. Технический результат заключается в повышении надежности за счет устойчивости формы и ее сохранении при нагрузках. 2 ил.
Изобретение относится к области строительства, а именно к инструментам, используемым при отделочных работах, в частности к конструкциям правил, предназначенным для выравнивания строительных растворов на поверхности, например, при оштукатуривании стен.
Наиболее близким по технической сущности к предлагаемому изобретению является выбранное в качестве прототипа правило, содержащее выполненный из четырехгранного монолитного профиля корпус с рабочей кромкой и держателем в виде выполненных на противоположных гранях продольных канавок (см. патент RU на ПМ №35359, кл. E04F 21/04, 2003 год).
Недостатком прототипа являются низкие эксплуатационные возможности из-за отгиба концов правила при упоре ими на направляющие во время надавливания центром правила при оштукатуривании.
Технический результат, достигаемый предлагаемым изобретением, заключается в расширении эксплуатационных возможностей при одновременном повышении надежности за счет устойчивости формы правила и ее сохранении при нагрузках путем исключения отгиба концов правила.
Поставленный технический результат достигается тем, что в правиле, содержащем выполненный из четырехгранного монолитного профиля корпус с рабочей кромкой и держателем в виде выполненных на противоположных гранях продольных канавок, толщина каждой из противоположных граней, имеющих продольные канавки, выполнена большей толщины любой из двух оставшихся граней корпуса.
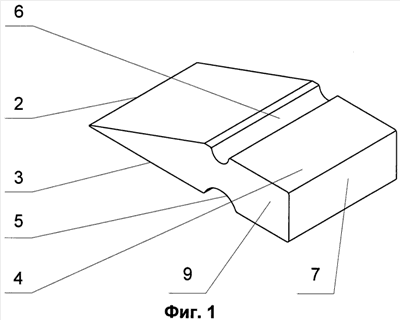
На фиг.1 изображено предлагаемое правило, общий вид, в изометрии,
на фиг.2 изображен поперечный разрез правила.
Правило содержит выполненный из четырехгранного монолитного профиля корпус 1 с рабочей кромкой 2 и держателем в виде выполненных на противоположных гранях 3 и 4 продольных канавок 5 и 6, при этом толщина 3 ( 4) каждой из обеих граней 3 и 4, имеющих продольные канавки 5 и 6, выполнена большей толщины 7 ( 8) любой из двух оставшихся граней 7 и 8 корпуса 1, т.е. 3> 7, 3> 8, 4> 7, 4> 8. Кроме того, продольная канавка 6 может быть выполнена со смещением относительно продольной канавки 5. С обоих торцов правило закрыто заглушками 9.
Правило работает следующим образом.
Оператор, удерживая правило за держатель, размещая при этом пальцы рук в продольных канавках 5 и 6, опирая правило на направляющие, перемещает его по ним вертикально снизу вверх, производя при этом поперечные (возвратно-поступательные) движения, тем самым осуществляя выравнивание штукатурного материала.
Формула изобретения
Правило, содержащее выполненный из четырехгранного монолитного профиля корпус с рабочей кромкой и держателем в виде выполненных на противоположных гранях продольных канавок, отличающееся тем, что толщина каждой из противоположных граней, имеющих продольные канавки, выполнена большей толщины любой из двух оставшихся граней корпуса.
РИСУНКИ
|
|