|
|
(21), (22) Заявка: 2007123467/03, 22.06.2007
(24) Дата начала отсчета срока действия патента:
22.06.2007
(46) Опубликовано: 10.02.2009
(56) Список документов, цитированных в отчете о поиске:
Ильинский Н.Ф. Регулируемый электропривод. Энерго- и ресурсосбережение. Ж.: Приводная техника, N3, 1997, с.21-23. RU 2284394 C2, 27.09.2006. SU 1260460 A1, 30.09.1986. SU 1477856 A1, 07.05.1989. SU 1521839 A1, 15.11.1989. US 7066197 A, 27.06.2006.
Адрес для переписки:
119334, Москва, ул. Косыгина, 5, кв.35, М.Б. Щедрину
|
(72) Автор(ы):
Ремезов Александр Николаевич (RU), Сорокин Антон Владимирович (RU), Кочанов Юрий Иванович (RU), Крылов Юрий Алексеевич (RU), Ильинский Николай Федотович (RU), Бычкова Елена Владимировна (RU)
(73) Патентообладатель(и):
Общество с ограниченной ответственностью “Центртехкомплект” (RU)
|
(54) СПОСОБ УПРАВЛЕНИЯ ЭЛЕКТРОДВИГАТЕЛЕМ НАСОСА ВОДОСНАБЖЕНИЯ
(57) Реферат:
Изобретение относится к области тепловодоснабжения промышленных и жилых объектов. Технический результат: экономия электроэнергии, расходуемой электроприводом насоса, за счет уменьшения ее непроизводительных расходов при сохранении комфортных условий водопотребления. Способ управления электродвигателем насоса водоснабжения заключается в том, что измеряют напор воды на выходе насоса, сравнивают измеренный напор с заданным значением и минимизируют отклонение измеряемого напора от заданного значения путем воздействия на частоту вращения электродвигателя насоса. Причем измеряют расход воды и формируют заданное значение напора в виде суммы минимального напора и переменной составляющей, находящейся в прямой зависимости от измеренного расхода воды. 2 з.п. ф-лы, 4 ил.
Область техники
Изобретение относится к области тепловодоснабжения промышленных и жилых объектов.
Уровень техники
В настоящее время на центральных пунктах сетей тепловодоснабжения широко используются насосы с нерегулируемым электроприводом переменного тока, повышающие давление в магистралях водоснабжения промышленных и жилых объектов относительно давления в городском водопроводе (так называемые повысительные насосы). Повысительные насосы устанавливаются перед линиями холодного и горячего (через теплообменник) водоснабжения потребителей (линии ХВС и ГВС) и обеспечивают суммарный расход холодной и горячей воды на объекте. Нерегулируемое давление подаваемой воды зависит от параметров насосов, давления городского водопровода, от величины водоразбора (расхода воды) и часто превышает давление, требуемое по условию комфортности потребления, в 1,5-2 раза. Это приводит к перерасходу электроэнергии и воды, для уменьшения которого насосы снабжают регулируемым электроприводом, управляемым различными способами, направленными на повышение экономической эффективности водоснабжения.
Известен способ управления электродвигателем насоса водоснабжения, включающий замеры напоров в расчетных точках системы водоснабжения, введение замеренных значений напоров в модель системы и изменение подачи воды по результатам моделирования [SU 1260460, МПК Е03В 1/00, 1986 г.]. Этот способ требует установки измерительных датчиков в нескольких точках объекта водоснабжения и дистанционной передачи их показаний в систему управления электропривода, что увеличивает капитальные затраты, а эффективность способа зависит от адекватности модели конкретному объекту водоснабжения.
Известен способ управления работой системы водоснабжения, по которому подачу воды увеличивают при снижении напора в одной заданной точке и уменьшают при повышении напора во всех заданных точках объекта водоснабжения [SU 1649051, МПК Е03В 1/00, 1991 г.].
Этот способ также требует установки измерительных датчиков в нескольких точках объекта водоснабжения и дистанционной передачи их показаний в систему управления электропривода, что увеличивает капитальные затраты.
Известен способ управления системой водоснабжения по прогнозируемому суточному графику потребления воды [Лезнов Б.С.Энергосбережение и регулируемый привод в насосных установках. – М. ИК «Ягорба» – «Биоинформсервис», 1988, стр.10-13]. Этот способ недостаточно эффективен экономически в связи с отклонениями прогнозируемого графика от фактического.
Известен способ управления работой системой водоснабжения, включающий измерение напора и расхода воды на выходе насоса, вычисление гидравлического сопротивления как отношения измеренных величин, причем при увеличении или уменьшении гидравлического сопротивления (за заданный интервал времени) на заданную величину соответственно увеличивают или уменьшают давление (напор) на выходе насоса до тех пор, пока скорость изменения расхода воды на выходе насоса не уменьшится до заданной величины [RU 2284394, МПК Е03В 11/16, 2006 г.].
Недостаток этого способа – значительное запаздывание процесса регулирования по изменению гидравлического сопротивления относительно момента измерения напора и расхода и связанная с этим склонность процесса к неустойчивой динамике.
Недостатки вышеуказанных известных способов привели к тому, что все они не получили широкого практического распространения.
Наиболее близким к предлагаемому является выбранный в качестве прототипа способ управления электродвигателем насоса водоснабжения, заключающийся в том, что измеряют напор воды на выходе насоса, сравнивают измеренный напор с заданным значением и минимизируют их разность путем воздействия на частоту вращения электродвигателя насоса. [Ильинский Н.Ф. Регулируемый электропривод. Энерго- и ресурсосбережение. Журнал Приводная техника, №3, 1997 г., стр.21-23].
Этот способ, основанный на поддержании заданного фиксированного напора на выходе насоса, обеспечивает значительную экономию электроэнергии (до 50%), воды (до 10%) и тепла (до 10%) по сравнению с нерегулируемым электроприводом, однако и ему свойственны непроизводительные потери.
Согласно способу-прототипу значение напора на выходе насоса задается в виде постоянной величины – уставки, рассчитываемой как напор, необходимый для подъема воды до верхней точки водоразбора объекта (так называемая диктующая точка), плюс напор струи и запас в 10-15 метров водяного столба (м в.ст.) для компенсации падения давления на гидросопротивлениях трубопроводов и внутридомовых сетей.
При поддержании фиксированного напора на выходе насоса величина потерь и комфортность водопотребления определяются выбором уставки, в зависимости от которой повысительный насос либо не обеспечивает потребителю достаточно комфортного давления в периоды большого расхода воды (например, в утреннее или вечернее время суток), либо поддерживает у потребителя избыточное давление в периоды малых расходов воды (например, в ночное время суток) с соответствующими потерями электроэнергии, воды и тепла (в линии ГВС). На практике, как правило, используется последний режим.
Задача изобретения – создать способ управления частотно-регулируемым электроприводом насоса водоснабжения, обеспечивающий (без больших капитальных затрат) снижение потерь по сравнению со способом-прототипом.
Сущность изобретения
Технический результат изобретения – экономия электроэнергии, расходуемой электроприводом насоса, за счет уменьшения ее непроизводительных расходов при сохранении комфортных условий водопотребления. Кроме того, во многих случаях применения изобретения уменьшается расход воды и тепла в линиях ГВС.
Указанный результат достигается способом управления электродвигателем насоса водоснабжения, согласно которому измеряют напор воды на выходе насоса, сравнивают измеренный напор с заданным и минимизируют отклонение измеряемого напора от заданного значения путем воздействия на частоту вращения электродвигателя насоса, отличающимся тем, что измеряют расход воды и формируют заданное значение напора в виде суммы минимального напора и переменной составляющей, находящейся в прямой зависимости от измеренного расхода воды (т.е. возрастающей с увеличением расхода).
В частном (и наиболее простом) случае осуществления изобретения переменную составляющую заданного значения напора формируют пропорционально измеренному расходу воды, т.е. сформированная переменная составляющая в этом случае находится в прямой линейной зависимости от измеренного расхода воды.
При этом коэффициент пропорциональности может быть определен как отношение (Нмакс-Нмин)/(Qмакс-Qмин), где Нмин – напор на выходе насоса, обеспечивающий комфортный напор в диктующей точке объекта при минимальном расходе воды, равном Qмин, Нмакс – напор на выходе насоса, обеспечивающий комфортный напор в диктующей точке объекта при максимальном расходе воды, равном Qмакс.
В других случаях возрастающая зависимость переменной составляющей заданного значения напора от измеренного расхода воды может иметь, например, вид ломаной кривой.
Краткое описание чертежей
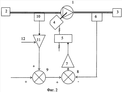
На фиг.1 и 2 приведены блок-схемы, иллюстрирующие осуществление известного (фиг.1) и предлагаемого (фиг.2) способов управления электродвигателем насоса водоснабжения. На фиг.3 и 4 показаны экспериментальные диаграммы.
Осуществление изобретения
На фиг.1 и 2 показаны:
– насос 1 водоснабжения, питающий водой источника 2, например городского водопровода, жилой или промышленный объект 3;
– электродвигатель 4 переменного тока, вращающий насос 1;
– преобразователь 5, питающий током регулируемой частоты электродвигатель 4;
– датчик 6 напора (давления) воды на выходе насоса 1;
– усилитель 7 и сумматор 8.
Кроме того, на блок-схеме фиг.2 показаны сумматор 9, датчик расхода 10 воды и усилитель 11, выполняющий функцию умножения входной переменной величины на фиксированную величину, которая может устанавливаться по входу 12.
Как видно из блок-схемы фиг.2, измеренный датчиком 6 напор Низм воды на выходе насоса 1 сравнивают в сумматоре 8 с значением напора Нзад, заданным на другом входе сумматора 8. Для того чтобы минимизировать отклонение измеряемого напора от заданного значения, из разности Нзад-Низм,, полученной на выходе сумматора 8, формируют с помощью усилителя 7 управляющее воздействие на преобразователь 5, изменяя соответствующим образом его выходную частоту и. следовательно, скорость вращения двигателя 4 и насоса 1.
В отличие от известного способа управления, использующего фиксированное значение напора Нзад, по предлагаемому способу значение Нзад формируют с учетом измеренного расхода Qизм воды. Величина Qизм с датчика 10 через управляемый усилитель 11, умножающий Qизм на положительный коэффициент k, поступает на сумматор 9, который добавляет к величине kQизм постоянную составляющую Нмин, независящую от Qизм.
В случае выбора прямо пропорциональной (т.е. линейной) зависимости переменной составляющей напора от расхода воды коэффициент k имеет фиксированную величину и результирующая зависимость заданного значения напора Нзад от расхода Q имеет вид суммы
Hзад(Q)=Hмин+kQизм
При этом Нмин представляет собой напор, обеспечивающий с необходимым запасом комфортное давление в диктующей точке объекта при минимальном (близком к нулевому) расходе воды Qмин. Коэффициент k задается из условия получения на выходе насоса 1 напора Нмакс, обеспечивающего те же условия в диктующей точке объекта при максимальном расходе воды, равном Qмакс.
Значения Нмин, Нмакс и Qмакс могут быть определены расчетным или экспериментальным путем, а коэффициент k рассчитан по формуле
k=(Hмакс-Hмин.)/Qмакс.-Qмин.)
Важным достоинством предлагаемого решения является то, что указанный выше технический результат достигается без установки у потребителей, например, в диктующей точке снабжаемого водой объекта, дополнительного оборудования (и, возможно, обеспечения его связи с насосной станцией), что потребовало бы значительных капитальных затрат.
Эффективность предлагаемого решения была проверена экспериментально. Диаграммы напоров (Ннас – на выходе повысительного насоса, Нгвс – на входе линии ГВС, Нд.т. – в диктующей точке) и общего расхода Q, полученные в одной и той же системе тепловодоснабжения группы зданий при использовании прототипа и предлагаемого технического решения, приведены на фиг.2 и 3 соответственно. Они показывают, что предложенное решение обеспечивает заданный комфортный напор в диктующей точке при изменениях расхода в широких пределах (от 26 до 7 м в.ст.) и снижение напора на выходе насоса в периоды малых расходов, что обеспечивает экономию электроэнергии.
Ориентировочная количественная оценка экономии электроэнергии может быть проведена следующим образом. Для прототипа среднесуточный запас напора составляет 10÷15 м в.ст., а для предлагаемого – 5÷7,5 м в.ст. (ночью запаса нет, днем – наибольший). Для двенадцатиэтажной застройки микрорайона и необходимом напоре воды в диктующей точке 41 м в.ст. соответствующие энергопотери составляют для первого случая 24,4÷36,6%, а для второго 12,2÷18,3%. Таким образом по сравнению с прототипом обеспечивается экономия электроэнергии на 12,2÷18,3%.
Формула изобретения
1. Способ управления электродвигателем насоса водоснабжения, заключающийся в том, что измеряют напор воды на выходе насоса, сравнивают измеренный напор с заданным значением и минимизируют отклонение измеряемого напора от заданного значения путем воздействия на частоту вращения электродвигателя насоса, отличающийся тем, что измеряют расход воды и формируют заданное значение напора в виде суммы минимального напора и переменной составляющей, находящейся в прямой зависимости от измеренного расхода воды.
2. Способ по п.1, отличающийся тем, что переменную составляющую заданного значения напора формируют пропорционально измеренному расходу воды.
3. Способ по п.2, отличающийся тем, что коэффициент пропорциональности определяют как отношение (Нмакс-Нмин)/(Qмакс-Qмин), где Нмин – напор на выходе насоса, обеспечивающий комфортный напор в диктующей точке объекта при минимальном расходе воды, равном Qмин, Нмакс – напор на выходе насоса, обеспечивающий комфортный напор в диктующей точке объекта при максимальном расходе воды, равном Qмакс.
РИСУНКИ
|
|