|
|
(21), (22) Заявка: 2007134932/11, 19.09.2007
(24) Дата начала отсчета срока действия патента:
19.09.2007
(46) Опубликовано: 10.02.2009
(56) Список документов, цитированных в отчете о поиске:
SU 1791512 A1, 30.01.1993. SU 661063 A, 05.05.1979. SE 468819 В, 22.03.1993. SU 954538 А, 30.08.1982. RU 10187 U1, 16.06.1999. US 4341027 A, 27.07.1982.
Адрес для переписки:
150023, г.Ярославль, Московский пр., 88, ЯГТУ
|
(72) Автор(ы):
Курилов Евгений Вячеславович (RU), Гаврилов Юрий Михайлович (RU)
(73) Патентообладатель(и):
Государственное образовательное учреждение высшего профессионального образования “Ярославский государственный технический университет” (RU)
|
(54) ОБОРУДОВАНИЕ ДЛЯ ОЧИСТКИ ДОРОГ
(57) Реферат:
Изобретение относится к машинам для очистки дорог от грунтовых наносов. Оборудование для очистки дорог включает раму, на которой последовательно косоустановлены отвал и скребок. Скребок установлен с меньшим углом к направлению движения, а на раме сбоку последовательно установлены угловой нож и буфер. Буфер и скребок выполнены из эластичного материала. Достигается упрощение конструкции и повышение качества очистки дорог от грунтовых наносов. 3 ил.
Изобретение относится к машинам для очистки дорог от грунтовых наносов.
Известно устройство рабочего органа для очистки дорог от грунтовых наносов, содержащее последовательно установленные на раме рыхлителя отвал в виде плуга и щетку из установленного в ряд вертикального ворса [А.с. СССР №2051, кл. Е01Н 8/02, 1924].
Недостатком данного устройства является жесткое крепление рыхлителей и отвала к раме, что снижает качество очистки дорожного покрытия.
Наиболее близким к изобретению является устройство для очистки дорог, включающее последовательно косоустановленные на раме рыхлители, выполненные из пружинной проволоки, скребок в виде пластинчатой цепи и щетку [А.с. СССР №1791512 А1, Е01Н 1/00, Б.И. №4, 30.01.93].
Такое оборудование обеспечивает предварительное рыхление грунтовых наносов, отделение их от дорожного покрытия и смещение в сторону с последующим подметанием. Однако в процессе работы такого устройства действуют поперечные нагрузки, что приводит к заклиниванию звеньев пластинчатой цепи и снижает ее подвижность и возможность копирования дорожного покрытия. Кроме того, наличие в конструкции U-образных рыхлителей не обеспечивает полной очистки угловой части лотка дороги, что по совокупности снижает качество очистки.
Задача предлагаемого изобретения – упрощение конструкции и повышение качества очистки дорог от грунтовых наносов.
Задача решается тем, что скребок установлен с меньшим углом поворота к направлению движения, чем отвал, оснащенный съемным ножом, а на раме, сбоку, последовательно установлены угловой нож и буфер. При этом буфер и скребок выполнены из эластичного материала.
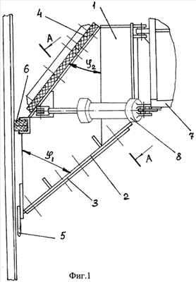
На фиг.1 изображено оборудование для чистки дорог, вид сверху; на фиг.2 – разрез А-А; на фиг.3 – оборудование, вид спереди.
Оборудование для очистки дорог (фиг.1, 2) представляет собой Г-образную раму 1, передняя часть которой выполнена в виде косоустановленного отвала 2 со съемным ножом 3, а задняя – оснащена скребком 4, который установлен с меньшим углом поворота к направлению движения по сравнению с отвалом 2 ( 2< 1). Сбоку на раме 1 последовательно закреплены угловой нож 5 и буфер 6.
Скребок 4 и буфер 6 выполнены из эластичного материала, например из толстослойной резины, и установлены с некоторым выступом к бордюру и дорожному покрытию относительно съемного 3 и углового 5 ножей (фиг.3).
Рама 1 шарнирно крепится к монтажной раме 7 навесного устройства базовой машины с гидроцилиндром управления 8 (фиг.1, 3).
При движении оборудования вдоль бордюра дороги съемный 3 и угловой 5 ножи отделяют грунтовые наносы от дорожного покрытия и смещают их в сторону с образованием грунтового валика (фиг.1, 2). Окончательная очистка дороги производится эластичным скребком 5 и буфером 6. При этом скребок 4 за счет меньшего угла поворота к направлению движения прижимает буфер 6 с большим усилием к бордюру, что способствует более интенсивному движению грунта в сторону и лучшей очистки угловой части дороги. Кроме того, буфер 6 смягчает удары и толчки о бордюр дороги, возникающие при работе оборудования.
Все это в совокупности позволяет повысить качество очистки дороги от грунтовых наносов и упростить конструкцию оборудования, что обеспечит ее надежность и долговечность в эксплуатации.
Формула изобретения
Оборудование для очистки дорог, включающее последовательно косоустановленные на раме отвал и скребок, отличающееся тем, что скребок установлен с меньшим углом поворота к направлению движения, чем отвал, оснащенный съемным ножом, а на раме сбоку последовательно установлены угловой нож и буфер, при этом буфер и скребок выполнены из эластичного материала.
РИСУНКИ
|
|