|
|
(21), (22) Заявка: 2006104614/12, 15.06.2004
(24) Дата начала отсчета срока действия патента:
15.06.2004
(30) Конвенционный приоритет:
15.07.2003 FI 20031072
(43) Дата публикации заявки: 10.06.2006
(46) Опубликовано: 10.02.2009
(56) Список документов, цитированных в отчете о поиске:
WO 02/40773 A1, 23.05.2002. US 5679220 A, 21.10.1997. WO 98/29596 A1, 09.07.1998. RU 2098534 C1, 10.12.1997. US 6471825 A, 29.10.2002.
(85) Дата перевода заявки PCT на национальную фазу:
15.02.2006
(86) Заявка PCT:
FI 2004/000366 (15.06.2004)
(87) Публикация PCT:
WO 2005/005725 (20.01.2005)
Адрес для переписки:
129090, Москва, ул. Б.Спасская, 25, стр. 3, ООО “Юридическая фирма Городисский и Партнеры”
|
(72) Автор(ы):
ЛАКС Бьерн (FI), МАИЯЛА Роопе (FI), СИПИЛЯ Матти (FI), СОЛИСМАА Пяиви (FI), МАИЯЛА Микко (FI)
(73) Патентообладатель(и):
ФП-ПИГМЕНТС ОЙ (FI), ЮПМ-КИММЕНЕ ОИЙ (FI)
|
(54) СПОСОБ ПРЕДВАРИТЕЛЬНОЙ ОБРАБОТКИ ВОЛОКНИСТОГО МАТЕРИАЛА, ПРЕДНАЗНАЧЕННОГО ДЛЯ ИСПОЛЬЗОВАНИЯ В ПРОИЗВОДСТВЕ БУМАГИ, КАРТОНА И ПОДОБНОЙ ПРОДУКЦИИ, И УСТРОЙСТВО ДЛЯ ЕГО ОСУЩЕСТВЛЕНИЯ
(57) Реферат:
Способ предназначен для предварительной обработки волокнистого материала при изготовлении бумаги, картона и подобной продукции. Волокнистый материал предварительно обрабатывают в смесителе проходного типа, действующего по принципу ударной мельницы. Далее осуществляют подачу волокнистого материала в виде измельченных фракций жидкости или твердого вещества в осадительный реактор. Туда же подают газ для создания газового пространства. Газ содержит вещество, под воздействием которого происходит осаждение минерального вещества, например диоксид углерода (СО2). Устройство содержит осадительный реактор и дополнительное активирующее устройство, обеспечивающее повышение способности волокон соединяться друг с другом и с осаждаемым минеральным веществом. Способ и устройство позволяют осуществлять высокоэффективное осаждение минеральных частиц на волокне с обеспечением заданных свойств бумаги. Устройство может быть легко встроено в производственный процесс изготовления бумаги. 5 н. и 21 з.п. ф-лы, 7 ил.
Настоящее изобретение относится к способу и устройству согласно преамбулам независимых пунктов формулы изобретения, включенной в настоящую заявку на патент, причем способ заключается в предварительной обработке волокнистого материала, предназначенного для использования в производстве бумаги, картона и подобной продукции, например, в осаждении на волокне минеральных веществ.
Наполнители, богатые минеральными веществами, например натуральный карбонат кальция тонкого помола, осажденный карбонат кальция (ОКК), каолин и тальк, используют в производстве бумаги для улучшения различных свойств бумаги, например оптических свойств и пригодности к печати. Добавление наполнителя позволяет также снизить количество используемого волокнистого материала в производстве бумаги. Экономический эффект, получаемый при этом, обычно существенно выше затрат на добавление наполнителя.
Таким образом, основной задачей является добавление по возможности большего количества наполнителя в волокнистую суспензию, предназначенного для использования в производстве бумаги. Однако в бумагу можно добавлять не более 20-25% наполнителя, например карбоната кальция, по причинам, связанным с прочностными свойствами бумаги.
Для увеличения содержания карбоната кальция в бумаге было предложено добавлять в волокнистую суспензию наполнитель, содержащий кальций, в форме гидроксида кальция, а затем преобразовывать кальций в ней в осажденный карбонат кальция путем добавления диоксида углерода. Таким образом можно ускорить осаждение и присоединение карбоната кальция непосредственно на поверхности волокна, а также внутри волокна и, таким образом, увеличить количество карбоната в бумаге.
Однако эти известные решения обладают рядом недостатков, к которым можно отнести следующие:
– реакции осаждения происходят в течение относительно продолжительного периода времени;
– реакции осаждения являются частично незавершенными;
– используемые процессы не являются непрерывными или
– используемые устройства не просто интегрировать в бумагоделательный процесс.
В патенте США №6471825 предложено осаждать гидроксид кальция, добавляемый в волокнистую суспензию, непосредственно в волокне в форме карбоната кальция. В патенте предложено суспензию, содержащую волокно и гидроксид кальция, сначала обрабатывать в устройстве типа дискового рафинера для дезинтеграции возможных комков волокон до подачи в суспензию углекислого газа.
В устройствах типа дисковых рафинеров волокнистую суспензию подвергают жесткой обработке, ослабляющей волокнистый материал. После добавления диоксида углерода волокнистую суспензию перемешивают в шнековом смесителе. Однако сложно обеспечить быстрое и эффективное смешивание диоксида углерода с гидроксидом кальция и завершение реакций в осадительных реакторах, оснащенных обычными лопастными или шнековыми смесителями. Кроме того, сложно ускорить присоединение осаждаемого карбоната кальция к волокну в этих устройствах.
С другой стороны, в патенте США №5679220 предложено гидроксид кальция, добавляемый в волокнистую суспензию, осаждать в волокне в форме карбоната кальция, используя углекислый газ, при пропуске потока волокнистой суспензии через длинный реактор типа трубы, состоящий из двух частей, с гладкой внутренней поверхностью. Суспензию, содержащую гидроксид кальция, подают в волокнистую суспензию в среднюю зону первой части реактора типа трубы. Углекислый газ подают в волокнистую суспензию как до, так и после подачи в нее суспензии гидроксида кальция. Углекислый газ направляют в реактор через отверстие в его стенке. Задачей является ускорение абсорбции газа суспензией, пропускаемой по трубе. Период времени пребывания волокнистой суспензии в относительно длинном (более 2 м) реакторе-смесителе составляет более одной минуты.
Таким образом, задачей настоящего изобретения является создание улучшенного способа осаждения минеральных частиц в волокне, предназначенном для использования в производстве бумаги, картона и подобной продукции, и устройства для его осуществления.
Задачей изобретения является создание способа и устройства для его осуществления, при применении которых недостатки упомянутых выше известных технологий были бы сведены к минимуму.
Задачей изобретения является, таким образом, создание способа и устройства для его осуществления, при применении которых может быть обеспечено высокоэффективное смешивание волокна и минералов, например гидроксида кальция или оксида кальция, и химического вещества, вызывающего осаждение, такого как газообразный диоксид углерода (углекислого газа), во время процесса осаждения.
Задачей изобретения является также создание способа и устройства для его осуществления, при применении которых можно начать и завершить процесс осаждения карбоната кальция на поверхности волокна и внутри волокон в течение очень короткого периода времени и как можно более полно.
Задачей изобретения является также создание способа и устройства для его осуществления, при применении которых можно повысить содержание наполнителя в бумаге в сравнении с обычной практикой.
Кроме того, задачей изобретения является создание способа и устройства для его осуществления, при применении которых можно оказывать влияние на свойства бумаги, картона и соответствующей продукции по желанию, обычно – на их оптические и прочностные свойства.
Задачей изобретения является также создание способа и устройства для его осуществления, пригодных для осаждения минерального вещества на волокне в очень разных по составу волокнистых суспензиях и на других твердых веществах, возможно находящихся в волокнистой суспензии.
Кроме того, задачей изобретения является также создание устройства, которое может работать непрерывно и которое можно легко встроить в производственный процесс изготовления бумаги, картона и т.п.
Для решения указанных выше задач созданы способ и устройство для его осуществления согласно изобретению, отличительные особенности которых указаны в отличительной части независимых пунктов формулы изобретения, приведенной в настоящей заявке на патент.
Настоящее изобретение относится к способу осаждения минеральных частиц на волокне и в волокне, предназначенном для использования в производстве бумаги, картона и т.п., причем способ, в общем, включает следующие стадии:
(a) подачу волокнистого материала, содержащего волокно, предназначенное для использования в производстве бумаги, в осадительный реактор;
(b) подачу химически активного минерального вещества, обычно гидроксида кальция [Са(ОН)2], в осадительный реактор;
(c) соединение волокнистого материала и химически активного минерального вещества для образования волокнистой суспензии в осадительном реакторе и/или до того, как эти вещества подают в осадительный реактор;
(d) введение в контакт волокнистой суспензии в осадительном реакторе с веществом, обычно – с CO2, посредством которого осаждают упомянутое химически активное минеральное вещество, для достижения по меньшей мере частичного осаждения химически активного минерального вещества в волокнистой суспензии, в результате чего по меньшей мере часть таким образом сформированного осаждаемого минерального вещества осаждается на волокнах (на поверхности волокон и/или внутри волокон) в волокнистой суспензии; и
(e) выведение обработанной таким образом волокнистой суспензии из осадительного реактора.
В типичном решении согласно изобретению предложено
(f) подавать газ, содержащий вещество, вызывающее осаждение упомянутого выше химически активного минерального вещества, например диоксид углерода, в осадительный реактор для образования газового пространства, содержащего упомянутое вещество, вызывающее осаждение, в осадительном реакторе;
(g) диспергировать, т.е. измельчать на мелкие части, такие как капли и/или частицы, содержащие твердое вещество и/или жидкость, волокнистую суспензию, подаваемую в осадительный реактор и/или формируемую в осадительном реакторе, и подавать в упомянутое газовое пространство.
Обычно газ, содержащий осадитель, подают в осадительный реактор в виде непрерывного газового потока для поддержания желаемого газового пространства в реакторе. Содержание осадителя в газе можно регулировать в широких пределах, например, в зависимости от источника и качества газа, вызывающего осаждение, и/или от желаемых характеристик бумаги. Газ, который надлежит подавать в осадительный реактор, обычно содержит более 5%, обычно – более 10%, а если желательно, то он может даже полностью (на 100%) состоять из осадителя, например, диоксида углерода. Газ, содержащий осадитель, может, таким образом, быть, например чистым или почти чистым диоксидом углерода, рабочим газом, образованным продуктами горения, или каким-либо другим подходящим газом или смесью газов, содержащий диоксид углерода.
Конечно, можно использовать осадитель, отличный от диоксида углерода, пригодный для осаждения используемого химически активного минерального вещества. Газ обычно подают в осадительный реактор так, чтобы поддерживать повышенное давление в осадительном реакторе.
В решении согласно изобретению задачей является подача волокнистой суспензии, ее жидкой и твердой фазы, в газовое пространство в измельченном состоянии в виде мелких частей, капель и/или частиц. В этом случае волокнистую суспензию измельчают, используя любой известный или новый способ, в виде капель чистой жидкости, капель жидкости, содержащей твердое вещество, например волокно и минеральные вещества, твердые частицы и/или твердые частицы, покрытые жидкостью. В этом случае волокнистый материал в волокнистой суспензии измельчают по меньшей мере частично до отдельных волокон. С другой стороны, жидкую фазу волокнистой суспензии диспергируют по большей части до размеров капель жидкости, составляющих менее 10 мм, обычно – менее 1,0 мм. Маленькие капли жидкости, волокна и другие твердые частицы диспергируют в газовом пространстве, образуя газовую суспензию в форме тумана, в котором объем потока значительно больше объема потока волокнистой суспензии, подаваемой в реактор. В результате этого получается большая площадь контакта между каплями и/или частицами волокнистой суспензии и окружающим газом, что ведет к очень быстрому и полному протеканию осадительных реакций между химически активным минеральным веществом, которое надлежит осадить, и осадителем в газе.
Применяя решение согласно изобретению, можно также допустить, что почти каждое отдельное волокно окружено газовой оболочкой, посредством которой понуждают к быстрому и эффективному осаждению минеральных веществ из окружающей жидкости на поверхности волокна и внутри волокон. В известных технологиях процесс имел противоположный характер, и задачей было подавать газ в виде маленьких пузырьков в более или менее густую волокнистую суспензию, в которой осаждение не было столь же быстрым и полным.
При осуществлении настоящего изобретения на волокнах образуются очень активные области осажденного материала, посредством которых, можно предположить, волокна образуют взаимные соединения друг с другом в процессе протекания осадительных реакций в этих частях. Образование этих соединений ведет к улучшению прочностных характеристик бумаги, которую надлежит изготавливать.
Согласно одному предпочтительному варианту воплощения изобретения, по отношению к потоку волокнистого материала, образуют зону активизации перед осадительным реактором или в осадительном реакторе, а предпочтительно – в начальной области реактора. В зоне активизации на волокнистую суспензию воздействуют силами, посредством которых, например, либо трибомеханически, либо трибохимически активизируют волокно, усиливая их способность к образованию соединений друг с другом или способность поглощения осаждаемых и/или осажденных минеральных веществ. Активизация волокон ведет к улучшению прочностных свойств бумаги, которую надлежит изготавливать.
В зоне активизации предпочтительно одновременно диспергировать волокна, входящие в состав суспензии, до мелких капель и/или частиц, и активизировать их. Активизация хорошо действует в щелочной среде, в которой волокна набухают под воздействием добавляемой щелочи, например Са(ОН)2.
В зоне активизации на волокнистую суспензию воздействуют, например, периодическими, последовательными ударами, двойными ударами, сдвиговыми усилиями, турбулентностью, импульсами повышенного давления и разрежения и другими соответствующими силами, посредством которых механически активизируют волокна, особенно их поверхности, например, путем фибриллизации или рафинирования волокон, или путем раскрывания внутренних каналов волокон для минеральных веществ, и/или волокно, особенно поверхности волокон, могут быть, таким образом, химически активизированы так, чтобы на поверхности волокон формировались активные ОН–-группы.
Согласно предпочтительному варианту воплощения изобретения активизация может быть инициирована, например, в осадительном реакторе, содержащем зону активизации, оборудованную смесителем проходного типа, действующим по принципу многокольцевой ударной мельницы и содержащим несколько, обычно – 3-8, а еще более типично – 4-6, соосных колец, снабженных лопастями или подобными средствами, в котором по меньшей мере каждое следующее кольцо действует как ротор, а смежные кольца этих колец действуют как статоры, или роторы, вращаемые в противоположных направлениях или с различными скоростями. Скорости роторов могут составлять 5-250 м/с. Разница скоростей смежных колец может составлять 10-500 м/с, типично – 50-200 м/с, причем
– волокнистую суспензию подают так, чтобы перемещать ее из центра смесителя проходного типа в радиальном направлении наружу через его кольца, при этом лопастями колец наносят периодические удары, двойные удары, воздействуют сдвиговыми усилиями и/или импульсами повышенного давления и разрежения на волокнистую суспензию, выходящую наружу, и этими всеми воздействиями активизируют волокно.
Мельницы или смесители, работающие согласно этому принципу, описаны ранее в патентах Финляндии №105699 В, №105112 В и в международной публикации W096/18454. В смесителе проходного типа, работающем по принципу ударной мельницы, волокнистая суспензия обычно проходит через смеситель в радиальном направлении из центра колец наружу; при этом обеспечивается возможность нанесения лопастями или соответствующими средствами, установленными на кольцах, ударов и двойных ударов, генерирования сдвигающих сил, турбулентности, импульсов разрежения и повышенного давления для воздействия на волокнистую суспензию, проходящую наружу по кольцам, и для активизирования волокна. Используя реактор, действующий по принципу ударной мельницы, можно эффективно обрабатывать волокнистую суспензию либо с высоким, либо с очень низким содержанием твердого вещества таким образом, чтобы она подходила для процесса осаждения. В осадительном реакторе согласно изобретению можно осаждать минеральные вещества при очень широком диапазоне содержания сухого вещества, например в пределах 0,1-40%, обычно – 1-15%, а более типично – 3-7%. Ограничения накладываются, главным образом, пропускной способностью питающих и выпускных трубопроводов.
Смежные кольца, роторы, лопасти и подобные средства в смесителе проходного типа обычно движут в противоположных направлениях, благодаря чему производят эффективные, последовательные удары, наносимые главным образом в противоположных направлениях, т.е. удары и двойные удары, которые надлежит направлять на волокнистую суспензию, пропускаемую через реактор. Если, с другой стороны, неподвижные кольца, т.е. статоры, располагают между кольцами, т.е. роторами, вращаемыми в одном и том же направлении, то можно наносить удары лопастями ротора и двойные удары лопастями статора по волокнистой суспензии, пропускаемой через реактор. Подобного же результата достигают при использовании роторов, вращаемых в одном и том же направлении при сильно различающихся скоростях.
С помощью лопастей или подобных средств роторов и статоров в смесителе проходного типа можно в то же самое время перемещать волокнистую суспензию в радиальном направлении наружу от ступицы колец. Благодаря увеличению пространства в роторных и статорных кольцах при движении от центра к наружному кольцу создается перепад давлений между входом, т.е. центром, и выходом, т.е. наружным кольцом. Давление снижается при движении от центра наружу. Созданный перепад давлений способствует ускорению транспортирования волокнистой суспензии через смеситель проходного типа.
Согласно предпочтительному варианту воплощения изобретения активизация механическим способом возможна, например, при обработке поверхностей волокон таким образом, чтобы раскрывались свободные и химически активные поверхности волокон, облегчая этим присоединение осаждаемых минеральных веществ, или чтобы раскрывались фибриллы, отходящие от поверхностей волокон, облегчая этим присоединение осаждаемых веществ. Образование фибрилл ведет к увеличению удельной площади поверхности волокна, обеспечивая возможность присоединения к волокну большего количества осаждаемых минеральных веществ. Часть образованных фибрилл может отделяться от волокон, и, таким образом, может быть увеличено содержание тонкой материи в волокнистой суспензии, наличие которой в некоторых случаях является даже желательным.
Согласно предпочтительному варианту воплощения изобретения активизация механическим способом также подвергается обсуждению, например, при генерировании импульсов разрежения и повышенного давления в волокнах, вызывающем их разрыхление, обрыв или образование отверстий, что облегчает проникновение в волокна и осаждение в них большего количества химически активных минеральных веществ в волокнистой суспензии.
Согласно предпочтительному варианту воплощения изобретения активизация химическим способом подвергается обсуждению, например, при активизации поверхности волокна таким образом, чтобы на поверхности волокон формировались активные химические группы, посредством которых можно присоединять осаждаемые или осажденные минеральные вещества. Например, можно создавать активные ОН–-группы на поверхности волокон, посредством которых можно образовывать соединения с минеральным веществом и понуждать минеральное вещество к присоединению к волокнам.
В типичном способе согласно изобретению волокнистый материал и химически активное минеральное вещество, например известковое молоко, Са(ОН)2, хорошо соединяются с образованием волокнистой суспензии до того, как эти компоненты направляют в осадительный реактор. Добавляя химически активное минеральное вещество, которое надлежит осадить на поверхности волокон и внутри волокон волокнистого материала суспензии, в форме пульпы, или суспензии, обычно образуют волокнистую суспензию, содержащую волокнистый материал и химически активное минеральное вещество. Таким образом, пульпу, или суспензию, можно быстро и равномерно смешать, образуя волокнистую суспензию. С другой стороны, химически активное минеральное вещество, которое надлежит осадить, можно вводить в волокнистый материал суспензии в твердой форме, например в виде порошка. Когда химически активное минеральное вещество добавляют в волокнистый материал суспензии до подачи суспензии в осадительный реактор, имеется время (порядка нескольких минут) на то, чтобы волокно абсорбировало химически активное минеральное вещество (если это желательно), причем если минеральное вещество является щелочным, то оно вызывает набухание волокна до благоприятной формы с точки зрения активизации и/или карбонизации. Это означает, что, как только начинается процесс осаждения, можно более легко произвести осаждение минерального вещества на поверхности волокна, а также внутри волокна. При желании, волокнистое вещество и минеральное вещество можно, конечно, направлять в осадительный реактор по отдельности, позволяя этим веществам смешиваться не скорее, чем в осадительном реакторе.
Согласно изобретению для осаждения минерального вещества можно выбирать сырьевые материалы, пропорции при подаче сырьевых материалов и параметры, например рН, давление и температуру, которые бы наилучшим образом подходили для применяемого процесса. Решения согласно изобретению не включают каких-либо ограничений для этих параметров.
Данные пояснения относятся к следующему, если не указано иное:
– под суспензией из волокнистого материала понимают суспензию на жидкой основе, содержащую по меньшей мере волокнистый материал;
– под волокнистой суспензией понимают суспензию на жидкой основе, содержащую по меньшей мере волокнистый материал и химически активное минеральное вещество, необходимое для осаждения;
– под газовой суспензией понимают суспензию, образованную по меньшей мере из волокнистого материала, химически активного минерального вещества и газа, вызывающего осаждение, в которой волокнистый материал и химически активное минеральное вещество тонко измельчены;
– под обработанной волокнистой суспензией понимают суспензию на жидкой основе, содержащую по меньшей мере волокнистый материал и частицы осажденного минерального вещества.
Упомянутые выше суспензии могут также содержать другие вещества, например уже осажденные минеральные частицы или не осажденные минеральные вещества.
В способе согласно изобретению можно использовать гидроксид кальция [Са(ОН)2], т.е. известковое молоко или другие источники иона Ca2+, в качестве химически активного минерального вещества, обеспечивая возможность осаждения так называемого осажденного карбоната кальция (ОКК) на волокне и/или в волокне. Применение изобретения также делает возможным использование других соответствующих химически активных минеральных веществ, например оксида кальция или сульфата кальция, которые могут быть осаждены и присоединены с использованием осадительного газа.
Химически активное минеральное вещество, которое надлежит использовать для осаждения, выбирают в зависимости от того, какие характеристики волокна, бумаги, которую надлежит изготавливать, или процесса изготовления, желательно усовершенствовать. Посредством минерального вещества, осаждаемого в волокнистой суспензии, особенно в волокне, можно улучшить, например: белизну, осветленность, непрозрачность, глянец, объемность, качество печати, пригодность для печатания, способность отводить воду, способность к высушиванию и другие свойства бумаги.
Осадительный газ предпочтительно используют в качестве осадительного химического вещества. В качестве осадительного газа для гидроксида кальция можно использовать, например, диоксид углерода. Таким образом, в осадительный реактор можно подавать газ, содержащий диоксид углерода, такой как чистый или почти чистый диоксид углерода (CO2), рабочий газ, образованный продуктами горения, или какой-либо другой подходящий газ. Можно также использовать другой подходящий осадитель, отличный от диоксида углерода. По меньшей мере часть газа, который надлежит подавать в осадительный реактор, содержащего вещество, вызывающее осаждение минерального вещества, подают в осадительный реактор через зону активизации, и в этом случае волокно, активизированное в этой зоне активизации, вступает в контакт с упомянутым осадителем сразу же во время активизации или непосредственно после этого. Во время выдержки волокнистой суспензии, содержащей волокнистый материал и химически активное минеральное вещество, в зоне активизации обычно составляет менее 2 с, более типично – менее 1 с. Волокнистую суспензию пропускают через два или несколько осадительных реакторов, в которых газовая композиция в газовых пространствах может быть различной, например такая, что газ, содержащий осадитель, в первом осадительном реакторе является чистым или почти чистым диоксидом углерода, а в следующем осадительном реакторе или в одном из последующих реакторов газ является газообразным продуктом сгорания, или другим газом с меньшим содержанием диоксида углерода, или газ, содержащий осадитель, в первом осадительном реакторе(ах) меньше обогащен диоксидом углерода, а в следующем осадительном реакторе или в следующем после этого реактора газ является чистым или почти чистым диоксидом углерода. Химически активное минеральное вещество состоит из гидроксида кальция, сульфата кальция, оксида кальция или другого химически активного минерального вещества и/или из их смеси, которое пригодно для осаждения посредством осадителя, и химически активное минеральное вещество можно выбирать таким образом, чтобы продукт, который надлежит изготавливать из волокна, приобретал желаемые свойства, например желаемые оптические свойства. Волокнистый материал содержит волокно, в дополнение к мелкозернистому материалу, например, такому как мелкозернистый материал на основе волокна, посторонним примесям и/или минеральным веществам.
В соответствии с изобретением можно не только осаждать пригодные к осаждению химически активные вещества в волокнистой суспензии на волокне и в волокне, но также на поверхности других неорганических или органических частиц, находящихся в суспензии. К числу таких частиц могут быть отнесены, например: частицы другого минерального вещества, например частицы диоксида титана или частицы посторонних примесей, или частицы тонкой фракции на основе волокна. Решение согласно изобретению может быть, таким образом, использовано для маскировки остатков типографской краски, сохранившихся в не полностью освобожденных от типографской краски волокнах, путем применения осаждаемого карбоната кальция или подобного вещества. Химически активное вещество, осажденное на неорганических частицах, также обладает способностью прикреплять частицы к волокну, которые затем удерживаются в бумаге вместе с волокном. С другой стороны, минеральные вещества, осажденные на волокне, также обладают способностью соединять волокна между собой, что ведет к улучшению прочностных характеристик бумаги.
Волокнистая суспензия, которую надлежит подавать в осадительный реактор, может, в дополнение к волокнистому материалу и химически активному минеральному веществу, которое надлежит осадить, содержать и другие твердые вещества, используемые при производстве бумаги или подобной продукции, например:
– другие минеральные вещества, например: оксид кальция, сульфат кальция, карбонат кальция, тальк, каолин или диоксид титана;
– тонкую материю на основе волокна, другие тонкие материи или загрязнители, которые, например, были отделены от волокна во время удаления типографской краски, различные отходы процесса и/или
– вещества, используемые для улучшения удерживающих свойств, например: крахмал, биоциды.
Изобретение можно использовать в производстве бумажного полотна или бумажной массы из бумаги, картона или другого соответствующего волокнообразного материала.
Таким образом, изобретение можно использовать:
– в производстве широкого ассортимента продукции из бумажного полотна, например: газетной бумаги, высокосортной бумаги, журнальной бумаги, крафт-бумаги, туалетной бумаги, специальной бумаги или картона;
– в производстве продукции из широкого ассортимента бумажной массы, например: химической, механической, химико-механической, термомеханической бумажной массы или полумеханической бумажной массы, бумажной массы из макулатуры или из их смесей;
– в производстве бумаги из широкого ассортимента волокон, например: натурального волокна, химических или механических волокон, отбеленного волокна, рафинированного или нерафинированного волокна, сушеного или не сушеного волокна, восстановленного волокна, с которого удалена или не удалена типографская краска, или волокна, полученного из брака волокнистой массы с гауч-вала, или из смеси любых из упомянутых волокон.
Установлено, что путем подачи волокна и химически активного минерального вещества в виде суспензии из тонко помолотого волокна в осадительный газ, т.е. противоположным способом в сравнении с ранее применявшимися способами, можно смешивать химически активные минеральные вещества, волокнистый материал и осадительный газ, заметно более легко и эффективно, с точки зрения процесса осаждения.
Реакции осаждения могут начинаться мгновенно и протекать быстро на заметно больших по площади контактных поверхностях, образованных между мелкими каплями волокнистой суспензии и газом. Осаждение легко происходит на поверхности волокна, а также внутри волокна. Путем регулирования композиции волокнистой суспензии, химически активного вещества и/или композиции осадительного газа можно, используя способ и устройство согласно изобретению, регулировать свойства получаемой бумаги, например прочность и оптические характеристики бумаги.
Можно предположить, что чем тоньше диспергирована волокнистая суспензия, т.е. чем больше она измельчена, тем быстрее и более эффективно будут происходить реакции. Используя смеситель проходного типа, работающий по принципу ударной мельницы, можно диспергировать волокнистую суспензию в осадительном газе в виде туманообразной газовой суспензии, в которой газ, волокна и химически активное минеральное вещество, которое надлежит осадить, эффективно смешаны. Используя решение согласно изобретению, можно превратить в микрогомогенную фазу компоненты, участвующие в процессе осаждения в среде в виде газовой суспензии, где реакции между различными компонентами могут происходить очень быстро. Это благоприятно, особенно тогда, когда, например, активизированное волокно легко возвращается в неактивизированное состояние, т.е. в состояние, при котором фибриллы и отверстия, образованные в волокнах, легко закрываются. Минеральные вещества, находящиеся в волокнистой суспензии, обладают, по меньшей мере частично, способностью предотвращать восстановление фибрилл. Волокнистая суспензия может быть повторно приведена в активное состояние один или несколько раз, когда это необходимо.
В настоящее время установлено также, что путем активизации волокнистого материала до процесса осаждения и/или во время процесса осаждения, при которой способность волокон соединяться между собой и присоединять к себе осаждаемое минеральное вещество повышается, можно поддерживать процесс осаждения и улучшать свойства бумаги. Даже одна единственная обработка в осадительном реакторе может быть достаточной для обеспечения желаемого процесса осаждения и желаемых свойств бумаги.
Настоящее изобретение также относится к устройству для осаждения минеральных частиц на волокне, предназначенном для использования в производстве бумаги, картона и подобной продукции, содержащему осадительный реактор, снабженный:
– питающим устройством для подачи волокнистого материала и минеральных веществ, либо отдельно, либо вместе, в виде волокнистой суспензии, в осадительный реактор;
– питающим устройством для подачи газа, содержащего вещество, вызывающее осаждение минерального вещества, в осадительный реактор;
– осадительным пространством, содержащим газовое пространство, в котором волокнистый материал и волокнистую суспензию, содержащую химически активное минеральное вещество, подаваемые в осадительный реактор, вводят в контакт с газом, содержащим упомянутый осадитель;
– устройством для отвода волокнистой суспензии, содержащей волокнистый материал и осажденные минеральные вещества, из осадительного реактора;
– измельчающим устройством для измельчения волокнистой суспензии, содержащей волокнистый материал и химически активные минеральные вещества, подаваемые в осадительный реактор, до мелких твердых частиц или частиц жидкости, например капель и/или частиц, и подачи их в упомянутое газовое пространство, причем устройство дополнительно содержит активизирующее устройство,
– которое устанавливают для обработки волокнистого материала до осаждения и/или во время осаждения таким образом, что повышается способность волокон соединяться друг с другом и с осаждаемым минеральным веществом;
– в котором период времени выдержки волокнистого материала является коротким и составляет менее 10 с.
Питающие устройства для подачи волокнистого материала и химически активного минерального вещества в осадительный реактор выполнены таким образом, чтобы эти вещества поступали в основном в центр колец смесителя проходного типа; и
– питающие устройства для подачи газа, содержащего вещество, вызывающее осаждение минерального вещества, выполнены таким образом, чтобы газ поступал главным образом в смеситель проходного типа, чтобы осаждение начиналось уже в смесителе проходного типа.
Смеситель проходного типа располагают в верхней части газового пространства в осадительном реакторе. Смеситель проходного типа содержит преимущественно открытое наружное кольцо, благодаря чему волокнистая суспензия, пропускаемая через смеситель проходного типа, может выходить из колец в различных направлениях. Устройства для отвода волокнистой суспензии, содержащей волокнистый материал и осажденное минеральное вещество, из осадительного реактора, расположены около нижней части осадительного реактора. Одно или большее число выпускных отверстий выполнено на наружном кольце смесителя проходного типа для отвода волокнистой суспензии, пропущенной через смеситель проходного типа, из осадительного реактора. Устройство содержит смеситель проходного типа, действующий по принципу ударной мельницы, установленный перед осадительным реактором и выполненный таким образом, чтобы перерабатывать волокнистый материал или волокнистую суспензию, содержащую волокнистый материал и химически активное минеральное вещество, которое надлежит подавать в осадительный реактор, чтобы активизировать волокнистый материал до его подачи в осадительный реактор.
Изобретение проиллюстрировано чертежами, на которых изображено:
на Фиг.1 – схематически, в качестве примера, фронтальный разрез осадительного реактора согласно изобретению:
на Фиг.2 – схематически, в качестве примера, горизонтальное сечение измельчающего и активизирующего устройства, установленного в осадительном реакторе, представленном на Фиг.1;
на Фиг.3 – схематически, в качестве примера, фронтальный разрез другого осадительного реактора согласно изобретению;
на Фиг.4 – схематически, в качестве примера, горизонтальное сечение измельчающего и активизирующего устройства осадительного реактора, представленного на Фиг.3;
на Фиг.5 – схематически, в качестве примера, фронтальный разрез группы осадительных реакторов согласно изобретению;
на Фиг.6 – схематически, в качестве примера, фронтальный разрез другой группы осадительных реакторов согласно изобретению;
на Фиг.7 – схематически, в качестве примера, фронтальный разрез третьей группы осадительных реакторов согласно изобретению.
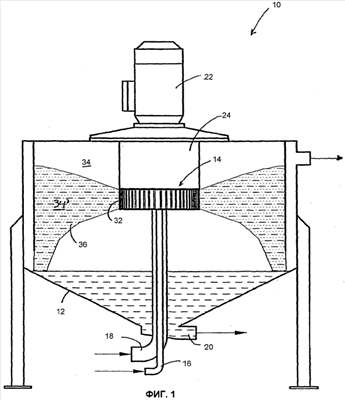
На Фиг.1 изображен осадительный реактор 10 непрерывного действия согласно изобретению, содержащий: осадительный резервуар 12; измельчающее и активизирующее устройство 14, установленное в осадительном резервуаре; питающий трубопровод 16 для подачи волокнистой суспензии; питающий трубопровод 18 для подачи осадительного газа; питающий трубопровод 20 для отвода обработанной волокнистой суспензии. Кроме того, устройство состоит из привода 22, содержащего подшипниковый и сальниковый узел 24, расположенный между приводом 22 и устройством 14.
Измельчающее и активизирующее устройство 14, горизонтальное сечение которого представлено на Фиг.2, является так называемым смесителем проходного типа, состоящим из 6 соосно установленных колец 26, 26′, 26”, 28, 28′, 28”, снабженных лопастями 26а, 26’а, 26”а, 28а, 28’а, 28”а. В устройстве 14 волокнистую суспензию измельчают до мелких частичек, капель жидкости и/или твердых частиц. В то же время в устройстве 14 волокна в волокнистой суспензии активизируют так, чтобы способность волокон соединяться друг с другом и их способность принимать осаждаемое минеральное вещество усиливалась. Время выдержки в измельчающем и активизирующем устройстве непродолжительное и составляет менее 10 с, обычно – менее 2 с, а более типично – менее 1 с.
Первые кольца 26, 26′, 26” измельчающего устройства действуют как роторы (показано стрелками на Фиг.2), которые в случае, изображенном на фигуре, вращают против часовой стрелки. Кроме того, вторые кольца 28, 28′, 28”, расположенные рядом с первыми кольцами, действуют как роторы; однако их вращают по часовой стрелке, в случае, изображенном на фигуре. Лопасти 26а, 26’а, 26”а и 28а, 28’а, 28”а, установленные на кольцах, сталкиваются с волокнистой суспензией, пропускаемой через устройство радиально наружу, где по волокнистой суспензии наносят повторяющиеся периодически удары и двойные удары. Одновременно, при приближении друг к другу лопастей смежных роторов между лопастями создается повышенное давление, а при удалении лопастей друг от друга между лопастями создается разрежение. В результате перепада давлений в волокнистой суспензии генерируются очень быстротечные импульсы повышенного давления и разрежения. Кроме того, в волокнистой суспензии, проходящей через устройство 14, одновременно создаются сдвигающие силы и турбулентность.
Волокнистую суспензию, или волокнистую массу, содержащую волокнистый материал и химически активное минеральное вещество, подают по трубопроводу 16 в центральную область 30 измельчающего и активизирующего устройства, откуда волокнистая суспензия движется радиально наружу к открытому наружному краю 32 наружного кольца 28” под действием перепада давлений, возникающего между центральной областью и наружным кольцом устройства. Волокнистую суспензию можно также подавать в устройство 14 между кольцами, если это необходимо. Можно также подавать волокнистый материал и химически активное минеральное вещество в измельчающее и активизирующее устройство 14 по отдельным трубопроводам, но в этом случае не образуется волокнистая суспензия, содержащая волокно и минеральное вещество, до захода компонентов в это устройство.
Волокнистую суспензию измельчают до очень тонких фракций, капель жидкости и твердых частиц, одновременно активизируя волокна, например, путем их фибриллизации, воздействуя на нее ударами и двойными ударами, сдвигающими силами, турбулентностью и импульсами повышенного давления и разрежения, создаваемыми посредством лопастей роторов, вращаемых в противоположных направлениях. Помимо прочего, эффективно происходит активизация, так как на волокнистую суспензию воздействуют мощными ударами и большими сдвигающими силами. В решении согласно изобретению волокнистую суспензию можно, однако, пропускать вдоль относительно свободной траектории через кольца и таким образом не подвергать подобному воздействию измельчающих и разрывающих волокна сил, как это происходит с волокном, которое обрабатывают в устройствах типа дисковых рафинеров или конических рафинеров. В решении согласно изобретению волокна сталкиваются с поверхностями лопастей роторов только в течение очень коротких промежутков времени, если вообще сталкиваются.
В решении согласно изобретению, проиллюстрированном на Фиг.1 и 2, осадительный газ направляют по трубопроводу 18 в центральную область 30 колец измельчающего и активизирующего устройства. Из этой центральной области газ идет радиально наружу, создавая как в измельчающем устройстве, так и в осадительном резервуаре 12 вокруг него газовое пространство 34, содержащее осадительный газ. Газ выводят по трубопроводу 21, расположенному в верхней части осадительного реактора. Если желательно, то можно подавать осадительный газ внутрь колец и/или между кольцами измельчающего и активизирующего устройства. Реакции осаждения могут быть начаты уже в газовом пространстве измельчающего и активизирующего устройства.
При обработке в измельчающем и активизирующем устройстве 14 из волокнистой суспензии образуются очень мелкие капли и частицы, которые выбрасываются из устройства 14 в окружающую область 34′ газового пространства. Мелкие капли и частицы выбрасываются из измельчающего и активизирующего устройства, главным образом из области его наружного кольца, в виде туманообразного потока 36. Реакции осаждения снаружи измельчающего и активизирующего устройства могут продолжаться в течение относительно продолжительного периода времени, пока мелкие капли и частицы разлетаются (широко) в осадительном резервуаре. Обработанная волокнистая суспензия осаждается в емкости нижней части резервуара, и ее выводят из резервуара по трубопроводу 20.
Размер, форму, ширину и высоту осадительного резервуара 12 можно выбирать так, чтобы капли и частицы, выбрасываемые из измельчающего и активизирующего устройства, оставались в газовом пространстве 34′ осадительного резервуара, и чтобы время их выдерживания в этом пространстве по возможности соответствовало предварительно принятой величине. Например, увеличивая высоту осадительного резервуара 12 и делая его подобным башне, увеличивают время выдерживания волокнистой суспензии.
Процессы, выполняемые в осадительном реакторе 10, можно также регулировать путем варьирования, например, количества колец, расстояния между кольцами, расстояния между лопастями каждого кольца, размеров и положения лопастей в измельчающем и активизирующем устройстве.
Волокнистую суспензию, выпускаемую через нижнюю часть осадительного резервуара 12, можно повторно обрабатывать в том же осадительном реакторе или подавать ее в другой реактор для окончательной обработки.
На Фиг.3 и 4, на которых изображен другой осадительный реактор согласно изобретению с его измельчающими и активизирующими реакторами, компоненты конструкции обозначены теми же номерами позиций, что и на Фиг.1 и 2, если они применимы. Согласно изобретению другой осадительный реактор 10, представленный на Фиг.3, отличается от устройства, изображенного на Фиг.1 и 2, главным образом, тем, что он содержит измельчающий и активизирующий реактор 14, снабженный закрытым наружным кольцом 32, и тем, что осадительный реактор не содержит отдельной осадительной области, расположенной снаружи измельчающего и активизирующего устройства. Решение, представленное на Фиг.3 и 4, можно использовать, например, тогда, когда можно предположить, что реакции осаждения завершены, в соответствии с пожеланиями, уже в газовом пространстве измельчающего и активизирующего реактора.
В измельчающем устройстве, представленном на Фиг.3 и 4, наружное кольцо 28” окружено корпусом 40, которым укрывают кольцо. Корпус содержит выпускное отверстие 42 для выпуска обработанной волокнистой суспензии из устройства 14. Обработанную волокнистую суспензию можно направлять из выпускного отверстия 42 по трубопроводу для дальнейшей обработки.
Реактор, изображенный на Фиг.3, также можно использовать для активизации волокнистой суспензии в случае, когда осаждение не должно происходить в этом устройстве. Два или большее число осадительных реакторов обоих типов, представленных на Фиг.1 и 3, может быть установлено последовательно в линии. На Фиг.5 показана группа из трех осадительных реакторов представленного на Фиг.1 типа. Компоненты конструкции обозначены теми же номерами позиций, что и на предыдущих чертежах, если они применимы.
На Фиг.5 изображено три осадительных реактора 10, 10′ и 10”, где волокнистую суспензию, содержащую Са(ОН)2, обрабатывают углекислым газом (CO2) для карбонизации ионов Са2+, т.е. для осаждения СаСО3. Реакторы соединены последовательно так, чтобы частично обработанная волокнистая суспензия, содержащая волокно, осажденный карбонат и неосажденный гидроксид кальция, направлялась из выпускного отверстия 20 первого реактора 10 в питающий трубопровод 16′ второго реактора 10′. Соответственно, обработанную волокнистую суспензию направляют по выпускному трубопроводу 20 второго реактора 10′ в питающий трубопровод 16” третьего реактора 10”.
Газ, содержащий диоксид углерода, подают в каждый реактор по трубопроводам 18, 18′, 18”. Газ, содержащий диоксид углерода, подают по питающему трубопроводу 18 в первый реактор 10, в котором начинают осаждение (карбонизацию) и образование активного карбоната на волокне уже в измельчающем и активизирующем устройстве 14. Осаждаемый карбонат кальция осаждают как на волокнах, так и на других частицах, находящихся в волокнистой суспензии. Карбонат также осаждается в виде отдельных частиц в волокнистой суспензии. Можно направить тот же или другой газ, содержащий диоксид углерода, во второй и в третий осадительные реакторы 10′, 10” по трубопроводам 18”, чтобы завершить реакции осаждения (карбонизацию). Газ удаляют из реакторов по выпускным трубопроводам 21, 21′, 21”.
Волокнистую суспензию, которую надлежит подать в осадительный реактор 10, можно активизировать в отдельном активизирующем устройстве, присоединенном перед осадительным реактором 10. Активизирующее устройство предпочтительно является смесителем проходного типа, подобным ударной мельнице.
На Фиг.6 изображена другая группа осадительных реакторов, содержащая два осадительных реактора 10, 10′, подобных изображенному на Фиг.1, установленных последовательно в линии. Активизирующее устройство 44, структура которого схожа в основном со смесителем проходного типа, изображенным на Фиг.3, присоединено перед первым осадительным реактором 10. Волокнистый материал, который надлежит подавать в осадительный реактор, активизируют в активизирующем устройстве. Однако в активизирующее устройство не подают осадительный газ.
Волокнистый материал подают по трубопроводу 46 в верхнюю часть активизирующего устройства 44. Активизированный волокнистый материал направляют через разбивающий резервуар 48 в первый осадительный реактор 10. В волокнистый материал можно также добавлять минеральное вещество (гидроксид кальция), которое надлежит осаждать, по трубопроводу 50, расположенному перед активизирующим устройством 44, или по трубопроводу 52, расположенному позади активизирующего устройства. В разбивающем резервуаре 48 волокнистому материалу предоставляют возможность набухать в щелочной среде в течение желаемого периода времени. Из разбивающего резервуара волокнистую суспензию, содержащую волокнистый материал и минеральное вещество, которое надлежит осаждать, направляют по трубопроводу 16 снизу в измельчающее и активизирующее устройство 14 осадительного реактора. Осадительный газ 18, обычно – углекислый газ, подают вместе с волокнистой суспензией в устройство 14. Газ, обычно содержащий пар и диоксид углерода, удаляют из верхней части осадительного реактора по трубопроводу 21. Газ направляют для его обработки в устройство 54 для промывки и охлаждения газа. В устройстве 54 обработанный газ, содержащий диоксид углерода, повторно пропускают по трубопроводу обратно в осадительный реактор 10. Обработанную волокнистую суспензию, собранную в нижней части осадительного реактора, выводят по выпускному трубопроводу 20.
Второй осадительный реактор 10′, представленный на Фиг.6, действует в основном по тому же принципу, что и первый осадительный реактор 10. Волокнистую суспензию, выведенную снизу из первого реактора 10 по трубопроводу 20 и обычно содержащую волокнистый материал и гидроксид кальция помимо осаждаемого карбоната кальция, направляют по трубопроводу 16′ снизу в измельчающее и активизирующее устройство 14′ второго реактора 10′. Из устройства 54 для промывки и охлаждения газа газ, содержащий диоксид углерода, направляют во второй реактор 10′. Почти полностью обработанную волокнистую суспензию, в которой осаждено в волокне желаемое количество карбоната кальция, выводят через низ второго реактора 10′ по трубопроводу 20′. Газ отводят из верхней части второго реактора 10′ и направляют в устройство 54 для промывки и охлаждения газа для дальнейшего восстановления и повторного использования.
На Фиг.7 представлена третья группа осадительных реакторов, содержащая три осадительных реактора 10, 10′, 10”, установленных последовательно в линии. Реакторы расположены один над другим, а волокнистую суспензию подают сверху в измельчающие и активизирующие устройства реакторов. Первый реактор 10 расположен выше всех, а третий реактор 10” расположен ниже всех, указывая на то, что волокнистую суспензию транспортируют главным образом сверху вниз, передавая из реактора в реактор. Отдельное устройство 44 для предварительной активизации и разбивающий резервуар 48 для обработки волокнистого материала установлены перед группой реакторов, как показано на Фиг.6.
Помимо прочего, преимущества изобретения заключаются в следующем:
– возможность одновременного активизирования и измельчения волокнистого материала для осаждения;
– возможность быстрого, эффективного и полного проведения реакций осаждения; возможность достижения хороших результатов даже при одном пропуске через осадительный реактор;
– возможность проведения активизации, обеспечивающей сильную и эффективную обработку волокна без существенного разрыва и повреждения волокна при любом другом способе;
– возможность регулирования процесса активизации;
– возможность достижения очень эффективного смешивания волокнистой суспензии, минеральных веществ и газа, что означает возможность обработки каждого маленького объема волокнистой суспензии и осаждения в каждом маленьком объеме волокнистой суспензии;
– возможность проведения также осаждения внутри волокон;
– возможность в результате реакций осаждения соединения волокон между собой, причем в этом случае может быть принято, что улучшаются прочностные характеристики бумаги/возможность маскировки остатков типографской краски, оставшейся в волокне после процесса удаления типографской краски, путем использования реакций осаждения;
– возможность, посредством использования реакций осаждения, присоединения неорганических и органических частиц к волокну и понуждения их к удерживанию в бумаге;
– возможность оптимизации таких характеристик, как светлость, прочность и непрозрачность бумаги, которую надлежит изготавливать с использованием процесса осаждения.
Задачей экспериментов, представленных в последующем примере, является сравнение способов карбонизации продукта «волокно/ОКК» (ОКК – осажденный карбонат кальция), полученного путем использования решения согласно изобретению, и карбонизации продукта «волокно/ОКК», изготовленного с использованием других представленных способов. Задачей является просто иллюстрация изобретения, но не его ограничение.
Во всех экспериментах сохранялись следующие условия:
– использовали волокно сосны, рафинированное одинаковым машинным способом, для изготовления высокосортной бумаги; концентрация волокна составляла 3,5%;
– использовали суспензию, содержавшую 17% Ca(OH)2, по сухому веществу;
– использовали газ, содержавший CO2, композиция которого была одинаковой.
(К1) Применяя способ согласно изобретению, вырабатывали продукт «волокно/ОКК» путем смешивания необходимого количества суспензии Ca(OH)2 с волокнистой массой, содержавшей волокно сосны; соотношение волокна и ОКК составляло 70/30 после осаждения; и затем дважды пропускали суспензию «волокно/Са(ОН)2» через осадительный реактор, изображенный на Фиг.1. Суспензию «волокно/Са(ОН)2» затем нагнетали, согласно изобретению, в виде тонко измельченной суспензии в газ, содержавший СО2. Избыток газа, содержавшего СО2, подавали в устройство. После этой обработки показатель рН продукта «волокно/ОКК» составлял 7.
(VI) Для сравнения вырабатывали продукт «волокно/ОКК», используя химический смеситель с псевдоожижением путем шестикратного пропуска суспензии «волокно/Са(ОН)2» через химический смеситель. Кроме того, в химический смеситель подавали избыточное количество газа, содержавшего CO2. Непосредственно после обработки показатель рН продукта «волокно/ОКК» составлял 7.
(V2) В качестве другого сравнительного примера провели осаждение таким же образом, как и в эксперименте (VI), за исключением того, что в химическом смесителе не обеспечили возможность псевдоожижения, только подавали в смеситель избыточное количество газа, содержавшего CO2. Суспензию «волокно/Са(ОН)2» восьмикратно пропускали через химический смеситель. Непосредственно после обработки показатель рН продукта «волокно/ОКК» составлял 7.
(K1) После получения продукта путем использования способа согласно изобретению показатель рН продукта «волокно/ОКК» составлял 7 даже спустя 24 часа после проведения эксперимента, что подтверждает факт полного завершения процесса карбонизации.
(VI) Показатель рН продукта, полученного с использованием способа, соответствовавшего этому примеру, спустя 24 часа после проведения эксперимента составлял 10, что подтверждает тот факт, что карбонизация продукта не была завершена, и ее следует продолжить в течение нескольких минут для завершения реакций карбонизации.
(V2) Показатель рН продукта, полученного с использованием способа, соответствовавшего этому примеру, спустя 24 часа после проведения эксперимента, составлял 11, что подтверждает тот факт, что карбонизация продукта не была завершена, и ее следует продолжить в течение нескольких минут для завершения реакций карбонизации.
Во всех случаях период времени, использованный для действительной карбонизации, был кратким, но только в способе согласно изобретению, карбонизация была завершена в течение очень короткого периода времени, и не требовалось проведения дополнительной карбонизации.
Задачей изложенного выше было не ограничение настоящего изобретения вариантами исполнения, представленными в качестве примеров. Наоборот, задача заключалась в подтверждении возможности широкого применения изобретения в объеме, продекларированном в формуле изобретения.
Таким образом, решение согласно изобретению можно использовать в других типах предварительной обработки волокнистого материала при производстве бумаги, картона и подобных материалов для активизации волокон и их поверхности, например, чтобы их способность соединяться между собой механически или химически повышалась и чтобы их способность присоединять минеральные вещества механически или химически повышалась, на их поверхности формируют активные ОН-группы и/или их каналы раскрывают так, чтобы минеральное вещество могло осаждаться также и внутри волокон. В этом случае волокнистый материал подвергают предварительной обработке в смесителе проходного типа, работающем по принципу ударной мельницы, содержащем:
– несколько (обычно больше 3-8, а наиболее типично – 4-6) соосно расположенных колец, снабженных лопастями, в котором по меньшей мере каждое следующее кольцо действует как ротор, а смежные кольца, по отношению к упомянутым кольцам, действуют как статоры или роторы; разница скоростей смежных колец составляет 10-500 м/с, а типично – 50-200 м/с;
– питающие устройства для подачи волокнистого материала в основном в центральную область упомянутых колец и
– открытое наружное кольцо, при котором предоставляют возможность волокнистой суспензии, понуждаемой перемещаться радиально наружу через кольца, выхода из колец в различных направлениях; или
– наружное кольцо, снабженное одним или большим числом выпускных отверстий для выпуска волокнистой суспензии, понуждаемой перемещаться радиально наружу через кольца, из осадительного реактора.
Предварительную обработку предпочтительно выполняют, когда волокно набухает, например, под воздействием добавляемого Са(ОН)2. Предварительная обработка волокна согласно изобретению особенно хорошо подходит для использования в активизировании волокнистого материала перед введением волокнистого материала в контакт с химически активным минеральным веществом, где минеральное вещество предназначено к осаждению на волокне. Предварительная обработка согласно изобретению хорошо подходит для других процессов, задача которых заключается в предварительной обработке волокнистого материала для достижения необходимых соответствующих характеристик волокнистого материала.
Формула изобретения
1. Способ осаждения минеральных частиц на волокне, предназначенном для использования в производстве бумаги, картона и подобной продукции, включающий, по меньшей мере, следующие стадии: (a) подачу волокнистого материала, содержащего волокно, предназначенное для производства в осадительный реактор; (b) подачу химически активного минерального вещества, такого как гидроксид кальция [Са(ОН)2], в осадительный реактор; (c) смешивание химически активного минерального вещества и волокнистого материала с образованием волокнистой суспензии в осадительном реакторе и/или смешивание этих веществ до подачи в осадительный реактор; (d) воздействие на волокнистую суспензию в осадительном реакторе веществом, вызывающим, по меньшей мере, частичное осаждение упомянутого химически активного минерального вещества, причем в этом случае, по меньшей мере, часть осаждаемого минерального вещества, сформированного таким образом, осаждается на волокне, находящемся в волокнистой суспензии; (e) выпуск обработанной таким образом волокнистой суспензии из осадительного реактора; (f) подачу газа, содержащего вещество, вызывающее осаждение упомянутого химически активного минерального вещества, такого как диоксид углерода (СО2), в осадительный реактор для образования газового пространства, содержащего упомянутый осадитель в осадительном реакторе; и
(g) измельчение волокнистой суспензии, поданной и/или сформированной в осадительном реакторе, на мелкие твердые частицы или капли жидкости и/или частицы и подачу их в упомянутое газовое пространство, отличающийся тем, что волокнистый материал активизируют в зоне активизации до осаждения и/или во время осаждения таким образом, чтобы повышалась способность волокон соединяться друг с другом и с осажденным минеральным веществом, и период времени выдержки волокнистого материала в зоне активизации является коротким, составляющим менее 10 с.
2. Способ по п.1, отличающийся тем, что на стадии (g) жидкую фазу волокнистой суспензии измельчают на мелкие капли жидкости, размер которых преимущественно меньше 10 мм, обычно меньше 1 мм, и подают в газовое пространство.
3. Способ по п.1, отличающийся тем, что на волокнистую суспензию в зоне активизации, расположенной перед осадительным реактором или в начальной области осадительного реактора по отношению к потоку волокнистой суспензии, воздействуют силами, активизирующими волокно таким образом, чтобы повышалась способность волокон соединяться друг с другом и с осаждаемым и/или осажденным минеральным веществом.
4. Способ по п.3, отличающийся тем, что для ускорения активизации на волокнистую суспензию воздействуют силами, такими как повторяющиеся периодически удары, двойные удары, сдвиговые усилия, турбулентность, импульсы повышенного давления и разрежения или другие соответствующие силы, посредством которых волокно механически активизируют, особенно поверхность волокон, путем фибриллирования или рафинирования волокна и раскрывания внутренних каналов, например, для минеральных веществ, и/или поверхность волокон химически активируют, например, образуя активные OH’-группы на поверхности волокон.
5. Способ по п.3, отличающийся тем, что поток волокнистой суспензии, пропускаемый через зону активизации, подвергают воздействию последовательных ударов и двойных ударов, генерируемых в потоке волокнистой суспензии путем использования лопастей или подобных средств, вращаемых со скоростью 5-250 м/с.
6. Способ по п.3, отличающийся тем, что зона активизации осадительного реактора содержит смеситель проходного типа, действующий по принципу ударной мельницы, содержащий несколько, обычно 3-8, а более типично – 4-6, соосно расположенных колец, снабженных лопастями, из которых, по меньшей мере, каждое последующее кольцо действует как ротор, а смежные кольца относительно этих колец действуют как статоры или роторы, и в котором разница скоростей между роторами и статорами и роторами смежных колец составляет 10-500 м/с, обычно 50-200 м/с, причем волокнистую суспензию подают так, чтобы перемещать ее из центра смесителя проходного типа в радиальном направлении наружу через его кольца, при этом лопастями колец наносят периодические удары, двойные удары, воздействуют сдвиговыми усилиями и/или импульсами повышенного давления и разрежения на волокнистую суспензию, выходящую наружу, и этими всеми воздействиями активизируют волокно.
7. Способ по п.6, отличающийся тем, что, по меньшей мере, часть газа, который надлежит подавать в осадительный реактор, содержащего вещество, вызывающее осаждение минерального вещества, подают в осадительный реактор через зону активизации и в этом случае волокно, активизированное в этой зоне активизации, вступает в контакт с упомянутым осадителем сразу же во время активизации или непосредственно после этого.
8. Способ по пп.3-7, отличающийся тем, что время выдержки волокнистой суспензии, содержащей волокнистый материал и химически активное минеральное вещество, в зоне активизации обычно составляет менее 2 с, более типично – менее 1 с.
9. Способ по п.1, отличающийся тем, что в осадительный реактор подают газ, содержащий более 5%, а обычно более 10% осадителя, например диоксида углерода.
10. Способ по п.1, отличающийся тем, что газ, содержащий осадитель, представляет собой чистый или почти чистый диоксид углерода, газообразный продукт сгорания, или другой газ, содержащий диоксид углерода, или любой газ, пригодный для осаждения используемого химически активного минерального вещества, или смесь этих газов, и
газ, содержащий осадитель, подают в осадительный реактор так, чтобы поддерживалось повышенное давление в осадительном реакторе.
11. Способ по п.1, отличающийся тем, что
волокнистую суспензию пропускают через два или несколько осадительных реакторов, в которых газовая композиция в газовых пространствах может быть различной, газ, содержащий осадитель, в первом осадительном реакторе является чистым или почти чистым диоксидом углерода, а в следующем осадительном реакторе или в одном из последующих реакторов газ является газообразным продуктом сгорания или другим газом с меньшим содержанием диоксида углерода, или
газ, содержащий осадитель, в первом осадительном реакторе(ах) меньше обогащен диоксидом углерода, а в следующем осадительном реакторе или в следующем после этого реактора газ является чистым или почти чистым диоксидом углерода.
12. Способ по п.1, отличающийся тем, что
химически активное минеральное вещество состоит из гидроксида кальция, сульфата кальция, оксида кальция или другого химически активного минерального вещества и/или из их смеси, которое пригодно для осаждения посредством осадителя, и
химически активное минеральное вещество можно выбирать таким образом, чтобы продукт, который надлежит изготавливать из волокна, приобретал желаемые свойства, например желаемые оптические свойства.
13. Способ по п.1, отличающийся тем, что волокнистый материал содержит
натуральное волокно, полученное посредством химического, механического, химико-механического, термомеханического или соответствующего процесса;
восстановленное волокно, подвергнутое удалению типографской краски или не подвергнутое такой обработке, полученное из газетной бумаги, крафт-бумаги, мягкой бумаги, специальной бумаги или картона, или волокно, полученное из брака, или другое соответствующее волокно; отбеленное или неотбеленное волокно, рафинированное или нерафинированное волокно, сушеное или несушеное волокно, или любая смесь любых из этих волокон.
14. Способ по п.1, отличающийся тем, что волокнистый материал содержит волокно в дополнение к мелкозернистому материалу, например, такому как мелкозернистый материал на основе волокна, посторонним примесям и/или минеральным веществам.
15. Способ по п.1, отличающийся тем, что волокнистый материал подают в осадительный реактор при концентрации 0,1-40%, более типично 1-15%, наиболее типично 3-7%.
16. Устройство для осаждения минеральных частиц на волокне, предназначенном для использования в производстве бумаги, картона и подобной продукции, содержащее осадительный реактор, снабженный
питающим устройством для подачи волокнистого материала и минеральных веществ, либо отдельно, либо вместе, в виде волокнистой суспензии, в осадительный реактор; питающим устройством для подачи газа, содержащего вещество, вызывающее осаждение минерального вещества, в осадительный реактор;
осадительным пространством, содержащим газовое пространство, в котором волокнистый материал и волокнистую суспензию, содержащую химически активное минеральное вещество, подаваемые в осадительный реактор, вводят в контакт с газом, содержащим упомянутый осадитель;
устройства для отвода волокнистой суспензии, содержащей волокнистый материал и осажденные минеральные вещества, из осадительного реактора;
измельчающие устройства для измельчения волокнистой суспензии, содержащей волокнистый материал и химически активные минеральные вещества, подаваемые в осадительный реактор, до мелких твердых частиц или частиц жидкости, например капель и/или частиц, и подачи их в упомянутое газовое пространство, отличающееся тем, что устройство дополнительно содержит активизирующее устройство,
которое устанавливают для обработки волокнистого материала до осаждения и/или во время осаждения таким образом, что повышается способность волокон соединяться друг с другом и с осаждаемым минеральным веществом; в котором период времени выдержки волокнистого материала является коротким и составляет менее 10 с.
17. Устройство по п.16, отличающееся тем, что измельчающие устройства содержат смеситель проходного типа, действующий по принципу ударной мельницы, содержащий несколько, обычно 3-8, а более типично 4-6, соосно расположенных колец, снабженных лопастями, из которых, по меньшей мере, каждое последующее кольцо действует как ротор, а смежные кольца относительно этих колец действуют как статоры или роторы, и в смесителе проходного типа разница скоростей упомянутых роторов и статоров или роторов смежных колец составляет 10-500 м/с, обычно 50-200 м/с, причем
лопасти на кольцах располагают таким образом, чтобы волокнистая суспензия, проходящая главным образом в радиальном направлении наружу, подвергалась периодическим ударам, двойным ударам, воздействию сдвиговых усилий и/или импульсов повышенного давления и разрежения, посредством которых активизируют волокно.
18. Устройство по п.17, отличающееся тем, что
питающие устройства для подачи волокнистого материала и химически активного минерального вещества в осадительный реактор выполнены таким образом, чтобы эти вещества поступали, в основном, в центр колец смесителя проходного типа; и
питающие устройства для подачи газа, содержащего вещество, вызывающее осаждение минерального вещества, выполнены таким образом, чтобы газ поступал главным образом в смеситель проходного типа, чтобы осаждение начиналось уже в смесителе проходного типа.
19. Устройство по п.18, отличающееся тем, что
смеситель проходного типа располагают в верхней части газового пространства в осадительном реакторе; смеситель проходного типа содержит преимущественно открытое наружное кольцо, благодаря чему волокнистая суспензия, пропускаемая через смеситель проходного типа, может выходить из колец в различных направлениях; и
устройства для отвода волокнистой суспензии, содержащей волокнистый материал и осажденное минеральное вещество, из осадительного реактора расположены около нижней части осадительного реактора.
20. Устройство по п.17, отличающееся тем, что одно или большее число выпускных отверстий выполнено на наружном кольце смесителя проходного типа для отвода волокнистой суспензии, пропущенной через смеситель проходного типа, из осадительного реактора.
21. Устройство по п.16, отличающееся тем, что оно содержит, по меньшей мере, два последовательно соединенных осадительных реактора, оснащенных смесителями проходного типа.
22. Устройство по п.16, отличающееся тем, что оно содержит смеситель проходного типа, действующий по принципу ударной мельницы, установленный перед осадительным реактором и выполненный таким образом, чтобы перерабатывать волокнистый материал или волокнистую суспензию, содержащую волокнистый материал и химически активное минеральное вещество, которое надлежит подавать в осадительный реактор, чтобы активизировать волокнистый материал до его подачи в осадительный реактор.
23. Способ предварительной обработки волокнистого материала, используемого в изготовлении бумаги, картона и подобной продукции, для активизации волокна и его поверхности, например, таким образом, чтобы повышалась способность волокон соединяться друг с другом механически или химически и чтобы повышалась их способность присоединять минеральные вещества механически или химически, формируют активные ОН-группы на их поверхностях и/или раскрывают их каналы, что позволяет минеральным веществам осаждаться внутри волокон, отличающийся тем, что он включает стадию предварительной обработки волокнистого материала в смесителе проходного типа, действующем по принципу ударной мельницы, состоящем из нескольких, более типично из 3-8, а наиболее типично из 4-6, соосно установленных колец, снабженных лопастями, из которых, по меньшей мере, каждое последующее кольцо действует как ротор, а смежные кольца относительно этих колец действуют как статоры или роторы, причем разница скоростей смежных колец составляет 10-500 м/с, обычно 50-200 м/с;
питающие устройства для подачи волокнистого материала преимущественно в центр упомянутых колец;
открытое наружное кольцо, благодаря чему волокнистая суспензия, проходящая в радиальном направлении наружу через кольца, может выходить из кольца в различных направлениях, или
открытое наружное кольцо, снабженное одним или несколькими выпускными отверстиями для отвода волокнистой суспензии, проходящей в радиальном направлении наружу через кольца, из осадительного реактора.
24. Способ по п.23, отличающийся тем, что активизацию предпочтительно выполняют, когда волокно набухает благодаря добавлению, например, Са(ОН)2.
25. Устройство для предварительной обработки волокнистого материала, предназначенного для использования в производстве бумаги, картона и подобной продукции, для активизации волокна и его поверхности, например, таким образом, чтобы повышать способность волокон соединяться друг с другом механически или химически и чтобы повышать их способность присоединять минеральные вещества механически или химически, формировать активные ОН-группы на их поверхностях и/или раскрывать их каналы, что позволяет минеральным веществам осаждаться внутри волокон, отличающееся тем, что устройства для предварительной обработки волокнистого материала содержат смеситель проходного типа, действующий по принципу ударной мельницы, состоящий из нескольких, более типично из 3-8, а наиболее типично из 4-6, соосно установленных колец, снабженных лопастями, из которых, по меньшей мере, каждое последующее кольцо действует как ротор, а смежные кольца относительно этих колец действуют как статоры или роторы, причем
разница скоростей смежных колец составляет 10-500 м/с, обычно 50-200 м/с;
питающие устройства для подачи волокнистого материала преимущественно в центр упомянутых колец;
открытое наружное кольцо, благодаря чему волокнистая суспензия, проходящая в радиальном направлении наружу через кольца, может выходить из кольца в различных направлениях, или
открытое наружное кольцо, снабженное одним или несколькими выпускными отверстиями для отвода волокнистой суспензии, проходящей в радиальном направлении наружу через кольца, из осадительного реактора.
26. Применение устройства по п.25 для предварительной обработки волокнистого материала до введения его в контакт с химически активным минеральным веществом.
РИСУНКИ
|
|