Изобретение относится к утюгам с водяным резервуаром. Водяной резервуар (3) утюга оборудован заливным отверстием (5), выполненным на задней стороне утюга с возможностью заполнения резервуара (3) при расположении утюга под наклоном вперед. Резервуар (3) сообщается с водораспределительным золотником (7), находящимся в передней части утюга и питающим испарительную камеру (10). Водораспределительный золотник (7) питается от канала (8), выходящего вблизи задней части резервуара (3). 8 з.п. ф-лы, 3 ил.
Настоящее изобретение относится к утюгам и, в частности, к утюгу, содержащему водяной резервуар, оборудованный заливным отверстием на задней стороне утюга.
Из патента FR 2830266, принадлежащего заявителю, известен утюг, содержащий заливное отверстие, расположенное на уровне пятки утюга и направленное с возможностью заполнения утюга, располагая последний по существу вертикально носиком вниз. Такая конструкция позволяет выполнить заливное отверстие большого размера, позволяющее быстро и беспрепятственно заполнить резервуар, поместив его, в частности, непосредственно под водопроводный кран. Однако такой утюг обычно содержит испарительную камеру, питаемую через водораспределительный золотник, установленный в передней части утюга с целью сохранения габаритов.
Однако расположение водораспределительного золотника в передней части утюга является недостатком, так как вода может выливаться из резервуара через водораспределительный золотник, когда утюг наклоняют вперед. Отсюда следует, что во время операции заполнения резервуара вода может выливаться из утюга, если пользователь заранее не закрыл золотник, что является неудобством для пользователя.
Поэтому задачей настоящего изобретения является устранение этого недостатка путем создания утюга, оборудованного заливным отверстием для заполнения через заднюю часть, не позволяющим воде выливаться из резервуара, когда утюг наклоняют передней частью вниз, при этом вода из резервуара естественным образом перетекает в испарительную камеру, когда утюг стоит на своей подошве.
Для решения этой задачи предложен утюг, содержащий водяной резервуар, оборудованный заливным отверстием, выполненным на задней стороне утюга таким образом, чтобы заполнение резервуара можно было осуществлять, держа утюг под наклоном вперед, при этом резервуар сообщается с водораспределительным золотником, питающим испарительную камеру, отличающийся тем, что водораспределительный золотник питается от канала, выходящего вблизи задней части резервуара.
Такой отличительный признак позволяет избежать выливания воды через золотник, когда утюг наклоняют вперед, в частности, во время заполнения резервуара.
Согласно частному варианту выполнения настоящего изобретения канал выходит в нижнюю заднюю часть резервуара.
Такой отличительный признак позволяет оптимизировать питание золотника, когда утюг стоит на своей подошве.
Согласно другому отличительному признаку настоящего изобретения заливное отверстие резервуара продолжено внутрь резервуара втулкой, позволяющей сохранить в резервуаре снаружи втулки запас воздуха во время заполнения резервуара.
Преимуществом такого отличительного признака является то, что он способствует образованию воздушной прослойки, которая практически не заполняется водой во время заполнения резервуара.
Согласно другому отличительному признаку настоящего изобретения канал выходит в воздушную прослойку, образующуюся по обе стороны от втулки.
Такой отличительный признак позволяет еще больше снизить возможность перетекания воды через водораспределительный золотник во время заполнения резервуара.
Согласно еще одному отличительному признаку настоящего изобретения резервуар содержит стенку, выполненную от дна резервуара и образующую заграждение, удерживающее воду в задней части резервуара, когда уровень воды в нем понижается.
Такой отличительный признак способствует полному опорожнению резервуара через канал, питающий золотник, задерживая при этом в задней части резервуара воду, попавшую туда во время толчков при перемещении утюга спереди назад во время глажения. В частности, этот отличительный признак позволяет использовать резервуар, задняя часть которого приподнята относительно передней части, сохраняя при этом возможность полного опорожнения резервуара.
Согласно другому отличительному признаку настоящего изобретения канал выполнен в виде трубки питания, и стенка, образующая заграждение, выполнена в поперечном направлении по ширине резервуара и в вертикальном направлении по высоте, соответствующей по существу наружному диаметру трубки питания, при этом данная стенка содержит отверстие для прохождения трубки питания.
Согласно еще одному отличительному признаку настоящего изобретения резервуар содержит воздушный канал, содержащий один конец, выходящий в заднюю часть резервуара, и один конец, сообщающийся с окружающей средой и расположенный в передней верхней части утюга.
Такой отличительный признак обеспечивает сообщение с воздухом резервуара, благодаря чему вода нормально перетекает в направлении водораспределительного золотника, и ограничивает возможность выливания воды за пределы резервуара, когда утюг наклоняют вперед или ставят на пятку.
Согласно другому отличительному признаку настоящего изобретения воздушный канал содержит буферную камеру, выполненную в передней верхней части корпуса утюга и размещенную над максимальным уровнем воды в резервуаре, когда утюг находится в горизонтальном положении.
Такой отличительный признак позволяет избежать выливания воды через конец воздушного канала, поскольку вода, находящаяся в воздушном канале, собирается в буферной камере при наклоне утюга вперед.
Согласно еще одному отличительному признаку настоящего изобретения воздушный канал содержит трубку малого сечения, выходящую в заднюю верхнюю часть резервуара и продолженную колоколом, направленным вниз и содержащим отверстие в своей нижней части.
Такой отличительный признак позволяет ограничить объем буферной камеры, обеспечивая при этом нормальную работу воздушного канала.
Задачи, аспекты и преимущества настоящего изобретения будут более очевидны из нижеследующего описания частного варианта выполнения, представленного в качестве неограничительного примера со ссылками на прилагаемые фигуры чертежей, в числе которых:
Фиг.1 изображает общий вид в продольном разрезе утюга согласно частному варианту осуществления настоящего изобретения;
Фиг.2 – вид сверху утюга, показанного на фиг.1, с частичным верхним полуразрезом;
Фиг.3 – вид, аналогичный фиг.1, показывающий утюг в положении наклона вперед во время заполнения резервуара.
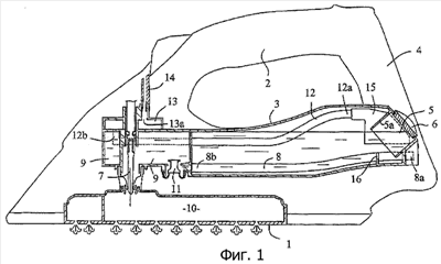
На фиг.1 и 2 схематично показан паровой утюг, содержащий нагревательную подошву 1, рукоятку 2 и корпус со встроенным в него водяным резервуаром 3. Рукоятка 2 соединена с задней частью утюга двумя стойками 4, расходящимися от рукоятки 2 и соединяющимися с корпусом утюга таким образом, что полученная конструкция имеет по существу треугольную форму и образует пятку, на которую можно ставить утюг.
Как показано на фиг.1, резервуар 3 утюга содержит заливное отверстие 5, выполненное на задней стороне утюга между двумя стойками 4. Отверстие 5 наклонено в сторону задней части утюга таким образом, чтобы осуществлять заполнение утюга во время его наклона вперед, как показано на фиг.3. Для сохранения размеров пространства под резервуаром 3 последний содержит заднюю часть, приподнятую относительно передней части резервуара 3.
Заливное отверстие 5 закрывают съемной пробкой 6, и оно содержит цилиндрическую втулку 5а, ось которой совпадает с осью отверстия 5, заходящую на несколько сантиметров внутрь резервуара 3. Нижний конец втулки 5а ограничивает максимальный уровень заполнения резервуара 3, когда утюг наклоняют вперед в положение заполнения. Кроме того, в этом положении заполнения втулка 5а позволяет сохранить в резервуаре, по обе стороны от нее, объем, практически не заполняемый водой и образующий воздушную прослойку.
В частности, в соответствии с настоящим изобретением резервуар 3 соединен при помощи трубки 8 питания с камерой 9, встроенной в переднюю часть резервуара 3 и питающей водораспределительный золотник 7, постепенно подающий воду в испарительную камеру 10, встроенную в нагревательную подошву 1.
Трубка 8 питания, установленная на дне резервуара 3, предпочтительно имеет внутренний диаметр, превышающий 5 мм, и содержит конец 8а, свободно выходящий в заднюю часть резервуара 3 в объем, окружающий втулку 5а. Другой конец 8b трубки питания соединен с водозапорным клапаном 11, установленным между резервуаром 3 и камерой 9 питания водораспределительного золотника 7. Известным образом водозапорный клапан 11 управляется приводным органом, не показанным на фигуре, обеспечивающим перекрывание клапана, когда температура в испарительной камере не достаточна для парообразования.
Для облегчения заполнения трубки 8 питания, когда уровень воды в резервуаре 3 понижается, в задней части резервуара выполняют стенку 16. Эта стенка 16 выполнена поперечно к резервуару по всей его ширине. Стенка 16 выполнена в вертикальном направлении, начиная от дна резервуара 3, по высоте, соответствующей по существу наружному диаметру трубки 8, и содержит вырез, в который вставляют трубку 8 питания таким образом, чтобы соединение между этими двумя элементами было герметичным по отношению к воде. Эта стенка 16, которую предпочтительно выполняют формованием заодно с резервуаром 3, выполняет роль заграждения для сбора воды при образовании волн от перемещения утюга толчками спереди назад во время различных этапов глажения и для ее удержания вокруг конца 8а. Преимуществом такого заграждения является возможность нормального опорожнения резервуара несмотря на то, что конец 8а выходит в слегка приподнятую заднюю часть резервуара 8.
Как показано на фиг.1, резервуар 3 также оборудован воздушным каналом, позволяющим воде беспрепятственно выливаться из резервуара в трубку 8 питания. Этот воздушный канал содержит воздушную трубку 12 малого проходного сечения, установленную в резервуаре 3 и содержащую задний конец 12а, предпочтительно соединенный с полым элементом 15 в виде колокола, не показанным на фиг.2, и установленный максимально сзади в резервуаре 3. Колокол 15 выполняет роль насоса, удаляющего путем всасывания водяные капли, которые могут задерживаться по причине капиллярности внутри воздушной трубки 12, когда утюг перемещают из вертикального положения на пятке в горизонтальное положение на подошву.
Воздушная трубка содержит также передний конец 12b, соединенный с буферной камерой 13, находящейся над резервуаром 3 в его передней части. Буферная камера 13 имеет объем, по существу равный объему воды, который может находиться в воздушной трубке 12, и содержит верхнюю стенку, оснащенную отверстием 13а, сообщающимся с окружающей средой через патрубок 14.
Такое выполнение утюга позволяет заполнять резервуар, наклонив утюг вперед, и устраняет возможность вытекания воды из резервуара.
На фиг.3 показан утюг в положении, соответствующем заполнению резервуара, при этом трубка 8 питания в этом положении позволяет избежать опорожнения резервуара через водораспределительный золотник 7, когда этот золотник остается в положении, предусмотренном для парообразования. Действительно, конец трубки 8 питания выходит в заднюю часть резервуара 3 в воздушный карман, образованный за счет наличия втулки 5а. Поэтому только незначительное количество воды, находящейся в трубке 8 питания и в камере 9 питания, может перетекать в направлении испарительной камеры 10, когда утюг наклоняют вперед, причем это незначительное количество воды скорее всего испаряется при контакте с испарительной камерой 10.
Что касается буферной камеры 13, то она позволяет избежать вытекания воды через патрубок 14 воздушного канала, собирая воду, которая может находиться в воздушном канале, когда утюг наклоняют вперед.
Настоящее изобретение ни в коей мере не ограничивается описанным и проиллюстрированным вариантом выполнения, представленным лишь в качестве примера. В него можно вносить изменения, в частности, в плане конструкции различных элементов или их замены техническими эквивалентами, не выходя при этом за рамки области правовой защиты изобретения.
1. Утюг, содержащий водяной резервуар (3), оборудованный заливным отверстием (5), выполненным на задней стороне утюга с возможностью заполнения резервуара (3), располагая утюг под наклоном вперед, при этом резервуар (3) сообщается с водораспределительным золотником (7), находящимся в передней части утюга и питающим испарительную камеру (10), отличающийся тем, что водораспределительный золотник (7) питается от канала (8), выходящего вблизи задней части резервуара (3).
2. Утюг по п.1, отличающийся тем, что канал (8) выходит в нижнюю заднюю часть резервуара (3).
3. Утюг по п.1, отличающийся тем, что заливное отверстие (5) резервуара (3) продолжено внутрь резервуара втулкой (5а), выполненной с возможностью образования воздушной прослойки в резервуаре (3) снаружи втулки (5а) во время заполнения резервуара.
4. Утюг по п.3, отличающийся тем, что канал (8) выходит в воздушную прослойку, образующуюся по обе стороны от втулки (5а).
5. Утюг по п.2, отличающийся тем, что резервуар (3) содержит стенку (16), выполненную от дна резервуара (3) и образующую заграждение, удерживающее воду в задней части резервуара (3), когда уровень воды в нем понижается.
6. Утюг по п.5, отличающийся тем, что канал выполнен в виде трубки (8) питания, причем стенка (16) выполнена в поперечном направлении по ширине резервуара (3) и в вертикальном направлении по высоте, соответствующей, по существу, наружному диаметру трубки (8) питания, при этом упомянутая стенка (16) содержит отверстие для прохождения трубки (8) питания.
7. Утюг по любому из пп.1-6, отличающийся тем, что резервуар (3) содержит воздушный канал, содержащий один конец, выходящий в заднюю часть резервуара (3), и один конец, сообщающийся с окружающей средой и расположенный в передней верхней части утюга.
8. Утюг по п.7, отличающийся тем, что воздушный канал содержит буферную камеру (13), выполненную в передней верхней части корпуса утюга и размещаемую над максимальным уровнем воды в резервуаре (3), когда утюг находится в горизонтальном положении.
9. Утюг по п.7, отличающийся тем, что воздушный канал содержит трубку (12) малого сечения, выходящую в заднюю верхнюю часть резервуара (3) и продолженную колоколом (15), направленным вниз и содержащим отверстие в своей нижней части.