|
|
(21), (22) Заявка: 2007137700/02, 12.10.2007
(24) Дата начала отсчета срока действия патента:
12.10.2007
(46) Опубликовано: 10.02.2009
(56) Список документов, цитированных в отчете о поиске:
RU 92014388 А, 10.09.1995. RU 2049152 C1, 27.11.1995. SU 1832134 A1, 07.08.1993. RU 2058429 C1, 20.04.1996. JP 8165209 A, 25.06.1996. JP 05-140732 A, 08.06.1993. JP 2006-174978 A, 06.07.2006.
Адрес для переписки:
125438, Москва, ул. Онежская, 8, Федеральное государственное унитарное предприятие “Исследовательский Центр имени М.В. Келдыша”, А.С. Коротееву
|
(72) Автор(ы):
Коротеев Анатолий Сазонович (RU), Пономарев-Степной Николай Николаевич (RU), Крутикова Ирина Владимировна (RU), Горшков Олег Анатольевич (RU), Беликов Михаил Борисович (RU), Ильин Альберт Александрович (RU), Шнырев Анатолий Иванович (RU), Церетели Зураб Константинович (RU)
(73) Патентообладатель(и):
Федеральное государственное унитарное предприятие “Исследовательский Центр имени М.В. Келдыша” (RU)
|
(54) СПОСОБ ОБРАБОТКИ ВОЛОСЯНОГО ПОКРОВА МЕХА
(57) Реферат:
Изобретение относится к способам обработки волосяного покрова меха и может быть использовано для повышения эксплуатационных свойств меховых полуфабрикатов и изделий. Способ включает ионное воздействие на мишень и напыление частиц материала мишени на волосяной покров меха. Ионное воздействие на мишень осуществляют регулируемым сфокусированным ионным пучком. Причем мишень устанавливают под углом 40-80° к регулируемому сфокусированному ионному пучку. Регулируемый сфокусированный ионный пучок создают источником ионов. В качестве источника ионов используют холловский ускоритель с замкнутым дрейфом электронов. Технический результат – расширение возможностей управления течением рабочего процесса нанесения покрытия, получение большего разнообразия цветов и оттенков на меховых изделиях. 2 з.п. ф-лы, 1 ил.
Изобретение относится к легкой промышленности и может использоваться, в частности, в меховой подотрасли для придания новых свойств меховым полуфабрикатам и изделиям из них.
Известны различные способы отделки меховых полуфабрикатов для получения новых цветов и оттенков с целью разнообразия выпускаемого ассортимента продукции.
К этим способам относятся различные типы окрашивания, проводимые в газообразной или жидкой среде.
Существуют способы, когда обработка волокнистых материалов проводится в вакуумной камере с помощью воздействия на образцы низкотемпературной плазмой, получаемой в результате применения электронного или лазерного пучка, либо тлеющего разряда.
Известен метод обработки мехового полуфабриката с использованием низкотемпературной плазмы высокочастотного разряда в аргоновой атмосфере с целью повышения прочности конечного продукта (патент RU №2278165 от 20.06.2006).
Наиболее близким аналогом заявляемого изобретения является способ отделки волокнистого материала – волосяного покрова меха – путем воздействия на него частиц металла, получаемых в вакуумной камере при давлении 10-6-10-1 мм рт.ст. из металлической мишени при воздействии на нее ионов, получаемых из плазмы, образованной за счет электронного или лазерного пучка, либо тлеющего разряда в среде рабочего газа (заявка на изобретение RU №92014388).
Недостатком данного способа, который выбран в качестве прототипа, является использование для распыления металла по сути вторичных и, вероятно, низкоэнергетичных ионов (все перечисленные в заявке источники не являются непосредственно источниками направленного потока ионов), что не дает возможности в широких пределах регулировать параметры ионного потока для качественного влияния на рабочий процесс. Кроме того, в этом способе поток ионов не сфокусирован, поэтому углы между мишенью и направлением вылета выбиваемых из нее атомов металла находятся в широком диапазоне, тем самым существенно снижая эффективность процесса отделки меха. В связи с низкой эффективностью способа становится крайне дорогим его использование для напыления на мех драгоценных металлов и металлов с низким коэффициентом распыления.
Техническим результатом предлагаемого способа является значительное расширение возможностей управления течением рабочего процесса нанесения покрытия, в том числе его ускорения, получение большего разнообразия цветов и оттенков на волосяном покрове меха, расширение списка материалов для напыления, а также снижение расхода напыляемого материала, что особенно важно при использовании мишени из дорогостоящего материала.
Данный результат достигается путем напыления на волосяной покров меха частиц материала мишени, получаемых при воздействии на нее регулируемым сфокусированным ионным пучком, и установки мишени под углом 40-80° к ионному пучку. Атомы, выбиваемые из материала мишени, имеют достаточно высокие энергии для прочного внедрения в обрабатываемый материал. Конкретное значение угла, являющееся оптимальным, подбирают в процессе предварительных испытаний. Расположение мишени к регулируемому сфокусированному ионному пучку под углом 40-80° обеспечивает наиболее интенсивный выход (вылет) атомов материала мишени при ионной бомбардировке, а также снижает угловой разброс направления вылета атомов, что приводит к наилучшему нанесению покрытия на материал.
Регулируемый сфокусированный ионный пучок с энергией ионов более 10 эВ может быть создан непосредственно источником ионов, обладающим широкими возможностями регулирования (сорт ионов, энергия ионов, плотность тока и полный ток ионного пучка, интегральная площадь воздействия пучка на мишень и т.д.).
В качестве источника ионов может быть использован холловский ускоритель с замкнутым дрейфом электронов.
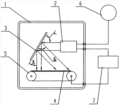
На чертеже показана схема реализации способа.
В вакуумной камере (1), в которой обеспечивается рабочее давление не выше 10-5-10-4 мм рт.ст., размещают источник ионов (2), распыляемую мишень (3), установленную относительно регулируемого сфокусированного ионного пучка под углом , равным 40-80° и выбираемым в зависимости от материала мишени, типа источника ионов и др. технологических параметров, и обрабатываемые материалы (4). Для повышения производительности и равномерности нанесения покрытия изделия из обрабатываемого материала могут быть закреплены на ленте транспортера (5) или на статичной подставке при обработке небольшого изделия (подставка на чертеже не показана). Источник ионов (2) (холловский ускоритель с замкнутым дрейфом электронов или любой другой источник ионного пучка) запитывается согласно стандартной схеме, включающей в себя систему подачи рабочего тела (6) и систему электропитания и управления (7).
Реализация способа осуществляется следующим образом. Источник ионов приводится в действие, в результате чего поверхность мишени начинает бомбардироваться направленным регулируемым сфокусированным пучком ионов, площадь поперечного сечения которого при попадании на мишень не превышает ее размер. При оптимальном угле падения ионов основное количество атомов мишени вылетает в небольшом диапазоне углов по отношению к поверхности мишени (от 1 до 2). При этом расстояние от поверхности обрабатываемого материала до мишени и площадь обрабатываемой поверхности подбирается так, чтобы наиболее эффективно использовать материал мишени, распыляемый регулируемым сфокусированным ионным пучком. Атомы, вылетающие из материала мишени, достигают поверхности обрабатываемого материала и за счет достаточно высокой энергии надежно внедряются в него. Обработка материала производится в течение времени (до нескольких десятков минут), необходимого для получения желаемого эффекта: от легкого изменения цвета до максимально насыщенного. Кроме того, имеется возможность получать цветовые эффекты, зависящие от угла зрения, на обработанную поверхность.
В качестве практического применения способа были произведены исследования на различных видах меха и с различными материалами мишеней (Cu, Au, Ag, Mo, Nb, Ti, SiO2 и др.), а затем и обработка промышленной партии меха. Меховой основой служили норка, черная каракульча и клям (шкурки внутриутробной овцы).
Регулируемый сфокусированный ионный пучок создавался холловским ускорителем с замкнутым дрейфом электронов, работающим на ксеноне с мощностью разряда 200-250 Вт. Энергия ионов составляла примерно 250 эВ, ток разряда – 0,75 А. Расход ксенона составлял около 0,9 мг/с. Угол падения на мишень с учетом расходимости ионного потока составлял 40-80°.
Расположение мишени по отношению к ионному потоку под углом 40-80° обеспечивает максимально полезное использование ионов, генерируемых источником, и наиболее эффективное использование дорогостоящего распыляемого материала.
При углах падения <40° (скользящее падение) происходит интенсивное отражение ионов. При этом ионы уносят значительную долю энергии, что приводит к резкому снижению эффективности распыления. При угле более 80° часть распыляемого материала попадает на источник ионов, тем самым снижая эффективность использования распыляемого материала и работоспособность источника ионов и его ресурс. Кроме того, снижается интенсивность процесса напыления за счет необходимости увеличения расстояния от мишени до обрабатываемой поверхности.
Изменяя расстояние от источника ионов до распыляемой мишени и от нее до обрабатываемой поверхности, можно обрабатывать образцы необходимых размеров. Скорость обработки образца можно сохранить, если пропорционально увеличить поток ионов и площадь распыляемой мишени.
В результате необходимый цвет для всех видов исследуемого меха был достигнут примерно за 40 минут работы при площади обработки поверхности меха за один запуск двигателя около 0,5 м2 и удельном расходе материала мишени примерно 0,3 мг/см2. Таким образом, на одну шубу было использовано около 8 г напыляемого материала при работе холловского ускорителя около 4 часов.
Формула изобретения
1. Способ обработки волосяного покрова меха, включающий ионное воздействие на мишень и напыление частиц материала мишени на волосяной покров меха, отличающийся тем, что ионное воздействие на мишень осуществляют регулируемым сфокусированным ионным пучком, а мишень устанавливают под углом 40-80° к регулируемому сфокусированному ионному пучку.
2. Способ по п.1, отличающийся тем, что регулируемый сфокусированный ионный пучок создают источником ионов.
3. Способ по п.2, отличающийся тем, что в качестве источника ионов используют холловский ускоритель с замкнутым дрейфом электронов.
РИСУНКИ
|
|