|
|
(21), (22) Заявка: 2007126578/15, 12.07.2007
(24) Дата начала отсчета срока действия патента:
12.07.2007
(46) Опубликовано: 10.02.2009
(56) Список документов, цитированных в отчете о поиске:
RU 2128145 C1, 27.03.1999. RU 2143406 C1, 27.12.1999. RU 2140881 C1, 10.11.1999. US 4406768 A, 27.09.1983.
Адрес для переписки:
347740, Ростовская обл., г. Зерноград, ул. Ленина, 21, ФГОУ ВПО АЧГАА
|
(72) Автор(ы):
Симонов Николай Михайлович (RU), Головинов Валентин Васильевич (RU), Бабенко Алексей Александрович (RU), Головинов Иван Валентинович (RU), Бабенко Алексей Алексеевич (RU)
(73) Патентообладатель(и):
Федеральное государственное образовательное учреждение высшего профессионального образования “Азово-Черноморская государственная агроинженерная академия” (ФГОУ ВПО АЧГАА) (RU)
|
(54) СПОСОБ И УСТРОЙСТВО УПРАВЛЕНИЯ ПРОЦЕССОМ ЭЛЕКТРОЛИЗА ВОДНЫХ РАСТВОРОВ
(57) Реферат:
Изобретение относится к электротехнике, в частности к электрохимии, и может быть использовано при получении экологически чистых растворов. В предлагаемом способе управления процессом электролиза водных растворов с помощью ультразвуковых эхо-сигналов постоянно определяют степень осаждения солей кальция и магния на стенках мембраны и при превышении величины эхо-сигнала предельно допустимого значения производят изменение полярности постоянного напряжения, подаваемого на электроды электролизера, после чего осуществляют изменение направлений вытекающих из электролизера потоков анолита и католита. Определение величины ультразвукового эхо-сигнала производят на высоте, равной половине длины рабочей камеры электролизера со стороны отрицательного электрода, до и после изменения полярности постоянного напряжения на электродах. Устройство для реализации способа содержит электродную камеру электролизера, источник постоянного тока с переключателем полярности электродов, систему трубопроводов для подачи и отвода воды, синхрогенератор, возбуждающий генератор, коммутатор управления работой пьезопреобразователей, первый и второй пьезопреобразователи, первый и второй высокочастотные усилители, первый и второй амплитудные детекторы, временной селектор, пороговое устройство и блок управления электромагнитными клапанами. Задачей изобретения является автоматизация процесса управления процессом электролиза водных растворов, повышение производительности и долговечности электролизера. 2 н.п. ф-лы, 4 ил.
Изобретение относится к электротехнике, в частности к электрохимии, и может быть использовано в сельском хозяйстве, медицине, пищевой промышленности и других областях народного хозяйства при получении экологически чистых растворов.
Известен способ получения электролизом воды [1], содержащей растворенный водород, включающий получение неочищенной воды, содержащей по меньшей мере ионы натрия, калия, магния и кальция, получение из этой неочищенной воды очищенной воды путем добавления катализатора для активирования электролиза в очищенной воде, проводят электролиз очищенной воды с получением катодной воды. Затем из полученной катодной воды удаляют хлорноватистую кислоту. Добавленное количество катализатора для активирования электролиза регулируют таким образом, чтобы электропроводность очищенной воды составила не менее 100 мс/см. В полученную катодную воду добавляют буфер для ее нейтрализации. В качестве буфера используют воду, полученную посредством анода.
Недостатком способа является отсутствие автоматического контроля за протеканием процесса электролиза.
Наиболее близким по технической сущности к предлагаемому способу является способ электролиза с управлением процессом электрохимической обработки водных растворов путем регулирования плотности тока в рабочем объеме электродных камер электролизера в зависимости от концентрации веществ в воде и изменения полярности электродов, в котором для дифференцированного параллельного питания электроэнергией при n>2 электрохимических ячеек проточного электролизера величина плотности тока на ячейках или группах ячеек различна и ее устанавливают независимым питанием электрохимических ячеек или групп ячеек через индивидуальные n>2 двухполупериодные выпрямители, включение которых и управление изменением полярности производят в зависимости от условий протекания процесса электролиза раздельно или группами [2].
Недостатком данного способа является сложность процесса настройки порогового значения плотности тока, зависящего от степени минерализации обрабатываемой воды, что требует значительного времени и высококвалифицированного обслуживающего персонала.
Известен электролизер для активации воды, содержащий корпус с установленными в нем электродами, разделенными диафрагмой из токонепроводящего и кислотостойкого материала, выполненной в виде наполненной гранулами разборной кассеты, образованной вертикальными сетками, между электродом и сеткой установлена жесткая решетка, снабженная продольными каналами [3].
Недостатком данного электролизера является то, что при управлении его работой по величине тока необходимо останавливать процесс электролиза, производить механическую разборку и для промывки мембраны использовать кислотные растворы. Это снижает производительность электролизера и повышает эксплуатационные затраты.
Наиболее близкой по технической сущности к предлагаемому изобретению является установка для обработки воды ионами серебра, включающая электролизер с серебряными электродами, питающий электролизер источник постоянного тока с переключателем полярности электродов, датчик объемного расхода воды, соединенный со стабилизированным по выходу источником постоянного тока, систему трубопроводов для подачи и отвода воды, ионометр-корректор, управляемый ион-селективным датчиком ионов серебра, а также блок управления цепью и связанный с ним датчик давления воды в трубопроводе [4].
Недостатком данной установки является то, что надежная и длительная работа электролизера ограничивается отсутствием контроля за состоянием основных элементов конструкции электролизера, что в конечном итоге приводит к снижению эксплуатационных характеристик процесса электролиза.
Задачей настоящего изобретения является автоматизация процесса управления процессом электролиза водных растворов и повышение производительности и долговечности электролизера.
Для решения поставленной задачи в предлагаемом способе управления процессом электролиза водных растворов управление осуществляют изменением полярности электродов, которое производят с помощью ультразвуковых эхо-сигналов, со стороны отрицательного электрода на высоте, равной половине длины рабочей камеры электролизера, определяют толщину осадка солей кальция и магния на стенках мембраны и при превышении величины эхо-сигнала предельно допустимого значения производят изменение полярности электродов электролизера.
Устройство для реализации предлагаемого способа содержит синхрогенератор, возбуждающий генератор, коммутатор управления работой пьезопреобразователей, первый и второй пьезопреобразователи, первый и второй высокочастотные усилители, первый и второй амплитудные детекторы, временной селектор, пороговое устройство, блок управления электромагнитными клапанами, причем первый выход синхрогенератора соединен со входом возбуждающего генератора, а второй – со входом временного селектора, при этом выход возбуждающего генератора подключен к первому входу коммутатора управления работой пьезопреобразователей, второй и третий входы которого соединены соответственно с первым и вторым выходом источника постоянного тока с переключателем полярности электродов, а выходы последнего подключены также к электродам электролизера, кроме того, первый и второй выходы коммутатора соединены и управляют первым и вторым пьезопреобразователями, выходы которых связаны соответственно со входами первого и второго высокочастотных усилителей, чьи выходы подключены соответственно к первым входам первого и второго амплитудных детекторов, а выходы последних соединены соответственно с первым и вторым входами порогового устройства, причем первый выход порогового устройства связан со входом источника постоянного тока с переключателем полярности электродов, а второй его выход подключен ко входу блока управления электромагнитными клапанами, кроме того, первый и второй выходы временного селектора соединены со вторыми входами соответственно первого и второго амплитудного детектора.
Предлагаемый способ осуществляется следующим образом.
При работе двухкамерного диафрагменного электролизера под постоянным напряжением осуществляется разделение воды на католит и анолит. В обрабатываемой воде интенсивно протекают химические процессы, которые при наложении направленного электрического поля приводят к отложению солей кальция и магния на поверхности мембраны со стороны катода. Образовавшийся слой соли препятствует нормальному протеканию процесса электролиза, происходит ускоренный износ мембраны, появляются сквозные отверстия и она теряет свои разделительные функции. Слой образовавшейся соли является акустически более плотным, чем разделительная мембрана, выполненная, например, из бельтинговой ткани. Это обстоятельство и используется для обнаружения слоя соли на поверхности мембраны со стороны катода путем применения ультразвуковой эхо-локации. С этой целью на внешней поверхности электродов располагают ультразвуковые пьезопреобразователи. Ультразвуковая эхо-локация производится только одним из двух имеющихся пьезопреобразователей – тем, который располагается на катоде, при этом определяется амплитуда отраженного от мембраны эхо-сигнала. В случае незначительного отложения и уплотнения солей на поверхности мембраны амплитудная величина этого сигнала будет также иметь невысокое значение, т.к. часть энергии ультразвуковой волны пройдет через мембрану в анодную камеру.
По мере протекания химических процессов в обрабатываемой воде соли кальция и магния, содержащиеся и не растворимые в ней, частично осаждаются и уплотняются на поверхности мембраны со стороны катода, что определяется посредством ультразвуковой локации по значительно возросшей амплитуде эхо-сигнала. И в этом случае происходит переключение полярности электродов с целью изменения направления протекания электрохимического процесса в электролизере и создания в уже анодном пространстве кислотной среды, размывающей отложения солей на стенке мембраны.
Одновременно с изменением полярности электродов осуществляется переключение возбуждения на другой пьезопреобразователь для проведения ультразвуковой эхо-локации с целью определения появления слоя солей кальция и магния на уже другой стороне мембраны.
Также одновременно со сменой полярности электродов происходит изменение направления выходящих потоков анолита и католита из электролизера.
Предлагаемое устройство поясняется чертежами.
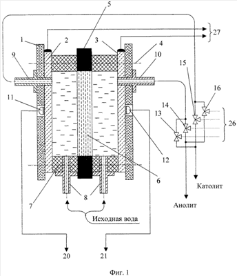
На фиг.1 представлен в поперечном разрезе двухкамерный электролизер, на фиг.2 – функциональная схема устройства; на фиг.3 – временная диаграмма сигнала пьезопреобразователя до образования на поверхности мембраны слоя солей кальция и магния; на фиг.4 – временная диаграмма сигнала пьезопреобразователя при образовании на поверхности мембраны слоя солей кальция и магния.
Для реализации предлагаемого способа используется двухкамерный электролизер (фиг.1), который содержит корпус 1 из токонепроводящего материала, в котором размещены электроды 2 и 3, выполненные, например, в виде пластин прямоугольной формы и прижатые к диафрагме стяжными шпильками 4. Конструктивно диафрагма представляет собой кассету, состоящую из каркаса 5, к которому прикреплена мембрана 6, например, из бельтинговой ткани. Между корпусом и мембраной установлена уплотнительная прокладка 7, через которую проходят патрубки 8 подачи воды. Корпус 1 снабжен также патрубками 9 и 10 для отвода воды. На внешней стенке в центре электродов 2 и 3 установлены пьезопреобразователи 11 и 12. Патрубок 10 связан гидравлически с входами электромагнитных клапанов 13 и 14, а патрубок 9 – соответственно с электромагнитными клапанами 15 и 16.
Функциональная схема устройства включает синхрогенератор 17, имеющий два выхода, первый из них соединяется со входом возбуждающего генератора 18, а второй – со входом временного селектора 19. Выход генератора 18 подключен к первому входу коммутатора 20 управления работой пьезопреобразователей. Первый и второй выходы коммутатора 20 соединяются соответственно с первым пьезопреобразователем 11 и вторым пьезопреобразователем 12, выходы которых подключаются также соответственно к входам первого 21 и второго 22 высокочастотных усилителей. Выходы высокочастотных усилителей 21 и 22 подключены соответственно к первым входам соответственно первого 23 и второго 24 амплитудных детекторов, а выходы последних – к первому и второму входу порогового устройства 25. Первый выход селектора 19 соединен со вторым входом амплитудного детектора 23, а второй выход – со вторым входом амплитудного детектора 24. Кроме того, первый выход порогового устройства 25 подключен ко входу источника постоянного тока 26 с переключателем полярности, а второй выход порогового устройства 25 подключен ко входу блока управления 27 электромагнитными клапанами 13, 14, 15 и 16. Первый выход источника постоянного тока 26 соединен с электродом 2 электролизера и со вторым входом коммутатора 20, а второй выход подключен к электроду 3 и к третьему входу коммутатора 20.
Предлагаемое устройство управления процессом электролиза водных растворов работает следующим образом.
В зависимости от полярности поданного напряжения на электроды от источника 26 коммутатором 20 подается возбуждение только на тот пьезопреобразователь, который расположен на отрицательном электроде (катоде). Например, отрицательное напряжение подано на электрод 2, а положительное – на электрод 3, т.е. электрод 2 является катодом, а электрод 3 – анодом. При этом из патрубка 9 будет вытекать католит, а из патрубка 10 – анолит. Вода через патрубки 8 подается в пространство между электродами 2 и 3. При наложении направленного электрического поля происходит разделение воды на католит и анолит. По ходу протекания химических процессов в обрабатываемой воде соли, содержащиеся и не растворимые в ней, частично осаждаются и уплотняются на поверхности мембраны 6 со стороны катода, в данном случае – электрода 2, что затрудняет протекание электролиза, снижая производительность аппарата и со временем надежность его работы.
Синхрогенератор 17 вырабатывает синхроимпульсы, которыми запускается возбуждающий генератор 18, и на его выходе формируются пачки высокочастотных импульсов с крутым передним фронтом, которые коммутатором 20 направляются на пьезопреобразователь 11, находящийся на внешней поверхности электрода 2. Пьезопреобразователь 11 излучает ультразвуковые импульсы через электрод 2 и катодное пространство в направлении мембраны 6. Если на поверхности мембраны 6 нет осажденных и уплотненных частиц солей, то ультразвуковой импульс в основном будет поглощен мембраной 6, а незначительная часть, в результате отражения, через определенное время вернется на пьезопреобразователь 11 и преобразуется в электрический сигнал, который поступает на первый высокочастотный усилитель 21, где эхо-сигнал усиливается. Временной селектор 19 включает первый амплитудный детектор 23 на время поступления отраженного сигнала от ближайшей к пьезопреобразователю 11 боковой поверхности мембраны 6. Электрический сигнал с выхода первого амплитудного детектора 23 подается на первый вход порогового устройства 25, где происходит сравнение амплитуды полученного эхо-сигнала с предельно допустимым значением. Если на поверхности мембраны 6 отложилось незначительное количество солей, то амплитуда эхо-сигнала будет недостаточной для срабатывания порогового устройства 25 и процесс электролиза при существующей полярности электродов 2 и 3 будет продолжаться. Если же на поверхности мембраны 6 произошло осаждение и уплотнение значительного количества солей, то отраженный эхо-сигнал будет иметь уже большее значение и его амплитуда на выходе амплитудного детектора 23 окажется достаточной для срабатывания порогового устройства 25. При этом с его первого выхода сигнал поступит на источник постоянного тока 26 с переключателем полярности электродов, который переключит на своем выходе полярность и электрод 2 станет – анодом, а электрод 3 – катодом. И теперь уже из патрубка 9 будет вытекать анолит, а из патрубка 10 – католит.
Кроме того, с выхода источника постоянного тока 26 подается сигнал на управление коммутатором 20, который переключает возбуждение от генератора 18 с пьезопреобразователя 11 на пьезопреобразователь 12. От второго выхода порогового устройства 25 передается сигнал на блок управления электромагнитными клапанами 27, который закрывает электромагнитные клапаны 14, 15 и далее открывает электромагнитные клапаны 13 и 16, сохраняя при этом общее направление вытекающих потоков католита и анолита. Имеющиеся на стенках мембраны 6 отложения солей со стороны электрода 2 начнут размываться и растворяться уже в кислой среде катодного пространства после переключения полярности электродов.
Пьезопреобразователь 12 излучает ультразвуковые импульсы через электрод 3 в направлении мембраны 6 и в случае образования на ее поверхности твердых отложений солей кальция и магния появится отраженный эхо-сигнал, который будет усилен вторым высокочастотным усилителем 22 и выделен с помощью временного селектора 19 на выходе второго амплитудного детектора 24. Если амплитуда эхо-сигнала окажется больше предельно допустимого значения, то пороговое устройство 25 выдаст на своих выходах сигналы на изменение порядка включения электромагнитных клапанов блоком 27 и на переключение полярности источником 26.
В качестве примера на фиг.3 представлена временная диаграмма импульсов ультразвуковых сигналов, поступающих на вход амплитудных детекторов от работающего пьезопреобразователя при отсутствии образовавшегося слоя солей кальция и магния на поверхности мембраны со стороны катода, где кривая 1 является излучающим от пьезопребразователя сигналом, а кривая 2 – импульсом эхо-сигнала от поверхности раздела сред электрод катода – катодное пространство электролизера, далее: 3 – импульс эхо-сигнала от поверхности раздела сред катодное пространство – мембрана, который имеет амплитуду A1, 4 – импульс эхо-сигнала от поверхности раздела сред мембрана – анодное пространство, 5 – импульс эхо-сигнала от поверхности раздела сред анодное пространство – электрод анода. По оси абсцисс отложено время распространения ультразвукового сигнала, при этом интервал времени t1 соответствует приходу на пьезопреобразователь эхо-сигнала 2, t2 соответствует времени прихода сигнала 3, амплитуда которого контролируется пороговым устройством 25 (фиг.2), t3 соответствует времени прихода эхо-сигнала 4, t4 соответствует времени прихода эхо-сигнала 5, t5 соответствует времени посылки следующего возбуждающего импульса на пьезопреобразователь, a 1/t5 является частотой работы синхрогенератора 17 (фиг.2).
Временной селектор 19 (фиг.2), в зависимости от работающего пьезопреобразователя 11 или 12, включает соответственно амплитудный детектор 23 или 24 через t2 на промежуток времени t, в течение которого имеет место импульс эхо-сигнала от поверхности мембраны, где образуется слой нерастворенных солей кальция и магния.
На фиг.4 в качестве примера представлена временная диаграмма импульсов ультразвуковых сигналов в случае появления на поверхности мембраны со стороны катода слоя нерастворенных солей кальция и магния. Амплитуда импульса А2 эхо-сигнала 6 от этого слоя будет больше, чем амплитуда A1 сигнала 3, т.к. появляется акустически более плотная среда и увеличивается коэффициент отражения ультразвуковой волны.
Таким образом, после переключений полярности электродов производится очистка стенок мембраны от отложений солей за счет растворения их кислой водной средой в анодном пространстве электролизера, при этом блок управляемых электромагнитных клапанов сохраняет общую направленность вытекающих анолита и католита. А пьезопреобразователи контролируют амплитуду ультразвукового эхо-сигнала, отраженного от мембраны, по величине которого и определяется степень отложения солей.
Применение данного способа управления процессом электролиза водных растворов с использованием устройства для его осуществления позволит значительно повысить долговечность мембраны и снизить энергоемкость. Это объясняется тем, что после изменения полярности электродов растворяются отложения солей на стенке мембраны и они выводятся с анолитом. Кроме того, повышается производительность электролизера, так как отпадает необходимость в разборке электролизера и промывке его мембраны специальными химическими растворами.
Источники информации
1. Патент Российской Федерации №2140881, кл. C02F 1/461, 9/00, С25С 7/00, С25В 9/00, 1999 г.
2. Патент Российской Федерации №2128145, кл. С02F 1/46, С25В 9/00, 1999 г.
3. Патент Российской Федерации №1819862, кл. С02F 1/46, 1990 г.
4. Патент Российской Федерации №2143406, кл. С02F 1/46, 1998 г.
Формула изобретения
1. Способ управления процессом электролиза водных растворов, включающий изменение полярности электродов в двухкамерном диафрагменном электролизере в зависимости от условий протекания процесса электролиза, отличающийся тем, что изменение полярности электродов производят с помощью ультразвуковых эхосигналов, со стороны отрицательного электрода на высоте, равной половине длины рабочей камеры электролизера, определяют толщину осадка солей кальция и магния на стенках мембраны и при превышении величины эхо-сигнала предельно допустимого значения производят изменение полярности электродов электролизера.
2. Устройство управления процессом электролиза водных растворов, содержащее электродную камеру электролизера, источник постоянного тока с переключателем полярности электродов, систему трубопроводов для подачи и отвода воды, отличающееся тем, что оно дополнительно содержит синхрогенератор, возбуждающий генератор, коммутатор управления работой пьезопреобразователей, первый и второй пьезопреобразователи, первый и второй высокочастотные усилители, первый и второй амплитудные детекторы, временной селектор, пороговое устройство, блок управления электромагнитными клапанами, причем первый выход синхрогенератора соединен со входом возбуждающего генератора, а второй – со входом временного селектора, при этом выход возбуждающего генератора подключен к первому входу коммутатора управления работой пьезопреобразователей, второй и третий входы которого соединены, соответственно, с первым и вторым выходом источника постоянного тока с переключателем полярности электродов, а выходы последнего подключены также к электродам электролизера, кроме того первый и второй выходы коммутатора соединены и управляют первым и вторым пьезопреобразователями, выходы которых связаны, соответственно, со входами первого и второго высокочастотных усилителей, чьи выходы подключены, соответственно, к первым входам первого и второго амплитудных детекторов, а выходы последних соединены соответственно с первым и вторым входами порогового устройства, причем первый выход порогового устройства связан со входом источника постоянного тока с переключателем полярности электродов, а второй его выход подключен ко входу блока управления электромагнитными клапанами, кроме того, первый и второй выходы временного селектора соединены со вторыми входами, соответственно, первого и второго амплитудного детектора.
РИСУНКИ
|
|