|
|
(21), (22) Заявка: 2007103782/12, 31.01.2007
(24) Дата начала отсчета срока действия патента:
31.01.2007
(43) Дата публикации заявки: 10.08.2008
(46) Опубликовано: 10.02.2009
(56) Список документов, цитированных в отчете о поиске:
US 3409123 А, 05.11.1968. US 4206845 А, 10.06.1980. US 3815736 А, 11.06.1974. RU 2268851 C1, 27.01.2006.
Адрес для переписки:
614034, г.Пермь, ул. Панфилова, 10, кв.90, пат. пов. С.С. Рочеву рег. №129
|
(72) Автор(ы):
Томасов Сергей Михайлович (RU)
(73) Патентообладатель(и):
Общество с ограниченной ответственностью “Основание-2” (RU)
|
(54) ЕМКОСТЬ ДЛЯ ПИЩЕВЫХ ПРОДУКТОВ
(57) Реферат:
Изобретения относятся к хранению и транспортированию штабелированием кондитерских изделий, чувствительных к повреждению от толчков или сжатия. Емкость выполнена из термопластичного материала и включает плоскую донную часть и объемную крышку, имеющую верхнюю плоскость. На плоскости выполнен протяженный по периметру кольцевой радиальный выступ, который выполнен объемным и ориентирован в сторону, противоположную геометрическому центру указанной плоскости. На нижней плоскости донной части выполнен как минимум один кольцевой опорный выступ с нижней плоскостью, параллельной плоскости донной части. По внутреннему контуру кольцевого опорного выступа донной части выполнена протяженная по периметру этого контура кольцевая радиальная выемка, которая выполнена объемной и ориентирована в сторону, противоположную геометрическому центру донной части. Радиальная выемка донной части повторяет радиальный выступ крышки для возможности закрепления донной части вышерасположенной емкости на крышке нижерасположенной емкости путем расположения радиального выступа крышки в радиальной выемке донной части с натягом. Натяг обеспечивается тем, что расстояние между диаметрально противоположными точками радиального выступа больше расстояния между диаметрально противоположными точками радиальной выемки. Эта разность создает при вхождении радиального выступа емкости в радиальную выемку другой емкости напряжение по контуру контакта поверхностей выступа и выемки, то есть соответствующее напряженное штабельное кольцо, обеспечивающее прочное соединение емкостей в штабеле, что повышает угол устойчивости штабеля. 2 н.п. ф-лы, 4 ил.
Область техники, к которой относится изобретение
Изобретение относится к таре с приспособлениями для штабелирования тары одна на другую, предназначенной для хранения и транспортирования бисквитов и других кондитерских изделий, особо чувствительных к повреждению от толчков или сжатия.
Уровень техники
Известна емкость для пищевых продуктов, включающая плоскую донную часть и крышку, выполненные с возможностью закрепления крышки на донной части посредством замкового соединения, при этом верхняя наружная поверхность крышки имеет кольцевые выступы и впадины, а нижняя наружная поверхность донной части имеет кольцевые впадины и выступы, соответствующие упомянутым выступам и впадинам крышки для возможности укладки емкостей в штабель, когда выступы (впадины) нижерасположенной емкости штабеля входят в соответствующие впадины (выступы) вышерасположенной емкости штабеля. Конкретно, указанные выступы и впадины представляют собой множество, которое включает кольцевую плоскую внешнюю зону, являющуюся коаксиальной и лежащую в плоскости, перпендикулярной оси емкости. Кроме того, по центру верхней наружной поверхности крышки расположена плоская выступающая часть, основа которой окружена узкой кольцевой вогнутой зоной, расположенной в плоскости упомянутой плоской внешней зоны. Между выступающими и вогнутыми кольцевыми зонами находится наклонное кольцевое коническое сечение с вершиной крыши на оси емкости (и в ее пределах) и соединяющееся с его внутренними и внешними гранями по направлению к вогнутой зоне и плоской внешней зоне соответственно, искривляясь округленно по оси и образуя ребра приблизительно того же самого размера. Первое ребро является вогнутым внешне, а другое ребро является вогнутым изнутри по отношению к емкости. (Патент США №3303964 от 14 февраля 1967 г., Н.кл. 220-97.)
Признаки известного устройства, совпадающие с признаками заявленного изобретения, заключаются в наличии донной части и крышки, выполненных с возможностью закрепления крышки на донной части посредством замкового соединения, при этом верхняя наружная поверхность крышки имеет выступ, а нижняя наружная поверхность донной части имеет впадину, соответствующую упомянутому выступу для возможности укладки емкостей в штабель, когда выступ нижерасположенной емкости штабеля входит в соответствующую впадину вышерасположенной емкости штабеля.
Причина, препятствующая получению технического результата, который обеспечивается изобретением, заключается в отсутствии фиксации емкостей в штабеле относительно вертикальных перемещений.
Наиболее близким техническим решением (прототипом) является емкость для пищевых продуктов, включающая донную часть и крышку, выполненные с возможностью закрепления крышки на донной части посредством замкового соединения, при этом верхняя наружная поверхность крышки имеет выступ, а нижняя наружная поверхность донной части имеет впадину, соответствующую упомянутому выступу для возможности укладки емкостей в штабель, когда выступ нижерасположенной емкости штабеля входит в соответствующую впадину вышерасположенной емкости штабеля, при этом упомянутый выступ и соответствующая ему впадина выполнены в плане либо с дополнительными боковыми выступами, либо в виде разорванного кольца, либо в виде квадрата. (Патент на полезную модель RU №55749, кл. B65D 85/36, дата публикации 2006.08.27.)
Признаки известного устройства, совпадающие с признаками заявленного изобретения, заключаются в наличии донной части и крышки, выполненных с возможностью закрепления крышки на донной части посредством замкового соединения, при этом верхняя наружная поверхность крышки имеет выступ, а нижняя наружная поверхность донной части имеет впадину, соответствующую упомянутому выступу для возможности укладки емкостей в штабель,
Причина, препятствующая получению технического результата, который обеспечивается изобретением, заключается в отсутствии фиксации емкостей в штабеле относительно вертикальных перемещений.
Раскрытие изобретения
Задача, на решение которой направлено изобретение, заключается в повышении угла устойчивости штабеля, т.е. угла наклона штабеля относительно вертикали, при котором происходит разрушение штабеля.
Технический результат, опосредствующий решение указанной задачи, заключается в фиксации емкостей в штабеле относительно вертикальных перемещений и в повышении степени фиксации крышки емкости относительно ее донной части в вертикальном направлении.
Достигается технический результат тем, что емкость для пищевых продуктов выполнена из термопластичного материала и включает плоскую донную часть и объемную крышку, имеющую верхнюю плоскость, которые выполнены с возможностью закрепления крышки на донной части посредством замкового соединения, при этом на верхней плоскости крышки выполнен либо протяженный по периметру этой плоскости кольцевой радиальный выступ крышки, который ориентирован в сторону, противоположную геометрическому центру верхней плоскости крышки, и который выполнен объемно-непрерывным по контуру верхней плоскости крышки или объемно-фрагментарным по этому контуру с количеством фрагментов не менее двух, расположенных диаметрально противоположно, либо как минимум один осевой выступ крышки с верхней плоскостью, параллельной верхней плоскости крышки, при этом по контуру указанного осевого выступа крышки выполнен протяженный по этому контуру кольцевой радиальный выступ крышки, который ориентирован в сторону, противоположную геометрическому центру осевого выступа, и который выполнен объемно-непрерывным по контуру осевого выступа крышки или объемно-фрагментарным по этому контуру с количеством фрагментов не менее двух, расположенных диаметрально противоположно, а на нижней плоскости донной части выполнен как минимум один кольцевой опорный выступ донной части с нижней плоскостью, параллельной плоскости донной части, и в виде непрерывного или фрагментарного кольца с количеством фрагментов не менее двух, расположенных диаметрально противоположно, при этом по внутреннему контуру кольцевого опорного выступа донной части выполнена протяженная по периметру этого контура кольцевая радиальная выемка донной части, которая ориентирована в сторону, противоположную геометрическому центру донной части, и которая выполнена объемно-непрерывной по внутреннему контуру кольцевого опорного выступа донной части или объемно-фрагментарной по этому контуру с количеством фрагментов не менее двух, расположенных диаметрально противоположно, так что упомянутая радиальная выемка донной части повторяет упомянутый радиальный выступ крышки для возможности закрепления донной части вышерасположенной в штабеле емкости на крышке нижерасположенной в штабеле емкости путем расположения радиального выступа крышки в радиальной выемке донной части с натягом, определяемым тем, что расстояние между диаметрально противоположными точками радиального выступа крышки больше расстояния между диаметрально противоположными точками радиальной выемки донной части на величину D, находящуюся в пределах 0,1h D 3h, где h – толщина термопластичного материала, из которого изготовлена емкость.
Достигается технический результат также тем, что замковое соединение выполнено контурным и образовано протяженным по периметру донной части кольцевым радиальным выступом, выполненным объемно-непрерывным по контуру замка или объемно-фрагментарным по этому контуру с количеством фрагментов не менее двух, расположенных диаметрально противоположно, с радиальной ориентацией этого выступа в сторону, противоположную геометрическому центру донной части, и протяженной по периметру крышки кольцевой радиальной выемкой, выполненной объемно-непрерывной по контуру замка или объемно-фрагментарной по этому контуру с количеством фрагментов не менее двух, расположенных диаметрально противоположно, и повторяющей упомянутый выступ для возможности закрепления крышки на донной части путем расположения выступа в выемке с натягом, определяемым тем, что расстояние между диаметрально противоположными точками выступа в его свободном состоянии больше расстояния между диаметрально противоположными точками выемки в ее свободном состоянии на величину Е, находящуюся в пределах 0,1h Е 3h, где h – толщина термопластичного материала, из которого изготовлена емкость.
Достигается технический результат также тем, что крышка соединена с донной частью шарнирно для возможности поворота крышки относительно донной части, а замковое соединение выполнено кнопочным.
Перечень фигур чертежей
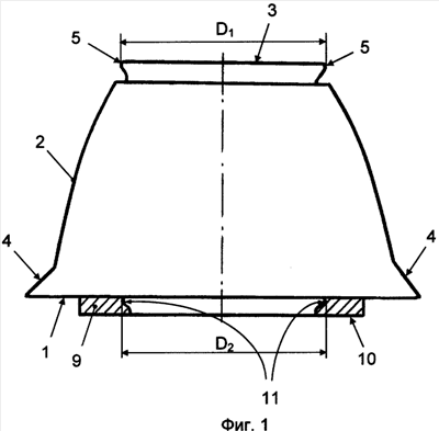
На фиг.1 и 2 схематично показаны емкости с разными вариантами выполнения кольцевого радиального выступа на верхней плоскости крышки; на фиг.3 схематично показан фрагмент контурного замкового соединения крышки емкости с ее донной часть; на фиг 4 схематично показано шарнирно-кнопочное соединение крышки с донной частью.
Сведения, подтверждающие возможность осуществления изобретения
Емкость для пищевых продуктов выполнена из термопластичного материала и включает плоскую донную часть 1 и объемную крышку 2, имеющую верхнюю плоскость 3. Крышка и донная часть соединены между собой посредством замкового соединения 4.
Верхняя плоскость 3 крышки 2 имеет два варианта выполнения.
В первом варианте выполнения плоскости 3 (фиг.1) на указанной плоскости 3 выполнен протяженный по периметру этой плоскости кольцевой радиальный выступ 5 крышки, который выполнен объемным и ориентирован в сторону, противоположную геометрическому центру указанной плоскости 3. При этом выступ 5 в отношении контура верхней плоскости 3 крышки имеет два варианта выполнения: объемно-непрерывный и объемно-фрагментарный (варианты не показаны). В случае выполнения выступа 5 объемно-фрагментарным количество фрагментов должно быть как минимум два и они должны быть расположены диаметрально противоположно по указанному контуру. Количество фрагментов может быть больше двух; в этом случае они не могут быть расположены диаметрально противоположно, но желательно равномерное их расположение по контуру плоскости 3.
Во втором варианте выполнения плоскости 3 (фиг.2) на этой плоскости выполнен как минимум один круговой (или не круговой, контур которого в плане представляет собой замкнутую линию произвольной формы) осевой выступ 6 крышки 2 с верхней плоскостью 7, параллельной верхней плоскости 3 крышки 2. По контуру указанного выступа 6 выполнен объемный и протяженный по этому контуру кольцевой радиальный выступ 8 крышки, который ориентирован в сторону, противоположную геометрическому центру выступа 6. При этом выступ 8 в отношении контура выступа 6 имеет два варианта выполнения: объемно-непрерывный и объемно-фрагментарный (варианты не показаны). В случае выполнения выступа 8 объемно-фрагментарным количество фрагментов должно быть как минимум два и они должны быть расположены диаметрально противоположно по указанному контуру. Количество фрагментов может быть больше двух; в этом случае они не могут быть расположены диаметрально противоположно, но желательно равномерное их расположение по контуру выступа 6.
В обоих вариантах (фиг.1 и 2) на нижней плоскости донной части 1 выполнен как минимум один кольцевой опорный выступ 9 донной части с нижней плоскостью 10, параллельной плоскости донной части 1. Выступ 9 выполнен либо в виде непрерывного кольца, либо в виде фрагментарного кольца (не показано). В последнем случае количество фрагментов должно быть как минимум два и они должны быть расположены диаметрально противоположно относительно оси емкости. Количество фрагментов может быть больше двух; в этом случае они не могут быть расположены диаметрально противоположно, но желательно равномерное их расположение по контуру выступа 9. Кроме того, по внутреннему контуру кольцевого опорного выступа 9 донной части выполнена протяженная по периметру этого контура кольцевая радиальная выемка 11 донной части, которая выполнена объемной и ориентирована в сторону, противоположную геометрическому центру донной части 1. При этом выемка 11 в отношении контура выступа 9 имеет два варианта выполнения: объемно-непрерывный и объемно-фрагментарный (варианты не показаны). В случае выполнения выемки 11 объемно-фрагментарной количество фрагментов должно быть как минимум два и они должны быть расположены диаметрально противоположно по указанному контуру. Количество фрагментов может быть больше двух; в этом случае они не могут быть расположены диаметрально противоположно, но желательно равномерное их расположение по контуру выступа 9. При этом радиальная выемка 11 донной части 1 повторяет радиальный выступ 5 (фиг.1) или 8 (фиг.2) крышки 2 для возможности закрепления донной части вышерасположенной в штабеле емкости на крышке нижерасположенной в штабеле емкости путем расположения радиального выступа 5 (фиг.1) или 8 (фиг.2) крышки 2 нижерасположенной в штабеле емкости в радиальной выемке 11 донной части 1 вышерасположенной в штабеле емкости с натягом, который обеспечивается тем, что расстояние D1 между диаметрально противоположными точками радиального выступа (фиг.1) или 8 (фиг.2) больше расстояния D2 между диаметрально противоположными точками радиальной выемки 11 на величину D=D1-D2, находящуюся в пределах 0,1h D 3h, где h – толщина термопластичного материала, из которого изготовлена емкость. Указанная разность D, пределы которой установлены опытным путем, создает при вхождении радиального выступа 5 (фиг.1) или 8 (фиг.2) нижерасположенной в штабеле емкости в радиальную выемку 11 нижерасположенной в штабеле емкости необходимое механическое напряжение по контуру контакта поверхностей указанных выступа и выемки, что в свою очередь создает по этому контуру соответствующее напряженное штабельное кольцо, обеспечивающее прочное соединение емкостей в штабеле. В результате такого соединения имеет место фиксация емкостей в штабеле друг относительно друга не только в отношении горизонтальных перемещений и поворота вокруг оси, но также (что особенно важно) и в отношении вертикальных перемещений емкостей друг относительно друга. При этом минимальная величина 0,1h указанного предела обеспечивает минимально необходимую силу указанной фиксации, при которой штабель, составленный из пяти пустых емкостей, может быть наклонен на 45° без разрушения штабеля. Что касается максимальной величины 3h, то она обусловлена приемлемой для человека силой разъединения штабеля.
Замковое соединение 4 имеет два варианта выполнения – контурное (фиг.3) или кнопочное (фиг.4).
В варианте контурного выполнения замкового соединения (фиг.3) данное соединение 4 образовано, с одной стороны, протяженным по периметру донной части 1 кольцевым радиальным выступом 12, выполненным объемно-непрерывным по контуру замка или объемно-фрагментарным по этому контуру с количеством фрагментов не менее двух, расположенных диаметрально противоположно (фрагменты не показаны). При этом выступ 12 выполнен с радиальной ориентацией в сторону, противоположную геометрическому центру донной части 1. На фиг.3 показано два состояния выступа 12: сплошной линией показано вынужденное (напряженно-деформированное) состояние, когда выступ 12 входит в соответствующую выемку крышки 2; прерывистой линией показано свободное состояние выступа 12, когда он не входит в соответствующую выемку крышки 2.
Замковое соединение 4, с другой стороны, образовано протяженной по периметру крышки 2 кольцевой радиальной выемкой 13, выполненной объемно-непрерывной по контуру замка или объемно-фрагментарной по этому контуру с количеством фрагментов не менее двух, расположенных диаметрально противоположно (фрагменты не показаны). При этом выемка 13 выполнена повторяющей упомянутый выступ 12 для возможности закрепления крышки 2 на донной части 1 путем расположения выступа 12 в выемке 13 с натягом. Данный натяг определяется тем, что расстояние между диаметрально противоположными точками выступа 12 в его свободном состоянии больше расстояния между диаметрально противоположными точками выемки 13 в ее свободном состоянии на величину Е, находящуюся в пределах 0,1h Е 3h, где h – толщина термопластичного материала, из которого изготовлена емкость.
Указанная разность Е, пределы которой установлены опытным путем, создает при вхождении кольцевого радиального выступа 12 донной части 1 в кольцевую радиальную выемку 13 крышки 2 необходимое механическое напряжение по контуру контакта поверхностей указанных выступа и выемки, что в свою очередь создает по этому контуру соответствующее напряженное замковое кольцо, обеспечивающее прочное соединение крышки 2 с донной частью 1 емкости. В результате такого соединения имеет место фиксация крышки 2 и донной части 1 друг относительно друга не только в отношении горизонтальных перемещений и поворота вокруг оси, но также (что особенно важно) и в отношении вертикальных перемещений крышки и донной части друг относительно друга. При этом минимальная величина 0,1h указанного предела обеспечивает минимально необходимую силу указанной фиксации, при которой штабель, составленный из пяти пустых емкостей, может быть наклонен на 45° без разрушения штабеля. Что касается максимальной величины 3h, то она обусловлена приемлемой для человека силой разъединения замкового соединения 4.
В варианте кнопочного выполнения замкового соединения (фиг.4) крышка 2 соединена с донной частью 1 шарнирно (посредством шарнира 14) для возможности поворота крышки относительно донной части. При этом в закрытом состоянии замковое соединение 4 выполнено кнопочным.
Использование емкости заключается в следующем.
Торт (не показан) укладывают на донную часть 1 емкости и закрывают крышкой 2, которую соединяют с донной частью посредством замкового соединения. В варианте контурного выполнения замкового соединения для этого производят некоторое силовое воздействие на крышку сверху вниз до вхождения выступа 12 донной части 1 в выемку 13 крышки 2. Такое вхождение отмечается характерным щелчком, при этом выступ 12 (равно и выемка 13) соответствующим образом деформируются по причине упомянутой разности Е их диаметральных размеров. Вследствие этого образуется напряженно-деформированное замковое кольцо, которое благодаря именно этому напряженно-деформированному состоянию обеспечивает замковое соединение крышки с донной частью необходимой надежности. В варианте кнопочного выполнения замкового соединения сначала производят поворот крышки до контакта противоположных частей кнопок, а потом осуществляют соответствующее силовое воздействие на кнопки до их защелкивания. Затем емкости укладывают в штабель друг на друга, так что выступ 5 или 8 нижней емкости входит в соответствующую выемку 11 вышерасположенной емкости, что обеспечивает фиксирование штабеля. Для этого вышерасположенную емкость устанавливают сверху на нижерасположенную емкость и осуществляют некоторое силовое воздействие на вышерасположенную емкость в направлении сверху вниз до вхождения выступа 5 или 8 в соответствующую выемку 11. Такое вхождение отмечается характерным щелчком, при этом выступ 5 или 8 (равно и выемка 11) соответствующим образом деформируются по причине упомянутой разности D их диаметральных размеров. Вследствие этого образуется напряженно-деформированное штабельное кольцо, которое благодаря именно этому напряженно-деформированному состоянию обеспечивает штабельно-замковое соединение донной части вышерасположенной емкости с крышкой нижерасположенной в штабеле емкости.
При возникновении случайного толчка или случайном наклоне штабеля верхняя емкость штабеля не может «подпрыгнуть» относительно нижней благодаря напряженной фиксации крышки каждой емкости относительно ее донной части, а также емкостей штабеля друг относительно друга в вертикальном направлении.
Формула изобретения
1. Емкость для пищевых продуктов, выполненная из термопластичного материала и включающая плоскую донную часть и объемную крышку, имеющую верхнюю плоскость, которые выполнены с возможностью закрепления крышки на донной части посредством замкового соединения, отличающаяся тем, что на верхней плоскости крышки выполнен протяженный по периметру этой плоскости кольцевой радиальный выступ крышки, который ориентирован в сторону, противоположную геометрическому центру верхней плоскости крышки, и который выполнен объемно-непрерывным по контуру верхней плоскости крышки или объемно-фрагментарным по этому контуру с количеством фрагментов не менее двух, расположенных диаметрально противоположно, а на нижней плоскости донной части выполнен как минимум один кольцевой опорный выступ донной части с нижней плоскостью, параллельной плоскости донной части, и в виде непрерывного или фрагментарного кольца с количеством фрагментов не менее двух, расположенных диаметрально противоположно, при этом по внутреннему контуру кольцевого опорного выступа донной части выполнена протяженная по периметру этого контура кольцевая радиальная выемка донной части, которая ориентирована в сторону, противоположную геометрическому центру донной части, и которая выполнена объемно-непрерывной по внутреннему контуру кольцевого опорного выступа донной части или объемно-фрагментарной по этому контуру с количеством фрагментов не менее двух, расположенных диаметрально противоположно, так что упомянутая радиальная выемка донной части повторяет упомянутый радиальный выступ крышки для возможности закрепления донной части вышерасположенной в штабеле емкости на крышке нижерасположенной в штабеле емкости путем расположения радиального выступа крышки в радиальной выемке донной части с натягом, определяемым тем, что расстояние между диаметрально противоположными точками радиального выступа крышки больше расстояния между диаметрально противоположными точками радиальной выемки донной части на величину D, находящуюся в пределах 0,1h D 3h, где h – толщина термопластичного материала, из которого изготовлена емкость.
2. Емкость для пищевых продуктов, выполненная из термопластичного материала и включающая плоскую донную часть и объемную крышку, имеющую верхнюю плоскость, которые выполнены с возможностью закрепления крышки на донной части посредством замкового соединения, отличающаяся тем, что на верхней плоскости крышки как минимум один осевой выступ крышки с верхней плоскостью, параллельной верхней плоскости крышки, при этом по контуру указанного осевого выступа крышки выполнен протяженный по этому контуру кольцевой радиальный выступ крышки, который ориентирован в сторону, противоположную геометрическому центру осевого выступа, и который выполнен объемно-непрерывным по контуру осевого выступа крышки или объемно-фрагментарным по этому контуру с количеством фрагментов не менее двух, расположенных диаметрально противоположно, а на нижней плоскости донной части выполнен как минимум один кольцевой опорный выступ донной части с нижней плоскостью, параллельной плоскости донной части, и в виде непрерывного или фрагментарного кольца с количеством фрагментов не менее двух, расположенных диаметрально противоположно, при этом по внутреннему контуру кольцевого опорного выступа донной части выполнена протяженная по периметру этого контура кольцевая радиальная выемка донной части, которая ориентирована в сторону, противоположную геометрическому центру донной части, и которая выполнена объемно-непрерывной по внутреннему контуру кольцевого опорного выступа донной части или объемно-фрагментарной по этому контуру с количеством фрагментов не менее двух, расположенных диаметрально противоположно, так что упомянутая радиальная выемка донной части повторяет упомянутый радиальный выступ крышки для возможности закрепления донной части вышерасположенной в штабеле емкости на крышке нижерасположенной в штабеле емкости путем расположения радиального выступа крышки в радиальной выемке донной части с натягом, определяемым тем, что расстояние между диаметрально противоположными точками радиального выступа крышки больше расстояния между диаметрально противоположными точками радиальной выемки донной части на величину D, находящуюся в пределах 0,1h D 3h, где h – толщина термопластичного материала, из которого изготовлена емкость.
РИСУНКИ
|
|