|
|
(21), (22) Заявка: 2007137055/09, 07.03.2006
(24) Дата начала отсчета срока действия патента:
07.03.2006
(30) Конвенционный приоритет:
08.03.2005 US 60/659,856 17.06.2005 US 11/156,202
(46) Опубликовано: 20.01.2009
(56) Список документов, цитированных в отчете о поиске:
ЕР 1146761 А1, 17.10.2001. RU 2000124332 A, 10.08.2002. US 200403420 A, 14.10.2004. ЕР 1081876 А1, 07.03.2001.
(85) Дата перевода заявки PCT на национальную фазу:
08.10.2007
(86) Заявка PCT:
US 2006/008222 (07.03.2006)
(87) Публикация PCT:
WO 2006/096764 (14.09.2006)
Адрес для переписки:
129090, Москва, ул. Б.Спасская, 25, стр.3, ООО “Юридическая фирма Городисский и Партнеры”, пат.пов. Ю.Д.Кузнецову, рег.№ 595
|
(72) Автор(ы):
РЕЗАИИФАР Рамин (US), АГАШЕ Параг Арун (US)
(73) Патентообладатель(и):
КВЭЛКОММ ИНКОРПОРЕЙТЕД (US)
|
(54) ГРУППИРОВАНИЕ ПИЛОТ-СИГНАЛОВ И УПРАВЛЕНИЕ НАБОРАМИ В СИСТЕМАХ СВЯЗИ С МНОЖЕСТВОМ НЕСУЩИХ
(57) Реферат:
Раскрытые варианты осуществления относятся к способам и системам для группирования пилот-сигналов и использования такого группирования для передачи сообщения об уровне пилот-сигнала и управления наборами в системах связи с множеством несущих. Технический результат заключается в обеспечении эффективных и надежных систем связи с множеством несущих. В одном варианте осуществления сеть доступа может присваивать идентификатор группы (ИД группы) к каждому из пилот-сигналов, ассоциированных с сектором, например, на основе зон покрытия пилот-сигналов, и передавать пилот-сигналы с соответствующими ИД группы. Сдвиг PN может использоваться в качестве ИД группы. Терминал доступа может группировать принятые пилот-сигналы в одну или более групп пилот-сигналов в соответствии с их ИД групп и выбирать репрезентативные пилот-сигналы из каждой группы пилот-сигналов для передачи сообщения об уровне пилот-сигнала. Терминал доступа также может использовать группирование пилот-сигналов для выполнения эффективного управления наборами. 19 н. и 13 з.п. ф-лы, 13 ил.
Настоящая заявка испрашивает приоритет в соответствии с предварительной заявкой США № 60/659856, озаглавленной «Сообщение об уровне пилот-сигналов и управление активным набором и наборами кандидатов и соседей в системе с множеством несущих», поданной 8 марта 2005 г., переуступленной правопреемнику настоящего изобретения и включенной в настоящее описание посредством ссылки.
Область техники
Настоящее раскрытие относится к беспроводным системам связи. Более конкретно раскрытые варианты осуществления относятся к группированию пилот-сигналов и передаче сообщений и к управлению наборами в системах связи с множеством несущих.
Предшествующий уровень техники
Беспроводные системы связи широко используются для обеспечения различных типов передач (речи, данных и т.д.) множеству пользователей. Такие системы могут быть основаны на методах множественного доступа с кодовым разделением каналов (CDMA), множественного доступа с временным разделением каналов (TDMA), множественного доступа с частотным разделением каналов (FDMA) или других методах множественного доступа. Системы CDMA обеспечивают некоторые желательные свойства, включая увеличенную пропускную способность системы. Система CDMA может быть спроектирована для реализации одного или более стандартов, таких как IS-95, cdma2000, IS-856, W-CDMA, TD-SCDMA и другие стандарты.
В ответ на увеличивающиеся потребности в мультимедийных услугах и высокоскоростной передаче данных для использования в беспроводных системах связи предложена модуляция с множеством несущих. Проблема заключается в обеспечении эффективных и надежных систем связи с множеством несущих.
Краткое описание чертежей
Фиг. 1 – вариант осуществления системы с множеством несущих;
Фиг. 2 – вариант осуществления ячейки с множеством секторов в системе связи с множеством несущих;
Фиг. 3 – вариант осуществления различных секторов и ассоциированных пилот-сигналов в системе связи с множеством несущих;
Фиг. 4а-4с – вариант осуществления управления наборами в системе связи с множеством несущих;
Фиг. 5 – вариант осуществления назначения каналов трафика в системе связи с множеством несущих;
Фиг. 6 – блок-схема процесса, который может быть использован в одном варианте осуществления для реализации группирования пилот-сигналов и передачи сообщений в системе связи с множеством несущих;
Фиг. 7 – блок-схема процесса, который может быть использован в одном варианте осуществления для реализации управления наборами в системе связи с множеством несущих;
Фиг. 8 – блок-схема процесса, который может быть использован в другом варианте осуществления для реализации управления наборами в системе связи с множеством несущих;
Фиг. 9 – блок-схема процесса, который может быть использован в одном варианте осуществления для реализации группирования пилот-сигналов в системе связи с множеством несущих;
Фиг. 10 – блок-схема устройства, в котором могут быть реализованы некоторые раскрытые варианты осуществления; и
Фиг. 11 – блок-схема устройства, в котором могут быть реализованы некоторые раскрытые варианты осуществления.
Подробное описание изобретения
Варианты осуществления, раскрытые в настоящем описании, относятся к способам и устройствам для группирования пилот-сигналов и использования такого группирования для сообщения об уровне пилот-сигнала и для управления наборами в системе связи с множеством несущих.
Фиг. 1 иллюстрирует вариант осуществления системы 100 связи с множеством несущих. Например, в пределах системы могут быть распределены различные терминалы доступа (АТ) 110, включая АТ 110а-110с. Каждый терминал АТ 110 может осуществлять связь с сетью 120 доступа (AN) через один или более каналов на различных частотах по прямой линии связи и/или обратной линии связи в данный момент времени, как показано двунаправленными стрелками 130. Для иллюстрации и ясности для каждого терминала АТ 110 показаны две двунаправленные стрелки 130. Может иметься любое число каналов (или частот) как в прямой линии связи, так и в обратной линии связи в системе связи. Кроме того, число частот, используемых в прямой линии связи (или «частот прямой линии связи»), не обязательно должно быть тем же, что и число частот в обратной линии связи (или частот обратной линии связи»).
Сеть AN 120 может дополнительно осуществлять связь с базовой сетью, такой как сеть пакетных данных, через обслуживающий узел 140 передачи пакетных данных (PDSN). В одном варианте осуществления система 100 может быть конфигурирована для поддержки одного или более стандартов, например, IS-95, cdma2000, IS-856, W-CDMA, TD-SCDMA, других стандартов связи с множеством несущих или их комбинаций.
Как описано в данном документе, сеть AN может относиться к части системы связи, конфигурированной для взаимодействия с базовой сетью (например, сетью пакетных данных через сеть PDSN 140 на фиг. 1) и маршрутизации данных между терминалами АТ и базовой сетью, выполнения различных функций радиодоступа и поддержания линий связи, управления радиопередатчиками и приемниками и т.д. Сеть AN может включать в себя и/или реализовывать функции контроллера базовой станции (BSC) (как в беспроводной сети 2-го и 3-го поколений), приемо-передающей системы базовой станции (BTS), узла доступа (AP), приемопередатчика пула модемов (МРТ), узла В (например, в системе типа W-CDMA) и т.п.
Терминал АТ, описанный в настоящем документе, может относиться к различным типам устройств, включая (без ограничения указанным) проводной телефон, беспроводный телефон, сотовый телефон, портативный компьютер, карту персонального компьютера (РС) беспроводной связи, персональный цифровой помощник (PDA), внешний или внутренний модем и т.д. Терминал АТ может быть любым устройством передачи данных, которое осуществляет связь по беспроводному каналу или по проводному каналу (например, посредством волоконно-оптических или коаксиальных кабелей). Терминал АТ может иметь различные названия, например блок доступа, абонентский блок, мобильная станция, мобильное устройство, мобильный блок, мобильный телефон, мобильное устройство, удаленная станция, удаленный терминал, удаленный блок, пользовательское устройство, пользовательское оборудование, портативное устройство и т.д. Различные терминалы АТ могут быть включены в систему. Терминалы АТ могут быть мобильными или стационарными и могут быть распределены по системе связи. Терминал АТ может осуществлять связь с одной или более сетями AN по прямой линии связи и/или по обратной линии связи в любой данный момент. Прямая линия связи (или нисходящая линия связи) относится к передачам от сети AN к терминалу АТ. Обратная линия связи (или восходящая линия связи) относится к передачам от терминала АТ к сети AN.
Система связи с множеством несущих, описанная в настоящей заявке, может содержать систему мультиплексирования с частотным разделением, или систему мультиплексирования с ортогональным частотным разделением, или другие системы многочастотной модуляции, причем каждая несущая соответствует некоторому частотному диапазону.
Пилот-сигнал, описанный здесь, может быть охарактеризован (или определен) парой параметров и обозначен как <сдвиг PN, канал>, где параметр «канал» относится к частоте пилот-сигнала, а параметр «сдвиг PN» уникальным образом ассоциирован с пилот-сигналом. Термин «канал» может взаимозаменяемым образом использоваться с термином «частота». Кроме того, «область покрытия» пилот-сигнала может относиться к профилю зависимости сигнала от расстояния для пилот-сигнала.
Ячейка может относиться к области покрытия, обслуживаемой сетью AN. Ячейка может быть разделена на один или более секторов. Одна или более частот могут назначаться для покрытия ячейки. На фиг. 2 показан вариант осуществления ячейки 200 в системе связи с множеством несущих. Например, ячейка 200 показана как разделенная на три сектора 210, 220, 230. Три частоты f1, f2, f3 назначены для покрытия ячейки 200. Для иллюстрации и ясности ячейка 200 показана как цилиндр, площади сечения которого соответствуют области покрытия ячейки 200, а высота по оси 240 соответствует размерности частоты ячейки 200. Как таковой каждый сектор цилиндра (по всем частотам) образует сектор ячейки. В других вариантах осуществления ячейки могут иметь разные формы и могут иметь разное число секторов. Также может иметься любое число частот, назначенных ячейке. Например, в некоторых ситуациях множество частот могут быть назначены ячейке, охватывающей большую область покрытия, как показано на фиг. 2. В других ситуациях одна частота может быть распределена ячейке, покрывающей малую область с высокой плотностью (например, «горячую точку»).
В системе связи с одной несущей требуется, чтобы терминал АТ сообщал об уровнях всех принятых пилот-сигналов, поскольку пилот-сигналы становятся сильными или слабыми по уровню. В системе связи с множеством несущих имеется множество пилот-сигналов, связанных с сектором, как показано на фиг. 2. Если бы терминалу АТ требовалось сообщать об уровне каждого принятого пилот-сигнала (как в системе с одной несущей), это обусловило бы слишком много запусков для сообщения об уровне сигнала (например, сообщение обновления маршрута в системе типа IS-856), поскольку имеется много пилот-сигналов, и каждый из них может независимо пересекать пороги, установленные для передачи сообщений, вследствие кратковременного замирания, и каждое сообщение было бы больше, поскольку имеется больше пилот-сигналов для сообщения. Кроме того, многие из этих пилот-сигналов могут иметь сопоставимые области покрытия и сообщение, передаваемое одним из них, может обеспечить достаточно информации для сети доступа по отношению к набору пилот-сигналов, которые принимает терминал АТ. Поэтому существует необходимость в эффективном способе управления пилот-сигналами в системе связи с множеством несущих.
Раскрытые варианты осуществления относятся к способам и системам для группирования пилот-сигналов и использования такого группирования для сообщения об уровне пилот-сигнала и управления наборами в системе связи с множеством несущих.
В одном варианте осуществления сеть AN, обслуживающая сектор, может присвоить групповой идентификатор (или «ИД группы») каждому из пилот-сигналов, связанных с сектором, например, на основе областей покрытия пилот-сигналов, так что пилот-сигналы, имеющие сопоставимые области покрытия, совместно используют общий ИД группы. Сдвиг PN может использоваться в качестве ИД группы в одном варианте осуществления. Затем сеть AN передает пилот-сигналы с соответствующими ИД группы. Сеть AN может группировать пилот-сигналы, принимаемые в одной или более группах пилот-сигналов, в соответствии с их ИД группы. Сеть AN может также выбирать один пилот-сигнал из каждой группы пилот-сигналов в качестве репрезентативного пилот-сигнала для сообщения об уровне пилот-сигнала. Сеть AN также может использовать группирование пилот-сигналов для выполнения эффективного управления набором, как дополнительно описано ниже.
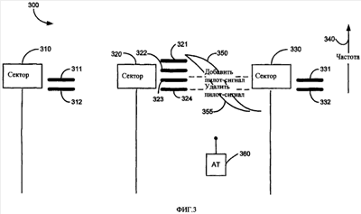
На фиг. 3 показан вариант осуществления различных секторов и ассоциированных пилот-сигналов в системе 300 связи с множеством несущих. Система 300 может в общем случае включать в себя любое число секторов, каждый из которых ассоциирован с одним или более пилот-сигналов, имеющих различные частоты. Для иллюстрации и ясности в явном виде показаны три сектора 310, 320, 330. Также для примера показаны пилот-сигналы 311, 312, ассоциированные с сектором 310, пилот-сигналы 321-324, ассоциированные с сектором 320, и пилот-сигналы 331, 332, ассоциированные с сектором 330. Эти пилот-сигналы показаны относительно частотной оси 340, указывая, что пилот-сигналы, ассоциированные с данным сектором, имеют разные частоты.
Фиг. 3 дополнительно показывает профиль 350 зависимости уровня от расстояния, представляющий зону покрытия пилот-сигнала 321 или 322, и профиль 355 зависимости уровня от расстояния, представляющий зону покрытия пилот-сигнала 323 или 324.
В одном варианте осуществления сеть AN (явно не показана), обслуживающая сектор 320, может назначать ИД группы каждому из пилот-сигналов 321-324 на основе их областей покрытия, так что пилот-сигналы, имеющие, по существу, одинаковую область покрытия, совместно используют общий ИД группы. Сдвиг PN может быть использован как ИД группы в одном варианте осуществления. Например, пилот-сигналы 321, 322 могут совместно использовать общий ИД группы (или сдвиг PN); пилот-сигналы 323, 324 могут также совместно использовать общий ИД группы (или сдвиг PN). Сеть AN может затем передавать пилот-сигналы 321-324 с соответствующими ИД группы. После приема пилот-сигналов 321-324 терминал АТ 360 может группировать пилот-сигналы 321, 322 в первую группу пилот-сигналов и пилот-сигналы 323, 324 во вторую группу пилот-сигналов в соответствии с их ИД группы. Терминал АТ 360 может выбрать один пилот-сигнал из каждой группы в качестве репрезентативного пилот-сигнала для группы: например, пилот-сигнал 321 может быть выбран в качестве репрезентативного пилот-сигнала для первой группы пилот-сигналов и пилот-сигнал 324 может быть выбран в качестве репрезентативного пилот-сигнала для второй группы пилот-сигналов. Терминал АТ 360 может измерять уровень каждого принятого пилот-сигнала или, по меньшей мере, одного пилот-сигнала из каждой группы пилот-сигналов (такого как репрезентативный пилот-сигнал). Терминал АТ 360 может включать только репрезентативный пилот-сигнал (в противоположность всей группе пилот-сигналов) в сообщение об уровне пилот-сигнала, как описано далее.
В варианте, показанном на фиг. 3, два порога пилот-сигнала: «добавить пилот-сигнал» и «удалить пилот-сигнал» отмечены на профилях 350, 355. Эти пороги могут быть использованы для определения того, к какому из наборов, набору кандидатов или набору соседей для терминала АТ 360, принадлежит каждый пилот-сигнал. Например, если уровень пилот-сигнала, принимаемого терминалом АТ 360, превышает порог «добавить пилот-сигнал», то пилот-сигнал может быть потенциально добавлен к набору кандидатов для терминала АТ 360, как пояснено ниже. Если уровень пилот-сигнала, принимаемого терминалом АТ 360, спадает ниже порога «удалить пилот-сигнал», то пилот-сигнал может быть удален из активного набора или набора кандидатов для терминала АТ 360.
В одном варианте осуществления, когда терминал АТ 360 перемещается из сектора 320, он может сначала обнаружить, что уровни пилот-сигналов 323, 324 во второй группе пилот-сигналов спадают ниже порога «удалить пилот-сигнал», и затем обнаружить уровни пилот-сигналов 321, 322 в первой группе пилот-сигналов. (Это может быть потому, что пилот-сигналы 321, 322 не имеют соответствующих им сигналов в соседних секторах 310, 330, следовательно, подвержены меньшим взаимным помехам.) В результате терминал АТ 360 может сначала послать сообщение об уровне пилот-сигнала для репрезентативного пилот-сигнала, ассоциированного со второй группой пилот-сигналов, а затем сообщение об уровне пилот-сигнала для репрезентативного пилот-сигнала, ассоциированного с первой группой пилот-сигналов, в сеть AN в связи с этими двумя событиями. Сообщение об уровне пилот-сигнала может включать в себя, например, уровень, сдвиг PN и частоту соответствующего репрезентативного пилот-сигнала. В другом варианте осуществления, когда терминал АТ 360 перемещается ближе к сектору 320, терминал АТ 360 может сначала послать сообщение об уровне пилот-сигнала для репрезентативного пилот-сигнала, ассоциированного с первой группой пилот-сигналов, а затем сообщение об уровне пилот-сигнала для репрезентативного пилот-сигнала, ассоциированного со второй группой пилот-сигналов, в сеть AN (в связи с постепенным нарастанием уровней пилот-сигналов в этих двух группах).
Далее пилот-сигналы в секторах 310, 330 могут также группироваться аналогичным образом. Например, пилот-сигналы 311, 312 в секторе 310 могут образовывать группу пилот-сигналов. Пилот-сигналы 331, 332 в секторе 330 могут также образовывать группу пилот-сигналов. В одном варианте осуществления сектор 320 (или сеть AN, обслуживающая его) может выбрать один пилот-сигнал из каждой группы пилот-сигналов в соседних секторах 310, 330, например пилот-сигнал 311 и пилот-сигнал 332, и уведомлять только о выбранных пилот-сигналах из своих соседних секторов.
Группирование пилот-сигналов и сообщение о них, как описано выше, позволяет терминалам АТ осуществлять связь эффективным способом в сети AN в системе связи с множеством несущих, избегая излишнего использования сетевых ресурсов. Это дополнительно позволяет терминалу АТ выполнять управление набором эффективным образом, как описано ниже.
Фиг. 4а-4с показывают вариант осуществления управления набором в системе связи с множеством несущих. Для ясности и иллюстрации каждый пилот-сигнал определен параметрами <сдвиг PN, частота>, где сдвиг PN также служит в качестве ИД группы для каждого пилот-сигнала. Например, фиг. 4а показывает, что терминал АТ (в явном виде не показан) может первоначально иметь активный набор 410, включающий в себя первую группу пилот-сигналов, имеющих ИД группы «х», и вторую группу пилот-сигналов, имеющих ИД группы «у». Первая группа пилот-сигналов включает в себя два пилот-сигнала, определенных параметрами 1> и <х, f2>, и вторая группа пилот-сигналов включает в себя два пилот-сигнала, определенных параметрами <у, f1> и <у, f2>. Терминал АТ также может содержать набор 420 кандидатов, первоначально включающий в себя третью группу пилот-сигналов, имеющих ИД группы «z». Третья группа пилот-сигналов имеет один пилот-сигнал, определенный параметрами 2>. Каждый пилот-сигнал либо в активном наборе 410, либо в наборе 420 кандидатов имеет уровень выше предварительно определенного порога (например, порога «добавить пилот-сигнал», описанного выше со ссылкой на фиг. 3).,>,>
Фиг. 4 показывает, что в одном случае пилот-сигнал, определенный параметрами 1>, добавляется к активному набору 410. В результате пилот-сигнал с параметрами 2> удаляется из набора 420 кандидатов, поскольку оба должны принадлежать к одной и той же группе пилот-сигналов.,>,>
Фиг. 4с показывает, что в другом случае пилот-сигнал, определенный параметрами <х, f2>, удаляется из активного набора 410 и не добавляется к набору 420 кандидатов. Это объясняется тем, что остается другой пилот-сигнал, определенный параметрами 1>, принадлежащий к первой группе пилот-сигналов в активном наборе 410.,>
В принципе, терминал АТ может обслуживаться любым из пилот-сигналов в его активном наборе. Каждая группа пилот-сигналов в его активном наборе может включать в себя один или более пилот-сигналов. Пилот-сигналы в его наборе кандидатов могут иметь различные ИД групп; и ни один пилот-сигналов в его наборе кандидатов не может иметь тот же самый ИД группы, что и у какого-либо из пилот-сигнала в его активном наборе или любом другом из его других наборов. Это может также означать, что в случае, когда терминал АТ принимает пилот-сигнал с уровнем выше порога «добавить пилот-сигнал» и с тем же ИД группы, что и существующий пилот-сигнал в его наборе кандидатов, он не может добавлять этот пилот-сигнал своему набору кандидатов. Данное описание, касающееся набора кандидатов, также применимо к набору соседей, связанному с терминалом АТ, как дополнительно описано ниже.
В одном варианте осуществления терминал АТ может управлять своим набором кандидатов следующим образом. Терминал АТ может поддерживать набор кандидатов таким образом, что пилот-сигналы в наборе кандидатов все имеют различные ИД группы (иными словами, каждая группа пилот-сигналов имеет только один пилот-сигнал). Терминал АТ может добавить пилот-сигнал к набору кандидатов в следующих случаях: а) если уровень пилот-сигнала превышает порог «добавить пилот-сигнал», и пилот-сигнал не имеет тот же самый ИД группы, что и у какого-либо из существующих пилот-сигналов в активном наборе или в наборе кандидатов; терминал АТ может добавить любой пилот-сигнал с тем же ИД группы (что у пилот-сигнала, у которого уровень превышает порог «добавить пилот-сигнал») к набору кандидатов; b) если пилот-сигнал удален из активного набора, и активный набор не имеет никакого пилот-сигнала с тем же ИД группы (что и у удаленного пилот-сигнала), и время установки таймера удаления пилот-сигнала не истекло, терминал АТ может добавить любой пилот-сигнал с тем же ИД группы (что и у удаленного пилот-сигнала) к набору кандидатов.
В одном варианте осуществления терминал АТ может управлять своим набором соседей следующим образом. Терминал АТ поддерживает набор соседей таким образом, что пилот-сигналы в наборе соседей все имеют различные ИД групп (иными словами, каждая группа пилот-сигналов имеет только один пилот-сигнал). Терминал АТ может добавить пилот-сигнал к набору соседей или удалить в следующих случаях: а) если пилот-сигнал, имеющий ИД группы, добавляется к активному набору или набору кандидатов, то любой пилот-сигнал с тем же самым ИД группы, что и у добавленного пилот-сигнала в наборе соседей, может быть удален; b) если пилот-сигнал, имеющий ИД группы, удален из активного набора, но не добавлен к набору кандидатов, и активный набор не имеет никакого пилот-сигнала с тем же ИД группы, что и удаленного пилот-сигнала, терминал АТ может добавить любой пилот-сигнал с тем же ИД группы (что и у удаленного пилот-сигнала) к набору соседей; с) если пилот-сигнал, имеющий ИД группы, удален из набора кандидатов, но не добавлен к активному набору, и активный набор не имеет никакого пилот-сигнала с тем же самым ИД группы, что и удаленного пилот-сигнала, то терминал АТ может добавить любой пилот-сигнал с тем же самым ИД группы (что и у удаленного пилот-сигнала) к набору соседей.
Группирование пилот-сигналов, раскрытое в настоящем описании, обеспечивает возможность эффективного управления наборами в системе с множеством несущих. Могут иметься другие варианты осуществления для управления наборами.
На фиг. 5 показан вариант осуществления назначения каналов трафика в системе связи с множеством несущих. Например, множество каналов прямой линии связи (FL), включая FL-канал 510 на FL_частоте_а, FL-канал 520 на FL_частоте_b, FL-канал 530 на FL_частоте_c, FL-канал 540 на FL_частоте_d, должны передаваться от сети AN к терминалу АТ (оба не показаны в явном виде). Каналы обратной линии связи (RL), включая RL-канал 550 на RL_частоте_u, RL-канал 560 на RL_частоте_v и RL-канал 570 на RL_частоте_w, назначены терминалу АТ. В одном варианте осуществления сеть AN может назначать множество каналов прямой линии связи, каждый из которых предназначен для переноса обратного потока битов управления мощностью (RPC) для каждого из каналов обратной линии связи, назначенных терминалу АТ. Например, FL-канал 520 может быть назначен для переноса потока битов RPC для RL-канала 550, FL-канал 530 может быть назначен для переноса потока битов RPC для RL-канала 560, FL-канал 540 может быть назначен для переноса потока битов RPC для RL-канала 570, как показано на фиг. 5. Заметим, что в этом назначении каждая пара каналов FL и RL не обязательно должна иметь одну и ту же частоту.
В варианте осуществления, представленном на фиг. 5, сеть AN также может выбрать один из FL-каналов, например FL-канал 520, в качестве «основного пилот-сигнала» и информировать терминал АТ о необходимости контролировать канал управления, переносимый основным пилот-сигналом (например, для диспетчеризации и иных целей). Таким путем терминал АТ может игнорировать другие каналы прямой линии связи, что касается контроля каналов управления.
Варианты осуществления, представленные в настоящем описании (как описано со ссылками на фиг. 2-5), обеспечивают ряд вариантов осуществления группирования пилот-сигналов, управления наборами и назначения каналов трафика в системе связи с множеством несущих. Имеются и другие варианты осуществления и их практические реализации.
Фиг. 6 показывает блок-схему процесса 600, который может быть использован в одном варианте осуществления для реализации группирования пилот-сигналов и передачи сообщений в системе связи с множеством несущих. На этапе 610 принимается множество пилот-сигналов, связанных с сектором, причем каждый пилот-сигнал имеет идентификатор группы. На этапе 620 пилот-сигналы группируются в одну или более групп в соответствии с идентификаторами групп пилот-сигналов. На этапе 630 выбирается репрезентативный пилот-сигнал из каждой группы пилот-сигналов для передачи сообщения об уровне пилот-сигнала (как описано выше). В одном варианте осуществления PN-сдвиг может быть использован в качестве идентификатора группы.
На фиг. 7 показана блок-схема процесса 700, который может быть использован в одном варианте осуществления для реализации управления наборами в системе связи с множеством несущих. На этапе 710 измеряется уровень пилот-сигнала, имеющего ИД группы. На этапе 720 определяется, превышает ли уровень пилот-сигнала порог «добавить пилот-сигнал» и не имеет ли активный набор или набор кандидатов пилот-сигнал с тем же самым ИД группы (что и у пилот-сигнала, уровень которого превышает порог «добавить пилот-сигнал»). Если результат определения на этапе 720 является положительным («да»), то далее следует этап 730, на котором пилот-сигнал с тем же ИД группы (что и у пилот-сигнала, уровень которого превышает порог «добавить пилот-сигнал») добавляется к набору кандидатов. Если результат определения на этапе 720 является отрицательным («нет»), то к набору кандидатов не добавляется никакой пилот-сигнал с тем же ИД группы (что и у пилот-сигнала, уровень которого превышает порог «добавить пилот-сигнал»), как показано на этапе 740. В случае, когда пилот-сигнал, имеющий ИД группы, удаляется из активного набора, как показано на этапе 750, на этапе 760 определяется, не имеет ли активный набор какого-либо пилот-сигнала с тем же ИД группы (что и у удаленного пилот-сигнала) и не истекло ли время установки таймера удаления пилот-сигнала. Если результат определения на этапе 760 положителен («да»), то выполняется этап 730, как описано выше. Если результат определения на этапе 760 отрицателен («нет»), то выполняется этап 740, как описано выше.
Фиг. 8 показывает блок-схему процесса 800, который может использоваться в другом варианте осуществления для реализации управления наборами в системе связи с множеством несущих. Если пилот-сигнал с ИД группы удаляется из активного набора, но не добавляется в набор кандидатов, как показано на фиг. 810, или пилот-сигнал, имеющий ИД группы, удаляется из набора кандидатов, но не добавляется в активный набор, как показано на фиг. 820, то на этапе 830 определяется, имеет ли активный набор какой-либо пилот-сигнал с тем же самым ИД группы (как у удаленного пилот-сигнала). Если результат определения на этапе 830 отрицателен («нет»), то на этапе 840 пилот-сигнал с тем же самым ИД группы (как у удаленного пилот-сигнала) добавляется к набору соседей. Если результат определения на этапе 830 положителен («да»), то никакой пилот-сигнал с тем же самым ИД группы (как у удаленного пилот-сигнала) не добавляется к набору соседей, как показано на этапе 850.
В случае, когда пилот-сигнал с ИД группы добавляется к активному набору или к набору кандидатов, как показано на этапе 860, на этапе 870 удаляются все пилот-сигналы с тем же самым ИД группы (что и у добавленного пилот-сигнала) из набора кандидатов и набора соседей.
На фиг. 9 показана блок-схема процесса, который может быть использован в другом варианте осуществления для реализации группирования пилот-сигналов в системе связи с множеством несущих. На этапе 910 присваивается ИД группы каждому пилот-сигналу, ассоциированному с сектором, на основе зоны покрытия каждого пилот-сигнала. На этапе 920 каждый пилот-сигнал передается с соответствующим ИД группы.
На фиг. 10 показана блок-схема устройства 1000, которое может использоваться для реализации некоторых раскрытых вариантов осуществления (как описано выше). Например, устройство 1000 может включать в себя приемный блок (или модуль) 1010, выполненный с возможностью приема множества пилот-сигналов, связанных с сектором, причем каждый пилот-сигнал имеет ИД группы; блок 1020 группирования, выполненный с возможностью группирования пилот-сигналов в одну или более групп пилот-сигналов в соответствии с ИД группы пилот-сигналов; и блок 1030 выбора, выполненный с возможностью выбора репрезентативного пилот-сигнала из каждой группы пилот-сигналов для передачи сообщения об уровне пилот-сигнала. Устройство 1000 может также включать в себя блок 1050 измерения, выполненный с возможностью измерения уровней пилот-сигналов (например, уровня пилот-сигнала, такого как репрезентативный пилот-сигнал, ассоциированный с каждой группой пилот-сигналов), и блок 1040 сообщения, выполненный с возможностью сообщения об уровне репрезентативного пилот-сигнала для группы пилот-сигналов в сети доступа (например, об уровнях пилот-сигналов в группе пилот-сигналов, превышающих порог «добавить пилот-сигнал», или спадающих ниже порога «исключить пилот-сигнал», как описано выше). Устройство 1000 может также включать в себя блок 1060 управления наборами, выполненный с возможностью определения того, принадлежит ли принятый пилот-сигнал к одному из набора кандидатов или набора соседей, ассоциированных с терминалом АТ (как описано выше).
Устройство 1000, приемный блок 1010, блок 1020 группирования, блок 1030 выбора, блок 1050 измерения, блок 1040 сообщения и блок 1060 управления наборами могут быть связаны с коммуникационной шиной 1090. Блок 1070 обработки и блок 1080 памяти могут быть также связаны с коммуникационной шиной 1090. Блок 1070 обработки может быть выполнен с возможностью управления и/или координации операций различных блоков. Блок 1080 памяти может реализовывать инструкции для исполнения блоком 1070 обработки. В некоторых вариантах осуществления блок 1080 памяти может также хранить активный набор, набор кандидатов и набор соседей для терминала АТ (как описано выше).
Фиг. 11 показывает блок-схему устройства 1100, которое может быть использовано для реализации некоторых раскрытых вариантов осуществления (как описано выше). Например, устройство 1100 может включать в себя блок 1100 присвоения ИД группы, выполненный с возможностью присвоения ИД группы каждому из пилот-сигналов, ассоциированных с сектором, на основе области покрытия каждого пилот-сигнала; и передающий блок 1120, выполненный с возможностью передачи пилот-сигналов с различными ИД групп. Устройство 1100 может также включать в себя блок 1130 назначения каналов трафика, конфигурированный для назначения одного или более каналов прямой линии связи для переноса информации (например, канала управления, потока битов RPC и т.д.) для терминала АТ (например, такого как описанный со ссылкой на фиг. 5).
В устройстве 1100 блок 1100 присвоения ИД группы, передающий блок 1120 и блок 1130 назначения каналов трафика могут быть связаны с коммуникационной шиной 1140. Блок 1150 обработки и блок 1160 памяти могут также быть связаны с коммуникационной шиной 1140. Блок 1150 обработки может быть конфигурирован для управления и/или координации операций различных блоков. Блок 1160 памяти может реализовывать инструкции для исполнения блоком 1150 обработки.
Различные блоки/модули, показанные на фиг. 10-11 и в других вариантах осуществления изобретения, могут быть реализованы аппаратными средствами, программным обеспечением, программно-аппаратным обеспечением или комбинацией указанных средств. При реализации аппаратными средствами различные блоки могут быть реализованы на одной или более специализированных интегральных схемах (ASIC), цифровых процессорах сигналов (DSP), цифровых устройствах обработки сигналов (DSPD), программируемых вентильных матрицах (FPGA), процессорах, микропроцессорах, контроллерах, микроконтроллерах, программируемых логических устройствах (PLD), других электронных блоках или каких-либо их комбинациях. При реализации на основе программного обеспечения различные блоки могут быть реализованы с использованием модулей (например, процедур, функций и т.д.), которые выполняют описанные функции. Коды программного обеспечения могут быть сохранены в блоке памяти и могут исполняться процессором (или блоком обработки). Блок памяти может быть реализован в процессоре или внешним образом по отношению к процессору, и в этом случае он может быть коммуникативно связан с процессором с помощью различных средств, как известно в технике.
Различные раскрытые варианты осуществления могут быть реализованы в сети AN, в терминале АТ и в других элементах в системах связи с множеством несущих.
Специалистам в данной области техники должно быть понятно, что информация и сигналы могут быть представлены с использованием любых из множества различных технологий и методов. Например, данные, инструкции, команды, информация, сигналы, биты, символы и кодовые элементы, которые могут упоминаться в вышеприведенном описании, могут быть представлены напряжениями, токами, электромагнитными волнами, магнитными полями или частицами, оптическими полями или частицами или любой комбинацией указанных средств.
Специалистам в данной области техники должно быть понятно, что различные иллюстративные логические блоки, модули, схемы и этапы алгоритмов, описанные в связи с раскрытыми вариантами осуществления, могут быть реализованы электронными аппаратными средствами, компьютерным программным обеспечением или комбинацией указанных средств. Для ясной иллюстрации этой взаимозаменяемости аппаратных средств и программного обеспечения различные иллюстративные компоненты, блоки, модули, схемы и этапы описаны выше в терминах их функциональных возможностей. То, реализованы ли такие функциональные возможности как аппаратные средства или программное обеспечение, зависит от конкретного применения и ограничений при проектировании, накладываемых на систему в целом. Специалист в данной области техники может реализовать требуемую функциональность различными путями для каждого конкретного применения, но такие решения по реализации не должны интерпретироваться как обуславливающие отклонение от объема настоящего изобретения.
Различные иллюстративные логические блоки, модули и схемы, описанные в связи с раскрытыми вариантами осуществления, могут быть реализованы или выполнены с использованием универсального процессора, цифрового процессора сигналов (DSP), специализированной интегральной схемы (ASIC), программируемой вентильной матрицы (FPGA) или другого программируемого логического устройства, дискретной логической схемы или транзисторной логики, дискретных компонентов аппаратных средств или каких-либо их комбинаций. Универсальный процессор может быть микропроцессором, но в альтернативном варианте процессор может представлять собой обычный процессор, контроллер, микроконтроллер или конечный автомат. Процессор может быть также реализован как комбинация вычислительных устройств, например как комбинация DSP и микропроцессора, множество микропроцессоров, один или более микропроцессоров во взаимосвязи с ядром DSP или любая подобная конфигурация.
Этапы способа или алгоритма, описанные в связи с раскрытыми вариантами осуществления, могут быть реализованы непосредственно в аппаратных средствах, в модуле программного обеспечения, исполняемого процессором, или в комбинации обоих этих средств. Модуль программного обеспечения может находиться в оперативном запоминающем устройстве (ОЗУ), флэш-памяти, постоянном запоминающем устройстве (ПЗУ), электронно-программируемом ПЗУ (ЭППЗУ), электронно-стираемом программируемом ПЗУ (ЭСППЗУ), регистрах, на жестком диске, съемном диске, ПЗУ на компакт-диске (CD-ROM) или любом другом носителе для хранения данных, известном в технике. Приведенный для примера носитель записи связан с процессором, так что процессор может считывать информацию с носителя записи и записывать информацию на носитель записи. В альтернативном варианте носитель записи может находиться на ASIC. ASIC может находиться в терминале. В альтернативном варианте процессор и носитель записи могут находиться на дискретных компонентах в терминале.
Предыдущее описание раскрытых вариантов осуществления предназначено для того, чтобы обеспечить возможность специалистам в данной области техники реализовать или использовать настоящее изобретение. Различные модификации этих вариантов осуществления изобретения будут очевидны для специалистов в данной области техники, и общие раскрытые принципы могут быть применены к другим вариантам осуществления без отклонения от сущности или объема изобретения. Таким образом, настоящее изобретение не предназначается для ограничения раскрытыми вариантами осуществления, а должно соответствовать самому широкому объему, совместимому с раскрытыми принципами и новыми признаками.
Формула изобретения
1. Способ беспроводной связи, заключающийся в том, что
принимают множество пилот-сигналов, ассоциированных с сектором, причем каждый пилот-сигнал имеет идентификатор группы;
группируют пилот-сигналы в одну или более групп пилот-сигналов в соответствии с идентификаторами групп пилот-сигналов и
выбирают репрезентативный пилот-сигнал из каждой группы пилот-сигналов для передачи сообщения об уровне пилот-сигнала.
2. Способ по п.1, в котором дополнительно измеряют уровень репрезентативного пилот-сигнала.
3. Способ по п.2, в котором дополнительно передают сообщение об уровне репрезентативного пилот-сигнала к сети доступа, если уровень репрезентативного пилот-сигнала превышает предварительно определенный порог.
4. Способ по п.2, в котором дополнительно передают сообщение об уровне репрезентативного пилот-сигнала к сети доступа, если уровень репрезентативного пилот-сигнала спадает ниже предварительно определенного порога.
5. Способ по п.1, в котором идентификатор группы включает в себя сдвиг PN.
6. Способ беспроводной связи, заключающийся в том, что присваивают идентификатор группы каждому из пилот-сигналов, ассоциированных с сектором, причем ассоциирование основано на зоне покрытия каждого пилот-сигнала, причем каждому пилот-сигналу с, по существу, одинаковой зоной покрытия присваивают общий идентификатор группы; и
передают каждый пилот-сигнал с идентификатором группы.
7. Способ по п.6, в котором идентификатор группы включает в себя сдвиг PN.
8. Способ беспроводной связи, заключающийся в том, что измеряют уровень пилот-сигнала, причем каждый пилот-сигнал имеет идентификатор группы; и
определяют на основе уровня и идентификатора группы пилот-сигнала, принадлежит ли пилот-сигнал одному из набора кандидатов или набора соседей, ассоциированных с терминалом доступа.
9. Способ по п.8, в котором дополнительно добавляют пилот-сигнал с тем же идентификатором группы к набору кандидатов, если уровень пилот-сигнала превышает предварительно определенный порог, и активный набор, связанный с терминалом доступа, не имеет пилот-сигнала с тем же идентификатором группы.
10. Способ беспроводной связи, заключающийся в том, что удаляют пилот-сигнал, имеющий идентификатор группы, из активного набора, ассоциированного с терминалом доступа, и
добавляют пилот-сигнал с тем же самым идентификатором группы к набору кандидатов, ассоциированному с терминалом доступа, если активный набор не имеет пилот-сигнала с тем же идентификатором группы и время установки таймера удаления пилот-сигнала не истекло.
11. Способ беспроводной связи, заключающийся в том, что
удаляют пилот-сигнал, имеющий идентификатор группы, из активного набора, ассоциированного с терминалом доступа, и
добавляют пилот-сигнал с тем же самым идентификатором группы к набору соседей, ассоциированному с терминалом доступа, если пилот-сигнал не добавлен к набору кандидатов, ассоциированному с терминалом доступа, и активный набор не имеет пилот-сигнала с тем же идентификатором группы.
12. Способ беспроводной связи, заключающийся в том, что удаляют пилот-сигнал, имеющий идентификатор группы, из набора кандидатов, ассоциированного с терминалом доступа, и
добавляют пилот-сигнал с тем же самым идентификатором группы к набору соседей, ассоциированному с терминалом доступа, если пилот-сигнал не добавлен к активному набору, ассоциированному с терминалом доступа, и активный набор не имеет пилот-сигнала с тем же идентификатором группы.
13. Способ беспроводной связи, заключающийся в том, что
добавляют пилот-сигнал, имеющий идентификатор группы, к любому из активного набора и набора кандидатов, ассоциированным с терминалом доступа; и
удаляют пилот-сигнал с тем же идентификатором группы из набора кандидатов и набора соседей, ассоциированных с терминалом доступа.
14. Способ беспроводной связи, заключающийся в том, что
выбирают пилот-сигнал из множества пилот-сигналов, имеющих общий идентификатор группы, причем пилот-сигналы ассоциированы с соседним сектором; и
осуществляют широковещательную передачу выбранного пилот-сигнала.
15. Способ беспроводной связи, заключающийся в том, что
назначают множество каналов прямой линии связи, каждый из которых предназначен для переноса обратного потока битов управления мощностью (RPC) для каждого из каналов обратной линии связи, назначенных терминалу доступа; и
передают сообщение на терминал доступа, причем сообщение включает в себя соответствие между каналами прямой линии связи и каналами обратной линии связи в соотношении с обратным потоком битов управления мощностью.
16. Способ по п.15, в котором дополнительно выбирают один из каналов прямой линии связи в качестве основного канала прямой линии связи и информируют терминал доступа о необходимости контролировать канал управления, переносимый основным каналом прямой линии связи.
17. Устройство беспроводной связи, содержащее процессор, конфигурированный для
приема множества пилот-сигналов, ассоциированных с сектором, причем каждый пилот-сигнал имеет идентификатор группы;
группирования пилот-сигналов в одну или более групп пилот-сигналов в соответствии с идентификаторами групп пилот-сигналов и
выбора репрезентативного пилот-сигнала для каждой группы пилот-сигналов для передачи сообщения об уровне пилот-сигнала.
18. Устройство по п.17, в котором идентификатор группы включает в себя сдвиг PN.
19. Устройство по п.17, в котором процессор дополнительно конфигурирован для измерения уровня репрезентативного пилот-сигнала.
20. Устройство беспроводной связи, содержащее
приемный блок, выполненный с возможностью приема множества пилот-сигналов, ассоциированных с сектором, причем каждый пилот-сигнал имеет идентификатор группы;
блок группирования, выполненный с возможностью группирования пилот-сигналов в одну или более групп пилот-сигналов в соответствии с идентификаторами групп пилот-сигналов; и
блок выбора, выполненный с возможностью выбора репрезентативного пилот-сигнала из каждой группы пилот-сигналов для передачи сообщения об уровне пилот-сигнала.
21. Устройство по п.20, дополнительно содержащее блок измерения, выполненный с возможностью измерения уровня репрезентативного пилот-сигнала.
22. Устройство по п.21, дополнительно содержащее блок сообщения, выполненный с возможностью передачи сообщения об уровне репрезентативного пилот-сигнала в сеть доступа.
23. Устройство беспроводной связи, содержащее процессор, конфигурированный для
присвоения идентификатора группы каждому из пилот-сигналов, ассоциированных с сектором, на основе зоны покрытия каждого пилот-сигнала и
передачи каждого пилот-сигнала с идентификатором группы.
24. Устройство по п.23, в котором идентификатор группы включает в себя сдвиг PN.
25. Устройство беспроводной связи, содержащее
блок присвоения ИД группы, выполненный с возможностью присвоения идентификатора группы каждому из пилот-сигналов, ассоциированных с сектором, причем ассоциирование основано на зоне покрытия каждого пилот-сигнала, где каждому пилот-сигналу с, по существу, одинаковой зоной покрытия присвоен общий идентификатор группы; и
передающий блок, выполненный с возможностью передачи каждого пилот-сигнала с идентификатором группы.
26. Устройство беспроводной связи, содержащее процессор, конфигурированный для
выбора пилот-сигнала из множества пилот-сигналов, имеющих общий идентификатор группы, причем пилот-сигналы ассоциированы с соседним сектором; и
передачи выбранного пилот-сигнала.
27. Устройство беспроводной связи, содержащее процессор, конфигурированный для
назначения множества каналов прямой линии связи, каждый из которых предназначен для переноса обратного потока битов управления мощностью (RPC) для каждого из каналов обратной линии связи, назначенных терминалу доступа; и
передачи сообщения на терминал доступа, причем сообщение включает в себя соответствие между каналами прямой линии связи и каналами обратной линии связи по отношению к обратному потоку битов управления мощностью.
28. Устройство беспроводной связи, содержащее
блок измерения, выполненный с возможностью измерения уровня пилот-сигнала, причем пилот-сигнал имеет идентификатор группы; и
блок управления наборами, выполненный с возможностью определения на основе уровня и идентификатора группы пилот-сигнала, принадлежит ли пилот-сигнал одному из набора кандидатов или набора соседей, ассоциированных с терминалом доступа.
29. Устройство по п.28, дополнительно содержащий блок памяти, конфигурированный для сохранения набора кандидатов, набора соседей и активного набора, ассоциированных с терминалом доступа.
30. Устройство беспроводной связи, содержащее блок управления наборами, конфигурированный для
удаления пилот-сигнала, имеющего идентификатор группы, из активного набора, ассоциированного с терминалом доступа,
добавления пилот-сигнала с тем же самым идентификатором группы к набору кандидатов, ассоциированному с терминалом доступа, если активный набор не имеет пилот-сигнала с тем же идентификатором группы и время установки таймера удаления пилот-сигнала не истекло; и
добавления пилот-сигнала с тем же самым идентификатором группы к набору соседей, ассоциированному с терминалом доступа, если пилот-сигнал не добавлен к набору кандидатов и активный набор не имеет пилот-сигнала с тем же идентификатором группы.
31. Устройство беспроводной связи, содержащее блок управления наборами, конфигурированный для
удаления пилот-сигнала, имеющего идентификатор группы, из набора кандидатов, ассоциированного с терминалом доступа, и
добавления пилот-сигнала с тем же самым идентификатором группы к набору соседей, ассоциированному с терминалом доступа, если пилот-сигнал не добавлен к активному набору, ассоциированному с терминалом доступа, и активный набор не имеет пилот-сигнала с тем же идентификатором группы.
32. Устройство беспроводной связи, содержащее блок управления наборами, конфигурированный для
добавления пилот-сигнала, имеющего идентификатор группы, к активному набору и набору кандидатов, ассоциированному с терминалом доступа; и
удаления пилот-сигнала с тем же идентификатором группы из набора кандидатов и набора соседей, ассоциированных с терминалом доступа.
РИСУНКИ
|
|