|
|
(21), (22) Заявка: 2006131546/09, 02.06.2004
(24) Дата начала отсчета срока действия патента:
02.06.2004
(30) Конвенционный приоритет:
02.02.2004 AT A 143/2004
(43) Дата публикации заявки: 10.03.2008
(46) Опубликовано: 20.01.2009
(56) Список документов, цитированных в отчете о поиске:
US 2002131262 А1, 19.09.2002. SU 748613 А, 25.07.1980. RU 5294 U1, 16.10.1997. RU 2219633 С2, 20.12.2003. GB 2298973 А1, 18.09.1996. DE 29920219 U, 28.12.2000.
(85) Дата перевода заявки PCT на национальную фазу:
04.09.2006
(86) Заявка PCT:
AT 2004/000192 (02.06.2004)
(87) Публикация PCT:
WO 2005/074087 (11.08.2005)
Адрес для переписки:
129090, Москва, ул. Б.Спасская, 25, стр.3, ООО “Юридическая фирма Городисский и Партнеры”, пат.пов. Ю.Д.Кузнецову, рег.№ 595
|
(72) Автор(ы):
ЛИСТОПАД Манфред (AT)
(73) Патентообладатель(и):
МЕЛЛЕР ГЕБОЙДЕАУТОМАЦИОН КГ (AT)
|
(54) ЭЛЕКТРОУСТАНОВОЧНЫЙ БЛОК
(57) Реферат:
Изобретение относится к электроустановочному блоку. Технический результат – создание электроустановочного блока указанного вначале вида, который обеспечивает интеграцию дистанционно управляемого переключающего и/или регулировочного модуля в существующую систему штепсельной розетки без необходимости дополнительной розетки для скрытой установки или прокладки трубки и который можно легко приспосабливать к существующей линии дизайна установочной серии. Достигается тем, что в электроустановочном блоке, содержащем, по меньшей мере, одну имеющую верхнюю часть и нижнюю часть штепсельную розетку и один дистанционно управляемый переключающий и/или регулировочный модуль, для упрощенного монтажа и согласования с линией дизайна электроустановочной серии предлагается, что для расположения рядом друг с другом штепсельной розетки и выполненного в виде модуля открытой установки переключающего и/или регулировочного модуля предусмотрена общая защитная, соответственно, опорная рама. 15 з.п. ф-лы, 5 ил.
Изобретение относится к электроустановочному блоку, по меньшей мере, с одной имеющей верхнюю часть и нижнюю часть штепсельной розеткой для скрытой установки и одним дистанционно управляемым переключательным и/или регулировочным модулем, при этом для расположения рядом друг с другом штепсельной розетки и переключающего и/или регулировочного модуля предусмотрена общая защитная, соответственно, опорная рама.
При переключении/регулировании света из штепсельных розеток известно выполнение дистанционно управляемого переключающего и/или регулировочного модуля в виде модуля, в котором в корпусе расположен радиоприемник, который имеет штепсельную розетку, а также штепсельную вилку. Таким образом, этот корпус с радиоприемником можно вставлять в любую имеющуюся штепсельную розетку, при этом подлежащая переключению нагрузка (потребитель электричества) подключается через имеющуюся в корпусе модуля штепсельную розетку. При этом расположенная в корпусе штепсельная розетка через переключающий светорегулировочный элемент (например, реле или полупроводник), который управляется через радиоприемник, электрически соединена с также имеющейся на корпусе штепсельной вилкой. Недостатком этого варианта выполнения является то, что корпус переключательного и/или регулировочного модуля не подходит к дизайну существующей установочной серии.
Из US 2003/111250 А1 известны подвижные крышки для электрических выходов корпуса мобильной штепсельной вилки.
В US 2002/131262 А1 описан монтируемый в стену ночник. Ночник вместе со штепсельной розеткой, переключателями и регулятором расположен в специальной защитной раме. Вся система размещается в соответствующей большой общей розетке для скрытой установки. Ночник согласно US 2002/131262 А1 имеет регулировочный модуль в виде чувствительной к свету электроники. Недостатком такой системы является то, что для этого необходима большая общая розетка для скрытой установки и что регулировочный модуль реагирует лишь на окружающие условия.
Из DE 29920219 U известна конструкция состоящей из нескольких частей защитной рамы, а также известно расположение переключателей и штепсельных розеток в одной защитной раме.
В GB 2298973 A описано зажимное устройство для установочного устройства. Приводится описание монтируемого в стене установочного устройства (штепсельной розетки с переключателем) с зажимным устройством для подключаемого кабеля.
В US 6011680 А описано выполняемое в виде штепсельной розетки соединительное приспособление для контролирования и управления сетью. Снабжаемая из сети контролирующая и управляющая электроника, которая снабжена шиной, контролирует параметры, такие как потребление тока, токи утечки, ошибочные напряжения и т.д. подключенного потребителя, для того чтобы отключать его от сети при превышении или занижении граничных значений. Однако в US 6011680 А не затрагивается проблема скрытого расположения такой «интеллектуальной» штепсельной розетки.
Из US 2003/0092297 А1 известен устанавливаемый в стенную штепсельную розетку ночной или дополнительный свет, который имеет штепсельные розетки. В корпусе, в котором размещаются штепсельные розетки, штепсельные вилки и ночник, также расположена управляющая и регулирующая электроника. При этом может быть предусмотрено, что в системе предусмотрен световой датчик или переключающие часы, которые выполнены с возможностью программирования и переключают электрические выходы. Недостатком всех предложенных в US 2003/0092297 А1 вариантов выполнения является то, что они все предусмотрены лишь для сочленения с существующими штепсельными розетками.
Дополнительно к этому известно расположение переключающего и/или регулировочного модуля в самой штепсельной розетке для скрытой установки, при этом радиоприемник с переключающей частью соединяется со штепсельной розеткой. Недостатком этого варианта выполнения является то, что необходима дополнительная розетка для скрытой установки, а также прокладка трубки для соединения радиоприемника с переключающим элементом с существующей штепсельной розеткой.
Задачей изобретения является создание электроустановочного блока указанного вначале вида, который обеспечивает интеграцию дистанционно управляемого переключающего и/или регулировочного модуля в существующую систему штепсельной розетки без необходимости дополнительной розетки для скрытой установки или прокладки трубки и который можно легко приспосабливать к существующей линии дизайна установочной серии.
Эта задача решена согласно изобретению за счет того, что переключающий и/или регулировочный модуль выполнен в виде модуля для открытой установки.
За счет этого обеспечивается то преимущество, что для дистанционного управления, соответственно, регулирования штепсельной розетки по радио нет необходимости в дополнительной розетке для скрытой установки, и за счет расположения рядом друг с другом на общей защитной, соответственно, опорной раме достаточно выполнить ее в соответствии с установочной серией для достижения согласования с дизайном.
В модификации изобретения может быть предусмотрено, что защитная и/или опорная рама выполнена в виде защитной рамы для переключающей или штепсельной розетки электроустановочной техники. За счет применения электроустановочных компонентов существующих линий дизайна можно дистанционно управляемые переключающие и/или регулировочные модули интегрировать без дополнительно изготавливаемых частей во все предлагаемые линии дизайна.
Согласно другому варианту выполнения изобретения может быть предусмотрено, что дистанционно управляемый переключающий и/или регулировочный модуль имеет защитную крышку. За счет этого можно выполнять требования техники безопасности, кроме того, чувствительная электроника защищена от загрязнений, а также от несанкционированного доступа, и вся система интегрируется в линию дизайна существующей электроустановки.
В другой модификации изобретения может быть предусмотрено, что защитная и/или опорная рама для фиксирования штепсельной розетки и переключающего и/или регулировочного модуля или его защитной крышки выполнены с совпадающими друг с другом при наложении выемками. За счет этого можно в данном случае применять защитную и/или опорную раму, которая предназначена для размещения двух штепсельных розеток, за счет чего значительно уменьшаются затраты на изготовление электроустановочного блока.
В другой модификации изобретения может быть предусмотрено, что при выполнении в виде одной детали защитной и/или опорной рамы зоны вставления штепсельной розетки защитная и/или опорная рама выполнена с выемкой, кромка которой совпадает при наложении с кромкой зоны вставления. За счет этого электроустановочный блок согласно изобретению можно интегрировать в существующую электроустановку, в которой зона вставления штепсельной розетки выполнена в виде одной детали с защитной и/или опорной рамой, что увеличивает область применения изобретения.
Другой признак изобретения может состоять в том, что на расположенной на стороне штукатурки внутренней стороне защитной и/или опорной рамы выполнены зажимы для подводящих и/или соединительных проводов. За счет предусмотрения зажимов, например, для соединительных проводов упрощается монтаж электроустановочного блока, отпадает необходимость долбежных работ для прокладки дополнительных трубок.
В другом варианте выполнения изобретения может быть предусмотрено, что с помощью дистанционно управляемого переключательного и/или регулировочного модуля можно переключать как фазу, так и нейтральный провод штепсельной розетки. За счет этого может быть реализовано двухполюсное переключение, которое имеет преимущества по соображениям техники безопасности при применении в сырых помещениях или снаружи.
Ниже приводится подробное описание изобретения со ссылками на прилагаемые чертежи, на которых изображены варианты выполнения:
фиг.1 – электроустановочный блок согласно изобретению на виде сверху;
фиг.2 – электроустановочный блок согласно изобретению на виде сбоку;
фиг.3 – блок-схема электроустановочного блока согласно изобретению;
фиг.4 – электроустановочный блок согласно изобретению в разнесенной изометрической проекции и
фиг.5 – электроустановочный блок согласно изобретению в разнесенной изометрической проекции.
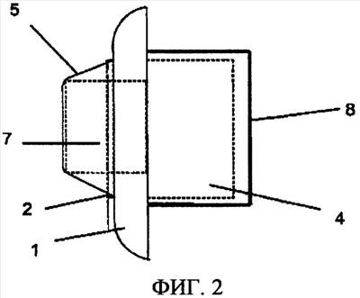
На фиг. 1, 2, 4 и 5 показан электроустановочный блок согласно изобретению, содержащий штепсельную розетку с верхней частью 2 и нижней частью 4 и дистанционно управляемый переключающий и/или регулировочный модуль 7, при этом для расположения рядом друг с другом устанавливаемых в штепсельную розетку 8 для скрытой установки (изображена лишь схематично без подводящих проводов) штепсельных розеток 2, 4 для скрытой установки и выполненного в виде модуля открытой установки переключающего и/или регулировочного модуля 7 предусмотрена общая защитная и/или опорная рама 1. Может быть предусмотрено, что переключающий и/или регулировочный модуль 7 расположен как справа, так и слева, соответственно, сверху или снизу штепсельной розетки. Кроме того, можно располагать несколько штепсельных розеток в одной соответственно расширенной защитной раме 1, из которых одна или несколько могут быть соединены с переключающим и/или регулировочным модулем 7.
Применяемая защитная и/или опорная рама 1 выполнена в виде защитной рамы для переключающей или штепсельной розетки электроустановочной техники. Это обеспечивает не требующее больших затрат согласование с существующими конструкционными группами и простую интеграцию в существующие линии дизайна.
Защитная и/или опорная рама 1 для фиксирования штепсельной розетки 2, 4 и переключающего и/или регулировочного модуля 7 или его защитной крышки 5 выполнена с совпадающими друг с другом при наложении выемками 10, за счет чего обеспечивается установка защитной и/или опорной рамы 1, выполненной для двух штепсельных розеток.
С помощью дистанционно управляемого переключающего и/или регулировочного модуля 7 осуществляется регулирование выходного напряжения соседней штепсельной розетки 2, 4. За счет этого можно регулировать непосредственно подключенного к штепсельной розетке 4 потребителя, как, например, лампу, вентилятор или нагреватель.
Дистанционное управление можно выполнять с помощью любой подходящей технологии, такой как, например, радио, инфракрасный свет, ультразвук, с использованием мобильных или стационарных телефонов, соответственно, известных из этих областей технологий (как, например, Bluetooth), или с помощью беспроводной локальной сети LAN.
Дистанционно управляемый переключающий и/или регулировочный модуль 7 предназначен для открытой установки в выемке 10 защитной, соответственно, опорной рамы 1 и защищается защитной крышкой 5, которая удерживается не существенными для данного изобретения крепежными средствами 11, как, например, винтами, зажимами или фиксирующими выступами, в защитной, соответственно, опорной раме 1. Защитная крышка 5 изготавливается предпочтительно из непроводящего материала, такого как пластмасса. Для указания рабочего состояния может быть предусмотрено, что переключающий и/или регулировочный модуль 7 имеет несколько индикаторных элементов 9, таких как, например, светодиоды, лампочки накаливания, жидкокристаллические или плазменные дисплеи, при этом в таком варианте выполнения переключающего и/или регулировочного модуля 7 предусмотрено использование крышки 5 с соответствующими прозрачными или просвечивающими зонами 12, которые обеспечивают распознавание индикаторных элементов 9.
Кроме того, может быть предусмотрено выполнения крышки 5 в качестве управляющего элемента для обеспечения ручного вмешательства в процесс регулирования. Это можно осуществлять, например, посредством использования поворотной кнопки, ползункового регулятора или чувствительной к прикосновению поверхности (например, сенсорной панели или сенсорного экрана), за счет чего возможно гибкое воздействие на функцию регулирования света. Кроме того, может быть предусмотрено соединение дистанционно управляемого переключающего и/или регулировочного модуля с помощью соединения через сеть с вычислительным устройством, таким как персональный компьютер (ноутбук, карманный персональный компьютер) или микроконтроллер, для управления некоторыми функциями управления и регулирования. Такое соединение с сетью можно осуществлять, например, через установочную шину, такую как, например, EIB (европейская установочная шина), LON (локальная операционная сеть) или же с помощью линии электропитания, для чего не требуются дополнительные управляющие провода.
На обращенной к штукатурке внутренней стороне защитной, соответственно, опорной рамы 1 предусмотрены зажимы 13 для подводящих и/или соединительных проводов. Эти зажимы обеспечивают кабельное соединение переключающего и/или регулировочного модуля 7 со штепсельной розеткой 2, 4 без дополнительной прокладки трубок или необходимых для этого долбежных работ.
Как показано на блок-схеме на фиг. 3, фаза L подлежащей регулированию штепсельной розетки 2, 4 подключена к переключающему и/или регулировочному модулю 7. Переключающий и/или регулировочный модуль 7 регулирует напряжение и выдает регулируемую токопроводящую фазу LA в нижнюю часть 4 (изображена лишь схематично без подводящих проводов), с которой он соединен. Кроме того, предусмотрено подключение нейтрального проводника N из нижней части 4 к переключающему и/или регулировочному модулю 7. Поскольку для регулирования напряжения нет необходимости регулирования также нейтрального провода, то он непосредственно соединен с нижней частью 4 и из нее соединен дальше с переключающим и/или регулировочным модулем 7.
В другом варианте выполнения изобретения предусмотрено переключение или регулирование наряду с фазой также нейтрального проводника с помощью переключающего и/или регулировочного модуля (так называемое двойное отключение), поскольку это предпочтительно по соображениям техники безопасности, например, при использовании в сырых помещениях или снаружи.
Поскольку переключающий и/или регулировочный модуль 7 не содержит никаких доступных снаружи проводящих частей, то нет необходимости в подключении провода защитного контакта (заземления) РЕ, и его подключение ограничивается нижней частью 4.
Применение электроустановочного блока согласно изобретению в принципе не ограничивается сетью 110 В (США) или сетью 240 В. Предусматривается также применение в области силовой или трехфазной техники или на борту судов, поездов или самолетов. В других вариантах выполнения может быть предусмотрено регулирование нескольких токопроводящих фаз.
Применение изобретения не ограничивается электроустановочными компонентами, в которых верхняя часть выполнена отдельно от защитной рамы 1. При выполнении в виде одной детали с защитной, соответственно, опорной рамой 1 зоны вставления штепсельной розетки защитная, соответственно, опорная рама 1 выполняется с выемкой 10, кромка которой совпадает при наложении с кромкой установочной зоны.
Формула изобретения
1. Электроустановочный блок, содержащий, по меньшей мере, одну имеющую верхнюю часть (2) и нижнюю часть (4) штепсельную розетку (2, 4) для скрытой установки и один дистанционно управляемый переключающий и/или регулировочный модуль (7), при этом для расположения рядом друг с другом штепсельной розетки (2, 4) и переключающего и/или регулировочного модуля (7) предусмотрена общая защитная, соответственно, опорная рама (1), отличающийся тем, что переключающий и/или регулировочный модуль (7) выполнен весь в виде модуля открытой установки.
2. Электроустановочный блок по п.1, отличающийся тем, что защитная и/или опорная рама (1) выполнена в виде защитной рамы для переключающих или штепсельных розеток электроустановочной техники.
3. Электроустановочный блок по п.1 или 2, отличающийся тем, что дистанционно управляемый переключающий и/или регулировочный модуль (7) имеет защитную крышку (5).
4. Электроустановочный блок по п.1 или 2, отличающийся тем, что защитная и/или опорная рама (1) для фиксирования штепсельной розетки (2, 4) и переключающего и/или регулировочного модуля (7) или его защитной крышки (5) выполнены с совпадающими друг с другом при наложении выемками (10).
5. Электроустановочный блок по п.3, отличающийся тем, что защитная и/или опорная рама (1) для фиксирования штепсельной розетки (2, 4) и переключающего и/или регулировочного модуля (7) или его защитной крышки (5) выполнены с совпадающими друг с другом при наложении выемками (10).
6. Электроустановочный блок по п.1 или 2, отличающийся тем, что при выполнении в виде одной детали защитной и/или опорной рамы (1) зоны вставления штепсельной розетки (2, 4) защитная и/или опорная рама (1) выполнена с выемкой (10), кромка которой при наложении совпадает с кромкой зоны вставления.
7. Электроустановочный блок по п.3, отличающийся тем, что при выполнении в виде одной детали защитной и/или опорной рамы (1) зоны вставления штепсельной розетки (2, 4) защитная и/или опорная рама (1) выполнена с выемкой (10), кромка которой при наложении совпадает с кромкой зоны вставления.
8. Электроустановочный блок по любому из пп.1, 2, 5 или 7, отличающийся тем, что на расположенной на стороне штукатурки внутренней стороне защитной и/или опорной рамы (1) выполнены зажимы (13) для подводящих и/или соединительных проводов.
9. Электроустановочный блок по п.3, отличающийся тем, что на расположенной на стороне штукатурки внутренней стороне защитной и/или опорной рамы (1) выполнены зажимы (13) для подводящих и/или соединительных проводов.
10. Электроустановочный блок по п.4, отличающийся тем, что на расположенной на стороне штукатурки внутренней стороне защитной и/или опорной рамы (1) выполнены зажимы (13) для подводящих и/или соединительных проводов.
11. Электроустановочный блок по п.6, отличающийся тем, что на расположенной на стороне штукатурки внутренней стороне защитной и/или опорной рамы (1) выполнены зажимы (13) для подводящих и/или соединительных проводов.
12. Электроустановочный блок по любому из пп.1, 2, 5, 7, 9, 10 или 11, отличающийся тем, что с помощью дистанционно управляемого переключающего и/или регулировочного модуля (7) можно переключать как фазу (L), так и нейтральный провод (N) штепсельной розетки.
13. Электроустановочный блок по п.3, отличающийся тем, что с помощью дистанционно управляемого переключающего и/или регулировочного модуля (7) можно переключать как фазу (L), так и нейтральный провод (N) штепсельной розетки.
14. Электроустановочный блок по п.4, отличающийся тем, что с помощью дистанционно управляемого переключающего и/или регулировочного модуля (7) можно переключать как фазу (L), так и нейтральный провод (N) штепсельной розетки.
15. Электроустановочный блок по п.6, отличающийся тем, что с помощью дистанционно управляемого переключающего и/или регулировочного модуля (7) можно переключать как фазу (L), так и нейтральный провод (N) штепсельной розетки.
16. Электроустановочный блок по п.8, отличающийся тем, что с помощью дистанционно управляемого переключающего и/или регулировочного модуля (7) можно переключать как фазу (L), так и нейтральный провод (N) штепсельной розетки.
РИСУНКИ
|
|