|
(21), (22) Заявка: 2007132434/28, 27.08.2007
(24) Дата начала отсчета срока действия патента:
27.08.2007
(46) Опубликовано: 20.01.2009
(56) Список документов, цитированных в отчете о поиске:
SU 589840 A1, 07.10.1980. RU 96113639 А, 25.06.1996. RU 2102823 C1, 25.06.1996. CN 2232165 Y, 31.07.1996. EP 1257024, 13.11.2002.
Адрес для переписки:
420111, г.Казань, ул. К. Маркса, 10, Казанский государственный технический университет им. А.Н. Туполева, отдел интеллектуальной собственности
|
(72) Автор(ы):
Ананин Вячеслав Николаевич (RU)
(73) Патентообладатель(и):
Казанский государственный технический университет им. А.Н. Туполева (RU), Ананин Вячеслав Николаевич (RU)
|
(54) ЭЛЕКТРОДНАЯ ПЛАТА БЫСТРОПРОТОЧНОГО ЭЛЕКТРОРАЗРЯДНОГО ЛАЗЕРА С ПОПЕРЕЧНОЙ ПРОКАЧКОЙ ГАЗА
(57) Реферат:
Изобретение относится к области квантовой электроники и может быть использовано при создании электроразрядных лазеров с поперечной прокачкой газа, применяемых в машиностроении, в частности при резке металлов. Электродная плита выполнена с диэлектрическими втулками под взаимозаменяемые электродные элементы. Электродные элементы выполнены в виде полых металлических стержней. Внутренние полости электродных элементов соединены трубками с системой охлаждения. На резьбу электродных элементов накручиваются глухие гайки. Технический результат – увеличение срока службы электродной платы, упрощение изготовления отдельных ее элементов и упрощение ремонта. 3 з.п. ф-лы, 2 ил.
Изобретение относится к области квантовой электроники и может быть использовано при создании электроразрядных лазеров с поперечной прокачкой газа, применяемых в машиностроении, в частности при резке металлов.
Известна электродная система (Технологические лазеры под ред. Г.А.Абельсиитова, 1 том) для газоразрядного лазера с поперечной прокачкой газа, состоящая из анода и катода, выполненных в виде двух параллельных трубок, между которыми продувается газовая смесь.
Недостатком такой схемы являются малые энергетические вложения в газ. А с увеличением количества электродных элементов резко ухудшаются газодинамические характеристики межэлектродного пространства.
Наиболее близким по технической сущности к предлагаемому изобретению является “Электродная плата быстропроточного электроразрядного лазера с поперечной прокачкой газа” (RU А.С. №589840 от 07.10.80 г., Б.И. №37, МПК H01S 3/02), состоящая из несущей диэлектрической плиты и закрепленных на ней взаимозаменяемых электродных элементов, каждый из которых представляет собой полый металлический брусок с плоской рабочей стенкой, покрытый снаружи, за исключением эмитирующего участка на нем, слоем высокотемпературного диэлектрика, внутренний объем которого соединен патрубками с системой охлаждения. В качестве высокотемпературного диэлектрика используется окись алюминия или стеклоэмаль. Крепление электродных элементов на несущей диэлектрической плите осуществляется патрубками с помощью гаек.
Недостатком такой конструкции является малая степень секционированности платы, которая приводит к возникновению разности потенциалов между соседними электродными элементами, что является причиной возникновения электрических пробоев между соседними электродными элементами и выхода из строя всей платы. Кроме того, в результате температурного расширения металлической части электродного элемента или чрезмерной затяжки гаек, происходит растрескивание диэлектрика, покрывающего электродный элемент, и выход из строя электродного элемента. Недостатком такой платы является еще и то, что замена электродных элементов является трудоемким процессом, а конструкция электродного элемента отличается сложностью в изготовлении и дорогостоящей.
Решаемой задачей предлагаемого изобретения является повышение технологичности и ресурса электродной платы.
Техническим результатом данного изобретения является увеличение срока службы электродной платы, упрощение изготовления отдельных ее элементов и упрощение ее ремонта.
Электродная плата быстропроточного электроразрядного лазера с поперечной прокачкой газа состоит из электродной плиты с отверстиями под взаимозаменяемые электродные элементы. Внутренние полости электродных элементов соединены трубками с системой охлаждения. В плите с отверстиями расположены диэлектрические втулки. В диэлектрические втулки вставлены электродные элементы, выполненные в виде полых металлических стержней. На рабочей части стержней выполнена резьба для глухой гайки с эмиттерным участком. Внутренняя полость стержня содержит пластину, разделяющую полость на две части для втекающего и вытекающего потоков хладагента.
В качестве материала плиты выбран стеклотекстолит СТЭФ. В качестве материала диэлектрических втулок выбран фторопласт Ф-4. В качестве материала стержня выбрана нержавеющая сталь 12Х18Н10Т.
Для пояснения технической сущности рассмотрим чертежи:
фиг.1 – схема размещения электродных элементов,
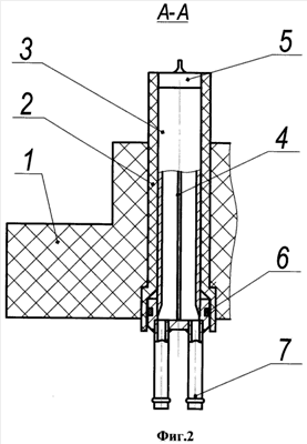
фиг 2 – разрез плиты в месте расположения электродного элемента, где:
1 – Диэлектрическая плита.
2 – Втулка из фторопласта.
3 – Полый стержень.
4 – Пластина для разделения потока хладагента.
5 – Гайка с эмиттерной частью.
6 – уплотнительный элемент.
7 – трубка для подвода хладагента.
Данная плата работает следующим образом:
Диэлектрическая плита 1 со вставленными диэлектрическими 2 втулками монтируется на разрядно-резонаторной камере лазера. Сборка электродных элементов осуществляется путем накручивания гаек 5 с эмиттерным участком и установкой резиновых уплотнительных колец 6 на полые стержни 3, изготовленные в несколько операций на токарном станке. Собранные электродные элементы устанавливаются по скользящей посадке в диэлектрические втулки на плите. Герметизация соединений достигается за счет резиновых уплотнительных колец. Электродные элементы приваренными к ним трубками 7 соединяются с системой охлаждения и высоковольтным источником питания. Пластина 4 разделяет полость стержня на две части – втекающего и вытекающего потоков хладагента.
После этого, в подготовленном к работе лазере, подается напряжение источника питания к разрядно-резонаторной камере и в потоке газа создается однородный и стабильный электрический разряд.
В процессе работы происходит электроэрозия эмиттерных участков электродных элементов. С учетом этого, необходимо периодически заменять гайки с эмиттерными участками на новые. Для этого, при выключенном питании высоковольтного источника и разгерметизированном газодинамическом контуре лазера, необходимо отсоединить электродный элемент от системы охлаждения и высоковольтного источника. После чего вынуть его из платы, выкрутить старую гайку, заменить на новую и повторить действия в обратном порядке. При этом демонтировать всю электродную плату с лазера не нужно.
По сравнению с известными аналогами данная электродная плата обладает примерно втрое большим ресурсом в результате увеличения степени секционированности. Также она имеет преимущества по технологичности. К примеру, изготовление полого стержня осуществляется всего в несколько операций на токарном автомате. При замене электродных элементов нет необходимости в демонтаже всей платы с лазера. Преимуществом также является то, что эмиттерная часть выполнена на гайке и при регламенте заменяется только гайка, а не весь электродный элемент. Это ведет к значительной экономии средств на изготовление и поддержание работоспособности платы.
Формула изобретения
1. Электродная плата быстропроточного электроразрядного лазера с поперечной прокачкой газа, содержащая электродную плиту с отверстиями под взаимозаменяемые электродные элементы, внутренние полости которых соединены трубками с системой охлаждения, отличающаяся тем, что в плите с отверстиями расположены диэлектрические втулки, в которые установлены электродные элементы и выполнены в виде полых металлических стержней с резьбой для глухой гайки с эмиттерным участком на рабочей части, причем внутренняя полость стержня содержит пластину, разделяющую полость на две части для втекающего и вытекающего потоков хладагента.
2. Плата по п.1, отличающаяся тем, что в качестве материала плиты выбран стеклотекстолит СТЭФ.
3. Плата по п.1, отличающаяся тем, что в качестве материала диэлектрических втулок выбран фторопласт Ф-4.
4. Плата по п.1, отличающаяся тем, что в качестве материала стержня выбрана нержавеющая сталь 12Х18Н10Т.
РИСУНКИ
|