|
|
(21), (22) Заявка: 2007120205/06, 30.05.2007
(24) Дата начала отсчета срока действия патента:
30.05.2007
(46) Опубликовано: 20.01.2009
(56) Список документов, цитированных в отчете о поиске:
RU 2192675 С1, 10.11.2002. RU 443 U1, 16.05.1995. RU 2184401 C1, 27.06.2002. US 4783312 А, 08.11.1988. GB 1028248 А, 04.05.1966.
Адрес для переписки:
433510, Ульяновская обл., г. Димитровград-10, ФГУП “ГНЦ РФ НИИАР”
|
(72) Автор(ы):
Чакин Владимир Павлович (RU), Ижутов Алексей Леонидович (RU), Петелин Алексей Леонидович (RU), Посевин Алексей Олегович (RU)
(73) Патентообладатель(и):
Федеральное государственное унитарное предприятие “Государственный научный центр Российской Федерации Научно-исследовательский институт атомных реакторов” (RU)
|
(54) ОТРАЖАТЕЛЬ НЕЙТРОНОВ ЯДЕРНОГО РЕАКТОРА
(57) Реферат:
Изобретение относится к области атомной энергетики и может быть использовано в конструкциях элементов из бериллия для отражения и замедления нейтронов в ядерных реакторах. Отражатель нейтронов ядерного реактора содержит герметичный чехол из конструкционного материала. Внутри чехла установлен блок из бериллия. Блок составлен, по меньшей мере, из двух частей. Между блоком и чехлом выполнен зазор. Толщину чехла целесообразно выбирать из условия обеспечения прочности и радиационной стойкости до достижения флюенса нейтронов не менее 7·1022 см-2 с энергией свыше 0,8 МэВ. В качестве материала чехла может быть выбран материал с низким сечением поглощения нейтронов и высокой радиационной стойкостью при флюенсе нейтронов не менее 7·1022 см-2 с энергией свыше 0,8 МэВ. Преимущественно выбирают сплавы на основе алюминия или циркония. Зазор между блоком и чехлом предпочтительно составляет не менее 0,01 эффективного размера блока из бериллия. Отражатель может быть дополнительно снабжен дистанционаторами для обеспечения зазора между блоком и чехлом. Дистанционаторы выполнены в виде упругих элементов. Зазор между блоком и чехлом дополнительно может быть заполнен инертным газом. В качестве инертного газа целесообразно выбрать криптон, ксенон или их смесь с гелием. Изобретение позволяет увеличить ресурс отражателя нейтронов из бериллия. 7 з.п. ф-лы, 2 ил.
Изобретение относится к области атомной энергетики и может быть использовано в конструкциях элементов из бериллия для отражения и замедления нейтронов в ядерных реакторах.
Наиболее важными требованиями, предъявляемыми к конструкции отражателя нейтронов из бериллия, являются его высокое сопротивление радиационному повреждению и сохранение целостности изделия до флюенсов не менее 7·1022 см-2 для нейтронов с энергией свыше 0,8 МэВ (Е 0,8 МэВ).
В ядерных реакторах в качестве отражателей, а также замедлителей, нейтронов, как правило, используются конструкции в виде массивных, цельных пластин или блоков из металлического бериллия высотой до полуметра и более (Исследовательские реакторы института и их экспериментальные возможности. Под ред. В.А.Цыканова. НИИАР, Димитровград, 1992, с.13). Сверху и снизу такой блок ограничен металлическими фланцами (обычно из алюминия или нержавеющей стали), а несущим нагрузку, обеспечивающим цельность и жесткость конструкции является сам материал блока, бериллий. Недостатком данной конструкции является подверженность материала блока растрескиванию и последующему разрушению в процессе эксплуатации в активной зоне реактора при достижении флюенса из интервала (1,5-3)·1022 см-2 (Е 0,8 МэВ). Причинами этого эффекта являются накопление радиационных повреждений в бериллии (радиационные дефекты типа дислокационных петель и атомы гелия, появившиеся при протекании ядерных реакций атомов бериллия с нейтронами) и наличие значительных по величине термических и других напряжений в массиве блока, возникающих вследствие неравномерности разогрева и радиационного повреждения блока по сечению и высоте. В результате деградации механических свойств бериллия, что выражается в охрупчивании и разупрочнении материала, напряжения в блоке приводят к образованию трещин и последующему их распространению по массиву блока, что ведет к его преждевременному выводу из эксплуатации.
В качестве прототипа, то есть наиболее близкого аналога к настоящему изобретению, рассматривается конструкция отражателя нейтронов ядерного реактора (В.П.Чакин, В.А.Казаков, А.В.Клинов, Р.Р.Мельдер, В.В.Пименов, М.Н.Святкин, А.В.Туктабиев, И.Б.Куприянов. Отражатель нейтронов ядерного реактора. Патент РФ №2192675, опубл. БИ №31 от 10.11.2002 г.), в которой блок из бериллия составлен из не менее чем трех частей, опорная конструкция выполнена в виде опорных элементов, проходящих внутри и снаружи блока, при этом между верхним и/или нижним торцами блока и соответствующими фланцами размещены упругие элементы. Недостатком данной конструкции является тот факт, что характер радиационного повреждения бериллия как материала блока в области эксплуатационных температур 60-100°С таков, что практически отсутствует релаксация внутренних напряжений, связанных с накоплением радиационных дефектов типа дислокационных петель и радиогенных атомов гелия. Это связано с тем, что в данной области температур, которая носит название низкотемпературной, диффузионная подвижность собственных атомов и радиогенных атомов гелия низка. В результате с ростом нейтронной дозы происходит накопление значительных по величине внутренних напряжений, которые при достижении предела прочности ведут к образованию, распространению трещин и фрагментации бериллиевого блока на мелкие части. Это приводит к значительному сокращению ресурса эксплуатации блока отражателя нейтронов в реакторе.
Целью данного изобретения является увеличение ресурса отражателя нейтронов из бериллия путем создания конструкции, обладающей повышенным сопротивлением радиационному повреждению.
Поставленная цель достигается тем, что отражатель нейтронов ядерного реактора содержит герметичный чехол из конструкционного материала, внутри которого установлен блок из бериллия, причем блок составлен, по меньшей мере, из двух частей, а между блоком и чехлом выполнен зазор. При этом толщина чехла выбирается из условия обеспечения прочности и радиационной стойкости до достижения флюенса нейтронов не менее 7·1022 см-2 с энергией свыше 0,8 МэВ, а в качестве материала чехла выбран материал с низким сечением поглощения нейтронов и высокой радиационной стойкостью при флюенсе нейтронов не менее 7·1022 см-2 с энергией свыше 0,8 МэВ, преимущественно сплавы на основе алюминия или циркония. Зазор между блоком и чехлом составляет не менее 0,01 эффективного размера блока из бериллия. Для обеспечения зазора могут применяться дистанционаторы, которые выполнены, например, в виде упругих элементов. Зазор между блоком и чехлом может быть дополнительно заполнен инертным газом, в качестве которого выбран преимущественно криптон, ксенон или их смесь с гелием.
Размещение блока из бериллия в герметичном чехле из конструкционного материала позволяет принципиальным образом изменить характер радиационного повреждения бериллия, то есть снизить повреждающую способность нейтронного облучения. Это достигается в результате того, что изоляция бериллиевого блока от водяного теплоносителя приводит к увеличению температуры бериллия, которая достигает величины 300-400°С. В результате возрастает диффузионная подвижность собственных и газовых атомов, что приводит к образованию иной конфигурации радиационных дефектов. В частности, вместо дислокационных петель и находящихся в псевдорастворенном состоянии атомов гелия под облучением формируются радиационные дефекты в виде плоских газовакансионных пор шестиугольной формы. Результаты исследований механических характеристик показывают, что подобный характер микроструктуры является более благоприятным для свойств бериллия, то есть его склонность к охрупчиванию и образованию трещин значительно снижаются. Это происходит вследствие того, что при возрастании диффузионной подвижности атомы гелия более равномерно распределяются по структуре, в частности частично попадают внутрь плоских шестиугольных пор.
Кроме этого наружный чехол, являясь опорной конструкцией, позволяет сохранить работоспособность блока даже в случае его растрескивания, поскольку, как правило, признаком потери работоспособности бериллиевого блока является его фрагментация на части.
Толщина стенки чехла выбирается исходя из условий сохранения достаточного уровня прочности и других свойств материала чехла, характеризующих его радиационную стойкость, то есть сопротивление радиационному повреждению до достижения флюенса нейтронов не менее 7·1022 см-2 с энергией свыше 0,8 МэВ, и устанавливается экспериментально. Данная величина флюенса нейтронов определяет существующий в настоящее время ресурс эксплуатации бериллиевых блоков в ядерном реакторе. Кроме того, появление в активной зоне реактора дополнительного конструкционного материала в виде герметичного чехла не должно приводить к существенному снижению нейтронно-физических характеристик отражателя нейтронов, поэтому в качестве материала чехла выбраны материалы, имеющие низкое сечение поглощения нейтронов, каковыми являются преимущественно сплавы на основе алюминия или циркония.
Эффективный размер бериллиевого блока является его геометрической характеристикой, которая означает способность блока выполнять заданные функции отражателя или замедлителя нейтронов в активной зоне ядерного реактора. Экспериментально установлено, что оптимальной является величина зазора не менее 0,01 эффективного размера бериллиевого блока. Это определяется необходимостью обеспечения температуры облучения из области 300-400°С, которая является оптимальной с точки зрения достижения минимального радиационного повреждения бериллия. При величине зазора менее 0,01 эффективного размера бериллиевого блока температура облучения будет ниже 300°С, что приведет к сильному радиационному повреждению бериллия. Кроме того, в этом случае вследствие нарастания распухания бериллия с увеличением флюенса нейтронов в процессе облучения возможно появление значительных по величине напряжений в чехле, которые могут привести к его разрушению, поступлению воды внутрь чехла и снижению рабочей температуры бериллиевого блока с последующим его повреждением.
Разбиение блока из бериллия на две и более частей позволяет значительно снизить уровень напряжений, возникающих в материале при эксплуатации блока в реакторе, поскольку величина термических напряжений и напряжений, возникающих в массиве бериллиевого блока вследствие неравномерности радиационного повреждения различных его областей, пропорционально зависит от размера блока. Чем больше размер блока, тем выше напряжения. Поэтому разбиение блока на автономные части позволяет снизить общий уровень напряжений в материале блока. Поскольку величина нейтронного потока зависит от высоты активной зоны по функции косинуса, то степень радиационного повреждения материала блока и уровень возникающих напряжений в соответствующих точках будут находиться в такой же зависимости от высоты. Поэтому разбиение блока по высоте на несколько частей позволит в несколько раз снизить напряжения. Разбиение блока на составные части может быть проведено не только в сечениях по высоте и в перпендикулярном направлении, но и в промежуточных сечениях, то есть под углом 0-180° к вертикальной оси блока в зависимости от расчетной эффективности снижения уровня термических напряжений в блоке в результате подобного разбиения.
В качестве среды в зазоре между чехлом и бериллиевым блоком может быть использован инертный газ, имеющий низкую теплопроводность, например криптон, ксенон или их смесь с гелием. Низкая теплопроводность необходима для увеличения термического сопротивления газового зазора и, соответственно, повышения температуры облучения бериллия до оптимальной с точки зрения минимума радиационного повреждения (300-400°С). Экспериментально определяется и устанавливается также давление газа в зазоре исходя из вида и состава газа.
Новые существенные признаки в научной и технической литературе не обнаружены, предложенное решение не следует явным образом из уровня техники, совокупность признаков обеспечивает новые свойства, что позволяет сделать вывод, что заявляемое решение соответствует критерию изобретательский уровень.
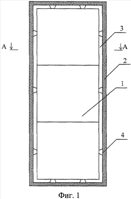
На фигуре 1 представлен чертеж отражателя нейтронов ядерного реактора СМ, на фигуре 2 – горизонтальное сечение. Отражатель нейтронов состоит из бериллиевого блока, составленного в данном случае из трех частей (1), которые размещены последовательно друг за другом по высоте внутри герметичного чехла (2) с зазором (3) между бериллиевым блоком и внутренней поверхностью чехла, который поддерживается дистанционаторами (4). Представленный вариант конструкции отражателя нейтронов из бериллия соответствует существующей компоновке активной зоны реактора СМ. Поперечное сечение отражателя прямоугольное, он расположен более протяженной стороной к активной зоне реактора. При высоте активной зоны реактора СМ 350 мм общая длина бериллиевого блока из трех частей составляет 500 мм. Эффективным размером бериллиевого блока в данном случае является ширина блока в направлении активной зоны, которая имеет величину 26 мм. Соответственно, минимальная величина зазора между бериллиевым блоком и внутренней поверхностью чехла составит 0,26 мм. Теплофизические расчеты показывают, что в случае использования в зазоре газа криптон величина зазора составит 0,8 мм при давлении 0,1 МПа. В качестве дистанционаторов использованы V-образные упругие элементы, выполненные из нержавеющей стали Х13. Толщина чехла в случае изготовления из сплава алюминия САВ-1 составит 1,2 мм, из сплава циркония Э110 – 1 мм.
Предлагаемое техническое решение приблизительно в два-пять раз увеличит ресурс отражателя нейтронов из бериллия, что позволит достичь цели изобретения.
Формула изобретения
1. Отражатель нейтронов ядерного реактора, содержащий герметичный чехол из конструкционного материала, внутри которого установлен блок из бериллия, причем блок составлен, по меньшей мере, из двух частей, а между блоком и чехлом выполнен зазор.
2. Отражатель по п.1, характеризующийся тем, что толщина чехла выбирается из условия обеспечения прочности и радиационной стойкости до достижения флюенса нейтронов не менее 7·1022 см-2 с энергией свыше 0,8 МэВ.
3. Отражатель по п.1, характеризующийся тем, что в качестве материала чехла выбран материал с низким сечением поглощения нейтронов и высокой радиационной стойкостью при флюенсе нейтронов не менее 7·1022 см-2 с энергией свыше 0,8 МэВ, преимущественно сплавы на основе алюминия или циркония.
4. Отражатель по п.1, характеризующийся тем, что зазор между блоком и чехлом составляет не менее 0,01 эффективного размера блока из бериллия.
5. Отражатель по п.1, характеризующийся тем, что дополнительно снабжен дистанционаторами для обеспечения зазора между блоком и чехлом.
6. Отражатель по п.5, характеризующийся тем, что дистанционаторы выполнены в виде упругих элементов.
7. Отражатель по п.1, характеризующийся тем, что зазор между блоком и чехлом дополнительно заполнен инертным газом.
8. Отражатель по п.7, характеризующийся тем, что в качестве инертного газа выбран преимущественно криптон, ксенон или их смесь с гелием.
РИСУНКИ
Другие изменения, связанные с зарегистрированными изобретениями
Изменения:
Зарегистрирован переход исключительного права без заключения договора Дата и номер государственной регистрации перехода исключительного права: 27.11.2009/РП0000337 Патентообладатель: Открытое акционерное общество «Государственный научный центр Научно-исследовательский институт атомных реакторов» Прежний патентообладатель: Федеральное государственное унитарное предприятие «Государственный научный центр Российской Федерации – Научно-исследовательский институт атомных реакторов»
Номер и год публикации бюллетеня: 2-2009
Извещение опубликовано: 10.01.2010 БИ: 01/2010
|
|