|
|
(21), (22) Заявка: 2005140060/09, 21.05.2004
(24) Дата начала отсчета срока действия патента:
21.05.2004
(30) Конвенционный приоритет:
23.05.2003 DE 10323409.8
(43) Дата публикации заявки: 20.07.2007
(46) Опубликовано: 20.01.2009
(56) Список документов, цитированных в отчете о поиске:
GB 2093179 A, 25.08.1982. SU 465676 A, 10.07.1975. SU 1157419 A1, 29.05.1985. RU 2189345 C2, 25.07.1995. US 5436716 A, 25.07.1995. DE 19840482 A1, 09.03.2000.
(85) Дата перевода заявки PCT на национальную фазу:
23.12.2005
(86) Заявка PCT:
EP 2004/005514 (21.05.2004)
(87) Публикация PCT:
WO 2004/104948 (02.12.2004)
Адрес для переписки:
101000, Москва, М.Златоустинский пер., 10, кв.15, “ЕВРОМАРКПАТ”, пат.пов. Р.А.Каксису, рег.№ 899
|
(72) Автор(ы):
ВУНДЕРЕР Бернд (DE), ХОЛЛЬ Норберт (DE)
(73) Патентообладатель(и):
ГИЗЕКЕ УНД ДЕВРИЕНТ ГМБХ (DE)
|
(54) УСТРОЙСТВО ДЛЯ ПРОВЕРКИ БАНКНОТ
(57) Реферат:
Изобретение относится к средствам проверки банкнот. Техническим результатом является использование источника меньшей яркости с обеспечением как можно большего контраста между светлым фоном и светом, проходящим через банкноту за счет рассеяния. Устройство содержит линейный датчик и линейный источник света, в устройстве банкноты для их проверки перемещаются между датчиком и источником света, проходя мимо них, причем датчик регистрирует проходящий через банкноты свет от источника света. В основу изобретения положена идея выполнения линейного датчика и линейного источника света с определенной апертурой таким образом, чтобы апертура источника света была равна апертуре датчика или была меньше ее. 9 з.п. ф-лы, 1 ил.
Изобретение относится к устройству для проверки банкнот, которое содержит линейный датчик и линейный источник света и в котором банкноты для их проверки перемещаются между датчиком и источником света, проходя мимо них, причем датчик регистрирует проходящий через банкноты свет от источника.
Устройства такого типа известны, например, из DE 19840482 А1 и обычно называются “датчиками для измерений в проходящем свете”, поскольку датчик регистрирует и анализирует свет, излучаемый источником света и проходящий через проверяемые банкноты. При этом в зависимости от организации освещения различают измерения по методу светлого поля, когда свет от источника попадает на детектор, и измерения по методу темного поля, когда свет от источника не попадает на детектор. При организации освещения по методу темного поля детектор регистрирует лишь рассеянный банкнотой свет, т.е. свет, измененный в направлении детектора.
Известные светлопольные устройства, как они описаны, например, в GB 2093179 А, часто используются для распознавания формата банкнот и/или выявления имеющихся у них повреждений (дефектов), например разрывов или отверстий, за счет отбрасывания тени. Для этого, с одной стороны, необходим светлый фон, позволяющий, например, уверенно отличать поврежденные участки от темных запечатанных участков. С другой стороны, сама тень должна быть как можно более темной. Для распознавания повреждений, прежде всего небольших повреждений (таких как проколы иглой или слегка раскрытые разрывы), а также перфорированных лазером отверстий диаметром порядка 0,05 мм контраст между банкнотами и фоном должен быть как можно более высоким. Вышесказанное относится и к участкам с максимальным пропусканием, например, к незапечатанным или даже прозрачным участкам, таким, например, как видимые на просвет метки на банкнотах с полимерной основой.
Кроме того, в обычных системах обработки банкнот плоскость транспортировки банкнот задается лишь приблизительно, банкноты могут отклоняться в обе стороны от заданной плоскости транспортировки, что ведет к изменению рабочих отрезков до осветительной оптической системы и формирующей изображение оптической системы. Для того чтобы такие отклонения не приводили к колебаниям интенсивности и масштаба, обе оптические системы должны быть выполнены в достаточной степени телецентричными, т.е. они должны работать лишь со световыми лучами, отклоняющимися от параллелей к оптической оси лишь на несколько градусов.
В известных устройствах для проверки банкнот по методу светлого поля в качестве фона обычно используется однострочная линейка чип-светодиодов или поверхность с задней подсветкой. Такой подход не позволяет достичь высокого контраста, который был бы возможен при оптимальном освещении, поскольку банкноту освещают также те световые лучи, которые вследствие их направленности относительно оптической оси привносят свою долю в рассеянный свет, но не в фоновую подсветку.
Исходя из вышеизложенного в основу настоящего изобретения была положена задача предложить такое устройство для проверки банкнот, содержащее линейный датчик и линейный источник света, где банкноты для их проверки в таком устройстве перемещаются между датчиком и источником света, проходя мимо них, а датчик регистрирует проходящий через банкноты свет от источника света, которое обходилось бы источником света по возможности меньшей яркости при как можно более высоком контрасте между светлым фоном и светом, проходящим через банкноту за счет рассеяния. Кроме того, в таком устройстве должны допускаться лишь небольшие колебания масштаба при отклонении банкнот от заданной плоскости транспортировки.
Эта задача решается с помощью устройства, охарактеризованного признаками, указанными в пункте 1 формулы изобретения.
Соответственно, объектом изобретения является устройство для проверки банкнот, которое содержит линейный датчик и линейный источник света и в котором банкноты для их проверки перемещаются между датчиком и источником света, проходя мимо них, а датчик регистрирует проходящий через банкноты свет от источника света, причем линейный датчик и линейный источник света имеют каждый определенную апертуру, и апертура источника света равна апертуре датчика или меньше ее, при этом обе апертуры достаточно малы. Источник света содержит цилиндр Ульбрихта, имеющий расширяющийся в направлении выхода света канал с наклонными зеркальными стенками.
Предлагаемое в изобретении устройство имеет то преимущество, что за счет согласования апертур источника света и датчика все испускаемые источником световые лучи, освещающие регистрируемый детектором участок банкноты, в отсутствие банкноты достигают детектора. Поэтому яркость источника можно выбрать столь малой, чтобы освещенность в плоскости транспортировки банкнот могла быть не выше значения, необходимого для выдачи датчиком максимального сигнала при отсутствии банкноты между источником света и датчиком. Это позволяет использовать в устройстве источник света небольшой яркости, чем достигается существенное уменьшение теряемой мощности. Кроме того, применение цилиндра Ульбрихта обеспечивает однородное линейное освещение с заданной апертурой.
Кроме того, за счет скорректированной апертуры освещения достигается минимизация света, рассеиваемого проверяемыми банкнотами, что обеспечивает высокий контраст. Этот контраст (который в данном случае определяется как частное от деления уровня сигнала при отсутствии банкноты на уровень сигнала при наличии банкноты) при построении изображения в масштабе 1:1 и идеальном рассеянии света в банкноте в соответствии с законом Ламберта (в сферическую характеристику в полупространстве) приблизительно равен частному от деления 16-кратного диафрагменного числа К, определяющего апертуру (обратная которому величина называется относительной апертурой), на коэффициент Т пропускания банкноты (который всегда меньше единицы).
Таким образом, если и осветительная, и формирующая изображение системы имеют апертуру, соответствующую диафрагменному числу К=2, максимально достижимый контраст при ламбертовском рассеивании приблизительно равен 64-кратному обратному коэффициенту пропускания 1/Т, а при диафрагменном числе К=4 – уже 256-кратному.
В одном из вариантов выполнения предлагаемое в изобретении устройство имеет однотипные самофокусирующиеся линзы “SELFOC®“, установленные перед источником света и перед датчиком и обладающие однотипными свойствами в отношении формирования изображений (оптическими свойствами). Они представляют собой параллельную матрицу оптоволоконных стержневых линз малого диаметра с прямым отображением в масштабе 1:1. Для отображения линейного (строчного) объекта эта матрица располагается по существу по линии в направлении отображаемой строки в один или несколько перпендикулярных ему рядов. Формируемые отдельными стержневыми линзами изображения объекта накладываются друг на друга, образуя линейное (строчное) изображение. Апертура отдельных стержневых линз определяет апертуру всего изображения. Чем меньше эта апертура (для рассматриваемого варианта применения характерны диафрагменные числа в интервале от 2 до 5), тем выше контраст, тем ближе линии хода лучей в осветительной и формирующей изображение системах к идеальному случаю телецентрического хода лучей и тем меньше изменения масштаба, обусловленные отклонением банкнот от плоскости транспортировки.
Использование недорогих линз “SELFOC®” вообще впервые позволяет реализовать приближающийся к телецентрическому ход лучей в компактной системе и при существенно меньших затратах. Обычные телецентрические объективы на практике имеют очень большие размеры. В частности, диаметр таких объективов должен быть равен наибольшему из размеров снимаемого ими участка или объекта, который в устройстве для проверки банкнот равен ширине зоны проверки, составляющей приблизительно 100 мм. Порядок величины фокусного расстояния такого известного объектива должен быть аналогичным, а конструктивная длина обычно превышает значения указанных параметров еще в три-четыре раза.
Еще одно преимущество описанного выше варианта осуществления изобретения заключается в том, что благодаря малой протяженности или размеру линз “SELFOC®” в направлении транспортировки проверяемых банкнот предлагаемое в изобретении устройство может легко встраиваться в транспортные системы машин для обработки банкнот. В частности, малая протяженность этих линз также позволяет выполнять предлагаемое в изобретении устройство на участке свободного движения банкноты, т.е. когда система транспортировки банкнот только доходит до передней и задней границ предлагаемого в изобретении устройства, не заходя в зону работы этого устройства, что исключает перекрытие банкнот элементами транспортной системы и позволяет проверять банкноты полностью.
Другие преимущества настоящего изобретения более подробно описаны ниже со ссылкой на прилагаемый чертеж.
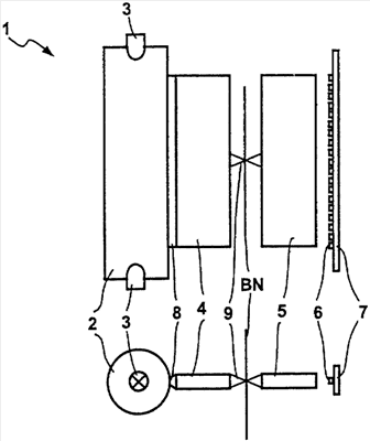
На этом чертеже показана принципиальная схема устройства 1 для проверки банкнот BN при взгляде на него в направлении транспортировки проверяемых банкнот, а также в виде сбоку.
Устройство 1 для проверки банкнот BN содержит линейный источник 2, 3, 4 света и линейный датчик 5, 6, 7. Линейный датчик 5, 6, 7 может быть образован линейным носителем 7 с фотодиодами или же линейной матрицей на приборах с зарядовой связью (ПЗС) или на комплементарных металлооксидных полупроводниках (КМОП). При использовании доступных в продаже компонентов такой датчик может без проблем иметь разрешение порядка 0,1 мм. Протяженность линейного источника 2, 3, 4 света и линейного датчика 5, 6, 7 такова, чтобы по крайней мере соответствовать размеру наибольшей проверяемой банкноты. Однако в предпочтительном варианте осуществления изобретения эта протяженность превышает размер наибольшей проверяемой банкноты, чтобы края банкноты попадали в поле зрения датчика и при отклонениях положения банкноты относительно датчика от номинального. В зависимости от ориентации проверяемых банкнот под размером банкнот понимается либо их длина, либо их ширина.
Линейный источник 2, 3, 4 света и линейный датчик 5, 6, 7 имеют определенные апертуры (в обеих показанных на чертеже секущих плоскостях соответствующие световые пучки обозначены позицией 9), причем апертура источника 2, 3, 4 света равна апертуре датчика 5, 6, 7 или меньше ее. Апертуры источника 2, 3, 4 света и датчика 5, 6, 7 могут определяться изображающей системой 4 источника 2, 3, 4 света и изображающей системой 5 датчика 5, 6, 7 соответственно. В предпочтительном варианте изображающие системы 4 и 5 имеют однотипную конструкцию и обладают однотипными свойствами в отношении формирования изображений. Эти изображающие системы 4 и 5 могут быть образованы линзами. Наиболее пригодны для использования в оптических системах 4 и 5 матрицы линз, т.е. линейно расположенные градиентные линзы, создающие изображение в масштабе 1:1 и захватывающие только лучи в узком угловом диапазоне. Такие линейно располагаемые градиентные линзы известны под обозначением “SELFOC®“. Дополнительное преимущество линейно расположенных градиентных линз заключается в том, что они имеют лишь небольшую протяженность в направлении транспортировки проверяемых банкнот, составляющую, например, 2 мм. Это позволяет встраивать устройство 1 в транспортную систему машины для обработки банкнот с обеспечением так называемого участка свободного движения банкноты, т.е. когда в зоне устройства 1 отсутствуют какие-либо части транспортной системы, благодаря чему устройство 1 или его датчик 5, 6, 7 может полностью охватить поверхности проверяемых банкнот.
Помимо этого изображающие системы 4 и/или 5 могут применяться в сочетании с не показанными на чертеже диафрагмами, обеспечивающими возможность дополнительной регулировки апертуры.
Линейный источник 2, 3, 4 света излучает преимущественно однородный свет. Для этого в предпочтительном варианте осуществления изобретения этот источник 2, 3, 4 выполнен в виде цилиндра Ульбрихта 2 с осветительными средствами 3, например светодиодами или лазерными диодами. Посредством изображающей системы 4 цилиндр Ульбрихта 2 равномерно освещает участок поверхности в плоскости проверяемых банкнот, причем светящаяся поверхность образована задней стенкой цилиндра Ульбрихта 2. Однородность светового потока достигается многократными рассеянными отражениями света от стенок цилиндра Ульбрихта 2 и формированием изображающей системой 4, фокус которой расположен приблизительно посередине цилиндра Ульбрихта 2, нерезкого изображения задней стенки этого цилиндра. При длине цилиндра 100 мм, радиусе цилиндра 10 мм и ширине его выходной щели 1 мм можно достичь кпд, соответствующего примерно 15% выходящего света. Если непосредственно к стенке цилиндра подсоединить канал 8, расширяющийся по направлению к изображающей системе 4, например, от 1 мм до 2 мм, с зеркальными стенками, наклоненными под углом около 30°, то кпд вывода света можно примерно удвоить с соответствующим уменьшением мощности осветительных средств 3.
Для дополнительного увеличения кпд (эффективности использования излучаемого света) в выходной щели цилиндра Ульбрихта 2 могут быть установлены призменные пленки или отражательные поляризаторы (например, марки “VIKUITI ” концерна “3М”). Они были разработаны для увеличения светового потока, распространяющегося в пределах полезного угла обзора, а также для обеспечения сопровождающейся минимумом потерь поляризации в жидкокристаллических дисплеях. Кроме того, детектирование поляризованного света при помощи параллельного поляризатора со стороны датчика 5, 6, 7 обеспечивает дополнительное повышение контраста в два раза, поскольку рассеяние устраняет поляризацию и тем самым в два раза уменьшает уровень сигнала.
В случае размещения осветительных средств 3 показанным на чертеже образом, на концах цилиндра Ульбрихта 2, из-за непрерывных потерь при выводе излучения в продольном направлении возникает падение интенсивности по направлению к середине. Указанная неоднородность тем существеннее, чем меньше коэффициент диффузного отражения стенок цилиндра Ульбрихта 2. При заданном коэффициенте отражения однородный вывод излучаемого света достигается, если частично выполнить стенку цилиндра отражающей на отдельных участках таким образом, чтобы лучи с этих участков напрямую не попадали в изображающую систему 4.
В другом варианте однородность светового потока обеспечивается за счет использования нескольких осветительных средств 3, входящих сбоку во внутреннее пространство цилиндра Ульбрихта 2. В этом варианте осветительные средства целесообразно располагать на определенном удалении от концов цилиндра – например, на 1/4 и 3/4 его длины.
Особенно выгодным является применение устройства 1 для проверки банкнот BN при определении формата проверяемых банкнот BN и/или выявлении их повреждений, таких, например, как разрывы или отверстия, для чего достаточно обработать двоичный сигнал, который получают путем сравнения уровня выдаваемого датчиком 5, 6, 7 сигнала с соответствующим пороговым значением и который позволяет благодаря описанному выше высокому контрасту с высокой точностью обнаруживать даже небольшие отверстия и разрывы. В частности, это позволяет выявлять указанные в начале описания небольшие дефекты, так называемые микроотверстия и микроразрывы, возникшие в результате прокалывания банкноты иглой или лазерной перфорации.
Также целесообразно использовать устройство 1 для проверки банкнот BN с целью проверки участков с максимальным пропусканием, например, незапечатанных или прозрачных участков, таких как видимые на просвет метки на банкнотах с полимерной основой. Устройство способно выявлять повреждения, например разрывы и/или отверстия, включая указанные выше микродефекты, например микроотверстия, соответственно микроразрывы, даже на таких участках.
Выявление повреждений можно улучшить, если при проверке банкнот устройством 1 использовать средства раскрытия имеющихся у банкнот повреждений, таких как разрывы и/или отверстия. В качестве такого средства может использоваться направляемый на поверхность банкноты BN сжатый воздух. Вместо сжатого воздуха могут использоваться и механические средства, мнущие или изгибающие банкноты и тем самым облегчающие выявление имеющихся у них повреждений. Описанные выше активные средства для раскрытия повреждений заметно облегчают выявление повреждений, прежде всего вышеупомянутых микроотверстий и микроразрывов.
Дальнейшего улучшения процесса обработки сигналов датчика 5, 6, 7 можно достичь, если формировать и/или обрабатывать генерируемые датчиком 5, 6, 7 сигналы таким образом, чтобы они имели несколько уровней, т.е. формировать и/или обрабатывать эти сигналы как сигналы градаций серого.
Формула изобретения
1. Устройство (1) для проверки банкнот (BN), которое содержит линейный датчик (5, 6, 7) и линейный источник (2, 3, 4) света и в котором банкноты (BN) для их проверки перемещаются между датчиком (5, 6, 7) и источником (2, 3, 4) света, проходя мимо них, а датчик (5, 6, 7) регистрирует проходящий через банкноты (BN) свет от источника (2, 3, 4) света, причем линейный датчик (5, 6, 7) и линейный источник (2, 3, 4) света имеют каждый определенную апертуру (9) и апертура источника (2, 3, 4) света равна апертуре датчика (5, 6, 7) или меньше ее, отличающееся тем, что источник (2, 3, 4) света образован цилиндром Ульбрихта (2), имеющим расширяющийся в направлении выхода света канал (8) с наклонными зеркальными стенками.
2. Устройство по п.1, отличающееся тем, что апертуры (9) датчика (5, 6, 7) и источника (2, 3, 4) света определяются соответствующими изображающими системами (4 и 5).
3. Устройство по п.2, отличающееся тем, что изображающие системы (4 и 5) имеют однотипную конструкцию и обладают однотипными свойствами в отношении формирования изображений.
4. Устройство по п.2, отличающееся тем, что изображающие системы (4 и 5) образованы линзами.
5. Устройство по п.4, отличающееся тем, что линзы образованы линейно расположенными градиентными линзами.
6. Устройство по п.1, отличающееся тем, что линейный источник (2, 3, 4) света по меньшей мере на части своей протяженности испускает однородное световое излучение.
7. Устройство по одному из пп.1-6, отличающееся тем, что со стороны источника (2, 3, 4) света и со стороны датчика предусмотрено по одному поляризатору, причем поляризаторы ориентированы параллельно.
8. Устройство по одному из пп.1-6, отличающееся тем, что в нем предусмотрены средства для раскрытия имеющихся у банкнот (BN) повреждений.
9. Устройство по п.8, отличающееся тем, что оно применяется для выявления повреждений, прежде всего микроразрывов и/или микроотверстий.
10. Устройство по одному из пп.1-6, отличающееся тем, что оно применяется для выявления повреждений, прежде всего микроразрывов и/или микроотверстий.
РИСУНКИ
|
|