|
|
(21), (22) Заявка: 2004123920/28, 04.08.2004
(24) Дата начала отсчета срока действия патента:
04.08.2004
(30) Конвенционный приоритет:
05.08.2003 US 1.10/604.622
(43) Дата публикации заявки: 20.01.2006
(46) Опубликовано: 20.01.2009
(56) Список документов, цитированных в отчете о поиске:
SU 900823 A3, 23.01.1981. SU 1223849 A3, 07.04.1986. RU 29785 U1, 27.05.2003. GB 2376076 A, 04.12.2002. US 5508616 A, 16.06.1996.
Адрес для переписки:
129090, Москва, ул. Б.Спасская, 25, стр.3, ООО “Юридическая фирма Городисский и Партнеры”, пат.пов. Ю.Д.Кузнецову, рег.№ 595
|
(72) Автор(ы):
РОСТАЛ Ричард А. (US), ЧЕН Куо Чианг (US), ХЕЙЗЕН Гэри А. (US), БАРБЕР Томас Д. (US), КИББЕ Чарльз (US), СМИТ Роберт К. (US), БОННЕР Стефен Д. (US), ОЛИВЕР Дэвид Т. (US)
(73) Патентообладатель(и):
ШЛЮМБЕРГЕР ТЕКНОЛОДЖИ Б.В. (NL)
|
(54) УСТРОЙСТВО И СПОСОБЫ ДЛЯ СНИЖЕНИЯ ВЛИЯНИЯ СКВАЖИННЫХ ТОКОВ
(57) Реферат:
Изобретение относится к электромагнитному каротажу. Сущность: скважинное каротажное устройство содержит проводящую оправку, антенную решетку, расположенную вокруг проводящей оправки, муфту, расположенную над антенной решеткой, по меньшей мере одну контактную проставку. Антенная решетка содержит множество антенн, расположенных на изолирующих опорах. По меньшей мере одна контактная проставка имеет по меньшей мере один проводниковый канал с установленным в нем контактным узлом. Муфта содержит по меньшей мере один электрод. По меньшей мере один электрод и контактный узел выполнены с возможностью обеспечения радиально проводящего пути от наружной поверхности скважинного каротажного устройства в проводящую оправку. Технический результат: эффективное устранение влияния скважинных токов. 3 н. и 9 з.п. ф-лы, 10 ил.
Область техники
Изобретение относится к устройству и способам снижения влияния диаметра скважины и/или для внесения поправки на это влияние при подземных измерениях.
Уровень техники
В области разведки и добычи углеводородов известны различные методы каротажа сопротивления. Эти методы включают в себя гальванический (боковой электрический каротаж с фокусировкой тока) метод, метод электромагнитной (ЭМ) индукции, и они обычно используют каротажные устройства или «зонды», с источниками, предназначенными для испускания энергии (напряжение или электромагнитное поле) по буровой скважине в подземную формацию. Испускаемая энергия взаимодействует с окружающей формацией и формирует сигналы, которые определяются одним или более датчиками на каротажном устройстве. Обработка обнаруженных сигналов обеспечивает профиль характеристик данной формации.
Для получения высококачественных измерений эти устройства (в частности, индукционные устройства) должны оставаться приблизительно центрированными в скважине. Если индукционное устройство не центрировано относительно скважины, то в скважине могут быть сформированы большие сигналы, взаимодействующие с сигналами от самой формации. При использовании тросовых устройств и каротажных устройств в процессе бурения или устройств измерения во время бурения постоянно удерживать устройства по центру ствола скважины трудно. Изменение сигнала при перемещении измерительного устройства от центра скважины к стенке скважины называется «эффектом отклонения» или «расцентрированием». Если устройство не находится по центру скважины, то выполнение при разных азимутальных углах измерения могут иметь такие же последствия эффекта отклонения, как при потере устройством направленной чувствительности.
Последствия отклонения и расцентрирования сказываются на работе разных устройств в разной степени. В отношении каротажного устройства сопротивления эти нежелательные последствия вызваны сопротивлением бурового раствора или по причине токов, возникающих в буровом растворе в стволе скважины («скважинные токи»). Варианты осуществления настоящего изобретения относятся к способам снижения любых этих нежелательных последствий, особенно последствий, связанных со скважинными токами. Эти способы, как правило, применимы ко всем типам каротажных устройств сопротивления. Но, для пояснения, приводимое ниже описание использует каротаж электромагнитной индукции для отражения проблем, связанных со скважинными токами, и для пояснения способов, используемых для минимизации этих проблем. Специалисту в данной области техники будет ясно, что осуществления данного изобретения не ограничены электромагнитными индукционными устройствами каротажа, и в частности они предусматривают свое применение в аналогичных устройствах, известных как устройства распространения, например промышленно выпускаемое компенсируемое матричное устройство сопротивления, изготавливаемое Schlumber Technology Corporation.
Методы каротажа ЭМ-индукцией подразделяются на две группы: тросовые устройства и устройства каротажа в процессе бурения. Тросовый каротаж предусматривает опускание устройства в скважину на конце электрического кабеля для получения геофизических подземных измерений. Методы каротажа в процессе бурения используют устройства, установленные на муфтах бурового снаряда, для осуществления измерения во время бурения скважины.
Обычные тросовые устройства ЭМ-каротажа имеют антенны, которые могут функционировать как источники и/или как датчики. На тросовых устройствах ЭМ-каротажа антенны обычно находятся внутри корпуса из прочного пластмассового (изолирующего) материала, например из слоистого стекловолоконного материала, пропитанного эпоксидной смолой. В устройствах ЭМ-каротажа в процессе бурения антенны обычно установлены в металлических опорах (муфтах) для защиты от сильно воздействующей окружающей среды, присутствующей при бурении. Либо эти устройства могут быть выполнены из термопластичных (изолирующих) материалов. Термопластичные материалы этих устройств обеспечивают непроводящую конструкцию для установки антенн. Патент США №6084052 (переуступленный данному правопреемнику) раскрывает композитные каротажные устройства, используемые с тросовыми или устройствами каротажа в процессе бурения.
И на тросовых, и на устройствах каротажа в процессе бурения антенны обычно отстоят друг от друга по оси устройства. Эти антенны обычно выполнены в виде катушек соленоидного типа с одним витком, или множеством витков изолированного проводника, намотанного на опоре. Патенты США №№4651101, 4873488 и 5235285 (все переуступлены данному правопреемнику), например, раскрывают устройства с антеннами, расположенными вдоль центральной металлической опоры.
При функционировании: передающая антенна возбуждается переменным током и излучает ЭМ-энергию через текучую среду скважины (здесь также называемую буровым раствором) в формацию. Сигналы, обнаруживаемые антенной приемника, обычно представлены сложным числом (фазное напряжение) и отражают взаимодействия излучаемой энергии с буровым раствором и формацией.
Катушку (или антенну), по которой проходит ток, можно представить как магнитный диполь, магнитный момент которого пропорционален току и площади. Направление и величина магнитного момента могут быть представлены вектором, перпендикулярным плоскости катушки. В обычных каротажных устройствах индукции и распространения антенны передатчика и приемника установлены таким образом, что их магнитные диполи выровнены по продольной оси устройств. То есть эти устройства имеют продольные магнитные диполи (ПМД). Когда ПМД-устройство установлено в скважине и возбуждается для излучения им ЭМ-энергии, при этом индуцируемые вихревые токи протекают в контурах вокруг антенны в скважине и в окружающей формации. Эти вихревые токи протекают в плоскостях, перпендикулярных оси устройства (значит – оси скважины). Поэтому вихревые токи вверх или вниз скважины не протекают.
Развивающаяся сейчас методика каротажа ЭМ-индукцией заключается в использовании устройств, имеющих наклонные или поперечные антенны, т.е. магнитные диполи антенн наклонены относительно оси устройства или перпендикулярны к ней. То есть эти устройства имеют поперечные или наклонные магнитные диполи (НМД). Эти НМД-устройства могут индуцировать вихревые токи, которые протекают в плоскостях, не перпендикулярных оси скважины. Поэтому НМД-устройства могут обеспечивать измерения, чувствительные к наклонным плоскостям, разломам формаций или к анизотропии формации. Каротажные устройства с НМД-устройствами описываются, например, в патентах США №№4319191, 5508616, 5757191, 5781436, 6044325 и 6147496.
Хотя НМД-устройства могут обеспечивать улучшенные измерения на основе значений сопротивления формации, эти устройства сильно подвержены воздействию скважинных токов, особенно в высококонтрастных ситуациях, т.е. когда буровой раствор в скважине имеет проводимость выше проводимости формации. При возбуждении НМД-устройства в центре ствола скважины (поз.20 на Фиг.1а) могут индуцироваться вихревые токи, протекающие вверх и вниз по скважине. Но вследствие симметрии протекающие вверх и вниз токи аннулируются, и в скважине суммарный ток отсутствует. При расцентрировании НМД-устройства симметрия может исчезнуть. Если НМД-устройство расцентрировано в направлении, параллельном направлению магнитного диполя его антенны (поз.22 на Фиг.1а), то симметрия по отношению к антенне сохраняется и на оси скважины суммарного тока не будет при возбуждении антенны. Но если НМД-устройство будет расцентрировано в направлении, перпендикулярном направлению магнитного диполя его антенны (поз.21 на Фиг.1а), то симметрии более не будет, и будут присутствовать суммарные токи, протекающие вверх или вниз по стволу скважины при возбуждении антенны. В высококонтрастных ситуациях (т.е. при наличии проводящего бурового раствора или обладающей сопротивлением формации) скважинные токи могут протекать на большое расстояние по стволу скважины. При прохождении этих токов через НМД-приемники они будут индуцировать нежелательные сигналы, которые могут быть во много раз сильнее сигналов от формации.
Некоторые из этих нежелательных последствий можно ослабить при обработке данных. Например, патент США №5041975 (переуступленный данному правопреемнику) раскрывает методику обработки данных измерений в забое скважины с поправкой на влияние диаметра скважины и ее гидродинамического совершенства на данные каротажа. Патент США №5058077 раскрывает методику обработки данных датчика в забое скважины с поправкой на влияние, оказываемое на показания датчика вращением не по центру во время бурения. Патент США №6541979 (переуступленный данному правопреемнику) раскрывает методику снижения влияния расцентрирования в стволе скважины с помощью математической поправки на влияние скважинных токов.
Альтернативно, нежелательное влияние скважинных токов можно минимизировать во время сбора данных. Например, патент США 6573722 (переуступленный данному правопреемнику) раскрывает способы минимизации скважинных токов, проходящих через НМД-антенны. Этот патент включен в данное описание в качестве ссылки. Согласно одному из осуществлений электрод, расположенный под НМД-антенной, жестко смонтирован с другим электродом, расположенным над НМД-антенной, для обеспечения проводящего пути под НМД-антенной. Этот дополнительный проводящий путь сокращает количество скважинных токов, проходящих перед НМД-антенной, и поэтому минимизирует нежелательное влияние. Но при жестком монтаже возможна утечка тока или потеря электрической целостности в связи с сильным воздействием со стороны окружающей среды (высокая температура и высокое давление) в забое скважины. Согласно еще одному осуществлению раскрывают устройство, которое генерирует локализованный ток в стволе скважины (между двумя электродами, расположенными по обеим сторонам НМД-антенны), и это противодействует или нейтрализует нежелательные скважинные токи. Но локализованный ток как таковой отрицательно сказывается на НМД-антенне, хотя и в меньшей степени, чем скважинные токи.
Хотя способы и устройства известного уровня техники обеспечивают средства для снижения влияния скважинных токов, все же существует необходимость дальнейших усовершенствований в развитии простых и рентабельных способов и устройств для уменьшения или устранения нежелательного влияния скважинных токов.
Сущность изобретения
Согласно одному аспекту варианты осуществления настоящего изобретения относятся к скважинным каротажным устройствам, имеющим динамические контакты, которые обеспечивают радиальные проводящие пути, для уменьшения или устранения скважинных токов, проходящих через антенну приемника. Скважинное каротажное устройство согласно настоящему изобретению содержит проводящую оправку; антенную решетку, расположенную вокруг проводящей оправки; при этом антенная решетка содержит множество антенн, установленных на изолирующих опорах, и по меньшей мере одну контактную проставку, при этом по меньшей мере одна контактная проставка имеет по меньшей мере один проводниковый канал с установленным в нем контактным узлом; и втулку, расположенную над антенной решеткой и содержащую по меньшей мере один электрод; при этом по меньшей мере один электрод и контактный узел обеспечивают радиально проводящий путь от наружной поверхности скважинного каротажного устройства к проводящей оправке.
Другой аспект изобретения относится к скважинным каротажным устройствам, имеющим динамические контакты, обеспечивающие радиальные проводящие пути, для уменьшения или устранения токов ствола скважины, проходящих через антенну приемника. Скважинное каротажное устройство согласно настоящему изобретению содержит проводящую оправку; антенную решетку, расположенную вокруг проводящей оправки, при этом антенная решетка содержит множество антенн на изолирующих опорах и по меньшей мере одну контактную проставку, содержащую электрически анизотропный материал; и муфту, расположенную над антенной решеткой, причем муфта содержит по меньшей мере один электрод; при этом по меньшей мере один электрод и по меньшей мере одна контактная проставка выполнены с возможностью обеспечения радиально проводящего пути от наружной поверхности скважинного каротажного устройства к проводящей оправке.
Согласно другому аспекту изобретение также относится к способам индукционного каротажа с помощью индукционного каротажного устройства, размещенного в стволе скважины; причем индукционное каротажное устройство имеет внутреннюю проводящую оправку, по меньшей мере одну антенну с поперечным магнитным диполем и по меньшей мере один радиально проводящий путь, связывающий внутреннюю проводящую оправку по меньшей мере с одним электродом, открытым на поверхности индукционного каротажного устройства; при этом по меньшей мере один радиально проводящий путь содержит контактный узел для обеспечения динамических контактов с внутренней проводящей оправкой и по меньшей мере с одним электродом. Способ каротажа сопротивления, предусматривающий уменьшение влияния скважинных токов, согласно осуществлению настоящего изобретения предусматривает этапы, согласно которым передают электромагнитную энергию от антенны передатчика в индукционном каротажном устройстве в формацию; позволяют токам в стволе скважины протекать по меньшей мере через один радиально проводящий путь к внутренней проводящей оправке; и измеряют индуцированный сигнал в антенне приемника индукционного каротажного устройства.
Прочие особенности и преимущества настоящего изобретения будут очевидны из приводимого ниже описания и прилагаемой формулы изобретения.
Перечень чертежей
Фиг.1а – иллюстрирует параллельное и перпендикулярное расцентрирование антенны на электромагнитном каротажном устройстве в стволе скважины.
Фиг.1b – иллюстрирует индуцированные скважинные токи, протекающие в стволе скважины вблизи перпендикулярно расцентрированного каротажного устройства.
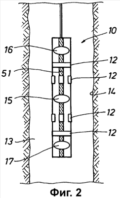
Фиг.2 – иллюстрирует каротажное устройство с различными электродами, находящееся в стволе скважины.
Фиг.3 – иллюстрирует электромагнитное каротажное устройство с электродами динамического контакта согласно варианту осуществления настоящего изобретения.
Фиг.4 – иллюстрирует электромагнитное каротажное устройство с электродами динамического контакта согласно другому варианту осуществления настоящего изобретения.
Фиг.5 – иллюстрирует электромагнитное каротажное устройство с электродами динамического контакта согласно осуществлению настоящего изобретения.
Фиг.6а и 6b – иллюстрируют контактную проставку электромагнитного каротажного устройства с электродами динамического контакта согласно варианту осуществления настоящего изобретения.
Фиг.6с-6d – иллюстрируют вариант контактной проставки электромагнитного каротажного устройства, показанного на Фиг.6а и 6b.
Фиг.7 – иллюстрирует электромагнитное каротажное устройство с электродами динамического контакта согласно другому варианту осуществления настоящего изобретения.
Фиг.8 – иллюстрирует электромагнитное каротажное устройство с электродами динамического контакта согласно другому варианту осуществления настоящего изобретения.
Фиг.9 – иллюстрирует контактную проставку электромагнитного каротажного устройства с электродами динамического контакта согласно другому варианту осуществления настоящего изобретения.
Фиг.10 – представляет способ уменьшения влияния скважинных токов с помощью электромагнитного каротажного устройства с динамическими контактными электродами согласно варианту осуществления настоящего изобретения.
Варианты осуществления настоящего изобретения относятся к способам и устройствам для уменьшения или устранения нежелательных влияний, обусловленных скважинными токами. Согласно некоторым вариантам осуществления изобретения устройство согласно изобретению обеспечивает надежные проводящие пути, отклоняющие скважинные токи от приемника в устройстве сопротивления. Варианты осуществления настоящего изобретения могут противостоять сильно воздействующим условиям в забое скважины.
Как указано выше, многие нежелательные влияния обусловлены скважинными токами, являющимися результатом расцентрирования устройства. Фиг.1а показывает поперечный или наклонный магнитный диполь (НМД) 20, находящийся в центре ствола скважины и который может быть расцентрирован в стволе скважины 13 в двух возможных направлениях. Эти два направления названы параллельным расцентрированием 22 (параллельным направлению магнитного диполя антенны) и перпендикулярным расцентрированием 21. Параллельное расцентрирование 22 обусловливает вихревые токи в стволе скважины. Благодаря симметричности суммарные токи не протекают вверх или вниз по стволу скважины. При этом устройство при параллельном расцентрировании 22 не создает нежелательные последствия в большей степени, чем это делает устройство, находящееся точно в центре ствола скважины 20. Напротив, устройство при перпендикулярном расцентрировании 21 индуцирует вихревые токи, протекающие вверх и вниз по стволу скважины, но без симметрии, нейтрализующей протекающие вверх и вниз токи. Поэтому перпендикулярное расцентрирование 21 обусловит значительные скважинные токи 23 – Фиг.1b. Скважинные токи 23 формируют сильный сигнал в приемнике 24 в устройстве 10 сопротивления.
Перпендикулярное расцентрирование 21 и параллельное расцентрирование 22 согласно Фиг.1а показывают предельные смещения устройства от центра ствола скважины. В типичном случае расцентрирование будет, вероятно, между этими двумя предельными смещениями.
Настоящее изобретение предлагает простое и рентабельное решение указанных трудностей, возникающих в связи со скважинными токами. Устройство и способы согласно настоящему изобретению уменьшают или устраняют скважинные токи за счет обеспечения радиальных проводящих путей, направляющих скважинные токи через внутреннюю оправку устройства, тем самым уменьшая скважинные токи, проходящие через антенну приемника.
Фиг.2 показывает скважинное каротажное устройство 10 с одной или более антенными решетками согласно варианту осуществления настоящего изобретения. Скважинное каротажное устройство может быть тросовым, каротажным или измеряющим во время бурения устройством, перемещаемым по стволу скважины. Устройство может быть индукционным, исследующим формацию с помощью измерений напряжений, или устройством распространения, исследующим формацию с помощью измерений сдвига фазы и затухания. Профиль сопротивления формации можно определять в реальном времени – с направлением полученных с сигналом данных на поверхность по мере их получения, либо его можно определять путем регистрации данных на соответствующем носителе записи (не показан) в устройстве 10.
Набор антенных решеток («антенная решетка») расположен вокруг проводящей оправки 51 в скважинном каротажном устройстве 10. Хотя использование проводящей оправки считалось нежелательным для индукционных скважинных каротажных устройств, Barber и др. доказали, что проводящая оправка (например, из меди или нержавеющей стали) может использоваться в индукционных каротажных устройствах и обеспечивать более надежное и прочное устройство. Подробно см. патенты США №№4651101 и 4873488, Barber и др. Как показано на Фиг.2, антенная решетка может содержать передатчик 15, верхний приемник 16 и нижний приемник 17. Передатчик 15 и приемники 16 и 17 могут быть ПМД-, НМД-устройствами или их комбинациями. Эти передатчики и приемники являются типичными антеннами на непроводящих опорных элементах, и антенны вместе с опорными элементами тогда располагаются вокруг проводящей оправки. Антенны могут быть антеннами соленоидного типа, рамочными антеннами или катушечной конструкцией, создающей поперечный магнитный диполь.
Антенная решетка расположена в устройстве 10 внутри изолированной муфты (далее – «муфта») 11. Муфта 11 защищает антенную решетку. Муфта 11 герметично крепится к устройству 10 на последней стадии сборки: посредством продвижения по устройству 10 и установки вблизи набора решеток. Муфта 11 может быть выполнена из любого долговечного и прочного используемого в промышленности изолирующего материала, например из композита, эластомера или каучука.
Согласно Фиг.2 имеется по меньшей мере одна пара электродов 12, встроенных в муфту 11 таким образом, что передатчик 15 крепится сверху и снизу парой электродов 12. Электроды 12 выходят в окружающую среду 13 ствола скважины. Электроды 12 могут быть одиночными (например, кнопочными) электродами или кольцевыми (охватывающими муфту), например ленточными или кольцевыми электродами. Вариант осуществления изобретения, использующий одиночные электроды 12, может иметь множественные электроды 12, азимутально встроенные в одинаковом продольном положении вдоль зоны доступа устройства. Электроды 12 могут быть выполнены из любого долговечного и прочного проводящего материала, обычно используемого в промышленности, либо из материала по выбору специалиста.
Согласно предпочтительному варианту осуществления и муфта 11, и электроды 12 изготовлены из долговечных и прочных материалов, чтобы ограничить эрозию (или износ), вызываемую трением о стенку 14 ствола скважины, или коррозию, обусловленную едкими свойствами среды 13 в стволе скважины.
Поскольку муфта 11 выполнена из изолирующих материалов, поэтому электроды 12 из известного уровня техники связаны монтажными проводами между верхними и нижними электродами 12, чтобы создавать проводящий путь позади передатчика 15 (или приемников 16 и 17), чтобы токи протекали под передатчиком 15 (или приемниками 16 и 17). Но эти проводные соединения нередко отказывают в сильно воздействующей окружающей среде забоя скважины, где температуры могут достигать 300F и более, и давление – 20000 фунтов/кв.дюйм или выше. Отказ проводных соединений часто обусловлен разными коэффициентами теплового расширения различных материалов, используемых в устройстве.
Варианты осуществления настоящего изобретения решают эти проблемы с помощью гибких соединений (динамический контакт), которые могут приспосабливаться к разным тепловым расширениям, вместо непосредственного жесткого монтажа для формирования проводящего пути между электродами и проводящей оправкой. Варианты осуществления согласно настоящему изобретению также учитывают тот факт, что муфта 11 продвигается по набору антенн при завершении сборки. То есть соединение между электродами 12 в муфте 11 и внутренней оправкой не может быть жестко смонтированным, поскольку муфта 11 надвигается последней.
Фиг.3 представляет сечение части полностью собранного скважинного каротажного устройства 10 согласно варианту осуществления изобретения. Антенная решетка, содержащая проставки 54, бобины 50 и контактные проставки 53, собрана на внутренней оправке 51 (которая может быть проводящей или металлической оправкой, монтажным проводом, металлическим штырем или стойкой и пр.; далее – «проводящая оправка»). Изолирующая муфта 11 со встроенными в ней электродами 12 закрывает и защищает антенную решетку. Показан также узел электрического контакта («контактный узел») 52, расположенный в проводниковом канале 55, содержащемся в контактной проставке 53. Контактный узел 52 вместе с электродами 12 образует проводящий путь от наружной поверхности устройства к проводящей оправке 51. Контактный узел 52 имеет пружину, как показано на чертеже только для пояснения. Используемый здесь термин «контактный узел» указывает общую конструкцию, обеспечивающую проводящий путь от электрода 12 к проводящей оправке 51. Контактный узел может иметь любую форму, например – проводниковый элемент, проводниковый элемент с двумя пружинными пластинами, пружину с двумя концевыми пластинами, и др., согласно приводимому ниже более подробному описанию. Помимо этого проводниковый элемент, содержащий контактный узел, в некоторых вариантах осуществления может быть встроен в контактную проставку 53.
В предпочтительных вариантах осуществления соединение между электродом 12 и контактным узлом 52 не является жестким монтажом, как и соединение между контактным узлом 52 и проводящей оправкой 51. Это обусловлено тем, что проводящая оправка 51 может характеризоваться различными значениями теплового расширения, когда устройство 10 подвергается воздействию повышенных температур. Например, удлинение антенной решетки из-за теплового расширения может быть наименьшим, поскольку большинство компонентов выполнено из непроводящей керамики. С другой стороны, проводящая оправка 51 будет иметь существенное расширение, поскольку металлы имеют обычно более высокие коэффициенты теплового расширения.
Поэтому согласно вариантам осуществления настоящего изобретения контактный узел 52 функционирует динамично, обеспечивая электрическую целостность между окружающей средой ствола скважины (т.е. снаружи устройства), контактирующего с электродом 12 и проводящей оправкой 51, когда температура изменяется. Число контактных узлов 52 и радиальное расположение их совпадает с электродами 12. Эти проводящие пути позволяют токам протекать радиально (от наружной поверхности устройства в ось устройства) из окружающей среды ствола скважины в проводящую оправку 51 и устранять или минимизировать токи, протекающие по оси ствола скважины.
Фиг.4 показывает сечение части скважинного каротажного устройства 10; подробно показан контактный узел 52 согласно одному из вариантов осуществлений настоящего изобретения. Как показано на указанном чертеже, контактный узел 52 является простым установленным на пружине контактным устройством, содержащим внешнюю контактную головку 52а, внутреннюю контактную головку 52b и пружину 52с. Все детали контактного узла 52 предпочтительно выполнены из проводящего материала. Контактный узел 52 установлен в проводниковом канале 55 в контактной проставке 53, которая является составной частью антенной решетки и изолирует контактный узел 52 от других компонентов в антенной решетке. Пружина 52с обеспечивает противодействующее усилие на внешнюю контактную головку 52а и внутреннюю контактную головку 52b. Прилагаемое усилие должно быть достаточным для обеспечения электрического контакта между внешней контактной головкой 52а и электродом 12 в соединении 61 независимо от перемещения, вызываемого различающимися степенями теплового расширения между муфтой 11 и антенной решеткой. Аналогично, это пружинящее усилие обеспечивает электрический контакт между внутренней контактной головкой 52b и проводящей оправкой 51 в соединении 60 независимо от перемещения, вызываемого различающимися степенями теплового расширения между проводящей оправкой 51 и антенной решеткой.
Внешняя и внутренняя контактные головки 52а и 52b могут иметь любую форму и размер и могут изменяться в зависимости от конкретной конструкции устройства. Пружина 52с может быть прикреплена к внешней и внутренней контактным головкам 52а и 52b любым обычно используемым в промышленности способом. Например, внешняя и внутренняя контактные головки 52а и 52b могут иметь обратный по отношению друг к другу спиральный профиль, соответствующий спиральной форме пружины 52с, с небольшим зацеплением в соединении, исключающим возможность отсоединения их друг от друга. Либо соединение между пружиной и контактными головками можно спаять для обеспечения еще более надежного, но менее гибкого соединения.
Фиг.5 показывает сечение части скважинного каротажного устройства 10 согласно еще одному варианту осуществления настоящего изобретения. Контактный узел 52 содержит пружину 52с внутри внешней и внутренней контактных головок 52а и 52b (которые могут быть выполнены из листового металла или другого проводящего материала, сформованного в виде каркаса). Контактный узел 52 находится внутри проводникового канала 55 в контактной проставке 53. Внешняя и внутренняя контактные головки 52а и 52b соединены таким образом, чтобы обеспечивать электрическую целостность. При этом это соединение позволяет внешней и внутренней головкам 52а и 52b отсоединяться друг от друга за счет скользящего перемещения под воздействием усилия пружины 52с и таким образом обеспечивать контакт с электродом 12 и проводящей оправкой 51.
Фиг.6а и 6b показывают контактную проставку 53, содержащую подпружиненные контактные узлы согласно одному из осуществлений настоящего изобретения. Контактный узел 52 и контактная проставка 53 выполнены в виде автономного блока. Внешняя контактная головка 52а и внутренняя контактная головка 52b контактного узла выступают из изолирующей контактной проставки 53, за счет чего они могут контактировать с электродами (поз.12 на Фиг.3) и с проводящей оправкой (поз.51 на Фиг.3) соответственно.
Фиг.6b показывает поперечное сечение контактной проставки 53, показанной на Фиг.6а. Этот чертеж показывает, что пружина 52с, внешняя контактная головка 52а и внутренняя контактная головка 53 радиально расположены внутри проводникового канала 55 в контактной проставке 53. Согласно Фиг.6b внешняя контактная головка 52а и внутренняя контактная головка 52b имеют больший диаметр, чем пружина 52с (контактный узел имеет форму раструба), и поэтому контактный узел не будет соскальзывать с проводникового канала 55. Специалисту в данной области техники будут очевидны возможные различные модификации в рамках объема настоящего изобретения. Например, Фиг.6с показывает вариант контактного узла 52, который имеет плечо 52s на внутренней контактной головке. Например, Фиг.6d показывает возможность установки таких контактных узлов 52 в проводниковые каналы 55 в контактной проставке 53 изнутри кольца контактной проставки. После установки контактных узлов 52 и после установки контактной проставки 53 на оправке (не показано) выход контактных узлов 52 из проводниковых каналов 55 предотвращается оправкой.
Контактные узлы 52, показанные на Фиг.3-6, используют пружины для обеспечения динамических контактов. Специалисту в данной области техники будет ясно, что в рамках объема настоящего изобретения можно осуществить многие модификации. Например, Фиг.7 показывает сечение части скважинного каротажного устройства 10 согласно еще одному осуществлению настоящего изобретения. На этих чертежах показано, что контактный узел 52 не имеет пружины, но содержит две пружинные пластины 52d и 52е на обоих концах проводникового элемента 52f. В этом варианте осуществления проводниковый элемент 52f находится внутри проводникового канала 55 и обеспечивает проводящий путь через контактную проставку 53. Динамические контакты обеспечены внешней контактной пружинной пластиной 52d и внутренней контактной пружинной пластиной 52е. Пружинные пластины 52d и 52е выполнены из проводящего материала, обычно используемого в промышленности.
Внешняя и внутренняя пружинные пластины 52d и 52е могут быть вставлены с защелкиванием в паз 53а типа «ласточкина хвоста», вырезанный в контактной проставке 53. Либо их можно прикрепить к контактной проставке 53 другими средствами, например винтами или болтами. Внешняя и внутренняя пружинные пластины 52d и 52е могут иметь рессорную пружину 52g для создания усилия, обеспечивающего динамические контакты с электродом 12 и проводящей оправкой 51 соответственно, независимо от перемещения, обусловленного различающимися степенями теплового расширения между проводящей оправкой 51, антенной решеткой и втулкой 11.
Фиг.8 показывает сечение варианта контактного узла 52, показанного на Фиг.7. Как показано на этом чертеже, контактный узел 52 установлен в проводниковом канале 55 – как на Фиг.7. Но проводниковый элемент 52f может выступать на обоих концах из проводникового канала 55 в контактной проставке 53, для осуществления контакта с внешней и внутренней пружинными пластинами 52d и 52е. В этом варианте осуществления внешняя и внутренняя пружинные пластины 52d и 52е вставлены с защелкиванием в пазы 12а и 51а типа «ласточкин хвост» соответственно, а не в контактную проставку 53, показанную на Фиг.7.
Фиг.9 показывает сечение контактной проставки, показанной на Фиг.8, и иллюстрирует радиальное расположение проводниковых элементов 52f, в котором они будут распложены внутри проводникового канала 55 контактной проставки 53.
Как указано выше, варианты осуществления данного изобретения обеспечивают радиальные пути тока из окружающей среды ствола скважины (с наружной поверхности устройства) в проводящую внутреннюю оправку для уменьшения или устранения скважинных токов, которые в ином случае будут протекать минуя приемник. Радиальные пути желательны, поскольку токи в азимутальном направлении (т.е. вокруг оси устройства) будут создавать помехи измерениям в ПМД- или НМД-приемнике, и при этом продольная проводимость (по оси устройства) будет создавать помехи измерениям в НМД-приемнике. Согласно одному из вариантов осуществления настоящего изобретения устранение азимутальных или продольных токов можно обеспечить с помощью выполнения контактной проставки 53 из электрически анизотропного материала. Анизотропный материал позволит токам протекать радиально, а не азимутально или продольно. Согласно этим осуществлениям проводниковый элемент 52f и проводниковый канал 55, показанные на Фиг.7-9, будут составной частью контактной проставки 53. Динамический контакт может быть обеспечен пружинными пластинами, установленными на электродах (12 на Фиг.7) и на проводящей оправке (51 на Фиг.7) или на контактной проставке 53.
Приводимое выше описание представляет собой примеры осуществлений в соответствии с настоящим изобретением. Специалисту в данной области техники будет ясно, что в рамках объема настоящего изобретения могут быть сконструированы другие контактные узлы. Например, помимо пружин или пружинных пластин, упоминаемых выше, контактные узлы могут содержать другие механические или гидравлические устройства, оказывающие усилие на концевые пластины, чтобы контактный узел обеспечивал контакты с электродами на втулке и проводящей оправке. Хотя на Фиг.3 показано множество электродов 12, в некоторых осуществлениях может оказаться достаточным одиночный электрод 12, например соседние детали устройства в сборе могут содержать проводники, которые могут обеспечивать токовые шунты для уменьшения или устранения скважинных токов. Как указано выше, данное описание в качестве примера использует электромагнитные индукционные каротажные устройства. Но варианты осуществления настоящего изобретения могут быть применимыми и для других каротажных устройств сопротивления.
Фиг.10 представляет способ 100 для уменьшения влияния скважинных токов в соответствии с осуществлениями настоящего изобретения. Во-первых, индукционное каротажное устройство или каротажное устройство распространения (например, 10 на Фиг.2) располагают в стволе скважины (этап 101). Каротажное устройство имеет внутреннюю проводящую оправку и по меньшей мере один динамический контактный узел, связывающий проводящую оправку по меньшей мере с одним электродом, открытым на наружной поверхности корпуса устройства. Динамический контактный узел и открытый электрод обеспечивают радиально проводящий путь для токов, протекающих из ствола скважины во внутреннюю оправку. В соответствии с вариантами осуществления настоящего изобретения контакт между контактным узлом и внутренней оправкой, или контакт между контактным узлом и электродом, или и то и другое жестко не монтируются, и поэтому динамические контакты можно обеспечивать даже в условиях разных температурных расширений разных деталей каротажного устройства.
Индукционное каротажное устройство передает электромагнитную энергию в формацию (этап 103). Электромагнитная энергия может также индуцировать скважинные токи – в зависимости от расцентрирования устройства. При индуцировании скважинных токов радиальный проводящий путь на устройстве шунтирует скважинные токи через проводящую внутреннюю оправку (этап 105). То есть радиальный проводящий путь уменьшает величины скважинных токов, проходящих через антенну приемника.
Преимуществами изобретения являются удобные и недорогостоящие способы и устройство для эффективного устранения скважинных токов, которые могут быть помехой для измерений сопротивления. Устройство в соответствии с настоящим изобретением обеспечивает эффективные радиальные электрические пути из ствола скважины во внутреннюю оправку устройства независимо от разных коэффициентов теплового расширения разных материалов, используемых в устройстве.
Хотя настоящее изобретение изложено относительно ограниченного числа вариантов осуществлений, специалистам в данной области техники, использующим концепции данного изобретения, будет ясно, что в рамках раскрываемого здесь объема изобретения могут быть выполнены и другие варианты осуществления. Соответственно объем настоящего изобретения должен ограничиваться только прилагаемой формулой изобретения.
Формула изобретения
1. Скважинное каротажное устройство, содержащее:
проводящую оправку;
антенную решетку, расположенную вокруг проводящей оправки; причем антенная решетка содержит множество антенн, расположенных на изолирующих опорах, и по меньшей мере одну контактную проставку, при этом по меньшей мере одна контактная проставка имеет по меньшей мере один проводниковый канал, имеющий установленный в нем контактный узел; и
муфту, расположенную над антенной решеткой, при этом муфта содержит по меньшей мере один электрод, причем по меньшей мере один электрод и контактный узел выполнены с возможностью обеспечения радиально проводящего пути от наружной поверхности скважинного каротажного устройства в проводящую оправку.
2. Скважинное каротажное устройство по п.1, в котором контактный узел содержит пружину, выполненную с возможностью формирования динамических контактов по меньшей мере с одним электродом и проводящей оправкой.
3. Скважинное каротажное устройство по п.1, в котором контактный узел содержит проводниковый элемент, имеющий пружинные пластины, прикрепленные к его концам, при этом пружинные пластины выполнены с возможностью формирования динамических контактов по меньшей мере с одним электродом и проводящей оправкой.
4. Скважинное каротажное устройство по п.3, в котором каждая из указанных пружинных пластин расположена в пазе в виде «ласточкина хвоста» на контактной проставке.
5. Скважинное каротажное устройство по п.1, в котором контактный узел содержит проводниковый элемент и по меньшей мере один электрод и проводящая оправка имеет пружинные пластины, выполненные с возможностью формирования динамических контактов с проводниковым элементом.
6. Скважинное каротажное устройство по п.5, в котором проводниковый элемент является составной частью контактной проставки.
7. Скважинное каротажное устройство по п.1, в котором по меньшей мере одна антенна из числа указанного множества антенн имеет поперечный магнитный диполь.
8. Скважинное каротажное устройство, содержащее:
проводящую оправку;
антенную решетку, расположенную вокруг проводящей оправки; причем антенная решетка содержит множество антенн, расположенных на изолирующих опорах, и по меньшей мере одну контактную проставку, выполненную из электрически анизотропного материала, и
муфту, расположенную над антенной решеткой, при этом муфта содержит по меньшей мере один электрод, причем по меньшей мере один электрод и по меньшей мере одна контактная проставка выполнены с возможностью обеспечения радиально проводящего пути от наружной поверхности скважинного каротажного устройства в проводящую оправку.
9. Скважинное каротажное устройство по п.8, в котором по меньшей мере один электрод и проводящая оправка содержат пружинные пластины, выполненные с возможностью формирования динамических контактов по меньшей мере с одной контактной проставкой.
10. Скважинное каротажное устройство по п.8, в котором контактная проставка содержит пружинные пластины, выполненные с возможностью формирования динамических контактов по меньшей мере с одним электродом и проводящей оправкой.
11. Скважинное каротажное устройство по п.8, в котором по меньшей мере одна антенна из числа указанного множества антенн имеет поперечный магнитный диполь.
12. Способ каротажа сопротивления, обеспечивающий снижение влияния скважинного тока с помощью каротажного устройства, расположенного в стволе скважины; при этом каротажное устройство имеет внутреннюю проводящую оправку, по меньшей мере одну антенну с поперечным магнитным диполем и по меньшей мере один радиально проводящий путь, связывающий внутреннюю проводящую оправку по меньшей мере с одним электродом, открытым на поверхности индукционного каротажного устройства; причем по меньшей мере один радиально проводящий путь содержит контактный узел для обеспечения динамических контактов с внутренней проводящей оправкой и по меньшей мере одним электродом; при этом согласно указанному способу
передают электромагнитную энергию от антенны передатчика в каротажном устройстве в формацию;
обеспечивают протекание токов в стволе скважины по меньшей мере через один радиально проводящий путь ко внутренней проводящей оправке и измеряют индуцированный сигнал в антенне приемника в каротажном устройстве.
РИСУНКИ
|
|