|
|
(21), (22) Заявка: 2006137969/09, 30.10.2006
(24) Дата начала отсчета срока действия патента:
30.10.2006
(43) Дата публикации заявки: 10.05.2008
(46) Опубликовано: 20.01.2009
(56) Список документов, цитированных в отчете о поиске:
DE 1279785, 10.10.1968. RU 2196344 C2, 10.01.2003. WO 9406104, 17.03.1994.
Адрес для переписки:
127051, Москва, М. Сухаревская пл., 6, стр.1, пом. ТАРП ЦАО, ООО “НПП “ТРИиС”, С.А. Багдасаряну
|
(72) Автор(ы):
Багдасарян Сергей Александрович (RU), Багдасарян Александр Сергеевич (RU), Карапетьян Геворк Яковлевич (RU), Нефедова Наира Александровна (RU)
(73) Патентообладатель(и):
ООО “Научно-производственное предприятие “Технологии радиочастотной идентификации и связи” (НПП “ТРИиС”) (RU)
|
(54) УСТРОЙСТВО РАДИОЧАСТОТНОЙ ИДЕНТИФИКАЦИИ НА ПОВЕРХНОСТНЫХ АКУСТИЧЕСКИХ ВОЛНАХ
(57) Реферат:
Изобретение относится к области радиотехники и может быть использовано для идентификации и охраны различных объектов. Технический результат заключается в увеличении механической прочности. Сущность изобретения заключается в том, что в устройство идентификации на поверхностных акустических волнах (ПАВ), содержащее корпус, приемно-передающую антенну, звукопровод, на рабочей поверхности которого расположены приемо-передающий встречно-штыревой преобразователь (ВШП), соединенный с антенной, и отражатели ПАВ, введены N параллельных акустических каналов, в каждом из которых помимо отражателей ПАВ расположены один под другим многополосковые направленные ответвители, перекрывающие два соседних акустических канала и переводящие ПАВ из одного акустического канала в другой, но в противоположном падающим ПАВ направлении, причем число ответвителей на один меньше, чем число акустических каналов, а приемно-передающий ВШП выполнен однонаправленным с внутренними отражателями и расположен в первом акустическом канале. 2 ил.
Изобретение относится к области радиотехники и может быть использовано для идентификации и охраны различных объектов.
Известны пассивные устройства идентификации /1/, в которых нет источника питания. В этих устройствах с помощью индуктивной связи через переменное магнитное поле производится дистанционное электропитание микросхемы, которая выдает определенный код через эту же индуктивность связи в разпознавающее устройство. Недостатком данной системы является малый радиус действия (до метра) и также достаточно сильный сигнал, обеспечивающий питание микросхемы, что может нанести вред идентифицируемому объекту.
Устранить указанные недостатки позволяет пассивное устройство идентификации на поверхностных акустических волнах (ПАВ), содержащее корпус, приемно-передающую антенну, звукопровод, на рабочей поверхности которого расположены встречно-штыревой преобразователь (ВШП), соединенный с антенной, отражательные ВШП в одном акустическом канале /2/. В данном устройстве опрашивающий сигнал принимается антенной, далее преобразуется в ПАВ с помощью ВШП, а затем отражается от отражательных ВШП, образуя кодовую последовательность, которая с помощью ВШП, соединенного с антенной, преобразуется в электромагнитный сигнал и излучается на распознающее устройство. В данном случае нет необходимости в электропитании микросхемы, поэтому опрашивающий сигнал может быть ослаблен до значений, не наносящих вред идентифицируемому объекту. Расстояние идентификации также может быть увеличено надлежащим подбором рабочих частот и антенны. Чтобы обеспечить кодовую последовательность в 128 бит или более длина звукопровода должна быть несколько тысяч длин ПАВ, что помимо дифракционной расходимости приводит к значительному увеличению отношения длины подложки к ее ширине. Так, например, при центральной частоте 860 МГц на подложке из YX/128° среза при длине ВШП 40 длин ПАВ на центральной частоте длина отражателей, обеспечивающих 128 разрядный код, равна 24 мм. С учетом длины ВШП и места для акустопоглотителей эта длина равняется 26 мм. В то же время при апертуре ВШП 80 длин ПАВ на центральной частоте и с учетом шин шириной 0,5 мм ширина подложки будет 1,2 мм, что приведет к низкой механической прочности устройства. Это может привести к разрушению звукопровода даже при незначительных механических нагрузках, даже если звукопровод находится в герметичном корпусе, что является существенным недостатком предлагаемого устройства.
Технический результат, который дает осуществление изобретения, заключается в увеличении механической прочности устройства идентификации за счет увеличения ширины подложки и уменьшения ее длины.
Это достигается тем, что в него введены N параллельных акустических каналов, в каждом из которых помимо отражателей ПАВ расположены один под другим многополосковые направленные ответвители, перекрывающие два соседних акустических канала и переводящие ПАВ из одного акустического канала в другой, но в противоположном падающим ПАВ направлении, причем число ответвителей на один меньше, чем число акустических каналов, приемно-передающий ВШП выполнен однонаправленным с внутренними отражателями и расположен в первом акустическом канале.
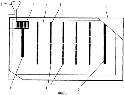
На фиг.1 показана топологическая структура устройства на ПАВ в соответствии с изобретением.
Устройство содержит звукопровод 1, на котором расположены и приемо-передающий ВШП 2 в первом акустическом канале, соединенный с антенной 5, отражатели ПАВ 4 и многополосковые ответвители 3 в различных акустических каналах. Звукопровод 1 вместе с расположенными на нем ВШП 2, отражателями 4 и ответвителями 3 расположен в герметичном корпусе 6.
Устройство работает следующим образом. При подаче опрашивающего сигнала на антенну 5 он проходит на ВШП 2 и возбуждает ПАВ в звукопроводе, которые отражаются от отражателей ПАВ и принимаются ВШП 2, а далее сигнал поступает в антенну 5 и излучается на распознающее устройство. Благодаря ответвителям 3 в параллельных акустических каналах, расположенных один над другим, ПАВ переходит в соседний акустический канал и продолжает распространяться, но в противоположном первоначальному направлению, отражаясь от расположенных там отражателей 4, образуя тем самым 128 или более битную кодовую последовательность. В этом случае, очевидно, длина звукопровода уменьшается, а ширина увеличивается, что приводит увеличению механической прочности звукопровода.
Пример выполнения. Устройство идентификации выполнено в герметичном корпусе 6, в котором расположен звукопровод 1 (каналов) из ниобата лития YX/128° среза. На звукопроводе 1 в 8-ми акустических каналах расположены отражатели, выполненные в виде ВШП, содержащие 4 электрода и апертуру 80 длин ПАВ на центральной частоте, многополосковые ответвители 3, выполненные в виде набора двенадцати ВШП, шесть из которых расположены в одном акустическом канале, а шесть – в другом, и они соединены перемычками, как показано на фиг.2, и у которых длина в 4 раза меньше, чем у приемо-передающего ВШП 2, содержащего 17 активных секций, и имеющие апертуру 80 длин ПАВ на центральной частоте опрашивающего сигнала. Центральная частота опрашивающего импульса равна 860 МГц. Коэффициент отражения от отражателей ПАВ равен 0,06, а потери в ответвителях не превышают 1,5 дБ. Число каналов выбрано равным 4, что позволяет получить в каждом акустическом канале 32-битную последовательность.
Список литературных источников.
1. Патент PCT(WO) 94/06104 А1.
2. Патент ФРГ №1279785 А.
Формула изобретения
Устройство радиочастотной идентификации на поверхностных акустических волнах (ПАВ), содержащее корпус, приемно-передающую антенну, звукопровод, на рабочей поверхности которого расположены приемопередающий встречно-штыревой преобразователь (ВШП), соединенный с антенной, отражатели ПАВ, отличающееся тем, что в него введены N параллельных акустических каналов, в каждом из которых помимо отражателей ПАВ расположены один под другим многополосковые направленные ответвители, перекрывающие два соседних акустических канала и переводящие ПАВ из одного акустического канала в другой, но в противоположном падающим ПАВ направлении, причем число ответвителей на один меньше, чем число акустических каналов, приемно-передающий ВШП выполнен однонаправленным с внутренними отражателями и расположен в первом акустическом канале.
РИСУНКИ
|
|