|
(21), (22) Заявка: 2007114289/28, 17.09.2004
(24) Дата начала отсчета срока действия патента:
17.09.2004
(46) Опубликовано: 20.01.2009
(56) Список документов, цитированных в отчете о поиске:
ЕР 0701107 А2, 13.03.1996. RU 2235295 С2, 27.08.2004. US 4768384 А, 06.09.1988. US 5827979 А, 27.10.1998.
(85) Дата перевода заявки PCT на национальную фазу:
17.04.2007
(86) Заявка PCT:
US 2004/030492 (17.09.2004)
(87) Публикация PCT:
WO 2006/041427 (20.04.2006)
Адрес для переписки:
129090, Москва, ул. Б.Спасская, 25, стр.3, ООО “Юридическая фирма Городисский и Партнеры”, пат.пов. А.В.Мицу
|
(72) Автор(ы):
ШЛОССЕР Мартин Эндрю (US), ДИЛЛ Джозеф К. (US), УАЙТЛИ Джеффри Л. (US)
(73) Патентообладатель(и):
ЭМЕРСОН ЭЛЕКТРИК КО. (US)
|
(54) СПОСОБ И УСТРОЙСТВО КОМПЕНСАЦИИ ДЛЯ КОРИОЛИСОВА РАСХОДОМЕРА
(57) Реферат:
Изобретение позволяет обеспечить температурную компенсацию значения массового расхода для Кориолисова расходомера. Температурная компенсация выходных сигналов расходомера осуществляется путем использования частоты F возбуждения в качестве индикатора изменений температуры расходомерной трубки и не требует использования датчиков температуры. Компенсация проводится в электронной измерительной схеме Кориолисова расходомера и компенсирует как коэффициент калибровки потока, так и номинальную задержку времени, обычно называемую в данной области техники “нулем”. После того как Кориолисов расходомер будет установлен, его требуется обнулять только один раз в течение всего срока службы. Изобретение повышает точность измерения массового расхода. 2 н. и 25 з.п. ф-лы, 1 табл., 15 ил.
Область техники, к которой относится изобретение
Настоящее изобретение относится к способу и устройству компенсации для Кориолисова расходомера.
Уровень техники
Известно использование измерителей массового расхода, работающих с использованием эффекта Кориолиса, для измерения массового расхода и получения другой информации о материалах, протекающих по трубопроводу, как описано в патентах США №№4491025, выданном J.E.Smith и др. 1 января 1985 г., и Re. 31450 J.E.Smith от 11 февраля 1982 г. Кориолисовы расходомеры имеют одну или несколько расходомерных трубок, каждая из которых имеет набор мод собственных колебаний, которые могут представлять собой моды простого типа изгибных колебаний, торсионных колебаний или крутильных колебаний. В каждой из расходомерных трубок, заполненных материалом, возбуждают колебания на частоте резонанса на одной из этих мод собственных колебаний. Моды собственных колебаний частично определяются комбинированной массой расходомерных трубок и материалом, находящимся в этих расходомерных трубках. Материал протекает в расходомер из подключенного трубопровода на стороне входного отверстия. Материал затем направляют через расходомерную трубку или расходомерные трубки и передают в трубопровод, соединенный со стороной выходного отверстия.
Возбудитель прикладывает силу для возбуждения колебаний в расходомерной трубке. Когда поток через Кориолисов расходомер отсутствует, все точки вдоль расходомерной трубки колеблются с идентичной фазой. Когда начинается протекание материала, ускорения Кориолиса создают в каждой точке вдоль расходомерной трубки разную фазу относительно других точек вдоль расходомерной трубки. Фаза на стороне входного отверстия расходомерной трубки запаздывает относительно возбудителя; фаза на стороне выходного отверстия опережает возбудитель. Измерительные датчики в расходомерной трубке формируют синусоидальные сигналы, представляющие движение в расходомерной трубке. Разность фаз между двумя сигналами датчиков пропорциональна массовому расходу материала, протекающего через расходомерную трубку или расходомерные трубки.
Известно использование Кориолисовых расходомеров, имеющих разную конфигурацию расходомерной трубки. Среди этих конфигураций используют одну трубку, две трубки, прямую трубку, изогнутую трубку и расходомерные трубки с неоднородной конфигурацией. Большинство Кориолисовых расходомеров изготовлены из металла, такого как алюминий, сталь, нержавеющая сталь и титан. Также известны стеклянные расходомерные трубки. Большинство Кориолисовых расходомеров с прямым последовательным потоком в настоящее время в данной области техники изготавливают из металла, в частности из титана.
Известно, что изменение рабочих факторов может оказывать влияние на характеристики Кориолисова расходомера. Эти факторы могут представлять собой внутренние эффекты, такие как дрейф характеристик электронных компонентов, используемых в передатчике Кориолисова расходомера, или они могут представлять собой внешние эффекты, такие как флуктуации давления в линии, плотности, вязкости или изменения окружающей температуры и частоты возбуждения Кориолисова расходомера. По большей части в предшествующем уровне техники обращали внимание на компенсацию этих изменений путем обновления или модификации схем или путем выполнения регулировок коэффициента калибровки потока. Примеры этих способов представлены в патенте США №5231884 автора Zolock и заявке №09/343836 на патент США авторов Van Cleve и др.
Кориолисовы расходомеры могут работать в контролируемых условиях, в которых поддерживаются постоянные значения давления, плотности и вязкости для устранения сложной компенсации флуктуации этих параметров. Однако такой подход не всегда выполним на практике, поскольку часто бывает трудно предотвратить флуктуации температуры обрабатываемого материала или окружающей среды, в которой работает Кориолисов расходомер. Когда давление, плотность и вязкость можно поддерживать постоянными, температурная компенсация Кориолисова расходомера может быть произведена с использованием датчиков температуры (обычно называемых RTD (резистивный датчик температуры (РДТ)), установленных на одном или нескольких участках Кориолисова расходомера. РДТ измеряет рабочую температуру на участке расходомера, на котором он установлен. Информацию РДТ и информацию о частоте возбуждения подают в электронную измерительную схему, которая генерирует выходное значение массового расхода с температурной компенсацией. Сигналы, снимаемые в расходомерной трубке, представляют собой некомпенсированный сигнал массового расхода, который подают в электронную измерительную схему, который изменяет некомпенсированный принятый сигнал массового расхода для получения выходного сигнала массового расхода, компенсированного по частоте возбуждения.
Существуют недостатки, связанные с использованием датчиков температуры РДТ для температурной компенсации. Первый недостаток состоит в том, что датчик температуры невозможно прикрепить на участке вибрации расходомерной трубки, поскольку добавленный вес датчика может изменить характеристики вибрации расходомерной трубки и снизить точность выходного сигнала. Датчик температуры поэтому должен быть закреплен в другом месте в Кориолисове расходомере или во входной или выходной линии Кориолисова расходомера. В связи с этим датчик температуры невозможно использовать для непосредственного измерения температуры обрабатываемого материала на вибрирующем участке расходомерной трубки. Поскольку для точной температурной компенсации требуется измерять температуру материала в пределах активного участка расходомерной трубки, использование других мест установки, таких как входная или выходная линия расходомера, приводит к получению другого значения температуры, вместо требуемого значения температуры. В результате возникают неточности компенсированного выходного сигнала массового расхода, генерируемого электронной измерительной схемой.
Второй недостаток использования датчиков температуры состоит в том, что, поскольку они не установлены на активном участке вибрирующей расходомерной трубки, неизбежно присутствует разность во времени между временем, когда датчик температуры детектирует изменение температуры, и временем, когда изменяется температура материала в расходомерной трубке. Эта разность во времени приводит к дополнительным неточностям в компенсированном выходном сигнале массового расхода, генерируемом расходомером.
Предшествующий уровень техники включает в себя патент США 6502466 под названием “Система и способ компенсации сжимаемости текучей среды в массовом Кориолисовом расходомере”, в котором раскрыт массовый Кориолисов расходомер, имеющий расходомерную трубку и схему возбуждения, соединенную с расходомерной трубкой, которая может возбуждать расходомерную трубку на разных частотах вибрации, и способ его использования для компенсации эффекта сжимаемости текучей среды. В одном варианте выполнения массовый Кориолисов расходомер включает в себя (1) схему измерения расхода, соединенную с расходомерной трубкой, которая измеряет первый удельный массовый расход текучей среды, протекающей через расходомерную трубку, на первой частоте колебаний и второй удельный массовый расход текучей среды на второй частоте колебаний, и (2) схему компенсации сжимаемости текучей среды, соединенную со схемой измерения удельного массового расхода, в которой первое и второе значения удельного массового расхода используются для определения частотного отклика текучей среды и регулировки для компенсации сжимаемости текучей среды по частотному отклику.
Предшествующий уровень техники включает в себя документ WO 00/71979 под названием “Измеритель на основе вибрирующей трубки”, в котором раскрыто, что в измерителе на основе вибрирующей трубки, таком как измеритель Кориолиса, точное измерение параметра текучей среды, такого как плотность, может быть получено, по существу, независимо от напряжения путем измерения характеристик вибрации, в частности, резонансной частоты двух разных мод колебаний. Напряжение или другие переменные можно определять по результатам измерения. Поскольку измерения или компенсация напряжения основаны непосредственно на характеристиках колебаний, может быть получена более высокая точность, чем при использовании обычного тензометрического датчика для измерения напряжения. Раскрытые методики позволяют получить точные результаты без конкретных ограничений конструкции измерителя.
Предшествующий уровень техники включает в себя документ EP 0701107 А под названием “Вибрационный измерительный инструмент”, в котором раскрыта точность разности фаз, получаемой с помощью модуля расчета разности фаз, которая улучшена путем коррекции пропускной способности модуля расчета отношения частот и модуля расчета температуры, учитывая, что фаза или разность во времени каждого выходного сигнала датчика вибрации, обозначающего массовый расход или плотность текучей среды, представляет собой функцию от температуры и осевой силы, приложенной к измерительной трубке, или что осевая сила представляет собой функцию отношения между двумя резонансными частотами.
Сущность изобретения
В настоящем изобретении решаются указанные выше и другие проблемы и достигается усовершенствование в данной области техники, благодаря разработке способа и устройства, предназначенных для температурной компенсации Кориолисовых расходомеров, в которых исключается использование датчиков температуры. Способ и устройство в соответствии с настоящим изобретением отслеживают частоту возбуждения расходомерной трубки для обеспечения температурной компенсации. Кориолисов расходомер работает в окружающей среде, в которой все параметры, за исключением температуры, влияющие на частоту расходомерной трубки, поддерживают постоянными. Эти факторы включают в себя такие параметры, как жесткость или чувствительность коэффициента калибровки, причем все они могут влиять на частоту возбуждения. Другие такие параметры включают в себя плотность материала, вязкость и давление. В таких управляемых условиях изменение частоты вибрации должно происходить в результате изменений температуры, которая изменяет модуль Юнга и жесткость вибрирующей расходомерной трубки.
Кориолисов расходомер, разработанный в соответствии с предпочтительным вариантом выполнения настоящего изобретения, имеет преимущества в области компенсации. Настоящее изобретение компенсирует не только калибровку потока, но также регулирует номинальную задержку времени t0, обычно называемую в данной области техники “нулем”. Это означает, что после того как Кориолисов расходомер будет подключен к процессу для калибровки или собственно для использования в процессе, его требуется обнулить только один раз после установки. Это представляет собой существенное улучшение по сравнению с Кориолисовыми расходомерами, которые требуется повторно обнулять после незначительных изменений давления или температуры.
Во время калибровки измерителя влияние температуры на расходомерную трубку характеризуется частотой отслеживания и изменениями температуры, поскольку поток материала и действительная температура изменяются. Калибровочные константы, используемые для компенсации потока, затем определяют и сохраняют в электронной измерительной схеме. Во время работы поток материала и частоту вибраций отслеживают с помощью расходомерной трубки. Полученные в результате изменения температуры и информацию о частоте из измерителя передают в электронную измерительную схему, которая использует сохраненные калибровочные константы для расчета компенсированного по температуре массового расхода .
Использование частоты расходомерной трубки для получения компенсированного по температуре массового расхода является предпочтительным по сравнению с использованием датчиков температуры, поскольку изменения частоты детектируют для получения изменений в компенсированном сигнале массового расхода непосредственно при детектировании изменений частоты. Мгновенное изменение частоты в расходомерной трубке передают в электронную измерительную схему, которая генерирует скорректированный, компенсированный сигнал массового расхода с повышенной точностью, соответствующий изменению температуры расходомерной трубки.
Один аспект изобретения включает в себя способ обеспечения температурной компенсации Кориолисова расходомера, имеющего, по меньшей мере, одну расходомерную трубку; причем указанный способ содержит следующие этапы:
генерирования первого сигнала, представляющего Кориолисовы отклонения указанной расходомерной трубки;
генерирования второго сигнала, представляющего характеристики указанного расходомера, в котором указанные характеристики включают в себя частоту F возбуждения указанного Кориолисова расходомера, а также индуцированную задержку t времени;
отличающийся наличием электронной измерительной схемы для использования указанного первого и указанного второго сигналов для обеспечения температурной компенсации указанных выходных сигналов указанного Кориолисова расходомера.
Предпочтительно способ дополнительно содержит указанный этап обеспечения температурной компенсации, включающий в себя этапы:
приема калиброванного значения массового расхода из эталонного Кориолисова расходомера,
использования указанного первого и указанного второго сигналов, и указанного калиброванного значения массового расхода для обеспечения указанной температурной компенсации для указанного Кориолисова расходомера.
Предпочтительно способ дополнительно содержит указанный этап обеспечения температурной компенсации, который включает в себя следующие этапы:
использования указанного первого и указанного второго сигналов, и указанного калиброванного значения массового расхода для получения калибровочных констант для указанного Кориолисова расходомера; и
использования указанных калибровочных констант для обеспечения указанной температурной компенсации для указанного Кориолисова расходомера.
Предпочтительно способ дополнительно содержит дополнительный этап определения компенсированного по температуре значения массового расхода для указанного Кориолисова расходомера в ответ на указанное генерирование указанного первого и второго сигналов и указанное обеспечение указанной температурной компенсации для указанного Кориолисова расходомера.
Предпочтительно способ дополнительно содержит следующие этапы:
приема третьего сигнала, представляющего калибровочные константы указанного Кориолисова расходомера; и
использования указанного первого и указанного второго, и указанного третьего сигналов, и указанных калибровочных констант для определения компенсированного по температуре значения расхода для указанного Кориолисова расходомера.
Предпочтительно способ дополнительно содержит дополнительные этапы:
определения частоты F возбуждения из указанного второго сигнала;
получения калибровочной константы F линейной частоты для нуля; и
использования указанной частоты F возбуждения и указанной калибровочной константы F линейной частоты для нуля для получения указанного компенсированного по температуре значения массового расхода.
Предпочтительно способ дополнительно содержит компенсированный массовый расход, включающий в себя следующие этапы:
получения коэффициента для потока; и
использования указанной частоты F возбуждения и указанной калибровочной константы F линейной частоты возбуждения для нуля, и указанной константы для потока для получения компенсированного по температуре значения массового расхода.
Предпочтительно способ дополнительно содержит дополнительные этапы:
получения константы линейной частоты (температуры) для потока; и
использования указанной частоты F возбуждения и указанной калибровочной константы F линейной частоты возбуждения для нуля и указанной константы для потока, и указанной константы линейной частоты (температуры) для потока для получения компенсированного по температуре значения массового расхода.
Предпочтительно способ дополнительно содержит указанный этап получения указанных калибровочных констант и содержит следующие этапы:
приема значения массового расхода из эталонного Кориолисова расходомера; и
использования указанного значения массового расхода и указанного второго сигнала для получения указанных калибровочных констант указанного Кориолисова расходомера.
Предпочтительно способ дополнительно содержит указанный этап генерирования указанных калибровочных констант, и содержит следующие этапы:
приема указанного второго сигнала для получения индуцированной потоком задержки t времени и указанной частоты F возбуждения Кориолисова расходомера; и
использования указанного первого сигнала и указанной индуцированной потоком задержки t времени, и указанной частоты F возбуждения для получения указанных калибровочных констант указанного Кориолисова расходомера.
Предпочтительно способ дополнительно содержит указанный этап генерирования указанных калибровочных констант, содержащий дополнительные этапы:
получения константы F линейной частоты возбуждения для номинальной задержки t0 времени; и
использования указанной частоты F возбуждения и указанной константы F линейной частоты возбуждения для указанной номинальной задержки t0 времени для получения указанных калибровочных констант.
Предпочтительно способ дополнительно содержит указанные калибровочные константы:
t0, F, , 
Предпочтительно способ дополнительно содержит указанный этап получения указанных калибровочных констант и включает в себя этап решения выражения:

где
t – индуцированная потоком задержка времени,
t0 – номинальная задержка времени,
– массовый расход,
F – частота возбуждения,
F0 – частота возбуждения для номинального нулевого потока,
F – константа линейной частоты для нуля,
– константа, связанная с FCF (ККП, коэффициент калибровки потока),
– константа линейной частоты (температуры).
Предпочтительно способ дополнительно содержит указанный этап определения указанного компенсированного по температуре значения массового расхода и содержит этап решения выражения:

где
t – индуцированная потоком задержка времени задержки,
t0 – номинальная задержка времени,
– массовый расход,
F – частота возбуждения,
F0 – нулевая частота возбуждения,
F – константа линейной частоты для нуля,
– константа, связанная с ККП,
– константа линейной ККП частоты (температуры).
Другой аспект настоящего изобретения содержит устройство, которое обеспечивает температурную компенсацию для Кориолисова расходомера, имеющего, по меньшей мере, одну расходомерную трубку; причем указанное устройство содержит:
устройство, которое генерирует первый сигнал, представляющий Кориолисово отклонение для указанной расходомерной трубки;
устройство, которое генерирует второй сигнал, представляющий характеристики указанного расходомера, в котором указанные характеристики включают в себя частоту F возбуждения указанного Кориолисова расходомера, а также индуцированную задержку t времени;
отличающееся наличием электронной измерительной схемы, в которой указанный первый и указанный второй сигналы используются для обеспечения температурной компенсации выходных сигналов указанного Кориолисова расходомера.
Предпочтительно указанное устройство, которое обеспечивает температурную компенсацию, включает в себя:
устройство, которое принимает калиброванное значение массового расхода из эталонного Кориолисова расходомера, и
устройство, в котором указанный первый и указанный второй сигналы, и указанное калиброванное значение массового расхода используются для обеспечения указанной температурной компенсации для указанного Кориолисова расходомера.
Предпочтительно указанное устройство, которое обеспечивает указанную температурную компенсацию, дополнительно включает в себя:
устройство, в котором указанный первый и указанный второй сигналы, и указанное калиброванное значение массового расхода используются для обеспечения калибровочных констант для указанного Кориолисова расходомера; и
устройство, в котором указанные калибровочные константы, и указанный первый, и указанный второй сигналы, и указанное калиброванное значение массового расхода используются для обеспечения указанной температурной компенсации для указанного Кориолисова расходомера.
Предпочтительно устройство, которое определяет компенсированное по температуре значение массового расхода для указанного Кориолисова расходомера в ответ на указанное генерирование указанных первого и второго сигналов и указанное обеспечение указанной температурной компенсации для указанного Кориолисова расходомера.
Предпочтительно устройство, которое принимает третий сигнал, представляющий калибровочные константы указанного Кориолисова расходомера; и
устройство, в котором указанный первый и указанный второй, и указанный третий сигналы, и указанные калибровочные константы используются для определения компенсированного по температуре значения массового расхода для указанного Кориолисова расходомера.
Предпочтительно устройство, которое определяет частоту F возбуждения из указанного второго сигнала;
устройство, которое получает константу F калибровки линейной частоты для нуля;
устройство, которое получает коэффициент для потока;
устройство, которое получает константу линейной частоты (температуры) для потока; и
устройство, в котором указанная частота F возбуждения и указанная константа F линейной частоты возбуждения для нуля, и указанная константа для потока, и указанная константа линейной частоты (температуры) для потока используются для получения компенсированного по температуре значения массового расхода.
Предпочтительно указанное устройство, которое получает указанные калибровочные константы, содержит:
устройство, которое принимает значение массового расхода из эталонного Кориолисова расходомера;
устройство, которое принимает указанный второй сигнал для получения индуцированной потоком задержки t времени и указанной частоты F возбуждения Кориолисова расходомера;
устройство, которое получает константу F линейной частоты возбуждения для номинальной задержки t0 времени; и
устройство, в котором указанная частота F возбуждения, и указанная константа F линейной частоты возбуждения для указанной номинальной задержки t0 времени, и указанное значение массового расхода используются для получения указанных калибровочных констант.
Предпочтительно указанные калибровочные константы представляют собой:
t0, F, , .
Предпочтительно указанное устройство, которое получает указанные калибровочные константы, включает в себя устройство, которое решает выражение:

где
t – индуцированная потоком задержка времени,
t0 – номинальная задержка времени,
– массовый расход,
F – частота возбуждения,
F0 – частота возбуждения для номинального нулевого потока,
F – константа линейной частоты для нуля,
– константа, связанная с ККП,
– константа линейной частоты (температуры).
Предпочтительно указанное устройство, которое получает указанное компенсированное по температуре значение массового расхода, решает следующее выражение:

где
t – индуцированная потоком задержка времени задержки,
t0 – номинальная задержка времени,
– массовый расход,
F – частота возбуждения,
F0 – нулевая частота возбуждения,
F – константа линейной частоты для нуля,
– константа, связанная с ККП,
– константа линейной ККП частоты (температуры).
Краткое описание чертежей
Эти и другие преимущества и свойства настоящего изобретения будут более понятны при чтении следующего подробного его описания совместно с прилагаемыми чертежами.
На фиг.1 раскрыт вид в перспективе первого примера Кориолисова расходомера в соответствии с вариантом выполнения настоящего изобретения.
На фиг.2 показан вид сверху варианта выполнения по фиг.1.
На фиг.3 показан вид спереди варианта выполнения по фиг.1.
На фиг.4 показан вид в разрезе вдоль линии 4-4, обозначенной на фиг.2.
На фиг.5 показан график, представляющий взаимозависимость между частотой возбуждения и температурой расходомерной трубки.
На фиг.6 показан график, представляющий взаимозависимость между частотой возбуждения и плотностью материала.
На фиг.7-9 показаны графики, представляющие сбор данных во время калибровки.
На фиг.10-11 показаны блок-схемы последовательности операций способа, используемого для калибровки Кориолисова расходомера и для определения массового расхода .
На фиг.12 иллюстрируется получение калибровочных констант.
На фиг.13 и 14 представлены иллюстрации сравнительных значений точности использования изменений частоты в сравнении с РДТ для получения температурной компенсации.
На фиг.15 дополнительно представлена электронная измерительная схема 121 по фиг.1.
Подробное описание изобретения
Условные обозначения
ККП – коэффициент калибровки потока в соответствии с предшествующим уровнем техники;
– коэффициент температуры ККП предшествующего уровня техники;
t – индуцированная потоком задержка времени;
t0 – номинальная задержка времени при нулевом потоке;
– массовый расход;
F – рабочая частота возбуждения;
F0 – номинальная частота возбуждения (при нормальных условиях температуры), выбранная изготовителем;
ZERO(F) – член, описывающий влияние частоты на номинальную задержку времени t0. Равен t0+(F-F0) F;
F – константа линейной частоты для нуля;
– коэффициент пропорциональности, сопоставляющий t с массовым расходом. Аналогичен ККП в предшествующем уровне техники.
константа линейной частоты (температуры) для Аналогична в предшествующем уровне техники;
FMUT – испытуемый расходомер (ИРМ).
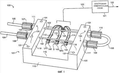
Описание фиг.1
На фиг.1 показан вид в перспективе первого возможного примерного варианта выполнения Кориолисова расходомера в соответствии с вариантом выполнения изобретения. Здесь представлен измеритель 100 потока, имеющий расходомерную трубку 102, которая пропущена через стойки 117, 118 основания 101. Датчики LP0 и RP0, а также возбудитель D соединены с расходомерной трубкой 102. Обрабатываемый материал поступает в измеритель 100 потока через трубку 104 подачи, после чего поток поступает через соединитель 108 обработки в расходомерную трубку 102. В трубке 102 возбуждают вибрацию на частоте ее собственного резонанса, в то время как по ней протекает материал, с помощью возбудителя D. Полученные в результате Кориолисова отклонения детектируют с помощью датчиков LP0 и RP0, которые передают сигналы через проводники 112 и 114 в электронную измерительную схему 121 Кориолиса. Электронная измерительная схема 121 Кориолиса принимает сигналы датчиков, определяет разность фазы между ними, определяет частоту вибрации и передает выходную информацию, относящуюся к потоку материала, через выходную цепь 122 в схему использования этой информации (не показана). Электронная измерительная схема 121 более подробно показана на фиг.15.
Поток материала протекает через расходомерную трубку 102 и через трубку 106, которая направляет поток материала обратно через возвратную трубку 103, через соединитель 107 обработки, в выходную трубку 105, по которой поток материала подают для использования пользователем.
Соединители 107, 108, 109 и 110 обработки соединяют трубки 104, 105 и 106 с концами расходомерной трубки 102 и возвратной трубки. Соединители обработки имеют фиксированный участок 111, на котором сформирована резьба 124. В фиксирующих отверстиях 130 установлены фиксирующие винты 411 для прочного соединения элемента 111 с основанием 101, как показано на фиг.4. Подвижные участки соединителей 107-110 обработки навинчены на внешнюю резьбу 124 для соединения их соответствующих трубок с неподвижным корпусом соединителей обработки, на части которого образован участок 111 шестигранной гайки. Такие соединители обработки работают аналогично хорошо известным соединителям обработки развальцованных медных трубок для соединения трубок 104, 105 и 106 с концами расходомерной трубки 102 и возвратной трубки 103. Подробно соединители обработки дополнительно показаны на фиг.4.
Описание фиг.2
На фиг.2 показан вид сверху расходомера 100 по фиг.1. Каждый из датчиков LP0 и RP0, а также возбудитель D включает в себя катушку C. Каждый из этих элементов дополнительно включает в себя магнит, который закреплен на нижнем участке расходомерной трубки 102, как показано на фиг.3. Каждый из этих элементов дополнительно включает в себя основание, такое как 143 для возбудителя D, а также тонкую полоску материала, такую как 133 для возбудителя D. Тонкая полоска материала может содержать печатную плату, на которой закреплены катушка C и выводы ее обмотки. Датчики LP0 и RP0 также имеют соответствующий элемент основания и тонкую полоску, закрепленную в верхней части этого элемента основания. Такая компоновка обеспечивает установку возбудителя или датчиков в соответствии с этапами приклеивания магнита М к нижней стороне расходомерной трубки, приклеивания катушки C к печатной плате 133 (для возбудителя D), установки отверстия катушки C вокруг магнита М, перемещения катушки C вверх так, что при этом магнит М полностью располагается внутри отверстия катушки C, последующую установку элемента основания 143 под печатной платой 133 и склеивание этих элементов вместе, в результате чего нижняя часть основания 143 закрепляется с помощью клея на поверхности массивного основания 116.
Внешняя резьба 124 соединителей 107-110 обработки показана на фиг.2. Внутренние детали каждого из этих элементов показаны на фиг.4. В отверстии 132 проложены проводники 112, 113 и 114. Электронная измерительная схема 121 Кориолисова расходомера по фиг.1 не показана на фиг.2 для упрощения чертежа. Однако следует понимать, что проводники 112, 113 и 114 продолжаются через отверстие 132 и далее продолжаются по цепи 123, показанной на фиг.1, до электронной измерительной схемы Кориолисова расходомера, показанной на фиг.1.
Описание фиг.3 и 4
На фиг.3 показаны датчики LP0, RP0 и возбудитель D, который содержит магнит М, закрепленный на нижнем участке расходомерной трубки 102, и катушку C, закрепленную на основании каждого из элементов LP0, RP0 и возбудителя D.
На фиг.4 показан вид в разрезе вдоль линии 4-4, обозначенной на фиг.2. На фиг.4 представлены все элементы фиг.3 и дополнительные детали соединителей 108 и 109, а также кольцевые прокладки 430. Кольцевые прокладки 430 труб соединяют расходомерную трубку 102 с основанием 401. На фиг.4 дополнительно представлены отверстия 402, 403 и 404 в основании 101. Верхняя часть каждого из этих отверстий продолжается до нижней поверхности основания датчиков LP0, RP0 и возбудителя D. Катушка C и магнит М, связанные с каждым из этих элементов, также показаны на фиг.4. Электронная измерительная схема 121 Кориолисова расходомера по фиг.1 не показана на фиг.3 и 4 для упрощения чертежей. Элемент 405 соединителя 108 обработки представляет собой входное отверстие расходомерной трубки 102; элемент 406 соединителя 109 обработки представляет собой выходное отверстие расходомерной трубки 102.
Неподвижный участок 111 соединителя 108 обработки включает в себя внешнюю резьбу 409, которая завинчена в соответствующую резьбу в приемном отверстия 420, расположенном в основании 401, для соединения неподвижного участка 111 с сегментом 401 основания 101. Неподвижный участок соединителя 109 обработки с правой стороны оборудован и закреплен аналогично с помощью резьбы 409 в приемном отверстии 420, сформированном в элементе 401 основания 101.
Неподвижный элемент 111 соединителя 108 обработки дополнительно включает в себя резьбовой участок 124, на резьбу которого установлен подвижный участок 415 соединителя 108 обработки. Соединитель 109 обработки выполнен аналогично. Неподвижный элемент 111 соединителя 108 обработки дополнительно включает в себя с его левой стороны конический участок 413, который вместе с подвижным элементом 415 действует как фитинг для развальцовки, для прижима правого конца входной трубки 104 к коническому участку 413 неподвижного участка 111. Это создает уплотненный фитинг, который герметично закрепляет развальцованное отверстие трубки 104 подачи на коническом участке 413 неподвижного участка 111 соединителя обработки. Входное отверстие расходомерной трубки 102 установлено на неподвижном участке 111 соединителя обработки и заподлицо с поверхностью 425 участка 413. Благодаря этому материал обработки, подаваемый по трубке 104 подачи, поступает во входное отверстие 405 расходомерной трубки 102. Материал обработки протекает вправо через расходомерную трубку 102 к неподвижному участку 111 соединителя 109 обработки, где выходное отверстие 406 расходомерной трубки 102 соединено заподлицо с поверхностью 425 участка 413. В результате выходное отверстие расходомерной трубки 102 герметично соединено с соединителем 109. Другие соединители 107 и 110 обработки по фиг.1 выполнены идентично подробно описанным соединителям 108 и 109 обработки по фиг.4.
Общее описание фиг.5-12
В настоящем изобретении температурная компенсация выходных показаний Кориолисова расходомера, представляющих собой массовый расход, обеспечивается путем использования частоты возбуждения в качестве индикатора изменений температуры расходомерной трубки. Кориолисовы расходомеры измеряют массовый расход непосредственно путем расчета задержки ( t) времени между входным и выходным концами активного участка вибрирующей расходомерной трубки Кориолисова расходомера. Смещенную задержку времени при нулевом потоке ( t0) измеряют и вычитают из рассчитанной задержки времени во время потока для получения значения, которое прямо пропорционально массовому расходу, с использованием константы пропорциональности, которая называется коэффициентом калибровки (ККП) в предшествующем уровне техники.
Плотность текучей среды также влияет на частоту возбуждения расходомерной трубки. Для иллюстрации чувствительности частоты к температуре и плотности влияние плотности следует охарактеризовать и сравнить с влиянием температуры. Кориолисов расходомер в соответствии с настоящим изобретением можно использовать с суспензиями, имеющими ограниченный удельный вес. Когда частоту используют для температурной компенсации, влияние изменения плотности текучей среды также следует оценивать и определять для определения массового расхода.
Материалы расходомерной трубки реагируют на изменения температуры. Эти изменения следует учитывать для точного расчета массового расхода. Традиционно датчики температуры РДТ используют для непосредственного измерения температуры. Их устанавливают на неактивной поверхности трубки Кориолиса. Обычно это выполняют снаружи хомута (хомутов) крепления. Описанный Кориолисов расходомер имеет одну прямую расходомерную трубку. В ней отсутствует неактивный участок расходомерной трубки, на котором можно было бы провести представительное измерение температуры для расходомерной трубки с помощью датчика температуры, установленного на расходомерной трубке, так, чтобы он не влиял на выходную точность.
В настоящем изобретении изменение температуры расходомерной трубки детектируют путем отслеживания частоты возбуждения. Использование частоты возбуждения в соответствии с настоящим изобретением для определения изменений температуры и компенсации выходного значения потока, требует решения следующих проблем. В предшествующем уровне техники температуру измеряют используя датчик температуры РДТ, установленный на вторичном или неактивном участке расходомерной трубки, с помощью которого оценивают температуру в расходомерной трубке Кориолиса.
Способ и устройство в соответствии с настоящим изобретением позволяют улучшить точность определения температуры, и также улучшают время отклика измерителя при детектировании изменений температуры.
При использовании частоты в качестве средства детектирования и компенсации изменения температуры последовательное расширение t с помощью ряда Тейлора изолирует влияние частоты и массового расхода на t. Это расширение преобразуют так, что оно выглядит как уравнение потока, и составляется псевдоинверсная задача наименьших квадратов. Предположим, что задержка времени датчика t представляет собой функцию массового расхода и частоты возбуждения.

Это выражение можно расширить вокруг рабочей точки, используя ряд Тейлора:

Уравнение 1.2 представляет собой полное расширение, и его нельзя использовать для бесконечного количества членов более высокого порядка. Оптимальное соответствие может быть обеспечено, используя члены, которые линейно влияют на нулевой поток и ККП в зависимости от температуры, и члены, которые оказывают квадратичное влияние на нулевой поток и ККП в зависимости от температуры. Однако в пределах диапазона рабочих температур датчика (18-28°C) в соответствии с настоящим изобретением поведение является достаточно линейным для использования только членов частоты, линейно влияющих на ККП и t0. В результате этого и при замене обозначений частных производных получим:

Теперь переставим члены, группируя члены, ассоциированные с нулевым потоком, и члены, ассоциированные с потоком:

Для удобства выберем номинальное значение , тогда уравнение 1.4 можно перегруппировать так, что оно будет выглядеть, как уравнение потока:

Уравнение потока предшествующего уровня техники представляет собой:

Учитывая аналогию между уравнениями 1.5 и 1.6, можно видеть, что участок уравнения 1.5 относительно “нуля”, как функция частоты, представляет собой:

и участок уравнения 1.5, относящийся к “коэффициенту калибровки потока”, как функция частоты, представляет собой:

Если переписать уравнение 1.4 в форме векторного уравнения, будет сформулирована псевдоинверсная задача наименьших квадратов:

Если предположить, что можно регистрировать t и частоту возбуждения Кориолисова расходомера, при регистрации массового расхода от последовательно соединенного эталонного Кориолисова расходомера, можно решить вектор-столбец в уравнении 1.4 в результате умножения обеих сторон на псевдоинверсную величину вектора строки:

Уравнение 1.10 представляет собой уравнение, которое требуется использовать в настоящем изобретении для оптимальной характеристики зависимости температуры датчика.
Как указано выше, частота возбуждения имеет линейную зависимость от температуры. В соответствии с этим компенсация влияния температуры на поток, используя частоту возбуждения, является предпочтительной.
Описание фиг.5
На фиг.5, линиями 501 и 502 представлена взаимозависимость между частотой возбуждения и температурой для двух датчиков расходомерной трубки. Датчики расходомерной трубки установили в печи, температура в которой периодически изменялась от 15 до 35°C. Линия линейной тенденции была подобрана для каждого набора данных линий 501 и 502, и указанный рабочий диапазон для датчика показан между пунктирными линиями 503 и 504. Используя наклон каждой линии 501 и 502 тенденции, можно получить оценку чувствительности частоты возбуждения, которая равна 14 Гц на весь диапазон колебаний температуры.
Описание фиг.6
На фиг.6 показаны графики зависимости частоты возбуждения от удельного веса текучей среды для одних и тех же двух датчиков, представленных линиями 601 и 602 тенденции. Датчики предназначены для измерения скорости потока суспензий, плотность текучей среды которых составляет от 1,0 до 1,3 SG (удельная плотность, УП), как показано для линий 603 и 604 тенденции. Эти текучие среды использовали для охвата рабочего диапазона плотности датчиков. Три точки данных получили для каждого датчика, и линию тенденции построили по этим данным. Используя наклон каждой линии тенденции, можно получить оценку чувствительности частоты возбуждения, которая равна 4 Гц на диапазон FS изменения плотности. Такой результат выглядит значительным, но следует отметить, что каждый Кориолисов расходомер установлен в определенном процессе с использованием определенной текучей среды в этом диапазоне. Кроме того, после установки пользователи обычно калибруют свой процесс относительно действительного выходного значения потока, получая оценку ошибки при использовании новой текучей среды обработки в устройстве.
Описание фиг.7-12
Со ссылкой на фиг.7-12 описан способ, с помощью которого получают калибровочные константы t0, F, уравнения 1.5 потока, используя процедуру калибровки в соответствии с настоящим изобретением. Эти калибровочные константы получают используя уравнение 1.10. После получения их используют в уравнении 1.5 потока вместе с измеряемыми значениями частоты F возбуждения и t (задержка времени, индуцированная потоком) для определения измеренного значения массового расхода. Это подробно описано в следующих абзацах. Калибровочные константы t0, F, получают, используя четырехуровневую процедуру, которая описана ниже.
Эталонный Кориолисов расходомер и Кориолисов расходомер, предназначенный для калибровки, соединяют последовательно и подают тестовый поток. Данные потока, соответствующие циклам 1-4 измерения по Таблице 1, приведенной ниже, используют для калибровки. Матрица испытаний для идентификации массового расхода эталонного тестового измерителя и вклада температуры/частоты в t показана в Таблице 1. Измеренные значения массового расхода для эталонного Кориолисова расходомера и подключенного к нему последовательно испытуемого Кориолисова расходомера представлены на фиг.7.
| Таблица 1 |
| Цикл измерения |
Массовый расход (г/мин) |
Температура текучей среды, °C |
| 1 |
350 |
28 |
| 2 |
50 |
28 |
| 3 |
350 |
18 |
| 4 |
50 |
18 |
Измеренные значения массового расхода в эталонном Кориолисовом расходомере и подключенном к нему последовательно испытуемом Кориолисовом расходомере, полученные в четырех циклах измерения, приведенных в Таблице 1, представлены на фиг.7. Использовали четыре результата измерений, показанные на фиг.7, вместе с соответствующими значениями температуры, частоты возбуждения и для эталонного Кориолисова расходомера. Линия 703 представляет массовый расход в эталонном Кориолисовом расходомере.
На фиг.8 представлены данные, полученные для четырех тестовых измерений по фиг.7. Этот профиль данных используют, как описано ниже в уравнении 1.10, для получения значений калибровочных констант t0, F, Линия 803 представляет скорость потока для эталонного Кориолисова расходомера.
На фиг.9 показаны результаты одновременного использования частотной и температурной компенсации (РДТ) для состояний установившегося потока. Оба способа показали хорошее совпадение данных для калибровки Кориолисова расходомера при условиях установившегося потока. На фиг.9 линией 901 показана частота возбуждения, линией 902 – температура, линией 903 представлено значение массового расхода для каждого цикла измерений и линией 905 показана величина ошибки. Результаты обоих способов компенсации представлены линией 905, поскольку оба они соответствуют установившимся потокам. Эта точность представлена нулевой ошибкой для обоих способов на линии 905 для всех четыре тестовых измерений.
Электронная измерительная схема 121, показанная на фиг.1 и 15, выполняет функцию обработки данных для воплощения операций, представленных на фиг.7-9.
Описание фиг.10 и 11
На фиг.10 показана блок-схема 1000, описывающая, как в способе и устройстве в соответствии с настоящим изобретением получают калибровочные константы. На фиг.10 раскрыто множество этапов обработки или этапов программы, каждая из которых представляет собой одну или несколько программных инструкций, сохраненных в запоминающем устройстве 1502 электронной измерительной схемы 121 Кориолисова расходомера. Эти инструкции выполняются с помощью процессора 1502 электронной измерительной схемы 121 Кориолисова расходомера, и результаты либо сохраняют в запоминающем устройстве 1501 электронной измерительной схемы расходомера, или выводят для пользователя по цепи 122. Процесс, показанный на фиг.10, получает константы t0, F, , калибровки. Полученные калибровочные константы выводят на фиг.11, где их используют для получения компенсированного по температуре значения массового расхода.
На фиг.10 в элемент 1002 поступают сигналы датчиков LP0 и RP0 по фиг.1, который передает их в элемент 1004, который использует полученную информацию для определения детектируемого значения t и частоты F возбуждения испытуемого расходомера. Элемент 1006 принимает из элемента 1003 сигналы, представляющие измеренное значение массового расхода, от включенного последовательно эталонного расходомера. Элемент 1006 принимает обозначенную выше информацию от элементов 1004 и 1003 и использует ее для получения калибровочных констант t0, F, , , решая уравнение 1.10.
Полученные калибровочные константы передают из элемента 1006 в элемент 1106 на фиг.11. Элемент 1102 принимает входные сигналы датчиков от датчиков LP0 и RP0 по фиг.1 для испытуемого расходомера. Эту информацию передают в элемент 1104, который получает значение t и частоты F возбуждения для испытуемого расходомера и передает их в элемент 1106. Элемент 1106 принимает выходные значения элементов 1104 и 1006 для получения компенсированного по температуре значения массового расхода испытуемого расходомера, используя уравнение 1.5, обозначенное в элементе 1106. Члены t и t0 получают с помощью элемента 1006. Выражение F-F0, присутствующее как в числителе, так и в знаменателе уравнения 1.5, получают с помощью элемента 1106 из элемента 1104. Член F получают с помощью элемента 1004. Члены и получают из элемента 1104.
Элемент 1106 использует все эти члены с правой стороны уравнения 1.5 для получения компенсированного по температуре значения массового расхода, выводимого для пользователя через выход 122 по фиг.1 электронной измерительной схемы 121.
Описание фиг.12
На фиг.12 представлен способ в соответствии с настоящим изобретением, который используется для получения калибровочных констант t0, F, используя уравнение 1.10. Для получения калибровочных констант t0, F, испытуемого расходомера (ИРМ) требуются:
– результаты действительного измерения массового расхода, полученные из подключенного последовательно эталонного расходомера, который подключен последовательно с испытуемым Кориолисовым расходомером,
– измеренное значение температуры из ИРМ,
– измеренные значения частоты ИРМ.
Эти измерения выполняют, в то время как ИРМ подвергается условиям обработки, показанным в приведенной ниже таблице 1.
| Таблица 1 |
| Цикл измерения |
Массовый расход (г/мин) |
Температура текучей среды, °C |
| 1 |
350 |
28 |
| 2 |
50 |
28 |
| 3 |
350 |
18 |
| 4 |
50 |
18 |
Действительное эталонное значение массового расхода и температуры текучей среды может отличаться от идеальных эталонных значений массового расхода и температуры текучей среды из-за ограничений возможности управления потоком на стенде, на котором выполняют калибровку ИРМ.
Для каждого цикла измерений, приведенного в Таблице 1, выполняют множество измерений действительного массового расхода, температуры ИРМ и частоты возбуждения ИРМ. Предположим:
M = количество измерений для трех указанных выше значений во время цикла 1 измерения.
N = количество измерений для трех указанных выше значений во время цикла 2 измерения.
O = количество измерений для трех указанных выше значений во время цикла 3 измерения.
P = количество измерений для трех указанных выше значений во время цикла 4 измерения.
Во время калибровочных измерений по фиг.8 эталонный массовый расход , температура ИРМ и частота возбуждения ИРМ должны измеряться M+N+O+P раз для каждого параметра. Требуется, чтобы M+N+O+P равнялось, по меньшей мере, количеству параметров, решаемых с помощью Уравнения 1.10. Однако рекомендуется, чтобы сумма M+N+O+P была намного больше, чем количество решаемых параметров. Это представляет собой определение задачи наименьших квадратов, которую здесь пытаются решить.
Для исключения путаницы предположим, что M=N=0=P, в результате суммарное количество измерений эталонного значения массового расхода, температуры ИРМ и частоты ИРМ равно 4-кратному значению М. Размеры задачи калибровки, представленной Уравнением 1.10, с параметрами, приведенными в таблице 1 и представленными на фиг.8, также показаны на фиг.12.
После того как данные по фиг.8 будут получены и уравнение 1.10 будет решено, получают четыре значения, а именно t0, F, Они представляют собой требуемые калибровочные константы. Член t0 представляет собой нулевое смещение ИРМ. Это значение получают при обнулении измерителя в традиционном смысле (то есть, в результате нажатия кнопки обнуления). Член F представляет собой влияние линейной частоты (следовательно, температуры) на нулевое смещение ИРМ. Член представляет собой коэффициент калибровки потока (ККП) ИРМ.
Член представляет собой влияние линейной частоты (следовательно, температуры) на ККП ИРМ. Эти калибровочные константы теперь можно использовать в Уравнении 1.5 для расчета компенсированного по частоте (следовательно, по температуре) массового расхода ИРМ.
Электронная измерительная схема 121, показанная на фиг.1 и 15, выполняет обработку данных, требуемую для выполнения операций, представленных на фиг.12.
Описание фиг.13
На фиг.13 показан результат использования определения частоты для температурной компенсации по сравнению с использованием датчиков температуры РДТ, для отслеживания частоты расходомерной трубки и температурной компенсации. На фиг.13 ясно показано преимущество температурной компенсации на основе частоты по сравнению с использованием РДТ. Линией 1303 представлено значение массового расхода, полученное с помощью эталонного Кориолисова расходомера. Сплошной линией 1308 представлены результаты, полученные используя датчики РДТ. Пунктирной линией 1309 иллюстрируется отслеживание частоты в соответствии с настоящим изобретением.
Линией 1303 представлена частота возбуждения. Линией 1302 представлена температура. Линией 1301 представлено полученное в результате значение массового расхода. На прямых участках линии 1303 результаты измерения, полученные эталонным измерителем с использованием РДТ и с использованием частоты, накладываются друг на друга, при этом результаты отклоняются только на участках 1305, 1306 и 1307, которые представляют внезапные изменения массового расхода. Элемент 1305 содержит линии 1303, 1308 и 1309. Линия 1303 представляет массовый расход, полученный с помощью эталонного измерителя. Линией 1308 представлен отклик РДТ. Линией 1309 представлен отклик, полученный с использованием отслеживания частоты. Можно видеть, что отклики, представленные линиями 1303 и 1309, являются, по существу, одинаковыми во время переходного периода, представленного элементом 1305. Также по отклику 1308 элемента 1305 можно видеть, что отклик РДТ существенно расходится при сравнении его с откликом, полученным эталонным измерительным устройством. То же наблюдение можно сделать в отношении элементов 1306 и 1307, где результаты, полученные с использованием частотной компенсации, отображаемой линией 1309, более близко соответствует отклику эталонного устройства, отображаемого с помощью линии 1303, чем результаты, отображаемые линией 1308, представляющей результаты, полученные используя температурную компенсацию РДТ.
Значения массового расхода по фиг.13 соответствуют соответственно обозначенным элементам на фиг.7, 8 и 9.
На основе анализа фиг.13 можно сделать вывод, что использовать отслеживание частоты для температурной компенсации гораздо более предпочтительно по сравнению с использованием РДТ, в случае когда требуется обеспечить точность в переходных условиях массового расхода.
Электронная измерительная схема 121, показанная на фиг.1 и 15, выполняет обработку данных, требуемую для осуществления операций, показанных на фиг.13.
Описание фиг.14
Со ссылкой на фиг.14 раскрыто сравнение точности отклика при использовании отслеживания частоты по сравнению с использованием РДТ. Линией 1401 представлена частота возбуждения, линией 1402 представлена температура и линией 1403 представлен массовый расход. Линия 1414 представляет ошибку компенсации, получаемую при использовании отслеживания частоты по сравнению с использованием РДТ. Как можно видеть, при использовании РДТ по сравнению с отслеживанием частоты получают сопоставимые результаты, когда массовый расход является, по существу, постоянным. Однако элементы 1405, 1406 и 1407 обозначают состояния, в которых происходят переходные процессы массового расхода. Как показано для элемента 1405, отклик при использовании отслеживания 1415 частоты более близко соответствует массовому расходу 1414, измеренному эталонным устройством, чем отклик 1405 РДТ.
Электронная измерительная схема 121, показанная на фиг.1 и 15, выполняет обработку данных, требуемую для выполнения операций, показанных на фиг.14.
Описание фиг.15
Как показано на фиг.15, электронная измерительная схема 121 включает в себя процессор 1501 и запоминающее устройство 1502.
Процессор 1501 может содержать обычное ЦПУ. В качестве альтернативы он может содержать специализированный процессор или процессор общего назначения, или DSP (ЦПС, цифровой процессор сигналов). Запоминающее устройство 1502 может содержать систему памяти любого типа, такую как запоминающее устройство типа флэш или обычное ПЗУ и ОЗУ, предназначенные для сохранения информации, как в течение длительного времени, так и в течение короткого времени.
Электронная измерительная схема 121 принимает входную информацию по цепи 123 и передает выходную информацию по цепи 122 для пользователя. Электронная измерительная схема 121 принимает входные сигналы по цепи 123 от датчиков LP0 и RP0. Эти сигналы датчиков показаны на фиг.10 в элементе 1002. Сигналы датчиков передают из элемента 1002 в элемент 1004, который выполняет обозначенные функции и выводит свою информацию в элемент 1006. Элементы 1002 и 1004 продублированы на фиг.11 как элементы 1102 и 1104. Элемент 1006 на фиг.10 принимает выходные сигналы элементов 1004 и 1003 и получает обозначенные калибровочные константы. Для этой функции используются запоминающее устройство 1502 и процессор 1501 по фиг.15.
Элемент 1106 по фиг.11 принимает выходные сигналы элемента 1006 и элемента 1104 и получает обозначенное значение массового расхода в результате решения уравнения 1.5.
Эти функции выполняются с использованием запоминающего устройства 1502 и процессора 1501 по фиг.15.
Запоминающее устройство 1502 и процессор 1501 электронной измерительной схемы 121 также используются для выполнения различных расчетов и функций, показанных на фиг.5, 6, 7, 8, 9, 12, 13 и 14.
Следует понимать, что заявленное изобретение не ограничивается описанием предпочтительного варианта выполнения, но охватывает другие модификации и изменения в пределах объема и сущности концепции изобретения. Хотя в связи с изобретением были описаны конкретные взаимозависимости и уравнения, следует понимать, что изобретение включает в себя и может применяться на практике с использованием модификаций раскрытых уравнений и взаимозависимостей. Кроме того, хотя способ и устройство показаны в связи с Кориолисовым расходомером, следует понимать, что этот способ и устройство в соответствии с изобретением можно использовать с Кориолисовым расходомером любого типа, включая Кориолисов расходомер с металлической, пластиковой или стеклянной расходомерной трубкой (трубками).
Формула изобретения
1. Способ обеспечения температурной компенсации Кориолисова расходомера, имеющего, по меньшей мере, одну расходомерную трубку; причем указанный способ содержит следующие этапы:
генерирования первого сигнала, представляющего Кориолисово отклонение указанной расходомерной трубки;
генерирования второго сигнала, представляющего характеристики указанного расходомера, в котором указанные характеристики включают в себя частоту F возбуждения указанного Кориолисова расходомера, а также индуцированную задержку t времени; и
отличающийся наличием электронной измерительной схемы для использования указанного первого и указанного второго сигналов для обеспечения температурной компенсации выходных сигналов указанного Кориолисова расходомера.
2. Способ по п.1, в котором указанный этап обеспечения температурной компенсации включает в себя следующие этапы:
приема калиброванного значения массового расхода из эталонного Кориолисова расходомера, и
использования указанного первого и указанного второго сигналов, и указанного калиброванного значения массового расхода для обеспечения указанной температурной компенсации для указанного Кориолисова расходомера.
3. Способ по п.2, в котором указанный этап обеспечения температурной компенсации включает в себя следующие этапы:
использования указанного первого и указанного второго сигналов, и указанного калиброванного значения массового расхода, для получения калибровочных констант для указанного Кориолисова расходомера; и
использования указанных калибровочных констант для обеспечения указанной температурной компенсации для указанного Кориолисова расходомера.
4. Способ по любому из пп.1-3, включающий в себя дополнительный этап определения компенсированного по температуре значения массового расхода для указанного Кориолисова расходомера в ответ на указанное генерирование указанного первого и второго сигналов, и указанное обеспечение указанной температурной компенсации для указанного Кориолисова расходомера.
5. Способ по п.1, включающий в себя дополнительные этапы:
приема третьего сигнала, представляющего калибровочные константы указанного Кориолисова расходомера; и
использования указанного первого, и указанного второго, и указанного третьего сигналов для определения компенсированного по температуре значения массового расхода для указанного Кориолисова расходомера.
6. Способ по п.4, включающий в себя дополнительные этапы:
определения частоты F возбуждения из указанного второго сигнала;
получения калибровочной константы F линейной частоты для нуля; и
использования указанной частоты F возбуждения и указанной калибровочной константы F линейной частоты для нуля для получения указанного компенсированного по температуре значения массового расхода.
7. Способ по п.6, включающий в себя дополнительные этапы:
получения коэффициента для потока; и
использования указанной частоты F возбуждения и указанной константы F линейной частоты возбуждения для нуля, и указанной константы для потока для получения указанного компенсированного по температуре значения массового расхода.
8. Способ по п.7, включающий в себя дополнительные этапы:
получения константы F линейной частоты (температуры) для потока; и использования указанной частоты F возбуждения и указанной калибровочной константы F линейной частоты возбуждения для нуля и указанной константы для потока, и указанной константы F линейной частоты (температуры) для потока для получения указанного компенсированного по температуре значения массового расхода.
9. Способ по п.3, в котором указанный этап получения указанных калибровочных констант содержит следующий этап:
приема значения массового расхода из эталонного Кориолисова расходомера; и
использования указанного полученного значения массового расхода и указанного второго сигнала для получения указанных калибровочных констант указанного Кориолисова расходомера.
10. Способ по п.9, в котором указанный этап генерирования указанных калибровочных констант содержит дополнительные этапы:
приема указанного второго сигнала для получения индуцированной потоком задержки t времени и указанной частоты F возбуждения Кориолисова расходомера; и
использования указанного первого сигнала и указанной индуцированной потоком задержки t времени, и указанной частоты F возбуждения для получения указанных калибровочных констант указанного Кориолисова расходомера.
11. Способ по п.10, в котором указанный этап генерирования указанных калибровочных констант содержит дополнительные этапы;
получения константы F линейной частоты возбуждения для номинальной задержки t0 времени; и
использования указанной частоты F возбуждения и указанной константы F линейной частоты возбуждения для указанной номинальной задержки t0 времени для получения указанных калибровочных констант.
12. Способ по любому из пп.9-11, в котором указанные калибровочные константы представляют собой:
t0, F, 
13. Способ по любому из пп.3 и 5-11, в котором указанный этап получения указанных калибровочных констант включает в себя этап решения выражения:

где t – индуцированная потоком задержка времени;
t0 – номинальная задержка времени;
– массовый расход;
F – частота возбуждения;
F0 – частота возбуждения для номинального нулевого потока;
F – константа линейной частоты для нуля.
– константа, связанная с FCF (ККП, коэффициент калибровки потока).
– константа линейной частоты (температуры).
14. Способ по любому из пп.5-8, в котором указанный этап определения указанного компенсированного по температуре значения массового расхода содержит этап решения выражения:

где t – индуцированная потоком задержка времени;
t0 – номинальная задержка времени;
– массовый расход;
F – частота возбуждения;
F0 – нулевая частота возбуждения;
F – константа линейной частоты для нуля;
– константа, связанная с ККП;
– константа линейной ККП частоты (температуры).
15. Способ по п.4, в котором указанный этап получения указанных калибровочных констант включает в себя этап решения выражения:

где t – индуцированная потоком задержка времени;
t0 – номинальная задержка времени;
– массовый расход;
F – частота возбуждения;
F0 – частота возбуждения для номинального нулевого потока;
F – константа линейной частоты для нуля;
– константа, связанная с ККП;
– константа линейной частоты (температуры).
16. Способ по п.4, в котором указанный этап определения указанного компенсированного по температуре значения массового расхода содержит этап решения выражения:

где t – индуцированная потоком задержка времени;
t0 – номинальная задержка времени;
– массовый расход;
F – частота возбуждения;
F0 – нулевая частота возбуждения;
F – константа линейной частоты для нуля;
– константа, связанная с ККП;
– константа линейной ККП частоты (температуры).
17. Устройство, которое обеспечивает температурную компенсацию для Кориолисова расходомера, имеющего, по меньшей мере, одну расходомерную трубку, причем указанное устройство содержит:
устройство, которое генерирует первый сигнал, представляющий Кориолисовы отклонения указанной расходомерной трубки;
устройство, которое генерирует второй сигнал, представляющий характеристики указанного расходомера, в котором указанные характеристики включают в себя частоту F возбуждения указанного Кориолисова расходомера, а также индуцированную задержку t времени; и
отличающееся наличием электронной измерительной схемы (121), в которой указанный первый и указанный второй сигналы используются для обеспечения температурной компенсации выходных сигналов указанного Кориолисова расходомера.
18. Устройство по п.17, которое включает в себя:
устройство, которое принимает калиброванное значение массового расхода из эталонного Кориолисова расходомера, и
устройство, в котором указанный первый и указанный второй сигналы, и указанное калиброванное значение массового расхода используются для обеспечения указанной температурной компенсации для указанного Кориолисова расходомера.
19. Устройство по п.18, которое дополнительно включает в себя:
устройство, в котором указанный первый и указанный второй сигналы, и указанное калиброванное значение массового расхода используются для получения калибровочных констант для указанного Кориолисова расходомера; и
устройство, в котором указанные калибровочные константы и указанный первый и указанный второй сигналы, и указанные калиброванные значения массового расхода используются для получения указанной температурной компенсации для указанного Кориолисова расходомера.
20. Устройство по любому из пп.17-19, включающее в себя устройство, которое определяет компенсированное по температуре значение массового расхода для указанного Кориолисова расходомера в ответ на указанное генерирование указанных первого и второго сигналов, и указанное обеспечение указанной температурной компенсации для указанного Кориолисова расходомера.
21. Устройство по п.17, дополнительно включающее в себя:
устройство, которое принимает третий сигнал, представляющий калибровочные константы указанного Кориолисова расходомера; и
устройство, в котором указанный первый, и указанный второй, и указанный третий сигналы, и указанные калибровочные константы используются для определения компенсированного по температуре значения массового расхода для указанного Кориолисова расходомера.
22. Устройство по п.17, дополнительно включающее в себя:
устройство, которое определяет частоту F возбуждения из указанного второго сигнала;
устройство, которое получает константу F калибровки линейной частоты для нуля;
устройство, которое получает коэффициент для потока;
устройство, которое получает константу F линейной частоты (температуры) для потока; и
устройство, в котором указанная частота F возбуждения и указанная константа F линейной частоты возбуждения для нуля, и указанная константа для потока, и указанная константа F линейной частоты (температуры) для потока используются для получения компенсированного по температуре значения массового расхода.
23. Устройство по п.19, в котором указанное устройство, которое получает указанные калибровочные константы, содержит:
устройство, которое принимает значение массового расхода из эталонного Кориолисова расходомера;
устройство, которое принимает указанный второй сигнал для получения индуцированной потоком задержки t времени и указанной частоты F возбуждения Кориолисова расходомера;
устройство, которое получает константу F линейной частоты F возбуждения для номинальной задержки t0 времени; и
устройство, в котором указанная частота F возбуждения, и указанная константа F линейной частоты возбуждения для указанной номинальной задержки t0 времени, и указанное значение массового расхода используются для получения указанных калибровочных констант.
24. Устройство по любому из пп.19, 21 и 23, в котором указанные калибровочные константы представляют собой:
t0, F, 
25. Устройство по любому из пп.21 и 23, в котором указанное устройство, которое получает указанные калибровочные константы, включает в себя устройство, которое решает выражение:

где t – индуцированная потоком задержка времени;
t0 – номинальная задержка времени;
– массовый расход;
F – частота возбуждения;
F0 – частота возбуждения для номинального нулевого потока.
F – константа линейной частоты для нуля;
– константа, связанная с ККП;
– константа линейной частоты (температуры).
26. Устройство по п.20, в котором указанное устройство, которое получает указанное компенсированное по температуре значение массового расхода, решает следующее выражение 
где t – индуцированная потоком задержка времени задержки;
t0 – номинальная задержка времени;
– массовый расход;
F – частота возбуждения;
F0 – нулевая частота возбуждения;
F – константа линейной частоты для нуля;
– константа, связанная с ККП;
– константа линейной ККП частоты (температуры).
27. Устройство по п.22, в котором указанное устройство, которое получает указанное компенсированное по температуре значение массового расхода, решает следующее выражение

где t – индуцированная потоком задержка времени задержки;
t0 – номинальная задержка времени;
– массовый расход;
F – частота возбуждения;
F0 – нулевая частота возбуждения;
F – константа линейной частоты для нуля;
– константа, связанная с ККП;
– константа линейной ККП частоты (температуры).
РИСУНКИ
|