|
|
(21), (22) Заявка: 2007112245/02, 02.04.2007
(24) Дата начала отсчета срока действия патента:
02.04.2007
(46) Опубликовано: 20.01.2009
(56) Список документов, цитированных в отчете о поиске:
RU 55952 U1, 27.08.2006. RU 7190 U1, 16.07.1998. RU 2246676 C1, 20.02.2005. DE 19702962 A, 30.07.1998.
Адрес для переписки:
300001, г.Тула, Щегловская засека, ГУП “Конструкторское бюро приборостроения”
|
(72) Автор(ы):
Грязев Василий Петрович (RU), Кулицкий Владимир Алексеевич (RU), Скирдин Владимир Яковлевич (RU)
(73) Патентообладатель(и):
Государственное унитарное предприятие “Конструкторское бюро приборостроения” (RU)
|
(54) СТРЕЛКОВОЕ ОРУЖИЕ
(57) Реферат:
Изобретение относится к оружейной технике и может быть использовано в конструкциях различных образцов стрелкового оружия. Стрелковое оружие содержит ствол с казенником, приклад, подпружиненную затворную раму с поршнем и винтовым пазом, поворотный затвор с ответным управляющим выступом и цилиндр газоотводного двигателя. Цилиндр газоотводного двигателя закреплен на казеннике, удлинен назад, и на удлиненной части выполнен продольный паз и боковой вырез под управляющий выступ затвора. Затворная рама снабжена направляющим выступом по внутренней поверхности цилиндра и боковым поверхностям продольного паза на всем протяжении отката-наката. Приклад с направлением по наружной поверхности цилиндра закреплен на казеннике. Изобретение обеспечивает упрощение конструкции, улучшение технологичности и снижение трудоемкости изготовления стрелкового оружия. 3 ил.
Изобретение относится к оружейной технике и может быть использовано в конструкциях различных образцов стрелкового, в том числе и автоматического оружия.
Известно стрелковое оружие (7,62 мм автомат АКМ), содержащее ствол с казенником, приклад, подпружиненную затворную раму с поршнем и винтовым пазом под ответный управляющий выступ поворотного затвора и цилиндр газоотводного двигателя (газовую камору) (Наставление по стрелковому делу 7,62 мм модернизированный автомат Калашникова (АКМ и АКМС). Военное издательство Министерства обороны СССР, Москва, 1975 г., стр.27-44).
Задачей изобретения является упрощение конструкции, улучшение технологичности и снижение трудоемкости изготовления оружия.
Поставленная задача достигается тем, что в стрелковом оружии, содержащем ствол с казенником, приклад, подпружиненную затворную раму с поршнем и винтовым пазом, поворотный затвор с ответным управляющим выступом и цилиндр газоотводного двигателя, цилиндр удлинен назад за казенник, закреплен на нем, на удлиненной части цилиндра выполнен продольный паз под управляющий выступ затвора в отпертом положении и боковой вырез в стенке паза под управляющий выступ при запирании-отпирании затвора, затворная рама с поршнем снабжена направляющим выступом по внутренней поверхности цилиндра и боковым поверхностям продольного паза на всем протяжении отката-наката, а приклад с направлением по наружной поверхности цилиндра закреплен на казеннике.
Основной трудоемкой и малотехнологичной частью стрелкового оружия является ствольная коробка, служащая для направления затворной рамы и затвора, объединения основных узлов (приклада, рукоятки, казенника, магазина, возвратной пружины) и размещения отдельных механизмов (спускового, ударного, отражения гильз, предохранительного).
Для защиты механизмов от загрязнения и для удобства эксплуатации оружия ствольную коробку закрывает крышка ствольной коробки.
В предложенной конструкции ствольная коробка и крышка ствольной коробки отсутствуют.
Роль направляющих затворной рамы и затвора выполняет продленный назад за казенник и закрепленный на нем цилиндр газоотводного двигателя с продольным пазом и боковым вырезом.
Основным силовым элементом оружия вместо ствольной коробки служит казенник, для объединения основных узлов (магазина, возвратной пружины) служит приклад, имеющий направление по наружной поверхности цилиндра и закрепленный на казеннике.
Одновременно приклад служит для размещения отдельных механизмов (ударного, отражения и других) и защиты механизмов от загрязнения вместо крышки ствольной коробки. Для удобства эксплуатации оружия приклад выполнен съемным, и после снятия его все механизмы оружия открыты для чистки и смазки.
Рукоятка может быть выполнена отдельно или за одно с прикладом.
Спусковой и предохранительный механизмы могут размещаться в прикладе, рукоятке или казеннике.
Предлагаемая конструкция может быть использована в классической схеме оружия и в схеме “булл-пап”.
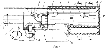
Изобретение поясняется чертежами, где на фигуре 1 показано продольное сечение оружия по стволу с казенником, цилиндру газоотводного двигателя и прикладу с изображением его возможного крепления на казеннике.
На чертеже показан затвор в крайнем заднем положении, возвратная пружина, магазин и рукоятка.
На фигуре 2 показано поперечное сечение приклада, цилиндра и затворной рамы с поршнем по управляющему выступу затвора.
На фигуре 3 показано поперечное сечение приклада, цилиндра и затворной рамы по ее направляющему выступу.
Стрелковое оружие содержит ствол 1, закрепленный в казеннике 2, приклад 11, затворную раму 12, подпружиненную пружиной 10, с поршнем 3 и поворотным затвором 7 и цилиндр газоотводного двигателя 4, закрепленный на казеннике, например, сваркой.
В затворной раме выполнен направляющий выступ 17 и винтовой паз 9, в котором размещен управляющий выступ 8 затвора.
В цилиндре газоотводного двигателя 4 выполнен продольный паз 6 и боковой вырез 5.
Приклад 11 направляется по наружной поверхности цилиндра и закреплен на казеннике 2, например, винтом 14 вместе с рукояткой 15.
Приклад объединяет с оружием магазин 13, возвратную пружину 10, и в нем размещены другие отдельные механизмы, например ударный, спусковой, отражения гильзы, предохранительный, которые на чертеже не показаны, так же как и способ подвода порохового газа к цилиндру газоотводного двигателя.
Механизмы, не показанные на чертеже, могут быть выполнены различной конструкции, например аналогично соответствующим механизмам автомата Калашникова.
Работа частей и механизмов стрелкового оружия при стрельбе происходит следующим образом.
Перед выстрелом затворная рама 12 находится в переднем положении, поджата возвратной пружиной 10, затвор 7 заперт, ударный механизм взведен, патрон в патроннике, предохранитель снят.
При нажатии на спусковой крючок ударный механизм разбивает капсель-воспламенитель патрона, происходит выстрел.
После выстрела пороховые газы, воздействуя на поршень, откатывают затворную раму назад, которая, взаимодействуя винтовым пазом 9 с управляющим выступом 8, отпирает затвор. При отпирании управляющий выступ затвора 7 через боковой вырез 5 входит в продольный паз 6 цилиндра 4, который при дальнейшем откате удерживает затвор от разворота. Затворная рама на всем протяжении отката и последующего наката направляется направляющим выступом 17 по внутренней поверхности цилиндра 4 и от разворота удерживается боковыми поверхностями 16 продольного паза 6. Передняя часть затворной рамы поддерживается поршнем, направленным по внутренней поверхности цилиндра.
Сжимая возвратную пружину 10, затворная рама гасит свою энергию, отражает стреляную гильзу, забегает за очередной патрон, поданный на линию досылания магазином 13, и под действием возвратной пружины накатывается вперед, досылая очередной патрон в патронник.
В процессе отката-наката затворной рамы ударный механизм взводится, а спусковой механизм подготавливается к следующему выстрелу.
Затворная рама, приходя в переднее положение, запирает затвор, управляющий выступ 8 которого через боковой вырез 5 выходит из продольного паза 6 цилиндра 4. Затвор заперт, оружие подготовлено к следующему выстрелу. При автоматическом режиме огня произойдет очередной выстрел, а при одиночном режиме огня (или в самозарядном оружии) для производства очередного выстрела необходимо отпустить спусковой крючок и повторно нажать его, после чего цикл работы оружия повторяется.
Таким образом, в предложенной конструкции стрелкового оружия за счет конструктивных особенностей цилиндра газоотводного двигателя, затворной рамы с затвором и приклада обеспечивается упрощение конструкции, улучшение технологичности и снижение трудоемкости оружия, в основном за счет ликвидации ствольной коробки, крышки ствольной коробки и передачи их функций другим имеющимся в конструкции узлам и элементам.
Предлагаемая согласно изобретению конструкция стрелкового оружия проверена на целом ряде опытных образцов с положительными результатами.
Формула изобретения
Стрелковое оружие, содержащее ствол с казенником, приклад, подпружиненную затворную раму с поршнем и винтовым пазом, поворотный затвор с ответным управляющим выступом и цилиндр газоотводного двигателя, отличающееся тем, что цилиндр удлинен назад за казенник и закреплен на нем, на удлиненной части цилиндра выполнен продольный паз под управляющий выступ затвора в отпертом положении и боковой вырез в стенке паза под управляющий выступ при запирании-отпирании затвора, затворная рама снабжена выступом, направляющим ее по внутренней поверхности цилиндра и боковым поверхностям продольного паза на всем протяжении отката-наката, а приклад закреплен на казеннике с направлением его по наружной поверхности цилиндра.
РИСУНКИ
|
|