|
|
(21), (22) Заявка: 2005140525/06, 20.12.2005
(24) Дата начала отсчета срока действия патента:
20.12.2005
(43) Дата публикации заявки: 10.07.2007
(46) Опубликовано: 20.01.2009
(56) Список документов, цитированных в отчете о поиске:
US 5595155 А, 21.01.1997. RU 2131552 С1, 10.06.1999. RU 2193676 С2, 27.11.2002. SU 1232140 A3, 15.05.1986. US 5551853 А, 03.09.1996. US 3942484 А, 09.03.1976.
Адрес для переписки:
192007, Санкт-Петербург, а/я 146, ООО “АИС поли-ИНФОРМ-патент”, пат.пов. О.Л.Сандигурскому, рег.№ 750
|
(72) Автор(ы):
Карасев Анатолий Владимирович (RU)
(73) Патентообладатель(и):
Карасева Алиса Никифоровна (RU)
|
(54) РОТОРНЫЙ ДВИГАТЕЛЬ ВНУТРЕННЕГО СГОРАНИЯ
(57) Реферат:
Изобретение относится к двигателестроению. Роторный двигатель внутреннего сгорания содержит корпус, вал, камеры сгорания с окнами, впускные и выпускные каналы, а также внутренний и внешний конструктивные узлы. Внутренний и внешний конструктивные узлы размещены в корпусе и образуют основной блок и дополнительный блок. Внутренний конструктивный узел включает кольцевой диск с пазами, в которых размещены лопасти. Внешний конструктивный узел включает коаксиальные цилиндрические трубчатые элементы основного блока и дополнительного блока. Между коаксиальными цилиндрическими трубчатыми элементами основного блока соответственно большего и меньшего диаметров размещены кольцевые элементы с волнообразными поверхностями, образующими гребни и впадины. Волнообразные поверхности кольцевых элементов обращены друг к другу, эквидистантны и совместно с наружной поверхностью цилиндрических трубчатых элементов меньшего диаметра, внутренней поверхностью цилиндрических трубчатых элементов большего диаметра и торцевыми поверхностями кольцевого диска образуют рабочие камеры. Впускные и выпускные каналы соответственно основного и дополнительного блоков выполнены в каждой из частей кольцевого диска с одной стороны от лопастей. Камеры сгорания выполнены в виде цилиндрических стаканов, разделенных перегородками на две секции, и размещены с другой стороны от лопастей в каждой части кольцевого диска с возможностью вращения. Окна выполнены в каждой секции камер сгорания. Техническим результатом является повышение коэффициента полезного действия роторного двигателя внутреннего сгорания. 4 ил.
Изобретение относится к области машиностроения и, в частности, к двигателестроению.
Известен роторный двигатель внутреннего сгорания (ДВС), включающий статор, коаксиальные цилиндрические трубчатые элементы, между которыми размещены кольцевые элементы с обращенными друг к другу эквидистантными поверхностями, образованными в виде совокупности ступенчато сопряженных плоскостей; устройство также имеет ротор с лопастями, установленный на валу. Рабочая камера находится между эквидистантными поверхностями кольцевых элементов и коаксиальными поверхностями цилиндров. Часть рабочей камеры в определенный момент выполняет функцию камеры сгорания, US 4401070.
Недостатком устройства является то обстоятельство, что часть воспламененной смеси возвращается в зону сжатия, что обусловливает низкий коэффициент полезного действия (кпд). Кроме того, устройство весьма сложно по конструкции и в изготовлении ввиду наличия внутренних каналов в роторе и статоре.
Известен также роторный двигатель внутреннего сгорания по патенту US 5551853, содержащий корпус, вал, внутренний и внешний конструктивные узлы, размещенные в корпусе с возможностью взаимного вращения и образующие совместно друг с другом основной блок. Внутренний конструктивный узел включает кольцевой диск с пазами, в которых с возможностью возвратно-поступательного движения размещены лопасти. Внешний конструктивный узел включает коаксиальные цилиндрические трубчатые элементы соответственно большего и меньшего диаметров, между которыми размещены кольцевые элементы с волнообразными поверхностями, образующими гребни и впадины. Волнообразные поверхности кольцевых элементов обращены друг к другу, эквидистантны и совместно с наружной поверхностью цилиндрических трубчатых элементов меньшего диаметра, внутренней поверхностью цилиндрических трубчатых элементов большего диаметра и торцевыми поверхностями кольцевого диска образуют рабочие камеры. Устройство имеет камеры сгорания с окнами и впускные и выпускные каналы.
Это объясняется тем, что значительная часть воспламененной рабочей смеси выбрасывается в атмосферу через выпускной канал с противоположной свече зажигания стороны ротора. Кроме того, устройство по патенту US 5551853 требует минимум 6 лопастей для полного рабочего цикла двигателя, при этом при сжатии рабочей смеси используется только часть объема рабочей камеры между двумя соседними лопастями. Это обусловливает невысокую степень сжатия рабочей смеси и соответственно также негативно влияет на кпд.
Следует также указать, что часть объема рабочей камеры в зоне зажигания сообщается с частью объема рабочей камеры в зоне сжатия, в результате чего газы, образовавшиеся при сгорании смеси, перемешиваются со свежим зарядом рабочей смеси, ухудшая ее качество и соответственно дополнительно снижая кпд.
Более простую конструкцию имеет роторный двигатель внутреннего сгорания по патенту US 5595155, содержащий корпус, вал, камеры сгорания с окнами, впускные и выпускные каналы, внутренний и внешний конструктивные узлы, размещенные в корпусе с возможностью взаимного вращения и образующие совместно друг с другом основной блок и дополнительный блок, установленный коаксиально с основным блоком. Внутренний конструктивный узел двигателя включает кольцевой диск с пазами, в которых с возможностью возвратно-поступательного движения размещены лопасти, а внешний конструктивный узел включает коаксиальные цилиндрические трубчатые элементы основного блока соответственно большего и меньшего диаметров и коаксиальные цилиндрические трубчатые элементы дополнительного блока. Основной и дополнительный блоки внешнего конструктивного узла имеют общие цилиндрические трубчатые элементы. Кольцевой диск плоскостью, параллельной его торцевым поверхностям, разделен на две части, в которых в зоне окон выполнены нагнетательные и выпускные отверстия, соответственно, основного и дополнительного блоков.
Данное техническое решение принято за прототип настоящего изобретения.
Недостатком прототипа является низкий кпд. Это обусловлено, прежде всего тем, что сжатая топливовоздушная смесь из камеры, в которой происходит ее сжатие (компрессионная камера), передается в камеру сгорания через вспомогательный объем. При этом суммарный объем, в котором размещается полученная сжатая топливовоздушная смесь, по крайней мере более чем в два раза больше объема камеры сгорания и только часть ее (меньше половины) остается в этой камере сгорания.
Задачей настоящего изобретения является повышение кпд роторного двигателя внутреннего сгорания.
Эта задача решается за счет того, что в роторном двигателе внутреннего сгорания, содержащем корпус, вал, камеры сгорания с окнами, впускные и выпускные каналы, внутренний и внешний конструктивные узлы, размещенные в корпусе с возможностью взаимного вращения и образующие совместно друг с другом основной блок и дополнительный блок, установленный коаксиально с основным блоком, причем внутренний конструктивный узел включает кольцевой диск с пазами, в которых с возможностью возвратно-поступательного движения размещены лопасти, внешний конструктивный узел включает коаксиальные цилиндрические трубчатые элементы основного блока, соответственно большего и меньшего диаметров, и коаксиальные цилиндрические трубчатые элементы дополнительного блока, основной и дополнительный блоки имеют общие цилиндрические трубчатые элементы, кольцевой диск плоскостью, параллельной его торцевым поверхностям, разделен на две части, в которых в зоне окон выполнены нагнетательные и выпускные отверстия, соответственно основного и дополнительного блоков, согласно изобретению между коаксиальными цилиндрическими трубчатыми элементами основного блока, соответственно большего и меньшего диаметров, размещены кольцевые элементы с волнообразными поверхностями, образующими гребни и впадины, при этом волнообразные поверхности кольцевых элементов обращены друг к другу, эквидистантны и совместно с наружной поверхностью цилиндрических трубчатых элементов меньшего диаметра, внутренней поверхностью цилиндрических трубчатых элементов большего диаметра и торцевыми поверхностями кольцевого диска образуют рабочие камеры, и тем, что впускные и выпускные каналы соответственно основного и дополнительного блоков выполнены в каждой из частей кольцевого диска с одной стороны от лопастей, а камеры сгорания выполнены в виде цилиндрических стаканов, разделенных перегородками на две секции, и размещены с другой стороны от лопастей в каждой части кольцевого диска с возможностью вращения, при этом окна выполнены в каждой секции камер сгорания.
Заявителем не выявлены технические решения, идентичные настоящему изобретению, что позволяет сделать вывод о его соответствии критерию «новизна».
Благодаря реализации отличительных признаков настоящего изобретения в совокупности с признаками, приведенными в ограничительной части формулы изобретения, достигаются важные новые свойства заявленного объекта. Каждая лопасть сжимает полный объем рабочей камеры, а при использовании в качестве камер сжатия рабочих камер того блока (основного или дополнительного), который охватывает другой блок, увеличивается объем сжимаемой рабочей смеси как за счет большего среднего диаметра рабочих камер, так и за счет увеличения амплитуды волнообразной поверхности (расстояния между гребнями и впадинами волны). Таким образом, заявленная машина имеет значительно большую степень сжатия рабочей смеси. В результате значительно повышается кпд двигателя.
Указанные обстоятельства обусловливают, по мнению заявителя, соответствие настоящего изобретения критерию «изобретательский уровень».
Сущность изобретения поясняется чертежами, где изображено:
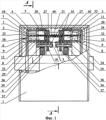
на фиг.1 – разрез двигателя по оси ротора;
на фиг.2 – разрез А-А на фиг.1;
на фиг.3 – разрез Б-Б на фиг.2;
на фиг.4 – аксонометрия камеры сгорания (передний сегмент условно удален).
Роторный двигатель внутреннего сгорания содержит корпус 1, в котором размещены внешний 2 и внутренний 3 конструктивные узлы с возможностью взаимного вращения. В конкретном варианте внешний конструктивный узел 2 установлен на валу 4 и включает коаксиальные цилиндрические трубчатые элементы, соответственно 5 и 6 основного блока 7, выделенного на фиг.1 пунктиром, и 6, 8 дополнительного блока 9, также выделенного пунктиром. В конкретном примере блок 7 охватывает блок 9, то есть является внешним, а блок 9 – внутренним. Между цилиндрическими трубчатыми элементами 5, 6 и 7, 8 размещены соответственно кольцевые элементы 10, 11 и 12, 13 с волнообразными поверхностями, образующими гребни 14, 15 и впадины 16, 17. Волнообразные поверхности кольцевых элементов обращены друг к другу и эквидистантны. Внутренний конструктивный узел 3 содержит кольцевой диск, разделенный на две части 18 и 19, в пазах 20 которых с возможностью возвратно-поступательного движения размещены лопасти 21 (во внешнем блоке) и 22 (во внутреннем блоке). Волнообразные поверхности кольцевых элементов 10-13 совместно с поверхностями цилиндрических элементов 5, 6 и 6, 8 и торцевыми поверхностями частей 18, 19 кольцевого диска образуют рабочие камеры 23 и 24. В каждой части кольцевого диска выполнены впускные 25 и выпускные 26 каналы. Камеры 27 сгорания выполнены в виде цилиндрических стаканов, разделенных перегородками 28 на две секции 29, 30. Камеры сгорания в виде цилиндрических стаканов установлены с возможностью вращения в каждой части 18 и 19 кольцевого диска. Каждая секция камеры сгорания имеет окно 31. В частях 18 и 19 кольцевого диска в зоне окон 31 выполнены нагнетательные отверстия 32 и выпускные отверстия 33. На валу 4 укреплены кольцевые магниты 34, а на дополнительном валу 35 – кольцевые магниты 36 и зубчатые колеса 37, находящиеся в контакте с камерами сгорания 27. Свечи 38 зажигания установлены в гребнях кольцевых элементов с волнообразными поверхностями. Для компенсации изменений длины при различных температурных режимах лопасти 21, 22 снабжены уплотнителями 39. В заявленной конструкции предусмотрены системы охлаждения и смазки, на чертежах не показаны.
Пуск роторного двигателя внутреннего сгорания осуществляется посредством стартера, на чертежах не показан.
Внешний конструктивный узел 2 вращается в направлении по часовой стрелке (фиг.2), что соответствует его направлению движения вниз на фиг.1 и 3, показанному стрелками на этих рисунках.
Рабочий процесс в ДВС рассмотрим на примере полного рабочего цикла в его правой половине (фиг.3).
При вращении внешнего конструктивного узла 2 (фиг.3) за лопастью 21 (блок 7, фиг.3 верхняя часть рисунка) в рабочей камере 23 создается разрежение, и через впускной канал 26 рабочая камера 23 заполняется свежим зарядом топливовоздушной смеси. Одновременно лопастью 21 сжимается свежий заряд топливовоздушной смеси, заполнивший рабочую камеру 23 в предыдущем цикле и находящийся перед лопастью. Этот заряд через нагнетательное отверстие 32 и окно 31 заполняет секцию 30 камеры сгорания 27. При дальнейшем вращении внешнего конструктивного узла 2 гребень 14 кольцевого элемента 11 с волнообразной поверхностью перемещается за лопасть 21. При этом одновременно северный полюс кольцевого магнита 34 (фиг.2) приближается к северному полюсу кольцевого магнита 36, обеспечивая при их взаимодействии поворот дополнительного вала 35 на 180° и соответственно через зубчатое колесо 37 поворот на 180° камеры сгорания 27. Камера сгорания 27 поворачивается в направлении против движения часовой стрелки, и ее поворот завершается на 180° к моменту расположения гребня 15 за выпускным каналом 26; при этом секция 30 камеры сгорания 27 занимает положение, которое занимала секция 29. В секции 30 воспламеняется посредством свечи 38 сжатая топливовоздушная смесь; сгоревшая смесь расширяется, проходя через окно 31 и выпускное отверстие 33 в рабочую камеру 24, (блок 9, фиг.3, нижняя часть чертежа), оказывая давление на волнообразную поверхность кольцевого элемента 13, который продолжает вращение в заданном направлении и вытесняет отработавшие газы предыдущего рабочего цикла через выпускной канал 26. В конкретном примере герметичность в камерах сгорания 27 обеспечивается пружинами 40. При дальнейшем вращении один полный рабочий цикл в правой половине роторного двигателя внутреннего сгорания завершается и начинается второй рабочий цикл, полностью повторяющий первый и т.д. В левой и правой половинах роторного двигателя внутреннего сгорания рабочие циклы протекают одинаково, но со смещением во времени, обусловленным соответствующим смещением рабочих камер 23 и 24.
Принимая заявленную конструкцию за единичный модуль, можно увеличивать мощность роторного двигателя внутреннего сгорания, объединяя на одном валу несколько модулей.
Формула изобретения
Роторный двигатель внутреннего сгорания, содержащий корпус, вал, камеры сгорания с окнами, впускные и выпускные каналы, внутренний и внешний конструктивные узлы, размещенные в корпусе с возможностью взаимного вращения и образующие совместно друг с другом основной блок и дополнительный блок, установленный коаксиально с основным блоком, причем внутренний конструктивный узел включает кольцевой диск с пазами, в которых с возможностью возвратно-поступательного движения размещены лопасти, внешний конструктивный узел включает коаксиальные цилиндрические трубчатые элементы основного блока соответственно большего и меньшего диаметров и коаксиальные цилиндрические трубчатые элементы дополнительного блока, основной и дополнительный блоки имеют общие цилиндрические трубчатые элементы, кольцевой диск плоскостью, параллельной его торцевым поверхностям, разделен на две части, в которых в зоне окон выполнены нагнетательные и выпускные отверстия соответственно основного и дополнительного блоков, отличающийся тем, что между коаксиальными цилиндрическими трубчатыми элементами основного блока соответственно большего и меньшего диаметров размещены кольцевые элементы с волнообразными поверхностями, образующими гребни и впадины, при этом волнообразные поверхности кольцевых элементов обращены друг к другу, эквидистантны и совместно с наружной поверхностью цилиндрических трубчатых элементов меньшего диаметра, внутренней поверхностью цилиндрических трубчатых элементов большего диаметра и торцевыми поверхностями кольцевого диска образуют рабочие камеры, впускные и выпускные каналы соответственно основного и дополнительного блоков выполнены в каждой из частей кольцевого диска с одной стороны от лопастей, камеры сгорания выполнены в виде цилиндрических стаканов, разделенных перегородками на две секции, и размещены с другой стороны от лопастей в каждой части кольцевого диска с возможностью вращения, при этом окна выполнены в каждой секции камер сгорания.
РИСУНКИ
|
|