|
(21), (22) Заявка: 2006145075/12, 19.12.2006
(24) Дата начала отсчета срока действия патента:
19.12.2006
(30) Конвенционный приоритет:
20.12.2005 EP 05027898.5
(43) Дата публикации заявки: 10.07.2008
(46) Опубликовано: 20.01.2009
(56) Список документов, цитированных в отчете о поиске:
ЕР 1215138 А1, 19.06.2002. US 5826447 А, 27.10.1998. US 4452372 А, 05.06.1984. SU 1212320 A3, 15.02.1986. SU 391967 А1, 27.07.1973.
Адрес для переписки:
191036, Санкт-Петербург, а/я 24, “НЕВИНПАТ”, пат.пов. А.В.Поликарпову
|
(72) Автор(ы):
ВИЛЬД Ханс-Петер (DE), ЛИБЕНШТАЙН Райнер (DE)
(73) Патентообладатель(и):
Рудолья Вильд ГмбХ унд Ко. КГ (DE)
|
(54) УСТРОЙСТВО ДЛЯ ФИКСАЦИИ ЗАЖИМНОГО КОЛЬЦА НА ТРАНСПОРТИРОВОЧНЫХ КОНТЕЙНЕРАХ
(57) Реферат:
Изобретение относится к устройству для фиксации зажимного кольца, используемого для плотного закрытия транспортировочных контейнеров для жидкостей. Контейнер, имеющий отверстие и крышку, снабжен зажимным кольцом для закрепления ее на контейнере с плотным закрытием отверстия. Крышка содержит газовыпускной клапан, отходящий от нее наружу, и предохранительное устройство, которое может сцепляться с помощью фиксатора с зажимным кольцом так, что отсоединение последнего возможно только при открытом клапане. Первая часть предохранительного устройства расположена вдоль клапана, а вторая часть отходит от первой части к фиксатору. Изобретение обеспечивает создание более прочного и экономичного устройства для фиксации зажимного кольца. 9 з.п. ф-лы, 5 ил.
Настоящее изобретение относится к устройству для фиксации зажимного кольца, используемого для плотного закрытия транспортировочных контейнеров для жидкостей.
Устройство для фиксации зажимного кольца известно из ЕР 1215138 В1, где описано устройство для сброса давления, выступающее вверх от крышки, закрывающей отверстие. От этого устройства горизонтально выступает часть предохранительного средства, на конце которого имеется ориентированный вниз стержень, который входит в отверстие в зажимном кольце.
Этот предохранительный механизм имеет ряд недостатков. Оказалось, что если предохранительное средство случайно деформируется, то снять клапан или это предохранительное средство можно только с большими трудностями. Кроме того, в этом случае необходима замена клапана и предохранительного средства, что связано со значительными затратами.
Соответственно, целью изобретения является создание более прочного и/или экономичного устройства для фиксации зажимного кольца. Эта цель достигается в устройстве согласно п.1 формулы изобретения.
Предпочтительные варианты осуществления изобретения описаны в зависимых пунктах формулы.
Предохранительное устройство, с помощью которого можно зафиксировать зажимное кольцо, имеет две соединенные друг с другом части, первая из которых расположена вдоль газовыпускного клапана, а вторая отходит от нее к фиксатору, предназначенному для фиксации зажимного кольца. Такая конструкция меньше выступает в направлении от контейнера и значительно меньше подвержена деформации.
Фиксатор может отходить перпендикулярно от второй части. В этом случае можно иметь очень короткий фиксатор, который практически не будет деформироваться.
Длина фиксатора предпочтительно такова, что он проходит через зажимное кольцо, например во фланец контейнера. В то же время достигается очень хорошая фиксация зажимного кольца, так как оно фиксируется относительно фланца.
Целесообразно, чтобы предохранительное устройство имело кольцевую часть с круглым отверстием для насаживания его путем скользящего перемещения на корпус газовыпускного клапана. Это облегчает сборку и разборку системы фиксации или предохранительного устройства.
На корпусе газовыпускного клапана может быть установлен второй фиксатор, соединенный с элементом этого клапана таким образом, что клапан является работоспособным только при нахождении этого фиксатора в рабочем положении, т.е. когда он препятствует снятию кольцевой части предохранительного средства. Благодаря этому зажимное кольцо нельзя освободить до тех пор, пока не будет удален фиксирующий механизм с одновременным воздействием на клапан таким образом, что газ может выходить из контейнера. Таким образом, пока в контейнере имеется давление, освобождение зажимного кольца невозможно.
В предпочтительном варианте осуществления изобретения фиксатор, фиксирующий зажимное кольцо, полностью закрыт второй частью предохранительного устройства. Это защищает фиксатор от механического воздействия и тем самым увеличивает срок службы системы.
Может быть предусмотрено средство, позволяющее снабдить клапан свинцовой пломбой. Это может быть, например, отверстие в корпусе газовыпускного клапана, через которое продевается свинцовая пломба. Таким образом может быть опломбирована, например, верхняя часть клапана, в результате чего снятие предохранительного устройства будет возможно только после нарушения свинцовой пломбы. Это позволяет проверить, проводились ли с контейнером какие-либо манипуляции, в частности не открывался ли люк, клапан или зажимное кольцо.
Устройство для фиксации зажимного кольца на транспортировочных контейнерах содержит предохранительное устройство, с помощью которого можно зафиксировать зажимное кольцо, причем освобождение зажимного кольца от фиксации возможно только если клапан открыт. Предохранительное устройство можно полностью отсоединить от клапана. В случае деформации предохранительного устройства его можно заменить без необходимости замены вместе с ним клапана. Это позволяет получить более экономичную конструкцию.
Отсоединение предохранительного устройства может выполняться без помощи инструментов, так что обращение с устройством является простым.
Далее подробно описан предпочтительный вариант осуществления изобретения со ссылками на чертежи, на которых:
фиг.1 схематично изображает контейнер в разрезе,
фиг.2 – газовыпускной клапан и устройство для фиксации зажимного кольцо на контейнере в аксонометрии;
фиг.3а – газовыпускной клапан в аксонометрии без устройства для фиксации зажимного кольца;
фиг.3b – устройство для фиксации зажимного кольца;
фиг.4 – разрез газовыпускного клапана и устройства для фиксации зажимного кольца в сборе.
На фиг.1 показан контейнер 1, в котором могут находиться жидкости. Такой контейнер, как правило, имеет на нижнем конце или в нижней части боковой стенки сливное отверстие, которое для упрощения чертежа не показано. Контейнер 1 может иметь колесики 8 для его транспортировки. Могут использоваться другие средства для транспортировки, например средства для захвата вилочным погрузчиком или подобные средства. Таким образом, контейнер может быть выполнен в виде транспортировочного контейнера.
Контейнер 1 имеет резервуар 2 с отверстием 4 на верхнем конце. Это отверстие предназначено для доступа внутрь резервуара, например для технического обслуживания, чистки или других операций. Отверстие 4 также называется люком.
Как правило, отверстие 4 закрыто. Для этого служит крышка 3, которая вместе с уплотнительным устройством 6 может быть установлена на контейнере 2 и плотно закрыта. Для прижатия крышки к резервуару 2 и ее удерживания служит зажимное кольцо 5. В крышке установлен газовыпускной клапан 7 для сброса или ограничения избыточного давления в резервуаре 2.
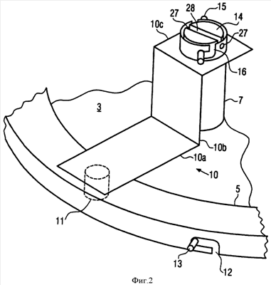
На фиг.2 в аксонометрии схематично показаны газовыпускной клапан 7, зажимное кольцо 5 и предохранительное устройство 10, входящее в состав устройства для фиксации зажимного кольца на контейнере. Корпус клапана 7 отходит вверх от крышки 3 перпендикулярно к ней. Предохранительное устройство 10 установлено на корпусе газовыпускного клапана 7. С этой целью предохранительное устройство 10 имеет кольцевую часть 10с с круглым отверстием. Форма отверстия может быть другой, например квадратной, прямоугольной, эллиптической и т.д.
Кольцевая часть 10с соединена с первой частью 10b, проходящей вниз вдоль клапана. От нижнего конца первой части 10b предохранительного устройства 10 горизонтально отходит его вторая часть 10а, снабженная фиксатором 11, выступающим вертикально вниз. Как видно на фиг.2, фиксатор 11 полностью закрыт второй частью 10а предохранительного устройства 10.
Зажимное кольцо 5 имеет вырезы 12, а контейнер 2 имеет штифты 13, для которых эти пазы 12 служат направляющими. Вырезы 12 и штифты 13 взаимодействуют таким образом, что зажимное кольцо 5 можно повернуть в зафиксированное положение, в котором крышка 3 крепко сидит на контейнере 2 (см. фиг.2). Кроме того, зажимное кольцо 5 можно повернуть в положение, в котором его можно снять с контейнера вместе с крышкой 3. Фиксатор 11 препятствует этому повороту зажимного кольца, поэтому его можно выполнить только после удаления фиксатора.
Такое положение показано на фиг.3а, где видно отверстие 18, проходящее через зажимное кольцо 5 и крышку 3 внутрь контейнера 2.
Как видно на фиг.2, в верхней части газовыпускного клапана 7 расположено тело 14, через которое проходит второй фиксатор 15. Фиксатор 15 может быть вставлен в корпус клапана 7, для чего в корпусе клапана выполнены соответствующие вырезы 16. Когда фиксатор 15 вставлен, он расположен так, что кольцевую часть 10с нельзя снять с клапана 7 до тех пор, пока фиксатор 15 не будет удален.
В теле 14 выполнена канавка 28. Когда тело 14 вставлено в клапан и закреплено фиксатором 15, канавка расположена на одной линии с двумя отверстиями 27 в корпусе клапана 7. Через отверстия 27 может быть продета свинцовая пломба, которая, например, замыкается над корпусом клапана 7. Поэтому удалить тело 14, а следовательно, и фиксатор 15 можно только после удаления или разрушения свинцовой пломбы. Это позволяет проверить, открывался ли люк. Для этого не обязательно иметь канавку 28, поскольку при наличии над телом 14 свинцовой пломбы его нельзя вынуть, не сломав пломбу. Тем не менее, при наличии канавки 28 можно предотвратить поворот тела 14 для освобождения фиксатора 15 без разрушения свинцовой пломбы.
На фиг.3b схематично в аксонометрии показано предохранительное устройство 10 отдельно от других элементов.
На фиг.4 показаны в разрезе газовыпускной клапан 7, предохранительное устройство 10, крышка 3 и контейнер 2. Контейнер 2 имеет фланец 20, окружающий отверстие 4 крышки. На фланце 20 находится уплотнительный элемент 21, к которому прижата крышка 3, закрепленная зажимным кольцом 5. В собранном состоянии выполненные в зажимном кольце 5, крышке 3 и фланце 20 отверстия находятся одно над другим и в них можно вставить фиксатор 11 предохранительного устройства 10. Вставленный фиксатор 11 будет препятствовать повороту зажимного кольца 5 или крышки 3 относительно фланца 20 контейнера. Фиксатор 11 закрыт второй частью 10а предохранительного устройства 10 и тем самым защищен от деформации.
Часть 10а соединена с первой частью 10b предохранительного устройства 10 непосредственно над крышкой 3. Соединение этих частей может быть выполнено также на расстоянии от крышки 3, чтобы иметь некоторый запас пространства при сборке. Кроме того, это соединение может быть заглублено относительно крышки. Указанные части могут иметь криволинейную форму или могут быть отогнуты на концах примерно на 90°. Первая и вторая части необязательно должны быть выполнены за одно целое и могут состоять из нескольких по возможности прямых или плоских деталей. Например, вместо цельной первой части можно иметь часть, состоящую из двух деталей, пересекающихся под углом. Одна деталь примыкает к первой части предпочтительно под углом от 90 до 180°. Угол между двумя деталями тоже равен предпочтительно 90-180°.
Тело 14, соединенное со вторым фиксатором 15 (см. фиг.2), расположено в корпусе клапана 7. Тело 14 прижато к пружине 23, которая в свою очередь прижата к уплотнительной детали 22, с помощью которой обеспечивается плотное закрытие отверстия 25 в крышке 3. Деталь 22 может иметь уплотнитель. Выбирают пружину 23 с такой силой, что, когда в контейнере 2 создается заданное избыточное давление, уплотнительная деталь 22 отжимает пружину вверх и избыточное давление снижается до определенной величины. Газ, вышедший из отверстия 25, выводится в окружающее пространство через отверстия 26 на боковых сторонах корпуса клапана 7.
Чтобы освободить зажимное кольцо 5, сперва нужно убрать элемент 14 газовыпускного клапана 7, для чего клапан 7 нужно повернуть относительно фиксатора 15 и вынуть элемент 14, перемещая его вверх через вырезы 16 (см. фиг.2). В результате клапан 7 становится неработоспособным или полностью открытым. Поскольку пружина 23 больше не давит на уплотнительный элемент 22, он в случае избыточного давления не будет закрывать отверстия 25, так что избыточное давление сбрасывается и внутри контейнера 2 давление будет нормальным.
После удаления элемента 14 можно снять предохранительное устройство 10, перемещая его вверх относительно корпуса клапана 7, при этом зажимное кольцо 5 освобождается для его поворота. При такой конструкции освободить зажимное кольцо можно только после вывода из строя газовыпускного клапана.
Это особенно целесообразно для транспортировочных контейнеров, которые наполняют одни люди, а опорожняют другие. Последние могут не знать всех технических особенностей транспортировочных контейнеров, поэтому желательно иметь транспортировочные контейнеры, исключающие возможность неправильных действий с ними, например открытия люка при наличии давления в контейнере.
Формула изобретения
1. Устройство для фиксации зажимного кольца на транспортировочных контейнерах, имеющий отверстие (4) и крышку (3), имеющую газовыпускной клапан (7), отходящий от нее наружу, и снабженных зажимным кольцом (5) для закрепления крышки (3) на контейнере (1) с плотным закрытием отверстия (4), содержащее предохранительное устройство (10), которое с помощью фиксатора (11) может сцепляться с зажимным кольцом (5) так, что отсоединение зажимного кольца (5) возможно только при открытом клапане (7), отличающееся тем, что первая часть (10b) предохранительного устройства (10) расположена вдоль газовыпускного клапана (7), а вторая часть (10а) отходит от первой части (10b) к фиксатору (11).
2. Устройство по п.1, отличающееся тем, что первая и вторая части (10а, 10b) соединены непосредственно над крышкой (3), предпочтительно на уровне менее 50%, более предпочтительно на уровне менее 25% и наиболее предпочтительно на уровне менее 10% от уровня газовыпускного клапана (7).
3. Устройство по п.1 или 2, отличающееся тем, что вторая часть (10а) расположена по существу параллельно поверхности крышки.
4. Устройство по п.1 или 2, отличающееся тем, что фиксатор (11) отходит от второй части (10а) перпендикулярно к ней.
5. Устройство по п.1 или 2, отличающееся тем, что фиксатор (11) проходит через зажимное кольцо (5) к контейнеру (2), предпочтительно в выполненный на нем фланец (20).
6. Устройство по п.1 или 2, отличающееся тем, что от первой части (10b) отходит кольцевая часть (10с), которая может быть надета на корпус газовыпускного клапана (7) путем скользящего перемещения по нему.
7. Устройство по п.6, отличающееся тем, что на корпусе и/или в корпусе газовыпускного клапана (7) может быть установлен второй фиксатор (15), препятствующий снятию кольцевой части (10с) с корпуса.
8. Устройство по п.7, отличающееся тем, что второй фиксатор (15) соединен с элементом (24) газовыпускного клапана (7) таким образом, что в случае удаления второго фиксатора (15) газовыпускной клапан (7) неработоспособен и/или полностью открыт.
9. Устройство по п.1 или 2, отличающееся тем, что в собранном состоянии первый фиксатор (11) полностью закрыт второй частью (10а).
10. Устройство по п.1 или 2, отличающееся тем, что газовыпускной клапан может быть снабжен свинцовой пломбой.
РИСУНКИ
|